|
|
(21), (22) Заявка: 2002111551/09, 29.09.2000
(24) Дата начала отсчета срока действия патента:
29.09.2000
(30) Конвенционный приоритет:
30.09.1999 US 60/156,905
(43) Дата публикации заявки: 27.10.2003
(45) Опубликовано: 27.03.2006
(56) Список документов, цитированных в отчете о поиске:
RU 2132597 C1, 27.06.1999. WO 97/12461 A1, 03.04.1997. US 5600722 A, 04.02.1997. ЕР 0529261 А1, 03.03.1993. GB 2261349 А1, 12.05.1993.
(85) Дата перевода заявки PCT на национальную фазу:
30.04.2002
(86) Заявка PCT:
US 00/26880 (29.09.2000)
(87) Публикация PCT:
WO 01/24436 (05.04.2001)
Адрес для переписки:
129010, Москва, ул. Б. Спасская, 25, стр.3, ООО “Юридическая фирма Городисский и Партнеры”, пат.пов. Ю.Д.Кузнецову, рег.№ 595
|
(72) Автор(ы):
РЕЗАЙИФАР Рамин (US), КВИК Рой Ф. Мл. (US), ВИЛЛЬЯМСОН Пол (US), ВАНГ Дзун (US), ТИДМАНН Эдвард Дж. Мл. (US)
(73) Патентообладатель(и):
КВЭЛКОММ ИНКОРПОРЕЙТЕД (US)
|
(54) СПОСОБ И УСТРОЙСТВО ДЛЯ ШИФРОВАНИЯ ПЕРЕДАЧ В СИСТЕМЕ СВЯЗИ
(57) Реферат:
Изобретение относится к области радиосвязи и, более конкретно, к способам и устройству для обеспечения защищенных передач в системе радиосвязи. Сущность способа и устройства для шифрования трафика передачи на отдельных уровнях протокола состоит в том, что отдельным элементам шифрования назначают отдельные типы трафика передачи, что позволяет реализовать различные уровни шифрования в соответствии с требованиями услуг. Элементы шифрования используют входные сигналы переменной величины, называемые криптосинхронизациями, вместе с полупеременными ключами шифрования для защиты от попыток преодоления защиты путем копирования информации посторонними подвижными станциями. Также предусмотрен способ синхронизации значений криптосинхронизации алгоритма шифрования в подвижной и базовой станции. Технический результат – создание более надежных и защищенных процессов шифрования для защиты пользователей услуг радиосвязи и провайдеров услуг. 8 н. и 6 з.п. ф-лы, 12 ил. 
ОБЛАСТЬ ТЕХНИКИ
Настоящее изобретение относится к области радиосвязи и, более конкретно, к способам и устройству для обеспечения защищенных передач в системе радиосвязи.
ПРЕДШЕСТВУЮЩИЙ УРОВЕНЬ ТЕХНИКИ
Современная система связи должна поддерживать множество приложений. Примером такой системы связи является система множественного доступа с кодовым разделением каналов (МДКР), которая соответствует “Стандарту TIA/EIA/IS-95 совместимости подвижной станции с базовой станцией для двухрежимной широкополосной сотовой системы с расширенным спектром”, далее упоминаемому как стандарт IS-95, или система МДКР, которая соответствует “Стандарту TIA/EIA/IS-2000 для систем расширенного спектра, mdcr 2000”, далее упоминаемому как стандарт IS-2000. Еще одним стандартом МДКР является стандарт W-CDMA (широкополосный МДКР), как описано в Партнерском Проекте 3-го поколения “3GPP” документы №№3G TS 25.211, 3G TS 25.212, 3G TS 25.213 и 3G TS 25.214. Система МДКР позволяет использовать речевую связь и передачу данных между пользователями посредством наземной линии связи. Использование способов МДКР в системе связи множественного доступа раскрыто в патенте США №4901307 на “Систему связи множественного доступа расширенного спектра, использующую спутниковые или наземные ретрансляторы”, и патенте США №5103459 на “Систему и способ для формирования сигналов в сотовой телефонной системе МДКР”, права на которые переуступлены владельцу настоящего изобретения и которые включены в настоящее описание посредством ссылки. Другими примерами систем связи являются системы множественного доступа с временным разделением каналов (МДВР) и системы множественного доступа с частотным разделением каналов (МДЧР).
В этом описании понятие “базовая станция” относится к аппаратным средствам, с которыми осуществляют связь удаленные станции. Понятие “сотовая ячейка” относится к аппаратным средствам или географической области покрытия в зависимости от контекста, в котором используется это понятие. Сектор – это часть ячейки. Так как сектор системы МДКР имеет атрибуты ячейки, то все, что описано в контексте ячеек, относится и к секторам.
В системе МДКР связь между пользователями осуществляется через одну или более базовых станций. Первый пользователь одной удаленной станции взаимодействует со вторым пользователем второй удаленной станции путем передачи данных по обратной линии связи в базовую станцию. Базовая станция принимает данные и может направлять данные в другую базовую станцию. Данные передаются по прямой линии связи той же самой базовой станции или второй базовой станции ко второй удаленной станции. Прямая линия связи относится к передаче от базовой станции к удаленной станции, а обратная линия связи относится к передаче от удаленной станции к базовой станции. В системах стандартов IS-95 и IS-2000 в дуплексном режиме с частотным уплотнением (ДЧУ) для прямой линии связи и для обратной линии связи выделяются отдельные частоты.
В области радиосвязи защищенность передач по каналу радиосвязи стала чрезвычайно важным аспектом в системах связи. Защищенность обеспечивается с помощью протоколов шифрования, которые препятствуют раскрытию частных передач между сторонами и/или препятствуют доступу к услугам посторонних подвижных станций, оплата за которые не произведена провайдеру услуг связи. Шифрование – это процесс, посредством которого данными манипулируют с помощью случайного процесса так, что данные становятся неразличимыми для всех, кроме предполагаемого получателя. Дешифрование является просто процессом восстановления исходных данных. Одним из алгоритмов шифрования, обычно используемым в промышленности, является ЕСМЕА (Усовершенствованный алгоритм шифрования сообщения сотовой системы связи), который является блочным шифром. Из-за усложнения современных средств взлома кодов и с учетом возможностей “хакеров” в настоящее врем существует потребность в создании более надежных, более защищенных процессов шифрования для защиты пользователей услуг радиосвязи и провайдеров услуг.
СУЩНОСТЬ ИЗОБРЕТЕНИЯ
Заявлен новый усовершенствованный способ и устройство для шифрования передач, причем способ шифрования трафика передачи включает генерирование переменного значения и ввод переменного значения ключа шифрования и трафика передачи в алгоритм шифрования.
В одном аспекте заявлен способ для передачи переменных аутентификации от передающей стороны к принимающей стороне, причем способ включает генерирование значения криптосинхронизации на передающей стороне; генерирование первой сигнатуры аутентификации из значения криптосинхронизации и ключа шифрования на передающей стороне; передачу значения криптосинхронизации и первой сигнатуры аутентификации к принимающей стороне; генерирование второй сигнатуры аутентификации из значения криптосинхронизации и ключа шифрования на принимающей стороне; приращение значения криптосинхронизации на принимающей стороне, если первая сигнатура аутентификации и вторая сигнатура аутентификации совпадают; и запрашивание обмена ключом шифрования, если первая сигнатура аутентификации и вторая сигнатура аутентификации не совпадают.
В другом аспекте заявлен способ для синхронизации значений криптосинхронизации алгоритма шифрования на передающей стороне и принимающей стороне, причем способ включает передачу кадра зашифрованного сообщения к принимающей стороне; проверку текущего значения криптосинхронизации, связанного с кадром зашифрованного сообщения на принимающей стороне; приращение текущего значения криптосинхронизации на передающей стороне и на принимающей стороне, если подтверждена правильность текущего значения криптосинхронизации; и передачу сообщения о сбое принимающей стороны к передающей стороне, если не подтверждена правильность текущего значения криптосинхронизации.
Еще в одном аспекте заявлена система для шифрования трафика передачи, причем трафик передачи содержит по меньшей мере два типа трафика, при этом система содержит по меньшей мере два элемента шифрования, причем каждый из по меньшей мере двух элементов шифрования связан по меньшей мере с одним из по меньшей мере двух типов трафика; и по меньшей мере один генератор номера последовательности для генерирования множества номеров последовательности, причем по меньшей мере один генератор номера последовательности связан по меньшей мере с двумя элементами шифрования.
КРАТКОЕ ОПИСАНИЕ ЧЕРТЕЖЕЙ
Признаки, задачи и преимущества настоящего изобретения поясняются в подробном описании, изложенном ниже со ссылками на чертежи, на которых представлено следующее:
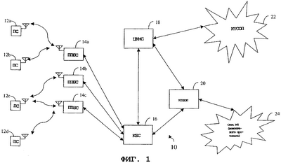
Фиг.1 – блок-схема приведенной для примера системы МДКР;
Фиг.2 – блок-схема архитектуры схемы шифрования;
Фиг.3А, 3В, 3С и 3D – образцы структур кадра передачи;
Фиг.4 – блок-схема процесса преобразования незашифрованного блока данных и зашифрованный блок данных;
Фиг.5 – структура кадра передачи для трафика пакетных данных;
Фиг.6 – диаграмма приведенной для примера передачи сигналов от подвижной станции к базовой станции;
Фиг.7 – диаграмма успешного обмена криптосинхронизацией между ЛПС (легитимной подвижной станцией) и базовой станцией;
Фиг.8 – диаграмма процедуры попытки нарушения защиты путем копирования информации;
Фиг.9 – диаграмма обмена ключами шифрования после неудачи регистрации;
Фиг.10 – кадр передачи в приведенной для примера системе связи;
Фиг.11 – диаграмма сигналов передачи, согласно которой базовая станция обнаруживает сбой шифрования; и
Фиг.12 – диаграмма сигналов передачи, согласно которой подвижная станция обнаруживает сбой шифрования.
ПОДРОБНОЕ ОПИСАНИЕ ПРЕДПОЧТИТЕЛЬНЫХ ВАРИАНТОВ ОСУЩЕСТВЛЕНИЯ
Приведенные для примера варианты осуществления, описанные ниже, относятся к радиотелефонной системе связи, конфигурированной для использования интерфейса радиосвязи МДКР. Тем не менее, специалистам в данной области техники должно быть понятно, что способ и система для шифрования передач могут быть использованы любой из известных систем связи.
ПРИМЕР СИСТЕМЫ МДКР
Как показано на фиг.1, радиотелефонная система 10 МДКР обычно включает множество подвижных абонентских устройств 12, множество базовых станций 14, контроллеры 16 базовых станций (КБС) и центр коммутации мобильной связи (ЦКМС) 18. ЦКМС конфигурирован для сопряжения с обычной коммутируемой телефонной сетью общего пользования (КТСОП) 22, узлом 20 услуги передачи пакетных данных (УУПД) или функции межсетевого сопряжения (ФМС) и с сетью 24 протокола Интернет (IP) (в типовом случае с сетью Интернет). ЦКМС также конфигурирован для сопряжения с КБС 14. КБС 14 соединены с базовыми станциями 12 двусторонними линиями связи. Двусторонние линии связи могут быть конфигурированы для поддержки любого из нескольких известных интерфейсов, включая, например, Е1/Т1, ATM (асинхронный режим передачи), IP, ретрансляция кадров, HDSL (высокоскоростная цифровая абонентская линия), ADSL (асимметричная цифровая абонентская линия) или xDSL (х цифровая абонентская линия). Понятно, что может быть более двух КБС 16 в системе. Каждая базовая станция 14 преимущественно имеет по меньшей мере один сектор (не показан), причем каждый сектор содержит ненаправленную антенну или антенну, ориентированную в определенном направлении радиально от базовой станции 14. Альтернативно каждый сектор может содержать две антенны для разнесенного приема. Каждая базовая станция 14 может быть преимущественно предназначена для поддержки множества распределений частот. Сектор и распределение частоты могут определять канал МДКР. Базовые станции 14 также известны как подсистемы приемопередатчика базовых станций (ППБС) 14. Альтернативно понятие “базовая станция” может быть отнесено совместно к КБС 16 и одной или более ППБС 14. ППБС 14 могут быть также обозначены как “станции сотовых ячеек” 14. Альтернативно отдельные секторы данной ППБС 14 могут определяться как станции сотовых ячеек. Подвижные абонентские станции 12 обычно являются сотовыми телефонами или телефонами СПС (системы персональной связи). Система преимущественно конфигурирована для использования в соответствии со стандартом IS-95.
Во время обычной работы сотовой телефонной системы базовые станции 14 принимают множество сигналов обратной линии связи от множества подвижных станций 12. Подвижные станции 12 осуществляют телефонные вызовы или передают другие сообщения. Каждый сигнал обратной линии связи, принимаемый данной базовой станцией 14, обрабатывается этой базовой станцией 14. Полученные в результате данные передаются в КБС 16. КБС 16 обеспечивают распределение ресурсов вызова и функциональные возможности управления мобильным обслуживанием, включая обеспечение процедур “гибких” передач обслуживания между базовыми станциями 14. КБС 16 также направляют принятые данные в ЦКМС 18, который обеспечивает дополнительные услуги маршрутизации для сопряжения с КТСОП 22 или УУПД 20. Аналогично КТСОП 22 или УУПД 20 взаимодействует с ЦКМС 18, а ЦКМС 18 взаимодействует с КБС 16, которые, в свою очередь, управляют базовыми станциями 14 для передачи множества сигналов прямой линии связи к множеству подвижных станций 12. Специалистам должно быть понятно, что абонентские станции 12 в альтернативных вариантах осуществления могут быть стационарными станциями.
АРХИТЕКТУРА
Фиг.2 иллюстрирует пример архитектуры для схемы шифрования, которая может быть использована для шифрования речевого трафика, трафика данных и системных услуг, причем архитектура может быть реализована как на передающей стороне, так и на принимающей стороне. Структура схемы шифрования позволяет каждый из трех перечисленных типов трафика шифровать для обеспечения максимальной эффективности на отдельных уровнях, если это требуется. Как известно в данной области техники, иерархическое представление (разделение на уровни) является способом организации протоколов связи с использованием хорошо определенных пакетированных (инкапсулированных) блоков данных между разъединенными в иных аспектах объектами обработки, т.е. уровнями. В примере осуществления, проиллюстрированном на фиг.2, используются три уровня протоколов L1 220, L2 210 и L3 200, при этом L1 220 обеспечивает передачу и прием радиосигналов между базовой станцией и подвижной станцией, L2 210 обеспечивает корректную передачу и прием сообщений сигнализации, а L3 обеспечивает передачу сообщений управления для системы связи.
На уровне L3 200 речевой трафик 201, трафик 203 пакетных данных и системные услуги 205 передаются посредством блоков данных, сформированных в соответствии со стандартами, упомянутыми выше. Однако шифрование выполняется на этом уровне для блоков данных, относящихся к системным услугам (далее телеуслугам) 205, но шифрование не выполняется для трафика 203 пакетных данных или речевого трафика 201. В этом варианте осуществления шифрование трафика 203 пакетных данных и речевого трафика 201 реализуется с помощью более низких уровней.
Генератор 202 ENC_SEQ (последовательность шифрования) обеспечивает номер последовательности, который используется для формирования значения криптосинхронизации. В одном аспекте осуществления четыре наименее значащих бита номера последовательности используются для формирования значения криптосинхронизации. Значение криптосинхронизации является переменной, которая вводится в алгоритм шифрования вместе с ключом шифрования. Алгоритм шифрования генерирует маску, посредством которой незашифрованные данные шифруются. Криптосинхронизации отличаются от ключей шифрования тем, что ключ шифрования является полупостоянным совместно используемым “секретом”, в то время как значение криптосинхронизации будет изменяться по отношению к блокам данных, передаваемым по линии связи для обеспечения защиты от попытки нарушения защиты путем копирования. В этом варианте осуществления значение криптосинхронизации будет изменяться ввиду зависимости либо от генерированного номера последовательности, системного времени, либо любого другого указанного идентификатора. Следует заметить, что можно изменить число битов, используемых для значения криптосинхронизации без изменения объема данного варианта осуществления.
Значение криптосинхронизации вводится в элементы 204 шифрования вместе с данными из элемента сигнализации 207 L3 и элемента 205 телеуслуг. Телеуслуги могут включать услуги передачи коротких пачек данных, услуги передачи коротких сообщений, услуги определения местоположения и т.д. На фиг.2 отдельный элемент 204 шифрования выделяется для обработки каждого выходного сигнала системной услуги. Преимуществом этой структуры является то, что каждая услуга может определить уровень шифрования, необходимый в соответствии с требованиями услуги. Однако может быть реализован альтернативный вариант осуществления, в котором элемент шифрования может совместно использоваться множеством системных услуг. В рассматриваемом варианте осуществления выходные сигналы элементов 204 шифрования мультиплексируются в элементе 206 мультиплексора/демультиплексора. В альтернативном варианте осуществления кадры трафика данных из элемента 203 пакетных данных также шифруются на уровне L3 200.
На уровне L2 210 выходной сигнал из элемента мультиплексора/демультиплексора проходит через блок 206 КДЗС (контроля доступности звеньев сигнализации). На уровне L1 200 кадры сообщения из элемента 203 пакетных данных проходят через уровень 225 протокола линии радиосвязи (ПЛРС), на котором шифрование производится на основе значений криптосинхронизации, сформированных с использованием номеров последовательности ПЛРС. В этом варианте осуществления уровень 225 ПЛРС находится в уровне L2 210 и несет ответственность за повторную передачу трафика пакетных данных, когда возникает ошибка передачи. Кадры речевого трафика из речевого элемента 201 шифруются отдельно в элементе 221 шифрования для того, чтобы предпочтительным образом использовать системное время как часть значения криптосинхронизации для каждого речевого кадра, а не номера последовательности из элемента 202 генератора ENC_SEQ.
Выходные сигналы элемента 221 шифрования, уровня 225 ПЛРС и блока КДЗС 206 мультиплексируются вместе на подуровне 227 мультиплексирования и определения качества обслуживания.
Эта архитектура обеспечивает множество преимуществ. Во-первых, каждая из телеуслуг и элементов сигнализации L3 на уровне L3 может задавать уровень защищенности для шифрования, реализуемый каждым из соответствующих соединенных элементов шифрования.
Во-вторых, каждый из типов трафика может выгодно использовать системные ресурсы для формирования значения криптосинхронизации для каждого кадра трафика. Например, кадры речевого трафика не имеют дополнительного места для переноса ENC_SEQ. Однако системное время может быть использовано как замена, так как системное время изменяется от кадра к кадру, и системное время неявно известно как на передающей стороне, так и на принимающей стороне. Системное время не должно быть использовано для шифрования трафика пакетных данных и телеуслуг. Если системное время используется для формирования значения криптосинхронизации, шифруемые данные должны шифроваться непосредственно перед передачей, чтобы использовать системное время при передаче. Следовательно, зашифрованные кадры не могут буферизироваться. Если используется номер последовательности ПЛРС или номер ENC_SEQ, то кадры передачи могут быть зашифрованы и временно запомнены в буфере до передачи. Кроме того, выгодно использовать величину ENC_SEQ, а не номер последовательности сообщения MSG_SEQ, так как сброс (установка в исходное состояние) уровня КДСЗ вызывает шифрование другого незашифрованного текста с использованием той же самой маски шифрования, что привело бы к снижению защищенности, обеспечиваемой процессом шифрования.
В-третьих, помещение элементов шифрования на уровне выше КДЗС решает проблему эффективности. Если шифрование/дешифрование происходило на физическом уровне, тогда потребовалось бы шифровать и расшифровывать поля ЗАПП, прежде чем можно было бы передать подтверждение приема (ПП). ЗАПП – акроним запроса автоматической повторной передачи, который является способом для проверки переданных данных посредством передачи подтверждений и негативных подтверждений. Другой трудностью, которая возникает, если шифрование/дешифрование происходит на физическом уровне, является то, что биты проверки циклическим избыточным кодом (ЦИК), используемые для определения ошибок передачи в приемнике, должны вычисляться на основе незашифрованных данных.
ШИФРОВАНИЕ СООБЩЕНИЙ СИГНАЛИЗАЦИИ
На Фиг.3А, 3В, 3С и 3D представлены альтернативные структуры для формирования кадров передачи в возможном варианте осуществления. Кадр 300 передачи формируется со следующими полями: поле 301 длины сообщения, поле 302 типа сообщения, поле 303 управления доступом к линии связи, которое обобщенно представляет различные поля ЗАЛП, поле 304 идентификации сообщения, поле 305 сообщения, поле 306 номера последовательности шифрования, поле 307 идентификации шифрования и поле 308 проверки ЦИК сообщения. В одном варианте осуществления шифрование применяется только для определенных полей кадра передачи. На фиг.3А и фиг.3В зашифровано поле 303 КДЗС. Однако шифрование поля 303 КДЗС проблематично, когда сигналы попыток доступа передаются из подвижной станции в базовую станцию, но базовая станция определяет, что передача сигналов попыток доступа должна быть остановлена с помощью ПП. В частности, если подвижная станция не может расшифровать поле КДЗС кадра сообщения от базовой станции, то подвижная станция не прекратит посылать сигналы попыток доступа до тех пор, пока не будет послано максимальное число сигналов попыток доступа.
На фиг.3А и фиг.3D зашифровано поле 308 проверки ЦИК сообщения. Однако шифрование битов ЦИК делает невозможной проверку правильности поля 301 длины сообщения. Следовательно, фиг.3С является предпочтительным кадром передачи, который используется в приведенном для примера варианте осуществления.
ГЕНЕРИРОВАНИЕ МАСКИ ШИФРОВАНИЯ
Фиг.4 иллюстрирует параметры, которые используются для шифрования данных в примере осуществления, в котором блок данных несет трафик пакетных данных. Криптосинхронизация 400 содержит номер последовательности 401 шифрования, ссылочный идентификационный номер 402 услуги, также известный как sr_id, и битовое значение для направления передачи 403. sr_id определяет услугу данных, которой соответствует sr_id. Криптосинхронизация 400 и ключ 410 шифрования вводятся в алгоритм 420 шифрования, такой как ЕСМЕА, как упомянуто выше. Следует заметить, что в этом варианте осуществления могут быть использованы другие схемы шифрования, что не оказывает влияния на объем этого варианта осуществления. К блоку данных применяется алгоритм 420 шифрования для того, чтобы получить из блока данных зашифрованный текст.
Обычно конкретное значение криптосинхронизации определяется для каждого блока данных, который должен быть зашифрован. Следовательно, каждое значение криптосинхронизации приводит в результате к различному зашифрованному тексту, даже для одного и того же нешифрованного текста.
Как проиллюстрировано выше, шифрование на уровне ПЛРС выполняется посредством использования номера расширенной последовательности, sr_id и направления канала. Эти три переменные содержат криптосинхронизацию для использования с трафиком пакетных данных. В некоторых случаях трафик пакетных данных может быть упакован в кадры, которые указывают короткую пачку данных (КПД), в которой упакованные кадры передаются по общим каналам. Фиг.5 иллюстрирует пример упакованного кадра ПЛРС, в котором зашифрованы поля ЗАПП. В кадре 500 полезная нагрузка сообщения 505 пачки данных содержит три поля: поле 506 sr_id, поле 507 номера последовательности и зашифрованный кадр 508 ПЛРС.
Фиг.6 – диаграмма примера обмена между элементами на уровнях протокола. В подвижной станции 600 короткая пачка данных (КПД) должна быть зашифрована и передана в базовую станцию 650. Элемент 610 ПЛРС принимает указание данных и данные из приемника преобразования данных (ППД) 602. ПЛРС 610 передает блок служебных данных (БСД) с номером последовательности, данными и sr_id в элемент телеуслуги КПД (ТУКПД) 612, который является частью телеуслуг на уровне L3. ТУКПД 612 передает другой БСД, содержащий информацию из ПЛРС 610 и команду идентификатора шифрования (ИДШ), на элемент 614 шифрования. Элемент 614 шифрования передает информацию кадра сообщения и зашифрованную информацию из предыдущих элементов в элемент 616 L2/мультиплексирования. Элемент 616 L2/мультиплексирования формирует кадр 620 сообщения для передачи по радиоканалу в базовую станцию 650. Базовая станция 650 передает подтверждение 621 в подвижную станцию 600. В базовой станции информация из кадра сообщения обрабатывается согласно соответствующим элементам, которые генерировали содержание кадра сообщения. Следовательно, элемент 622 L2/демультиплексирования обрабатывает информацию, добавленную элементом 616 L2/мультиплексирования, элемент 624 шифрования обрабатывает информацию, добавленную элементом 614 шифрования, элемент 626 ТУКПД обрабатывает информацию, добавленную элементом 612 ТСКПД, а элемент 628 ПЛРС обрабатывает информацию, добавленную элементом 610 ПЛРС, и данные переносятся в ППД 630.
СИНХРОНИЗАЦИЯ КРИПТОСИНХРОНИЗАЦИИ
В описании вариантов осуществления, приведенном выше, защита процесса шифрования реализуется посредством использования криптосинхронизации защиты, причем криптосинхронизация, используемая для шифрования конкретного блока данных, отличается от криптосинхронизации, используемой для шифрования других блоков данных. Следовательно, базовая станция и подвижная станция должны иметь возможность генерировать одну и ту же криптосинхронизацию для кодирования и декодирования одних и тех же данных в соответствующее время. Для поддержки синхронизации криптосинхронизаций, генерируемых подвижной станцией и базовой станцией необходимо осуществить определенные передачи по радиоканалу. Однако передачи по радиоканалу открыты для попыток преодоления защиты посторонними подвижными станциями (ППС). В предложенных схемах защиты базовая станция отклоняет прием значения криптосинхронизации, предложенного подвижной станцией, до тех пор, пока подвижная станция не докажет, что она является легитимным абонентом. Отклонение приема значения криптосинхронизации препятствует “попытке преодоления защиты копированием информации”, когда ППС вынуждает базовую станцию применить одну и ту же маску шифрования к двум различным открытым текстам, что снижает защиту шифрованием. Например, предположим, что Е – зашифрованный текст, Р – открытый (нешифрованный) текст, а М – маска шифрования. Если криптосинхронизация является одной и той же для открытого текста Р и открытого текста Р’, тогда Е=М+Р и Е’=М+Р’, при использовании сложения по модулю 2. Следовательно, Е+Е’=Р+Р’. Даже, если ППС не знает маску М шифрования, открытый текст Р и открытый текст Р’ могут быть определены. Следовательно, в конкретном примере попытки преодоления защиты ППС может передать повторные сообщения регистрации в базовую станцию, которые обусловили бы в базовой станции использовать ту же самую криптосинхронизацию.
В одном из вариантов осуществления между легитимной подвижной станцией (ЛПС) и базовой станцией поддерживается синхронизация наиболее значимых (старших) битов криптосинхронизации для обеспечения эффективности шифрования. В рассматриваемом примере осуществления ЛПС в процессе регистрации передает переменные параметры процедуры аутентификации, которые содержат старшие биты криптосинхронизации, и сигнатуру для аутентификации. Старшие биты криптосинхронизации далее обозначены как CD_h. Пример процесса регистрации подвижной станции, входящей в зону действия базовой станции, описан в патенте США №5289527 на “Способ регистрации устройства мобильной связи”, включенном в настоящее описание посредством ссылки.
Фиг.7 иллюстрирует успешный обмен криптосинхронизацией между ЛПС 700 и базовой станцией 710. ЛПС 700 передает сообщение 720 регистрации в базовую станцию 710, причем сообщение регистрации содержит поля, несущие CS_h и сигнатуру для аутентификации. В одном из вариантов осуществления сигнатура для аутентификации вычисляется с использованием криптосинхронизации CS_h и ключа шифрования (Ks) и защищенной хэш-функции. Далее сигнатура криптосинхронизации или сигнатура для аутентификации обозначаются как f (CS_h, Ks).
Как описано выше, базовая станция 710 защищена от вышеупомянутой попытки преодоления защиты, осуществляемой ППС, так как ППС не может вычислить действительную сигнатуру аутентификации для CS_h.
В альтернативном варианте осуществления защищенные передачи между базовой станцией и ЛПС защищены от ППС, которая зарегистрировала сообщение регистрации от ЛПС. Для того, чтобы предотвратить случай, когда ППС вынуждает базовую станцию использовать одну и ту же CS_h, которая предназначена для использования с ЛПС, в базовой станции может быть предусмотрено использование приращения младшим битам криптосинхронизации каждый раз, когда сообщение из подвижной станции загружается в базовую станцию. Младшие биты криптосинхронизации далее обозначаются как CS_1. Следовательно, значение криптосинхронизации содержит CS_h, взаимосвязанное с CS_1. В этом варианте осуществления можно предотвратить в базовой станции повторное использование одинаковых криптосинхронизаций в процессе шифрования. В тех случаях, когда базовая станция не имеет предыдущего значения CS_1, связанного с ЛПС, базовая станция может либо генерировать CS_1 случайным образом, либо установить значение CS_1, равным 0.
Фиг.8 иллюстрирует пример попытки преодоления защиты путем воспроизведения записанной информации. ЛПС 700 передает легитимное сообщение 720 регистрации в базовую станцию 710. ППС 730 посылает регистрационное сообщение 720 и посылает скопированное сообщение 740 регистрации в базовую станцию 710. Базовая станцию 710 не будет использовать то же самое значение криптосинхронизации, как для ЛПС, так как младшие биты криптосинхронизации получили приращение.
Если базовая станция не может генерировать ту же самую сигнатуру для аутентификации, что и переданная подвижной станцией, то система определяет, что ключ шифрования, хранимый базовой станцией, не является тем же самым ключом шифрования, который хранится подвижной станцией. Тогда должен быть выполнен обмен ключами.
Фиг.9 иллюстрирует обмен ключами шифрования после неудачи регистрации. ЛПС 700 передает сообщение 720 регистрации, содержащее переменную CS_h криптосинхронизации и сигнатуру f(CS_h, Ks) для аутентификации, в базовую станцию 710. Базовая станцию 710 не может воспроизвести сигнатуру для аутентификации f(CS_h, Ks), так как ключ шифрования в базовой станции 710 отличается от ключа шифрования в ЛПС 700. Базовая станция 710 инициирует этап 770 обмена ключами, чтобы базовая станция 710 и ЛПС 700 имели один и тот же ключ шифрования. Защита обмена ключами известна специалистам в данной области техники. Однако проверка криптосинхронизации является проблемой, которая не решена в данной области техники. Как описано выше, криптосинхронизация является переменным значением, которое изменяется для каждого блока данных, который шифруется в потоке незашифрованных данных. Должен иметься некоторый способ проверки для того, чтобы гарантировать, что значение криптосинхронизации, с помощью которого зашифрован блок данных, является тем же самым значением криптосинхронизации, которое использовано на стороне дешифрования. Это не является проблемой, решаемой в способах обмена ключа, где производится обмен одним ключом в начале процесса регистрации. Следовательно, способы защищенных процедур обмена ключами являются неадекватными для потребностей проверки в процедуре защищенного обмена ключами криптосинхронизации.
В одном из вариантов осуществления новое и не очевидное использование битов проверки ЦИК может быть реализовано для проверки того, что криптосинхронизация, генерированная как подвижной станцией, так и базовой станцией для одного и того же блока данных, является одинаковой. В этом варианте осуществления ЦИК шифрования, также обозначенный как CRC_enc, включается в блок зашифрованных данных. ЦИК шифрования вычисляется перед тем как блок нешифрованных данных шифруется, а затем прибавляется к незашифрованному блоку данных. Когда незашифрованный блок данных шифруется с помощью соответствующей криптосинхронизации CS_h и ключа Ks шифрования, ЦИК шифрования также шифруется с помощью той же самой криптосинхронизации CS_h и ключа Ks шифрования. После генерирования зашифрованного текста ЦИК обнаружения ошибок передачи, называемый ЦИК сообщения, прибавляется к зашифрованному блоку данных вместе с отсортированными полями, необходимыми для передачи. Если ЦИК сообщения проходит проверку на принимающей стороне, то CRC_enc также проверяется на принимающей стороне. Если проверка CRC_enc безуспешна, то принимается решение, что имело место несовпадение CS_h. Следует заметить, что действительность ключа Ks шифрования уже проверялась во время процесса регистрации, когда вычислялась правильная сигнатура для аутентификации f(CS_h, Ks).
Фиг.10 иллюстрирует структуру кадра для передачи сообщения в системе стандарта cdma 2000. Кадр 800 состоит из полей, необходимых для пересылки трафика данных от одной станции в другую. CRC_enc 812 является ЦИК, вычисляемым для блока данных незашифрованного протокола L3 БПД 810. CRC_enc 812 и L3 БПД 810 затем шифруются для формирования зашифрованного поля 805. Поле CS_L 806 включено для указания номера последовательности, на основании которого вычисляется криптосинхронизация. Бит 807 ИДШ устанавливается в “0” либо “1” для указания наличия зашифрованного сообщения. Поле 808 КИЦК затем вычисляется на всем кадре 800 сообщения. Кадр 800 может включать поле 801 длины сообщения, поле 802 типа сообщения и поле L2 803.
Если на основании CRC_enc, вычисленного на принимающей стороне, определено, что криптосинхронизация CS_h не синхронизирована с криптосинхронизацией на передающей стороне, то должна быть реализована процедура восстановления. Фиг.11 и фиг.12 – две диаграммы передачи сообщений, которые иллюстрируют процедуру исправления ошибки. Согласно фиг.11 базовая станция обнаруживает ошибку в дешифровании. Согласно фиг.12 подвижная станция обнаруживает ошибку в дешифровании.
Согласно фиг.11 ЛПС 900 передает зашифрованное сообщение 920 в базовую станцию 910. Биты ЦИК зашифрованного сообщения 920 проходят проверку, указывая, что нет ошибок передачи или ошибки передачи могут быть исправлены. Однако базовая станция 910 не может декодировать закодированный ЦИК, CRC_enc. Базовая станция 910 передает сообщение 930 “Не могу расшифровать” к ЛПС 900. ЛПС 900 затем передает сообщение 940 регистрации, содержащее криптосинхронизацию CS_h, сигнатуру f(CS_h, Ks) аутентификации и добавочный параметр обмена. В этот момент как ЛПС 900, так и базовая станция 910 имеют одну и ту же криптосинхронизацию CS_h. ЛПС 900 затем повторно передает зашифрованное сообщение 950.
Согласно фиг.12 базовая станция 910 передает зашифрованное сообщение 920 в ЛПС 900. Биты ЦИК зашифрованного сообщения 920 проходят проверку, указывая, что нет ошибок передачи или они могут быть исправлены. Однако ЛПС 900 не может декодировать закодированный ЦИК, CRC_enc. ЛПС 900 затем передает сообщение регистрации 940, содержащее криптосинхронизацию CS_h, сигнатуру f(CS_h, Ks) для аутентификации и добавочный параметр обмена. В этот момент как ЛПС 900, так и базовая станция 910 имеют одну и ту же криптосинхронизацию CS_h. Базовая станция 910 затем повторно передает зашифрованное сообщение 950.
Следовательно, в обоих случаях, проиллюстрированных на фиг.11 и фиг.12, кадр сообщения, которому не удается пройти шаг дешифрования на принимающем конце, должен быть повторно передан, как если бы кадр сообщения был передан с неисправимыми ошибками.
Как следует из примеров, приведенных выше, поле CS_h инициализирует старшие биты криптосинхронизации как для прямой линии связи, так и для обратной линии связи. Несмотря на то, CS_h, получаются различные результаты шифрования, так как направление передачи является переменной, которая вводится в алгоритм генерирования ключа шифрования, т.е. ‘0’ может указывать сообщение прямой линии связи, в то время как ‘1’ указывает сообщение обратной линии связи. В одном из вариантов осуществления значения криптосинхронизации могут получать приращение независимо после инициализации.
Выбор значения криптосинхронизации, выполняемый подвижной станцией, может представлять важность. Для того, чтобы поддерживать защищенность шифрования, криптосинхронизация не должна повторяться в процессе передач по радиоканалу. В одном из вариантов осуществления подвижная станция устанавливает значение криптосинхронизации равным единице (1), сложенной с максимальным значением из старших битов текущего значения CS_hпрям. криптосинхронизации прямой линии связи и старших битов текущего значения CS_hобр. криптосинхронизации обратной линии связи. Следовательно, CS_h=1+max (CS_hпрям., CS_hобр.).
Таким образом представлен новый и усовершенствованный способ и устройство для шифрования передач. Специалистам в данной области техники понятно, что данные, инструкции, команды, информация, сигналы, биты, символы и элементарные сигналы, которые упоминаются в описании, преимущественно представляются напряжениями, токами, электромагнитными волнами, магнитными полями или частицами, оптическими полями или частицами или любым их сочетанием. Специалистам в данной области техники также понятно, что различные иллюстративные логические блоки, модули, схемы и шаги алгоритма, описанные в связи с вариантами осуществления, раскрытыми в настоящем описании, могут быть реализованы как электронные аппаратные средства, компьютерное программное обеспечение или сочетание того и другого. Различные иллюстративные компоненты, блоки, модули, схемы и шаги описаны через их функциональные возможности. Реализуются ли функциональные возможности в виде аппаратных средств или программного обеспечения, зависит от конкретного приложения и ограничений проектирования, накладываемых на всю систему. Опытным специалистам понятна взаимозаменяемость аппаратных средств и программного обеспечения при этих обстоятельствах и то, как наилучшим образом реализовать описанные функциональные возможности для каждого конкретного приложения. В качестве примеров, различные иллюстративные логические блоки, модули, схемы и шаги алгоритма, описанные в связи с вариантами осуществления, раскрытыми в настоящем описании, могут быть реализованы или выполнены с помощью процессора цифрового сигнала (ПЦС), интегральной схемы прикладной ориентации (ИСПО), вентильной матрицы, программируемой в условиях эксплуатации (ВМПУЭ) или другого программируемого логического устройства, дискретного вентиля или транзисторной логической схемы, дискретных компонентов аппаратных средств, таких как, например, регистры и устройств, функционирующих по принципу “первым пришел, первым обслужен”, процессора, выполняющего множество программно-аппаратных команд, и любого обычного программируемого модуля программного обеспечения и процессора или любого их сочетания, предназначенного для выполнения функций, описанных выше. Процессор может быть преимущественно микропроцессором или любым обычным процессором, контроллером, микроконтроллером или конечным автоматом. Модуль программного обеспечения может находиться в ОЗУ, флэш-памяти, ПЗУ, СППЗУ, ЭСППЗУ, регистрах, жестком диске, сменном диске, ПЗУ на компакт диске или любом другом носителе памяти, известном в данной области техники. Приведенный для примера процессор преимущественно соединен с носителем памяти так, чтобы считывать информацию с носителя и записывать информацию на носитель. В альтернативе носитель памяти может быть единым целым с процессором. Процессор и носитель памяти могут находиться в ИСПО. ИСПО может находиться в телефоне. Как вариант, процессор и носитель памяти могут находиться в телефоне. Процессор может быть реализован как сочетание ПЦС и микропроцессора или как два микропроцессора вместе с ядром ПЦС и т.д.
Таким образом представлены и описаны предпочтительные варианты осуществления настоящего изобретения. Однако специалистам в данной области техники понятно, что в вариантах осуществления, раскрытых в настоящем описании, могут быть сделаны режимные изменения, не выходя за рамки сущности или объема изобретения. Следовательно, настоящее изобретение ограничивается только формулой изобретения.
Формула изобретения
1. Способ передачи переменных параметров аутентификации от передающей стороны к принимаемой стороне, включающий
генерирование значения криптосинхронизации на передающей стороне,
генерирование первой сигнатуры для аутентификации из значения криптосинхронизации и ключа шифрования на передающей стороне,
передачу значения криптосинхронизации и первой сигнатуры для аутентификации к принимающей стороне,
генерирование второй сигнатуры для аутентификации из значения криптосинхронизации и ключа шифрования на принимающей стороне,
приращение значения криптосинхронизации на принимающей стороне, если первая сигнатура для аутентификации и вторая сигнатура для аутентификации совпадают, и
запрос обмена ключами шифрования, если первая сигнатура для аутентификации и вторая сигнатура для аутентификации не совпадают.
2. Способ по п.1, отличающийся тем, что этап генерирования значения криптосинхронизации на передающей стороне включает в себя использование значения номера последовательности, номера идентификации блока данных и бита направления.
3. Способ по п.1, отличающийся тем, что этап генерирования значения криптосинхронизации на передающей стороне включает в себя использование значения системного времени и бита направления.
4. Способ по п.1, отличающийся тем, что этап генерирования первой сигнатуры для аутентификации включает использование значения криптосинхронизации и ключа шифрования в хэш-функции.
5. Способ по п.4, отличающийся тем, что этап генерирования второй сигнатуры для аутентификации включает использование значения криптосинхронизации и ключа шифрования в хэш-функции.
6. Способ синхронизации значений криптосинхронизации алгоритма шифрования на передающей стороне и на принимающей стороне, включающий
передачу кадра зашифрованного сообщения к принимающей стороне,
проверку текущего значения криптосинхронизации, связанного с кадром зашифрованного сообщения, на принимающей стороне,
приращение текущего значения криптосинхронизации на передающей стороне и принимающей стороне, если текущее значение криптосинхронизации прошло проверку, и
передачу от принимающей стороны к передающей стороне сообщения отказа, если текущее значение криптосинхронизации не прошло проверку.
7. Способ по п.6, отличающийся тем, что этап проверки текущего значения криптосинхронизации содержит
декодирование множества битов проверки циклическим избыточным кодом (ЦИК) передачи, где биты ЦИК передачи предназначены для определения ошибок передачи, и
декодирование множества кодированных битов ЦИК, где закодированные биты ЦИК предназначены для определения, совпадает ли текущее значение криптосинхронизации, генерированное на принимающей стороне со значением криптосинхронизации, генерированным на передающей стороне.
8. Способ генерирования кадра сообщения, содержащий введение множества кодированных битов ЦИК в поле данных, шифрование поля данных, причем для шифрования поля данных используется криптосинхронизация, и добавление множества битов ЦИК передачи к полю данных.
9. Способ по п.8, отличающийся тем, что дополнительно содержит добавление информации номера последовательности к полю зашифрованных данных и добавление битов шифрования к полю зашифрованных данных, где бит шифрования указывает, зашифровано ли поле данных.
10. Система для шифрования трафика передачи, в которой трафик передачи содержит по меньшей мере два типа трафика, причем система содержит по меньшей мере два элемента шифрования, причем каждый из по меньшей мере двух элементов шифрования связан по меньшей мере с одним из по меньшей мере двух типов трафика, и по меньшей мере один генератор для генерирования множества номеров последовательности, который соединен по меньшей мере с двумя элементами шифрования.
11. Устройство для независимого шифрования трафика в системе радиосвязи в соответствии с типом трафика, содержащее
процессор,
запоминающий элемент, соединенный с процессором, содержащий множество команд, выполняемых процессором, причем множество команд содержит команды для
генерирования значения криптосинхронизации на передающей стороне,
генерирования первой сигнатуры для аутентификации из значения криптосинхронизации и ключа шифрования на передающей стороне,
передачи значения криптосинхронизации и первой сигнатуры для аутентификации к принимающей стороне,
генерирования второй сигнатуры для аутентификации из значения криптосинхронизации и ключа шифрования на принимающей стороне,
приращения значения криптосинхронизации на принимающей стороне, если первая сигнатура для аутентификации и вторая сигнатура для аутентификации совпадают, и
запроса обмена ключами шифрования, если первая сигнатура для аутентификации и вторая сигнатура для аутентификации не совпадают.
12. Устройство для независимого шифрования трафика в системе радиосвязи в соответствии с типом трафика, содержащее
процессор,
запоминающий элемент, соединенный с процессором, содержащий множество команд, выполняемых процессором, причем множество команд содержит команды для
передачи кадра зашифрованного сообщения к принимающей стороне,
проверки текущего значения криптосинхронизации, связанного с кадром зашифрованного сообщения на принимающей стороне,
приращения текущего значения криптосинхронизации на передающей стороне и принимающей стороне, если текущее значение криптосинхронизации прошло проверку, и
передачи от принимающей стороны к передающей стороне сообщения отказа, если текущее значение криптосинхронизации не прошло проверку.
13. Устройство для передачи переменных параметров аутентификации от передающей стороны к принимающей стороне, содержащее
средство для генерирования значения криптосинхронизации на передающей стороне,
средство для генерирования первой сигнатуры для аутентификации из значения криптосинхронизации и ключа шифрования на передающей стороне,
средство для передачи значения криптосинхронизации и первой сигнатуры для аутентификации к принимающей стороне,
средство для генерирования второй сигнатуры для аутентификации из значения криптосинхронизации и ключа шифрования на принимающей стороне,
средство для приращения значения криптосинхронизации на принимающей стороне, если первая сигнатура для аутентификации и вторая сигнатура для аутентификации совпадают, и
запрос обмена ключами шифрования, если первая сигнатура для аутентификации и вторая сигнатура для аутентификации не совпадают.
14. Устройство синхронизации значений криптосинхронизации алгоритма шифрования на передающей стороне и принимающей стороне, содержащее
средство для передачи кадра зашифрованного сообщения к принимающей стороне,
средство для проверки текущего значения криптосинхронизации, связанного с кадром зашифрованного сообщения, на принимающей стороне,
средство для приращения текущего значения криптосинхронизации на передающей стороне и принимающей стороне, если текущее значение криптосинхронизации прошло проверку, и
средство для передачи от принимающей стороны к передающей стороне сообщения отказа, если текущее значение криптосинхронизации не прошло проверку.
РИСУНКИ
|
|