|
(21), (22) Заявка: 2004122389/28, 18.12.2002
(24) Дата начала отсчета срока действия патента:
18.12.2002
(30) Конвенционный приоритет:
21.12.2001 DE 10163566.4
(43) Дата публикации заявки: 27.05.2005
(45) Опубликовано: 27.03.2006
(56) Список документов, цитированных в отчете о поиске:
SU 952495 A1, 23.08.1982. SU 780165 A1, 15.11.1980. SU 1432731 A1, 23.10.1988. JP 6318848 A, 15.11.1994. US 6211709 В1, 03.04.2001.
(85) Дата перевода заявки PCT на национальную фазу:
21.07.2004
(86) Заявка PCT:
EP 02/14442 (18.12.2002)
(87) Публикация PCT:
WO 03/054490 (03.07.2003)
Адрес для переписки:
103735, Москва, ул. Ильинка, 5/2, ООО “Союзпатент”, пат.пов. И.М.Захаровой
|
(72) Автор(ы):
ФРЕЛИХ Томас (CH), ШТОКЕР Гаральд (DE)
(73) Патентообладатель(и):
ЭНДРЕСС+ХАУЗЕР ФЛОУТЕК АГ (CH)
|
(54) ГЕНЕРАТОР ИМПУЛЬСОВ
(57) Реферат:
Использование: для генерации импульсов. Сущность: заключается в том, что генератор импульсов состоит из управляющей логики SL, которая посредством управляющих импульсов управляет выключателем SR, соединенным со стороны входа с блоком S питания и вырабатывающим со стороны выхода импульсное напряжение, при этом между управляющей логикой SL и выключателем SR расположен конденсатор С01, выполненный с возможностью уменьшать импульсное напряжение при слишком низких частотах управляющих импульсов, при этом между блоком S питания и выключателем SR расположено RC-звено, которое уменьшает импульсное напряжение при слишком высоких частотах повторения управляющих импульсов. Технический результат: использование генератора импульсов во взрывозащищенной системе. 6 з.п. ф-лы, 5 ил. 
Изобретение относится к генератору импульсов согласно ограничительной части п.1 формулы.
Подобные генераторы импульсов широко используются в технике автоматизации процессов и в ультразвуковых или радиолокационных системах.
Ультразвуковые расходомеры позволяют простым образом бесконтактно определить объемный расход в трубопроводе.
Известные ультразвуковые расходомеры работают либо по доплеровскому принципу, либо по принципу разности времени пробега.
При работе по принципу разности времени пробега оценивают разное время пробега ультразвуковых импульсов относительно направления течения жидкости.
Для этого ультразвуковые импульсы посылают как по течению, так и против него. По разности времени пробега можно определить скорость течения и, тем самым, при известном диаметре отрезка трубопровода – объемный расход.
При работе по доплеровскому принципу в жидкость вводят ультразвуковые волны с определенной частотой и оценивают отраженные жидкостью ультразвуковые волны. По частотному сдвигу между введенными и отраженными волнами также можно определить скорость течения жидкости.
Отражения в жидкости возникают, однако, только тогда, когда в ней имеются воздушные пузырьки или загрязнения, так что этот принцип находит применение главным образом в загрязненных жидкостях.
Ультразвуковые волны создают и принимают с помощью так называемых ультразвуковых преобразователей. Для этого ультразвуковые преобразователи прочно устанавливают на стенке данного отрезка трубопровода. С недавних пор имеются также зажимные ультразвуковые измерительные системы. У этих систем ультразвуковые преобразователи прижимают к стенке трубы только с помощью стяжного замка. Подобные системы известны, например, из ЕР-В-686255, US-A 4484478 или US-A 4598593.
Другой ультразвуковой расходомер, работающий по принципу разности времени пробега, известен из US-A 5052230. Время пробега определяют здесь посредством так называемых пачек, т.е. коротких ультразвуковых импульсов.
Ультразвуковые преобразователи состоят обычно из пьезоэлемента и клина связи. В пьезоэлементе создают ультразвуковые волны, направляют через клин связи к стенке трубы и вводят оттуда в жидкость. Поскольку скорости звука в жидкостях и пластиках разные, ультразвуковые волны преломляются при переходе от одной среды к другой. Угол преломления зависит, таким образом, от соотношения скоростей распространения в обеих средах.
Ультразвуковые расходомеры широко используются во взрывозащищенных системах. В этих системах имеются воспламеняющиеся газы, воспламенения которых следует избегать. Для взрывозащищенных систем существуют соответствующие правила безопасности, с тем чтобы исключить опасность для оборудования и людей. Воспламенение газов может произойти тогда, когда превышены определенные, действующие наружу значения напряжения, тока, индуктивности или емкости, и, тем самым, в газе вырабатывается достаточно энергии, чтобы вызвать процесс воспламенения. Высокие импульсные напряжения необходимы для обеспечения достаточной точности измерений. При слишком низких импульсных напряжениях обработка сигнала крайне сложна. Взрывозащищенные системы в соответствии с известным стандартом безопасности разделяют на различные зоны, имеющие разные критерии безопасности. При неправильном функционировании управляющей логики, с которой вырабатывают импульсы напряжения, нельзя исключать того, что слишком большим станет число периодов повторения импульсов на пачку, слишком высокой станет частота импульсов или частота повторения пачек. Во всех случаях может произойти воспламенение газов. Также следует предотвратить случай, когда на выходе постоянно имеется напряжение блока питания.
Задачей настоящего изобретения является поэтому создание генератора импульсов, в частности для ультразвуковых расходомеров, который позволил бы надежно использовать его также во взрывозащищенной системе.
Эта задача решается посредством признаков, приведенных в п.1 формулы.
Предпочтительные усовершенствования изобретения приведены в зависимых пунктах.
Основная идея изобретения состоит в том, что между блоком питания и выключателем расположено RC-звено, которое уменьшает импульсное напряжение, когда управление выключателем происходит со слишком высокой частотой, и что между управляющей логикой и выключателем расположен конденсатор, который уменьшает импульсное напряжение при слишком низких частотах управляющих импульсов.
Ниже изобретение более подробно поясняется с помощью примера выполнения, изображенного на чертеже, на котором представляют:
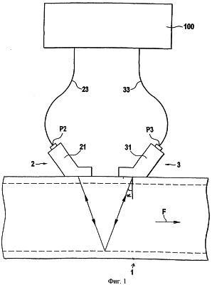
– фиг.1 схематично ультразвуковой расходомер;
– фиг.2 блок-схему генератора импульсов согласно изобретению для ультразвуковых расходомеров;
– фиг.3 диаграмму импульсное напряжение-время для нескольких установок управляющей логики.
На фиг.1 в сильно упрощенном виде изображен ультразвуковой расходомер с двумя ультразвуковыми преобразователями 2, 3, расположенными на внешней стенке трубопровода 1 с осепараллельным смещением. Жидкость F в трубопроводе 1 течет в направлении стрелки.
Эта пара преобразователей может работать в двух разных режимах: либо ультразвуковой преобразователь 2 действует в качестве передающего преобразователя, а ультразвуковой преобразователь 3 в качестве приемного преобразователя, либо ультразвуковой преобразователь 2 в качестве приемного преобразователя, а ультразвуковой преобразователь 3 в качестве передающего преобразователя, благодаря чему измерение осуществляют в направлении течения и навстречу ему.
Каждый из ультразвуковых преобразователей 2, 3 состоит из пьезоэлемента Р2, Р3 и элемента 21, 31 связи, который вводит ультразвуковые сигналы под отличным от 90° углом либо в стенку трубопровода, либо выводит из нее. Угол выбирают так, чтобы в среде образовался как можно более плоский угол и чтобы в то же время был возможен ввод ультразвука в как можно большее число материалов труб без полного отражения.
Пьезоэлементы Р2, Р3 преобразуют либо ультразвуковые импульсы в механические колебания, собственно ультразвуковые сигналы, либо наоборот механические колебания в электрические.
Оба ультразвуковых преобразователя 2, 3 соединены соответственно присоединительными проводами 23, 33 с измерительной схемой 100, включающей в себя генератор импульсов. По присоединительным проводам 23, 33 направляют электрические импульсы.
Импульсы напряжения, на которых работают пьезоэлементы, вырабатывают с помощью генератора Р импульсов, который состоит, в основном, из управляющей логики SL, выключателя SR и блока S питания (фиг.2). Управляющая логика SL вырабатывает управляющие сигналы, которые управляют выключателем SR. За счет замыкания и размыкания выключателя SR вырабатываются управляющие импульсы. Амплитуда импульсного напряжения определяется в нормальном эксплуатационном состоянии выходным напряжением блока S питания.
Посредством управляющей логики SL можно установить число периодов на пачку импульсов, частоту импульсов и частоту повторения пачек импульсов. Эти установки являются переменными и хранятся в блоке данных в управляющей логике SL. Установки могут быть изменены с помощью микропроцессора С.
Блок S питания соединен через RC-звено RC, состоящее из резистора R1 и конденсатора С1, с одним входом Е1 полевого транзистора (FET), служащего выключателем SR. Далее управляющая логика SL через два конденсатора С01, С02 соединена со вторым входом Е2 полевого транзистора (FET). Ультразвуковой преобразователь 2 состоит в основном из пьезоэлемента, оснащенного дополнительными пассивными или активными элементами (резисторами, индуктивностями, диодами). Управляющей логикой SL управляет микропроцессор С.
Поскольку генератор Р импульсов вырабатывает биполярные импульсы напряжения, верхняя часть схемы зеркально-симметрична.
Ниже более подробно поясняется функционирование изобретения. Управляющая логика SL вырабатывает управляющие импульсы, которые управляют выключателем SR. Управляющая логика SL настроена в нормальном случае так, что импульсы напряжения вырабатываются в виде пачек импульсов с частотой повторения от 1 до 10 миллисекунд и частотой несколько сот килогерц. На фиг.3а изображена соответствующая диаграмма импульсное напряжение-время. Частота импульсов составляет здесь 500 кГц. Пачка импульсов состоит из 5 импульсов, а частота повторения пачек импульсов составляет 5 миллисекунд. Амплитуда импульсного напряжения составляет 30 В, что соответствует выходному напряжению блока S питания.
Возможное неправильное функционирование управляющей логики SL может привести к тому, что частота импульсов станет слишком малой. Подобный случай показан на фиг.3b. Здесь частота импульсов составляет всего 50 кГц. Хорошо видно, что амплитуда импульсного напряжения сильно уменьшается с каждым отдельным импульсом. Уже через 5 импульсов импульсное напряжение падает более чем наполовину первоначального исходного значения.
Другое неправильное функционирование управляющей логики SL может привести к тому, что частота повторения станет слишком высокой. Такой случай показан на фиг.3с. Здесь частота повторения составляет 100 микросекунд. Амплитуда импульсного напряжения составляет всего около 5 В.
С помощью генератора Р импульсов согласно изобретению даже при неправильном функционировании управляющей логики SL возможна надежная работа даже во взрывозащищенных системах.
Генератор Р импульсов согласно изобретению может использоваться не только в ультразвуковых, но и в радиолокационных системах и т.п.
Формула изобретения
1. Генератор Р импульсов, состоящий из управляющей логики SL, которая посредством управляющих импульсов управляет выключателем SR, соединенным со стороны входа с блоком S питания и вырабатывающим со стороны выхода импульсное напряжение, отличающийся тем, что между управляющей логикой SL и выключателем SR расположен конденсатор С01, выполненный с возможностью уменьшать импульсное напряжение при слишком низких частотах управляющих импульсов, при этом между блоком S питания и выключателем SR расположено RC-звено, которое уменьшает импульсное напряжение при слишком высоких частотах повторения управляющих импульсов.
2. Генератор по п.1, отличающийся тем, что выключатель SR представляет собой полевой транзистор (FET).
3. Генератор по п.1, отличающийся тем, что RC-звено имеет временную постоянную, делающую воспламенение невозможным.
4. Генератор по п.1, отличающийся тем, что предусмотрены два последовательно включенных конденсатора С01 и С02.
5. Генератор по п.1, отличающийся тем, что для ограничения тока после выключателя SR включен выходной резистор A3.
6. Генератор по п.1, отличающийся тем, что вырабатываются биполярные импульсы напряжения.
7. Генератор по п.1, отличающийся тем, что он выполнен с возможностью использоваться для ультразвуковых расходомеров.
РИСУНКИ
|