|
|
(21), (22) Заявка: 2002129892/11, 06.04.2001
(24) Дата начала отсчета срока действия патента:
06.04.2001
(30) Конвенционный приоритет:
07.04.2000 (пп.1-11) SE 0001302-9
(43) Дата публикации заявки: 10.03.2004
(45) Опубликовано: 27.03.2006
(56) Список документов, цитированных в отчете о поиске:
RU 2141570, 20.11.1999. US 5117142, 26.05.1992. GB 2219671, 13.12.1989. DE 19532614, 31.10.1996. DE 19811075, 16.09.1999.
(85) Дата перевода заявки PCT на национальную фазу:
10.11.2002
(86) Заявка PCT:
SE 01/00773 (06.04.2001)
(87) Публикация PCT:
WO 01/78218 (18.10.2001)
Адрес для переписки:
129010, Москва, ул. Б. Спасская, 25, стр.3, ООО “Юридическая фирма Городисский и Партнеры”, пат.пов. Ю.Д.Кузнецову, рег.№ 595
|
(72) Автор(ы):
САДАРАНГАНИ Чандур (SE), ЕРТМАР Ларс (SE), АРШАД Вакас (SE), БЕКСТРЕМ Томас (SE)
(73) Патентообладатель(и):
ВОЛЬВО ТЕКНОЛОДЖИ АБ (SE)
|
(54) ЭЛЕКТРИЧЕСКАЯ МАШИНА
(57) Реферат:
Изобретение относится к электрическим машинам линейного типа и может быть использовано в двигателях внутреннего сгорания поршневого типа. Узел машины содержит статор, который включает в себя множество проводников (3′, 3″) магнитного потока и электрический проводник, формирующий обмотку, проходящую по существу замкнутым путем обмотки через каждый проводник магнитного потока, и подвижный элемент (10), который содержит ряд элементов (12′, 12″) постоянных магнитов и который может совершать возвратно-поступательное движение относительно статора вдоль пути движения. Путь обмотки включает в себя первую токонесущую часть (6а), которая проходит по существу параллельно пути движения. Каждый проводник (3′, 3″) магнитного потока приспособлен для формирования совместно с одним из элементов (12′, 12″) постоянных магнитов замкнутый контур магнитного потока, проходящий вокруг токонесущей части. Проводники магнитного потока расположены в чередующемся порядке в отношении направления магнитного потока относительно элементов постоянных магнитов в соответствующем контуре магнитного потока. Технический результат заключается в повышении эффективности использования объема конструкции и веса. 10 з.п. ф-лы, 19 ил. 
Область техники
Настоящее изобретение относится к электрическому устройству, включающему статор, который имеет проводники магнитного потока и обмотку, проходящую через проводники магнитного потока, и подвижный элемент, который может двигаться относительно статора.
Предшествующий уровень техники
Линейные электрические машины известны в различных областях, например свободнопоршневые двигатели, то есть двигатель с поршнем, который может двигаться механически свободно в цилиндре. Следовательно, нет механического элемента, такого как соединительный шатун или коленчатый вал, для передачи энергии от поршня, но кинетическая энергия поршня непосредственно преобразуется в электрическую энергию при помощи линейного электрического устройства. Такой линейный генератор может, например, включать магнитный элемент в поршне и электромагнитный элемент в стенке цилиндра.
Документ US-A-5788003 описывает такой двигатель внутреннего сгорания свободнопоршневого типа для привода автомобиля. Двигатель взаимодействует с встроенным электрическим генератором, причем поршень, который имеет внутреннюю электропроводящую обмотку, приспособлен для возвратно-поступательного движения относительно окружающей внешней обмотки. При работе внешняя обмотка образует магнитное поле, при этом во внутренней обмотке генерируется электрический ток. Генерируемый электрический ток получают из внутренней обмотки при помощи механического коммутатора, при этом электрический ток затем может использоваться электрическим двигателем для приведения в действие транспортного средства. Такой коммутатор подвержен износу и имеет ограниченный срок службы.
В документе US-А-5347186 упомянут линейный электрический генератор, в котором применены магнит и обмотка, выполненные с возможностью движения относительно друг друга. Относительное движение обмотки в магнитном поле генерирует ток в обмотке, который может использоваться во внешней электрической цепи. Этот документ описывает базовые принципы магнитной индукции, то есть явления, которое известно очень много лет. Появившимся новым объектом является элемент, который предназначен для поддержания нейтрального положения для относительного движения.
Обычные электрические машины работают по принципу продольного магнитного потока, что означает, что плоскость магнитного потока каждого элемента статора параллельна направлению движения ротора. Документ SE-B-463061 описывает электрическую машину, которая работает согласно принципу поперечного магнитного потока. Эта известная машина включает в себя ротор с рядом постоянных магнитов и статор с соответствующим количеством элементов статора, которые расположены таким образом, что индуцированный магнитный поток в основном следует по пути, перпендикулярному направлению вращения ротора. Известная машина отличается высокой эффективной плотностью, то есть высокой эффективностью относительно объема машины. Документ описывает вращающиеся машины с поперечным магнитным потоком. Безусловно, в документе описана линейная конструкция, но только с иллюстративной целью. Документ не дает информации о том, как поперечный принцип может трансформироваться для линейных устройств и, в частности, не относится к линейным устройствам с элементом, совершающим возвратно-поступательное движение относительно статора.
Документ DE-A-19811075 описывает линейную электрическую машину, имеющую статор с множеством проводников магнитного потока и подвижный элемент с рядом постоянных магнитов. Замкнутый путь обмотки проходит по существу параллельно направлению движения подвижного элемента. Каждый проводник магнитного потока формирует совместно с постоянным магнитом замкнутый контур магнитного потока. Направление магнитного потока одинаково в каждом контуре в подвижном элементе и, таким образом, проводники магнитного потока расположены на расстоянии друг от друга, которое соответствует ширине постоянного магнитного элемента.
Раскрытие изобретения
Целью настоящего изобретения является получение усовершенствованной электрической машины со статором и совершающим возвратно-поступательное движение элементом. В частности, оно направлено на такую машину, обладающую высокой эффективностью.
Эта цель достигнута благодаря электрической машине, включающей в себя по меньшей мере один первый узел машины, который включает в себя:
– статор, который содержит множество проводников магнитного потока и электрический проводник, формирующий обмотку, проходящую по существу замкнутым путем обмотки через каждый проводник магнитного потока,
– подвижный элемент, который содержит ряд элементов постоянных магнитов и который выполнен с возможностью возвратно-поступательного движения относительно статора вдоль пути движения в пространстве, имеющем ограниченную длину и сформированном по меньшей мере частью проводников магнитного потока,
в которой по существу замкнутый путь обмотки включает в себя первую токонесущую часть, которая проходит по существу параллельно пути движения,
причем каждый проводник магнитного потока установлен с возможностью формирования, совместно с одним из постоянных магнитных элементов, замкнутый контур магнитного потока, проходящий вокруг токонесущей части, и
при этом проводники магнитного потока расположены в чередующемся порядке в отношении направления магнитного потока относительно элементов постоянных магнитов в соответствующем контуре магнитного потока.
Благодаря такой конструкции получена электрическая машина, которая работает в соответствии с принципом поперечного магнитного потока и которая включает в себя элемент, совершающий возвратно-поступательное движение, который, преимущественно, может формировать поршень механической машины, такой как двигатель или насос, или неподвижно прикрепляться к нему. Благодаря прохождению обмотки по существу замкнутым путем через каждый проводник магнитного потока статора суммарное количество витков может быть уменьшено, что приводит к малым потерям. Кроме того, проводники магнитного потока статора могут располагаться относительно близко друг к другу, что обеспечивает высокую эффективную плотность относительно веса, а также объема электрической машины. Таким образом, может быть обеспечена высокая эффективность электрической машины. Благодаря чередующемуся порядку обеспечивается то, что напряжение, индуцируемое в обмотке в каждый момент времени, имеет одинаковое направление и что напряжение в обмотке изменяет направление одновременно для каждого контура магнитного потока, когда подвижный элемент движется таким образом, что элементы постоянных магнитов перемещаются на одну ступень относительно проводников магнитного потока.
В соответствии с вариантом осуществления изобретения каждый контур магнитного потока имеет магнитный поток, который параллелен плоскости, проходящей по существу перпендикулярно линии движения. Расстояние между центральными точками соседних элементов постоянных магнитов, таким образом, может быть по существу равным расстоянию между центральными точками соседних проводников магнитного потока. Таким образом, электрическое устройство, соответствующее изобретению, будет иметь вдоль определенной длины статора такое же количество элементов статора, то есть проводников магнитного потока, как и количество элементов постоянных магнитов подвижного элемента. Следовательно, достигается высокая эффективная плотность электрической машины. Такая конструкция может быть получена посредством расположения элементов постоянных магнитов в чередующемся порядке в отношении магнитного направления элементов постоянных магнитов.
Согласно другому варианту осуществления изобретения каждый контур магнитного потока включает в себя первый зазор между полюсом элемента постоянных магнитов контура и концевой поверхностью проводника магнитного потока контура и второй зазор между вторым полюсом элемента постоянных магнитов контура и второй концевой поверхностью проводника магнитного потока контура. Элементы постоянных магнитов могут, таким образом, располагаться таким образом, чтобы магнитное направление проходило по существу перпендикулярно направлению движения подвижного элемента на пути движения. Таким образом, можно получить подвижный элемент с относительно небольшой шириной и высотой, поскольку подвижный элемент не требует каких-либо существенных дополнительных компонентов. Подвижный элемент может, таким образом, иметь небольшой вес, что является важным преимуществом для подвижного элемента, совершающего возвратно-поступательное движение.
Согласно следующему варианту осуществления изобретения подвижный элемент соединен по меньшей мере с одним поршнем, который с возможностью движения расположен в цилиндре. В таком случае электрическая машина может использоваться как электрический генератор, в котором поршень движется в цилиндре за счет процесса сгорания известным образом. Электрическое устройство может также использоваться как электрический двигатель для приведения в действие, например, насоса.
Согласно следующему варианту осуществления изобретения по существу замкнутый путь обмотки включает в себя вторую токонесущую часть, которая проходит по существу параллельно пути движения. Таким образом, очень большая часть по существу замкнутого пути обмотки может использоваться для генерирования тока и, таким образом, потери могут удерживаться на очень низком уровне. Кроме того, первая токонесущая часть пути обмотки по существу объединена с первой половиной проводников магнитного потока и вторая токонесущая часть пути обмотки по существу объединена со второй половиной проводников магнитного потока. Предпочтительно элементы постоянных магнитов подвижного элемента приспособлены для взаимодействия с проводниками магнитного потока, которые объединены с первой токонесущей частью, и проводниками магнитного потока, которые объединены со второй токонесущей частью.
Согласно последующему варианту осуществления изобретения соседние элементы постоянных магнитов подвижного элемента отделены друг от друга промежуточным элементом, который по существу не обладает магнитной проводимостью. Таким образом, элементы постоянных магнитов и промежуточные элементы подвижного элемента могут быть выполнены с возможностью формирования структуры, которая устойчива к усилиям, воздействующим на подвижный элемент при использовании электрического устройства. Такая конструкция предпочтительно может иметь конфигурацию удлиненного стержня, проходящего между двумя поршнями и соединяющего их. Такой стержень, таким образом, может состоять просто из элементов постоянных магнитов и промежуточных элементов, расположенных в чередующемся порядке. Кроме того, соседние проводники магнитного потока статора могут быть отделены друг от друга промежуточным элементом, который не обладает магнитной проводимостью.
Согласно еще одному варианту осуществления изобретения электрическая машина также включает в себя второй узел машины, который содержит:
– статор, содержащий множество проводников магнитного потока и электрический проводник, формирующий обмотку, проходящую по существу замкнутым путем обмотки через каждый проводник магнитного потока,
– подвижный элемент, который содержит ряд элементов постоянных магнитов и который может совершать возвратно-поступательное движение относительно статора вдоль пути движения в пространстве, имеющем ограниченную длину и сформированном по меньшей мере частью проводников магнитного потока,
в которой по существу замкнутый путь обмотки включает первую токонесущую часть, которая проходит по существу параллельно пути движения,
причем каждый проводник магнитного потока установлен с возможностью формирования совместно с одним из элементов постоянных магнитов замкнутого контура магнитного потока, проходящего вокруг токонесущей части,
при этом проводники магнитного потока расположены в чередующемся порядке в отношении направления магнитного потока относительно элементов постоянных магнитов в соответствующем контуре магнитного потока,
причем первый узел машины выполнен с возможностью работы в положении первой фазы, а второй узел машины выполнен с возможностью работы в положении второй фазы, сдвинутом относительно положения первой фазы на фазовый угол.
С таким дополнительным узлом машины электрическая машина может быть скомпонована как двухфазная машина, в которой два узла машины могут иметь сдвиг относительно друг друга на пригодный фазовый угол, например 90°. Следует отметить, что, конечно, можно конструировать электрическую машину с несколькими фазами, например тремя фазами, при этом электрическое устройство будет содержать три таких узла машины. Разные узлы машины могут располагаться рядом друг с другом таким образом, чтобы подвижные элементы двигались параллельно друг другу. Таким образом, можно соединять подвижные элементы разных блоков устройства с одним или двумя общими поршнями или двумя отдельными поршнями для каждого узла машины. Разные узлы машины могут также располагаться в линию друг за другом, при этом подвижные элементы будут сформированы общим удлиненным элементом, таким как один стержень.
Краткое описание чертежей
Теперь настоящее изобретение будет описано более подробно при помощи различных вариантов его осуществления, которые раскрыты только для примера, и со ссылками на прилагаемые чертежи, на которых:
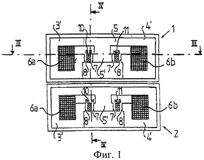
Фиг.1 схематически изображает вид сечения первого варианта выполнения электрической машины, соответствующей настоящему изобретению.
Фиг.2 изображает другой вид сечения машины, показанной на фиг.1.
Фиг.3 схематически изображает сечение по линии III-III на фиг.1 и 2.
Фиг.4 схематически изображает сечение по линии IV-IV на фиг.1 и 2.
Фиг.5 схематически изображает сечение, подобное показанному на фиг.4, второго варианта выполнения электрической машины, соответствующей настоящему изобретению.
Фиг.6 схематически изображает вид сечения третьего варианта выполнения электрической машины, соответствующей настоящему изобретению.
Фиг.7 изображает другой вид сечения машины, показанной на фиг.6.
Фиг.8 схематически изображает вид сечения четвертого варианта выполнения электрической машины, соответствующей настоящему изобретению.
Фиг.9 изображает другой вид сечения машины, показанной на фиг.8.
Фиг.10 схематически изображает сечение по линии Х-Х на фиг.8 и 9.
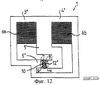
Фиг.11 изображает сечение, подобное показанному на фиг.8, электрической машины, соответствующей пятому варианту осуществления изобретения.
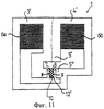
Фиг.12 изображает другое сечение машины, показанной на фиг.11.
Фиг.13 изображает сечение, подобное показанному на фиг.8, электрической машины, соответствующей шестому варианту осуществления изобретения.
Фиг.14 изображает другое сечение машины, показанной на фиг.13.
Фиг.15 изображает сечение, подобное показанному на фиг.8, электрической машины, соответствующей седьмому варианту осуществления изобретения.
Фиг.16 изображает другое сечение машины, показанной на фиг.15.
Фиг.17 изображает сечение, подобное показанному на фиг.8, электрической машины, соответствующей восьмому варианту осуществления изобретения.
Фиг.18 изображает другое сечение машины, показанной на фиг.17.
Фиг.19 изображает продольное сечение электрической машины, соответствующей девятому варианту осуществления изобретения.
Подробное описание разных вариантов осуществления изобретения
Со ссылками на фиг.1-4 описан вариант выполнения электрической машины с первым узлом 1 машины и вторым узлом 2 машины. Узлы 1 и 2 устройства имеют по существу идентичную конструкцию и, таким образом, будет подробно описан только первый узел 1 машины.
Первый узел 1 машины включает в себя статор, который содержит множество проводников 3′, 3”, 4′, 4” магнитного потока. Первый узел 1 устройства также включает в себя электрический проводник, формирующий обмотку 6а, 6b, 6c, 6d, которая может состоять из одной или нескольких секций. Обмотка 6а, 6b, 6c, 6d формирует по существу замкнутый путь, который проходит через каждый проводник 3′, 3”, 4′, 4” магнитного потока. Замкнутый путь обмотки формирует удлиненное кольцо, имеющее первую токонесущую часть 6а и вторую токонесущую часть 6b. Первая токонесущая часть 6а проходит через проводники 3′ и 3” магнитного потока, и вторая токонесущая часть 6b проходит через проводники 4′ и 4” магнитного потока. Две токонесущие части 6а и 6b по существу прямолинейны и проходят по существу параллельно друг другу и продольной оси х первого узла 1 машины. Две токонесущие части 6а и 6b соединены друг с другом при помощи двух токонесущих соединительных частей 6c и 6d, которые образуют плавный изгиб. Половины соединительных частей 6c и 6d показаны на фиг.4.
Проводники 3′, 3”, 4′, 4” магнитного потока применены парами, причем проводник 3′ магнитного потока проходит вокруг первой токонесущей части 6а, а проводник 4′ магнитного потока проходит вокруг второй токонесущей части 6b. Подобным образом проводник 3” магнитного потока проходит вокруг первой токонесущей части 6а и проводник 4” магнитного потока проходит вокруг второй токонесущей части 6b в соседней паре проводников магнитного потока. Проводники магнитного потока в одной такой паре формируют объединенный блок материала, обладающего магнитной проводимостью. Таким образом, два проводника 3′ и 4′ магнитного потока включают общую часть 5, которая проходит между двумя проводниками магнитного потока и которая включает в себя выступающую часть 5′, которая проходит между проводниками 3′ и 4′ магнитного потока. Выступающая часть 5′ формирует первую концевую поверхность 7 каждого из проводников 3′, 4′ магнитного потока. На некотором удалении от концевой поверхности 7 и по существу против нее каждый проводник 3′, 4′ магнитного потока имеет вторую концевую поверхность 8. Соседние проводники 3” и 4″ магнитного потока сконструированы соответствующим образом, с общей частью 5 и выступающей частью 5”, причем выступающая часть 5″ проходит в противоположном направлении относительно выступающей части 5′.
Предпочтительно проводники 3′, 3”, 4′, 4” выполнены из магнитно-мягкого, спекаемого порошкового материала, в котором каждая частица может быть окружена изолирующим слоем. Такой материал позволяет получать малые потери от вихревого тока, в частности при высоких частотах. Порошковый материал может также легко формоваться в необходимую трехмерную конфигурацию. Между соседними проводниками магнитного потока расположен промежуточный элемент 9, который не обладает магнитной проводимостью и не обладает электрической проводимостью. Каждая пара проводников 3′, 4′, магнитного потока, таким образом, изолирована от соседней пары проводников 3”, 4” магнитного потока таким промежуточным элементом 9, который ясно показан на фиг.3.
Первый узел 1 машины также включает в себя два подвижных элемента 10, 11. Каждый такой подвижный элемент 10, 11 содержит ряд элементов 12′, 12” постоянных магнитов и расположенный между каждой парой элементов 12′, 12” постоянных магнитов промежуточный элемент 13. Элементы 12′, 12” постоянных магнитов и промежуточные элементы 13 расположены в стержневой конфигурации таким образом, что эти элементы располагаются в ряд, один за другим. Элементы 12′ постоянных магнитов имеют северный полюс N, ориентированный в одном направлении, тогда как северный полюс соседнего элемента 12” постоянных магнитов ориентирован в противоположном направлении. Промежуточные элементы 13, которые отделяют соседние элементы 12′, 12” постоянных магнитов, по существу не обладают магнитной проводимостью и по существу не обладают электрической проводимостью. Удлиненные подвижные элементы 10 и 11 проходят по существу параллельно продольной оси х и установлены с возможностью совершения возвратно-поступательного движения относительно проводников 3′, 3”, 4′, 4” магнитного потока вдоль первого и второго путей движения соответственно, то есть параллельно продольной оси х.
Как показано на фиг.1, 2 и 3, подвижные элементы 10 и 11 расположены между первой концевой поверхностью 7 и второй концевой поверхностью 8 соответствующего проводника 3′, 3”, 4′, 4” магнитного потока и, более точно, элементы 12′, 12” постоянных магнитов расположены между концевыми поверхностями 7 и 8 таким образом, что формируется воздушный зазор между одним полюсом элементов 12′, 12” постоянных магнитов и первой концевой поверхностью 7 и воздушный зазор между другим полюсом элементов 12′, 12” постоянных магнитов и второй концевой поверхностью 8. Каждый проводник 3′, 3”, 4′, 4” магнитного потока, таким образом, формирует совместно с одним из элементов 12′, 12″ постоянных магнитов замкнутый контур магнитного потока, который проходит вокруг одной из токонесущих частей 6а и 6b.
Магнитный поток в каждом контуре магнитного потока, таким образом, будет параллелен плоскости, которая по существу перпендикулярна продольной оси х, то есть ориентации двух токонесущих частей 6а и 6b, а также соответствующей линии движения подвижных элементов 10, 11.
Расстояние между центральными точками соседних элементов 12′, 12” постоянных магнитов по существу равно расстоянию между центральными точками соседних проводников 3′, 3”, 4′, 4” магнитного потока. Подобным образом поперечные сечения концевых поверхностей 7 и 8 и полюсов элементов 12′, 12” постоянных магнитов по существу идентичны как по размерам, так и по конфигурации. Как можно видеть на определенном отрезке статора, он будет включать в себя такое же количество проводников 3′, 3”, 4′, 4” магнитного потока, как и количество элементов 12′, 12” постоянных магнитов на соответствующем отрезке подвижного элемента 10, 11.
Как показано на фиг.1 и 2, проводники 3′, 3”, 4′, 4” магнитного потока расположены чередующимся порядком в отношении направления магнитного потока относительно элементов 12′, 12” постоянных магнитов в соответствующем контуре магнитного потока. Это означает, что проводники 3′, 3”, 4′, 4” магнитного потока расположены таким образом, что направление магнитного потока относительно обмотки 6а, 6b, 6с, 6d, то есть первой токонесущей части 6а и второй токонесущей части 6d, по существу одинаково в каждом контуре магнитного потока при статической симметрии. Однако, когда подвижные элементы 10, 11 продвигаются на один шаг от одного проводника 3, 4′ магнитного потока к соседнему проводнику 3”, 4” магнитного потока, магнитный поток в каждом контуре 3′, 3”, 4′, 4” магнитного потока будет изменять направление, и, следовательно, индуцированное напряжение в обмотке 6а, 6b, 6с, 6d также изменяет направление.
Элементы 12′, 12” постоянных магнитов и промежуточные элементы 13 подвижных элементов 10, 11 выполнены с возможностью формирования конструкции, которая может противостоять большим усилиям, воздействующим на подвижные элементы 10, 11 при использовании. Следует отметить, что подвижные элементы 10, 11 в описанных вариантах осуществления изобретения не содержат каких-либо дополнительных усиливающих конструкцию элементов. Однако можно снабжать подвижные элементы 10, 11 такими усиливающими конструкцию элементами, например удлиненными усиливающими стержнями, которые можно располагать над и под подвижными элементами 10, 11, показанными на фиг.1 и 2. Такие удлиненные усиливающие стержни не будут влиять на электрические или магнитные характеристики электрической машины, поскольку воздушные зазоры между полюсами N, S магнитов и концевыми поверхностями 7, 8 не будут затронуты. Также предпочтительно, чтобы подвижные элементы 10, 11 имели как можно меньший вес, поскольку они предназначены для совершения возвратно-поступательного движения, предусматривающего постоянные ускорения, и, таким образом, конечно, желательно исключить наличие слишком большого количества дополнительных деталей. Подвижный элемент 10, 11 может изготовляться посредством прикрепления элементов 12′, 12” постоянных магнитов и промежуточных элементов 13 друг к другу. Также можно намагничивать части удлиненного элемента в противоположных направлениях таким образом, чтобы получать описанную конструкцию.
В описанных вариантах осуществления изобретения подвижные элементы 10, 11 соединены с поршнями 20, 21. На фиг.3 показан общий поршень 20 для двух подвижных элементов 10 и 11 на одном конце и другой общий поршень 21 для двух подвижных элементов 10, 11 на другом конце. Каждый поршень 20, 21 с возможностью движения расположен в цилиндре 22 и 23 соответственно. Следует отметить, что также можно снабжать каждый подвижный элемент 10, 11 отдельными поршнями на каждом конце.
Электрическая машина может использоваться для работы в качестве генератора, в котором цилиндры 22, 23 образуют соответствующие расширительные камеры для ускорения поршней 20, 21. Пригодный вариант применения описан в патенте Швеции №9904733-4, который описывает двигатель внутреннего сгорания с электрической машиной для генерирования электрического тока и для управления положением поршня двигателя внутреннего сгорания. Цилиндры 22, 23 в таком варианте применения в качестве генератора могут включать, например, впускные каналы 24 для подачи топлива или смеси из топлива и окислителя и выпускные каналы 25 для выпуска газообразных продуктов сгорания. В описанном варианте камеры сгорания приспособлены для работы по двухтактному принципу, но, конечно, можно в рамках изобретения также использовать четырехтактные двигатели. Следует отметить, что все типы двигателей внутреннего сгорания могут комбинироваться с электрической машиной, и, в частности, было указано на так называемые двигатели типа HCCI (Homogenous Charge Combustion Ignition – двигатели внутреннего сгорания с воспламенением однородного топлива), которые можно рассматривать как смесь двигателя с четырехтактным циклом Отто и дизельного двигателя, в котором смесь из окислителя и топлива впускается в камеру сгорания и воспламеняется при высокой степени сжатия посредством самовоспламенения. Могут использоваться также другие типы поршневых двигателей, например двигатели Стирлинга. Также следует отметить, что устройство из поршня и цилиндра на одном конце подвижных элементов 10, 11 может заменяться пружинным средством, которое предназначено для принудительного возвращения поршня назад, к другому концу, например, для выпуска газообразных продуктов сгорания или сжатия смеси из топлива и воздуха. Электрическая машина может также использоваться в качестве электродвигателя для приведения в действие поршневого насоса, в котором в каждом цилиндре 22, 23 расположены впускной клапан и выпускной клапан (не описаны) для впуска и выпуска перекачиваемой среды.
Как показано на фиг.1, 2 и 4, рядом с первым узлом 1 машины расположен второй узел 2 машины таким образом, что подвижные элементы 10, 11 по существу параллельны друг другу. На фиг.4 показано, как элементы 12′, 12” постоянных магнитов подвижных элементов 10, 11 первого узла 1 машины могут быть смещены относительно элементов 12′, 12” постоянных магнитов подвижных элементов 10, 11 второго узла 2 машины. Таким образом, можно образовать сдвиг фаз между двумя узлами 1, 2 машины, и можно с использованием двух показанных на фиг.4 узлов машины получить электрическую машину, генерирующую двухфазное напряжение. Фазовый угол может быть подобран как необходимо, например 90°. Следует отметить, что электрическая машина может иметь, в принципе, произвольное количество узлов машины, которые могут работать в частично одинаковых или разных положениях фазы.
На фиг.4 подвижные элементы 10, 11 двух узлов 1 и 2 машины соединены с общим поршнем 20 на одном конце и со вторым общим поршнем 21 на другом конце. В этом варианте, таким образом, существуют четыре подвижных элемента 10, 11, которые взаимодействуют с двумя общими поршнями 20, 21.
На фиг.5 показан другой вариант выполнения двухфазного устройства с отдельными поршнями 20, 21 и 20′, 21′ соответственно для обоих узлов 1, 2 машины. В остальном этот вариант осуществления изобретения подобен варианту, показанному на фиг.1-4.
На фиг.6 и 7 показан другой вариант осуществления изобретения, который показывает, как два узла 1, 2 машины могут располагаться рядом друг с другом в боковом направлении, то есть когда четыре подвижных элемента 10, 11 расположены в одной плоскости.
Со ссылками на фиг.8-10 описан четвертый вариант выполнения электрической машины с первым узлом 1 машины. Для компонентов, имеющих по существу одинаковые функции, во всех вариантах использованы одинаковые ссылочные номера. Четвертый вариант, в принципе, имеет такую же конструкцию, как и предыдущие варианты, но снабжен одним подвижным элементом 10 вместо двух таких элементов 10, 11.
Первый узел 1 машины, соответствующий четвертому варианту осуществления изобретения, имеет статор, который содержит множество проводников 3′, 3”, 4′, 4” магнитного потока. Первый узел 1 машины также включает в себя электрический проводник, формирующий обмотку 6а, 6b, 6с, 6d, которая может состоять из одной или нескольких секций. Обмотка 6а, 6b, 6с, 6d образует по существу замкнутый путь, который проходит через каждый проводник 3′, 3”, 4′, 4” магнитного потока. Замкнутый путь обмотки образует удлиненное кольцо, имеющее первую токонесущую часть 6а и вторую токонесущую часть 6b, Первая токонесущая часть 6а проходит через проводники 3′ и 3” магнитного потока, а вторая токонесущая часть 6b проходит через проводники 4′ и 4” магнитного потока. Две токонесущие части 6а и 6b по существу прямолинейны и проходят по существу параллельно друг другу и продольной оси х первого узла 1 машины. Две части 6а и 6b соединены друг с другом при помощи двух токонесущих соединительных частей 6с и 6d, которые формируют плавные изгибы. На фиг.10 показаны половины соединительных частей 6с и 6d.
Проводники 3′, 3”, 4′, 4” магнитного потока расположены парами, при этом проводник 3′ магнитного потока проходит вокруг первой токонесущей части 6а, а проводник 4′ магнитного потока проходит вокруг второй токонесущей части 6b. Подобным образом проводник 3” магнитного потока проходит вокруг первой токонесущей части 6а, а проводник 4” магнитного потока проходит вокруг второй токонесущей части 6b в соседней паре проводников магнитного потока. Проводники магнитного потока в одной такой паре формируют объединенный элемент из обладающего магнитной проводимостью материала. Таким образом, два проводника 3′ и 4′ магнитного потока включают в себя общую часть 5′ и 5”, которая формирует первую концевую поверхность 7 каждого из проводников 3′, 4′ и 3”, 4” магнитного потока соответственно и вторую концевую поверхность 8 каждого из проводников 3′, 4′ и 3”, 4” магнитного потока соответственно.
Проводники 3′, 3”, 4′, 4” магнитного потока могут быть изготовлены так же, как в предшествующих вариантах осуществления изобретения. Между соседними проводниками магнитного потока может располагаться промежуточный элемент 9, который не обладает магнитной проводимостью и не обладает электрической проводимостью. Каждая пара проводников 3′, 4′ магнитного потока, таким образом, отделена от соседней пары проводников 3”, 4” магнитного потока при помощи такого промежуточного элемента 9, который показан на фиг.10. Также следует отметить, что также можно располагать такие промежуточные элементы просто между общими частями 5′, 5” проводников 3′, 3”, 4′, 4” магнитного потока и оставлять оставшиеся их части в контакте друг с другом. Такое устройство, которое уменьшает утечку, может использоваться во всех описанных вариантах осуществления изобретения.
Первый узел 1 машины также включает в себя один подвижный элемент 10. Подвижный элемент 10 содержит ряд элементов 12′, 12” постоянных магнитов, так же как и в предшествующих вариантах осуществления изобретения.
Как показано на фиг.8 и 9, подвижный элемент 10 расположен между первой концевой поверхностью 7 и второй концевой поверхностью 8 соответствующего проводника 3′, 3”, 4′, 4” магнитного потока, и, более точно, элементы 12′, 12” постоянных магнитов расположены между концевыми поверхностями 7 и 8 таким образом, что формируют воздушный зазор между одним полюсом элементов 12′, 12” постоянных магнитов и первой концевой поверхностью 7 и воздушный зазор между другим полюсом элементов 12′, 12” постоянных магнитов и второй концевой поверхностью 8. Каждый проводник 3′, 3”, 4′, 4” магнитного потока, таким образом, предназначен для формирования, совместно с одним из элементов 12′, 12” постоянных магнитов замкнутого контура магнитного потока, который проходит вокруг одной из токонесущих частей 6а и 6b.
Магнитный поток в каждом контуре магнитного потока будет также в данном варианте осуществления изобретения параллельным плоскости, которая по существу перпендикулярна продольной оси х, то есть направлению ориентации двух токонесущих частей 6а и 6b, а также пути движения подвижного элемента 10.
На фиг.11 и 12 показан пятый вариант осуществления изобретения. В соответствии с этим вариантом электрическая машина имеет по меньшей мере один узел 1 машины и один подвижный элемент 10. Пятый вариант осуществления изобретения отличается от четвертого варианта тем фактом, что подвижный элемент расположен целиком рядом с обмоткой 6а, 6b. Таким образом, этот вариант осуществления изобретения имеет преимущество, состоящее в том, что соединительные части 6с и 6d могут не быть изогнутыми наружу, как описано в четвертом варианте.
На фиг.13 и 14 показан шестой вариант выполнения электрической машины. В этом варианте проводникам магнитного потока придана более сглаженная конфигурация с закругленными углами.
На фиг.15 и 16 показан седьмой вариант выполнения электрической машины. Этот вариант осуществления изобретения отличается от четвертого, пятого и шестого вариантов тем фактом, что элементы 12′, 12” постоянных магнитов с показанным поперечным сечением наклонены относительно направления магнитного потока, который проходит в элементы 12′, 12” постоянных магнитов и выходит из элементов 12′, 12” постоянных магнитов.
На фиг.17 и 18 показан восьмой вариант выполнения электрической машины. В этом случае элементы 12′, 12” постоянных магнитов также наклонены. Подвижный элемент 10 здесь содержит прямоугольный и, в частности, квадратный удлиненный стержень, в котором элементы 12′, 12” постоянных магнитов проходят в стержне по диагонали и имеют показанное поперечное сечение. Стержень выполнен из обладающего магнитной проводимостью материала и, таким образом, содержит проводники 31, 32 магнитного потока по обе стороны от элементов 12′, 12” постоянных магнитов.
На фиг.19 показан девятый вариант выполнения электрической машины, имеющей два узла 1 и 2 машины, которые расположены в линию, один за другим. Подвижный элемент 10 двух узлов машины сформирован общим удлиненным стержнем. Эта электрическая машина, таким образом, предназначена для работы в двух фазах. Следует отметить, что электрическая машина в пределах объема изобретения также может снабжаться несколькими узлами машины, расположенными в линию, один за другим, как показано на фиг.19, например, три узла машины могут располагаться один за другим в трехфазном варианте осуществления изобретения.
Следует отметить, что электрическая машина в вариантах, показанных на фиг.8-18, также может снабжаться более чем одним узлом 1 машины, и они так же, как в вариантах, показанных на фиг.1-7, могут располагаться рядом друг с другом. В таком случае подвижный элемент 10 каждого узла машины может, например, соединяться с общим поршнем 20, 21.
Изобретение не ограничено описанными вариантами и может изменяться и модифицироваться в пределах объема следующей формулы изобретения.
Описанные варианты включают линейные машины, то есть путь движения подвижных элементов 10, 11 является линейным. Однако можно выполнять изогнутый путь движения. Принципиально то, что подвижные элементы 10, 11 совершают возвратно-поступательное движение.
В видах поперечных сечений, показанных на фиг.1, 2 и 6, проводники 3′, 3”, 4′, 4” магнитного потока схематически показаны с острыми кромками. Однако следует отметить, что эти элементы 3′, 3”, 4′, 4” преимущественно могут иметь закругленные углы, что улучшает характеристики по магнитной проводимости.
Формула изобретения
1. Электрическая машина, содержащая по меньшей мере один узел (1) машины, который включает в себя статор, содержащий множество проводников (3′, 3″) магнитного потока, и электрический проводник, формирующий обмотку (6а, 6b, 6с, 6d), проходящую по существу замкнутым путем обмотки через каждый проводник магнитного потока, и подвижный элемент (10), который содержит ряд элементов (12′, 12″) постоянных магнитов, расположенных в конфигурации стержня, который выполнен с возможностью совершать возвратно-поступательное движение относительно статора по пути движения в пространстве, имеющем ограниченную длину и формируемом по меньшей мере частью проводников магнитного потока, в которой по существу замкнутый путь обмотки включает в себя первую токонесущую часть (6а), которая проходит по существу параллельно пути движения, и вторую токонесущую часть (6b), которая проходит по существу параллельно пути движения, причем каждый проводник (3′, 3″) магнитного потока выполнен с возможностью формирования совместно с одним из элементов (12′, 12″) постоянных магнитов замкнутый контур магнитного потока, проходящий вокруг токонесущей части (6а), при этом проводники (3′, 3″) магнитного потока расположены в чередующемся порядке в отношении направления магнитного потока относительно элементов (12′, 12″) постоянных магнитов в соответствующем контуре магнитного потока, причем первая токонесущая часть (6а) обмотки связана с первой половиной проводников (3′, 3″) магнитного потока, а вторая токонесущая часть (6b) обмотки связана со второй половиной проводников (4′, 4″) магнитного потока, и при этом каждый контур магнитного потока включает в себя первый зазор между полюсом (N, S) элемента (12′, 12″) постоянных магнитов контура и концевой поверхностью (7, 8) проводника (3′, 3″) магнитного потока контура, а второй зазор между вторым полюсом (S, N) элемента (12′, 12″) постоянных магнитов контура и второй концевой поверхностью (7, 8) проводника магнитного потока контура.
2. Электрическая машина по п.1, в которой каждый контур магнитного потока имеет магнитный поток, который параллелен плоскости, проходящей по существу перпендикулярно пути движения.
3. Электрическая машина по любому из пп.1 и 2, в которой расстояние между центральными точками соседних элементов (12′, 12″) постоянных магнитов по существу равно расстоянию между центральными точками соседних проводников (3′, 3″) магнитного потока.
4. Электрическая машина по любому из предшествующих пп.1-3, в которой элементы (12′, 12″) постоянных магнитов расположены в чередующемся порядке в отношении магнитного направления элементов (12′, 12″) постоянных магнитов.
5. Электрическая машина по любому из предшествующих пп.1-4, в которой проводники (3′, 3″) магнитного потока расположены таким образом, что направление магнитного потока относительно обмотки (6а, 6b, 6c, 6d) по существу одинаково в каждом контуре магнитного потока.
6. Электрическая машина по любому из предшествующих пп.1-5, в которой подвижный элемент (10, 11) соединен по меньшей мере с одним поршнем (20, 21), который расположен в корпусе (22, 23) с возможностью движения.
7. Электрическая машина по любому из предшествующих пп.1-6, в которой элементы (12′, 12″) постоянных магнитов подвижного элемента (10) установлены с возможностью взаимодействия с проводниками (3′, 3″) магнитного потока, которые связаны с первой токонесущей частью (6а), и проводниками (4′, 4″) магнитного потока, которые связаны со второй токонесущей частью (6b).
8. Электрическая машина по любому из предшествующих пп.1-7, в которой соседние элементы (12′, 12″) постоянных магнитов подвижного элемента (10, 11) отделены друг от друга промежуточным элементом (13), который по существу не обладает магнитной проводимостью.
9. Электрическая машина по п.8, в которой элементы (12′, 12″) постоянных магнитов и промежуточные элементы (13) подвижного элемента (10, 11) установлены с возможностью формирования структуры, которая устойчива к усилиям, воздействующим на подвижный элемент при использовании электрической машины.
10. Электрическая машина по любому из предшествующих пп.1-9, в которой соседние проводники (3′, 3″, 4′, 4″)магнитного потока статора отделены друг от друга промежуточным элементом (9), который обеспечивает магнитную изоляцию.
11. Электрическая машина по любому из предшествующих пп.1-10, которая содержит второй узел (2) машины, который включает в себя статор, содержащий множество проводников (3′, 3″) магнитного потока, и электрический проводник, формирующий обмотку (6а, 6b, 6с, 6d), проходящую по существу замкнутым путем обмотки через каждый проводник (3′, 3″) магнитного потока, и подвижный элемент (10), который содержит ряд элементов (12′, 12″) постоянных магнитов и который выполнен с возможностью возвратно-поступательного движения относительно статора по пути движения в пространстве, имеющем ограниченную длину и формируемом по меньшей мере частью проводников (3′, 3″) магнитного потока, в которой по существу замкнутый путь обмотки включает первую токонесущую часть (6а), которая проходит по существу параллельно пути движения, причем каждый проводник (3′, 3″) магнитного потока выполнен с возможностью формирования совместно с одним из элементов (12′, 12″) постоянных магнитов замкнутого контура магнитного потока, проходящего вокруг токонесущей части, при этом проводники (3′, 3″) магнитного потока расположены в чередующемся порядке в отношении направления магнитного потока относительно элементов (12′, 12″) постоянных магнитов в соответствующем контуре магнитного потока, и причем первый узел (1) машины выполнен с возможностью работы в положении первой фазы, а второй узел (2) машины выполнен с возможностью работы в положении второй фазы, сдвинутом относительно положения первой фазы на фазовый угол.
РИСУНКИ
|
|