|
(21), (22) Заявка: 2004112469/03, 26.04.2004
(24) Дата начала отсчета срока действия патента:
26.04.2004
(45) Опубликовано: 27.03.2006
(56) Список документов, цитированных в отчете о поиске:
RU 2058473 C1, 20.04.1996. RU 2144112 C1, 10.01.2000. RU 2162918 C1, 10.02.2001. RU 2070102 C1, 10.12.1996. SU 1011792 A1, 15.04.1983. DE 3435983 A1, 17.04.1986. DE 4040063 А1, 17.06.1992. FR 2084139 А, 17.12.1971.
Адрес для переписки:
423230, Республика Татарстан, г. Бугульма, ул. Джалиля, 66, НПУ “ЗНОК и ППД”, Инженеру А.Ш. Шаяхметову (для гл.бухгалтера Р.А.Шарифуллина)
|
(72) Автор(ы):
Фадеев Владимир Гелиевич (RU), Гареев Равиль Мансурович (RU), Мартынов Сергей Алексеевич (RU), Вакула Андрей Ярославович (RU), Губайдуллин Равиль Расимович (RU), Гареев Ринат Равильевич (RU), Мулюков Олег Ильдарович (RU)
(73) Патентообладатель(и):
Открытое акционерное общество “Татнефть” им. В.Д. Шашина (RU)
|
(54) СПОСОБ СТРОИТЕЛЬСТВА НАКОПИТЕЛЬНОГО АМБАРА
(57) Реферат:
Изобретение относится к нефтяной промышленности и может найти применение при обустройстве нефтяного месторождения, в частности при строительстве накопительного амбара, предназначенного для размещения отходов бурения скважин. Способ строительства накопительного амбара включает выемку грунта, сооружение обвалования и укладку на дно и стенки амбара гидроизоляционного экрана из пленочного материала со сварными швами. Экран выполняют с запасом размеров и проклеивают полосами полимерной липкой ленты с другой стороны перпендикулярно расположенным наружу сварным швам с расстоянием между полосами не более 3 м и выводом полос на наружную сторону гидроизоляционного экрана. Один край гидроизоляционного экрана закрепляют на бровке амбара монтажными скобами и присыпают по всей длине грунтом, производят постепенную укладку экрана сварными швами наружу без натяжения на дно и стенки амбара до противоположной бровки. Пригружают края экрана по ширине и формируют гофру на бровке амбара по всему периметру, фиксируют гофру грунтом, закрепляют свободные края уложенного гидроизоляционного экрана по всему периметру амбара монтажными скобами и присыпают грунтом. Свободные края экрана в местах установки монтажных скоб подворачивают в два слоя, а на дно амбара по периметру укладывают пригруз. На дне и стенках амбара в местах наличия каменистого грунта располагают защитные экраны из тканого материала. Размеры гидроизоляционного экрана расчитывают по приведенной зависимости. Технический результат состоит в повышении надежности хранения жидкости. 2 ил.

Изобретение относится к нефтяной промышленности и может найти применение при обустройстве нефтяного месторождения, в частности при строительстве накопительного амбара, предназначенного для размещения отходов бурения скважин.
Известен способ строительства накопительных амбаров, включающий гидронамыв грунта, сооружение дна и стенок, гидроизоляцию проницаемых грунтов (Коломейцев В.Т. “Сооружение оснований под кустовые буровые в условиях Западной Сибири. “Обзорная информация. Сер. “Нефтепромысловое строительство”, М., ВНИИОЭНГ, 1981, с.18).
Однако данная технология строительства характеризуется трудоемкостью процесса, поскольку включает в себя ряд работ, следующих один за другим: планировка и подготовка площадки под кустовое основание, гидронамыв или завоз грунта, сооружение накопительного амбара, укладка гидроизоляционного материала. Каждый ряд работ в зависимости от рельефа местности состоит из более мелких операций, на выполнение которых затрачивается определенное время. В итоге цикл строительства накопительного амбара растягивается во времени.
Известен способ строительства накопительного амбара, включающий планировочные работы, гидроизоляцию проницаемых грунтов, которую выполняют различными композициями, покрытиями из водонепроницаемых материалов и другими составами, и сооружение обвалования (см. РД-3Д-133-94 “Инструкция по охране окружающей среды при строительстве скважины на нефть и газ на суше”, М., НПО “Буровая техника”, 1994, с.40-41).
Основным недостатком названной технологии является резкое увеличение затрат на укладку надежной гидроизоляции дна накопительного амбара сооружаемого на проницаемом грунте. Кроме этого, цикл строительства накопительного амбара увеличивается, что ведет к удорожанию себестоимости продукции.
Известен способ строительства накопительного амбара, заключающийся в осуществлении планировочных работ, подготовке основания и гидроизоляции дна накопительного амбара, которые осуществляют одновременно путем укладки и уплотнения песчано-глинистой смеси с последующим обвалованием (Патент РФ №2144112, Е 02 D 31/02, В 09 В 1/00, опубл. 2000.01.10).
Известный способ приводит к сокращению капитальных затрат и сроков строительства накопительного амбара. Однако способ не приводит к созданию амбара, обладающего качественной защитой грунта от проникновения хранящихся жидкостей.
Наиболее близким к предлагаемому изобретению по технической сущности является способ строительства накопительного амбара, включающий выемку грунта, сооружение обвалования и укладку на дно и стенки амбара гидроизоляционного экрана из пленочного материала со сварными швами RU 2058473 C1, E 21 B 21/06, 20.04.1996.
Однако способ не приводит к созданию амбара, обладающего качественной защитой грунта от проникновения отходов бурения.
Задачей изобретения является повышение надежности хранения жидкостей.
Задача решается тем, что в способе строительства накопительного амбара, включающем выемку грунта, сооружение обвалования и укладку на дно и стенки амбара гидроизоляционного экрана из пленочного материала со сварными швами, согласно изобретению экран выполняют с запасом размеров и проклеивают полосами полимерной липкой ленты с другой стороны перпендикулярно расположенным наружу сварным швам с расстоянием между полосами не более 3 м и выводом полос на наружную сторону гидроизоляционного экрана, при этом один край гидроизоляционного экрана закрепляют на бровке амбара монтажными скобами и присыпают по всей длине грунтом, производят постепенную укладку экрана сварными швами наружу без натяжения на дно и стенки амбара до противоположной бровки, пригружают края экрана по ширине и формируют гофру на бровке амбара по всему периметру, фиксируют гофру грунтом, закрепляют свободные края уложенного гидроизоляционного экрана по всему периметру амбара монтажными скобами и присыпают грунтом, причем свободные края экрана в местах установки монтажных скоб подворачивают в два слоя, а на дно амбара по периметру укладывают пригруз, при этом размеры гидроизоляционного экрана рассчитывают по формуле
А = а + 2,2с + К
В = в + 2,2с + К
где: А – длина экрана, м;
В – ширина экрана, м;
а – длина амбара, м;
с – глубина амбара, м;
в – ширина амбара, м;
К – коэффициент, учитывающий допуск на крепление экрана и формирование гофры, К = 2 – 2,5
кроме того, на дне и стенках амбара в местах наличия каменистого грунта располагают защитные экраны из тканого материала.
Для глинистых, суглинистых, щебенчатых и песчаных грунтов К принимают равным – 2, для скально-трещинных и насыпных – 2,5.
При необходимости гидроизоляционный экран накопительного амбара выполняют с размерами, позволяющими перекрыть середину расстояния до соседнего амбара.
Признаками изобретения являются:
1) выемка грунта;
2) сооружение обвалования;
3) изоляция;
4) при выемке грунта формирование стенок амбара с углом наклона, достаточным для удержания грунта от обрушения;
5) в местах соединения стенки с дном и стенки с бровкой на поверхности грунта формирование плавных переходов;
6) удаление с поверхности амбара объектов, способных вызвать нарушение целостности изоляции в процессе монтажа и эксплуатации;
7) снабжение амбара защитными экранами в местах возможного повреждения изоляции;
8) использование для изоляции гидроизоляционного экрана из пленочного материала;
9) выполнение гидроизоляционного экрана сварными швами наружу;
10) то же, с запасом размеров для формирования гофр на бровке накопительного амбара;
11) проклеивание с другой стороны гидроизоляционного экрана полосами полимерной липкой ленты перпендикулярно сварным швам с расстоянием между полосами не более 3 м и выводом полос на наружную сторону гидроизоляционного экрана;
12) при монтаже гидроизоляционного экрана закрепление края экрана на бровке амбара монтажными скобами и присыпка по всей длине грунтом;
13) постепенная укладка экрана без натяжения сварными швами наружу на дно и стенки амбара до противоположной бровки;
14) то же, с одновременным пригрузом края экрана по ширине;
15) то же, с формированием гофры из материала экрана на бровке амбара по всему периметру;
16) фиксирование гофры грунтом;
17) закрепление свободных краев уложенного гидроизоляционного экрана по всему периметру амбара монтажными скобами;
18) присыпка грунтом с одновременным подворачиванием свободного края экрана в месте установки монтажной скобы в два слоя;
19) укладка пригруза на дно амбара по периметру;
20) расчет размеров гидроизоляционного экрана по формулам с округлением расчета длины в большую сторону до значения кратного пяти и ширины – кратного трем.
Признаки 1-3 являются сходными с прототипом, признаки 4-20 являются существенными отличительными признаками изобретения.
Сущность изобретения
Накопительный амбар, предназначенный для сбора и хранения продуктов, образующихся при бурении и ремонте скважин, должен обеспечивать экологическую безопасность природных экосистем и населения, в частности, обеспечить надежную защиту от загрязнения почвы, поверхностных и подземных вод фильтратами буровых растворов и технологических жидкостей на весь период строительства и ремонта скважин. Существующие конструкции и технологии строительства накопительного амбара не всегда обеспечивают надежность хранения жидкостей. Задачей изобретения является повышение надежности хранения жидкостей. Задача решается следующим образом.
При строительстве накопительного амбара ведут выемку грунта, сооружение обвалования и изоляцию.
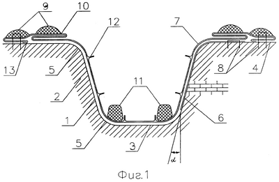
Изобретение поясняется чертежами, где на фиг.1 изображен амбар, на фиг. 2 – проклейка пленочного материала полосами полимерной липкой ленты.
Амбар включает стенки 1 с углом наклона , достаточным для удержания грунта 2 от обрушения, дно 3, бровки 4 на поверхности грунта с плавными переходами 5 от стенок 1 к дну 3 и бровкам 4. Внутри амбара размещают защитные экраны 6 из тканых материалов типа мешковины из полипропилена и подобных материалов и гидроизоляционный экран 7 из пленочного материала. Защитные экраны 6 и гидроизоляционный экран 7 закреплены на бровке 4 амбара монтажными скобами 8 и присыпаны по всей длине бровки 4 грунтом 9. Гидроизоляционный экран 7 имеет гофру 10 по всему периметру и пригруз грунтом 9 гофры 10 с интервалом 2,5-3 м. Свободный край гидроизоляционного экрана 7 в месте установки монтажной скобы 8 подвернут не менее чем в два слоя. На дне 3 амбара по периметру с интервалом 3-4 м размещен пригруз из полиэтиленовых мешков 11, заполненных сыпучим материалом с плотностью более 1 т/м3. Гидроизоляционный экран 7 выполнен сварными швами 12 наружу с запасом размеров для формирования гофр 10 на бровке 4 накопительного амбара. С другой стороны гидроизоляционный экран 7 проклеен полосами 13 полимерной липкой ленты перпендикулярно сварным швам 12 с расстоянием между полосами 13 не более 3 м и выводом полос 13 на наружную сторону гидроизоляционного экрана 7.
Строительство накопительного амбара производят следующим образом. При строительстве накопительного амбара ведут выемку грунта, сооружение обвалования и изоляцию. При выемке грунта стенки 1 амбара формируют с углом наклона , достаточным для удержания грунта 2 от обрушения. Для каждого типа грунта эта величина является индивидуальной и может зависеть от влажности, температуры и пр. В местах соединения стенки 1 с дном 3 и стенки 1 с бровкой 4 на поверхности грунта формируют плавные переходы 5. Удаляют с поверхности амбара объекты, способные вызвать нарушение целостности изоляции в процессе монтажа и эксплуатации. Такими объектами чаще всего бывают камни с острыми краями, в том числе и выступающие из грунта. Снабжают амбар защитными экранами 6 в местах возможного повреждения изоляции. В качестве таких защитных экранов 6 используют тканые материалы типа мешковины из полипропилена и подобных материалов. Места возможного повреждения изоляции определяют по составу грунта. К таким местам относят каменистые грунты или грунты с каменистыми включениями. Для изоляции используют гидроизоляционный экран 7 из пленочного материала, чаще всего из полиэтиленовой пленки. Используют пленку толщиной 0,25 мм и более. Пленку сваривают тепловым способом по раскрою амбара. Гидроизоляционный экран 7 выполняют сварными швами 12 наружу с запасом размеров для формирования гофр 10 на бровке 4 накопительного амбара. С другой стороны гидроизоляционный экран 7 проклеивают полосами 13 полимерной липкой ленты перпендикулярно сварным швам 12 с расстоянием между полосами 13 не более 3 м и выводом полос 13 на наружную сторону гидроизоляционного экрана 7.
Размеры гидроизоляционного экрана 7 рассчитывают по формулам с округлением расчета длины в большую сторону до значения кратного пяти и ширины – кратного трем:
А=а+2,2с+К
В=в+2,2с+К
где: А – длина экрана, м;
В – ширина экрана, м;
а – длина амбара, м;
с – глубина амбара, м;
в – ширина амбара, м;
К – коэффициент, учитывающий допуск на крепление экрана и формирование гофры.
Для глинистых, суглинистых, щебенчатых и песчаных грунтов К принимают равным – 2, для скально-трещинных и насыпных – 2,5.
При монтаже гидроизоляционного экрана 7 закрепляют один край экрана на бровке 4 амбара монтажными скобами 8 и присыпают по всей длине грунтом 9. Производят постепенную укладку гидроизоляционного экрана 7 без натяжения сварными швами 12 наружу на дно 3 и стенки 1 амбара до противоположной бровки 4, одновременно пригружают края гидроизоляционного экрана 7 по ширине и формируют гофру 10 из материала гидроизоляционного экрана 7 на бровке 4 амбара по всему периметру. Фиксируют гофру 10 грунтом 9 с интервалом 2,5-3 м. Наличие гофры 10 позволяет гидроизоляционному экрану 7 компенсировать температурные и механические деформации в момент монтажа и при эксплуатации. Закрепляют свободные края уложенного гидроизоляционного экрана 7 по всему периметру амбара монтажными скобами 8 и присыпают грунтом 9. Одновременно свободный край гидроизоляционного экрана 7 в месте установки монтажной скобы 8 подворачивают не менее чем в два слоя на 70-100 мм. На дно 3 амбара по периметру с интервалом 3-4 м укладывают пригруз из полиэтиленовых мешков 11, заполненных сыпучим материалом, например песком, грунтом с плотностью более 1 т/м3. Это необходимо для ликвидации эффекта всплывания и парусности гидроизоляционного экрана 7 при эксплуатации.
Пример конкретного выполнения способа.
Строят накопительный амбар в соответствии с чертежом. При выемке грунта стенки 1 амбара формируют с углом наклона =45°, что достаточно для удержания от обрушения грунта 2, представляющего собой щебенчатый грунт. В местах соединения стенки 1 с дном 3 и стенки 1 с бровкой 4 на поверхности земли формируют плавные переходы 5 с радиусом в пределах от 200 до 300 мм. Удаляют с поверхности амбара камни с острыми краями, в том числе и выступающие из грунта. Снабжают амбар защитными экранами 6 на дне 3 и на стенках 1 глубине до 2 м в местах наличия каменистого грунта. В качестве защитных экранов 6 используют мешковину из полипропилена. Для изоляции используют гидроизоляционноый экран 7 из полиэтиленовой пленки толщиной 0,3 мм. Пленку сваривают тепловым способом по раскрою амбара.
Размеры гидроизоляционного экрана 7 рассчитывают по формулам с округлением расчета длины в большую сторону до значения кратного пяти и ширины – кратного трем:
А=а+2,2с+К=15+2,2*3+2=23,6 (округленно 25 м)
В=в+2,2с+К=8+2,2*3+2=16,6 (округленно 18 м)
где А – длина экрана, равная 25 м;
В – ширина экрана, равная 18 м;
а – длина амбара, равная 15 м;
с – глубина амбара, равная 3 м;
в – ширина амбара, равная 8 м;
К – коэффициент, учитывающий допуск на крепление экрана и формирование гофры, равный 2.
При монтаже гидроизоляционного экрана 7 закрепляют один край экрана на бровке 4 амбара монтажными скобами 8 и присыпают по всей длине грунтом 9. Производят постепенную укладку гидроизоляционного экрана 7 без натяжения сварными швами наружу на дно 3 и стенки 1 амбара до противоположной бровки 4, одновременно пригружают края гидроизоляционного экрана 7 по ширине и формируют гофру 10 из материала гидроизоляционного экрана 7 на бровке 4 амбара по всему периметру. Гофру 10 формируют складыванием полотна шириной 0,5 м. Фиксируют гофру 10 грунтом 9 с интервалом 2,5-3 м. Наличие гофры 10 позволяет гидроизоляционному экрану 7 компенсировать температурные и механические деформации в момент монтажа и при эксплуатации. Закрепляют свободные края уложенного гидроизоляционного экрана 7 по всему периметру амбара монтажными скобами 8 и присыпают грунтом 9. Одновременно свободный край гидроизоляционного экрана 7 в месте установки монтажной скобы 8 подворачивают не менее чем в два слоя на 70-100 мм. На дно 3 амбара по периметру с интервалом 3-4 м укладывают пригруз из полиэтиленовых мешков 11, заполненных песком.
Как показывает практика амбар, выполненный по такому способу, надежно работает и обеспечивает изоляцию грунта от технологических жидкостей в течение всего необходимого срока. Под гидроизоляционным экраном не наблюдается вздутий, парусности. Порывы и прочие нарушения целосности гидроизоляционного экрана не наблюдаются. Утечки технологических жидкостей полностью отсутствуют.
Применение предложенного способа позволит повысить надежность хранения жидкостей в амбаре.
Формула изобретения
Способ строительства накопительного амбара, включающий выемку грунта, сооружение обвалования и укладку на дно и стенки амбара гидроизоляционного экрана из пленочного материала со сварными швами, отличающийся тем, что экран выполняют с запасом размеров и проклеивают полосами полимерной липкой ленты с другой стороны перпендикулярно расположенным наружу сварным швам с расстоянием между полосами не более 3 м и выводом полос на наружную сторону гидроизоляционного экрана, при этом один край гидроизоляционного экрана закрепляют на бровке амбара монтажными скобами и присыпают по всей длине грунтом, производят постепенную укладку экрана сварными швами наружу без натяжения на дно и стенки амбара до противоположной бровки, пригружают края экрана по ширине и формируют гофру на бровке амбара по всему периметру, фиксируют гофру грунтом, закрепляют свободные края уложенного гидроизоляционного экрана по всему периметру амбара монтажными скобами и присыпают грунтом, причем свободные края экрана в местах установки монтажных скоб подворачивают в два слоя, а на дно амбара по периметру укладывают пригруз, при этом размеры гидроизоляционного экрана расчитывают по формулам
А = а + 2,2с + К;
В = в + 2,2с + К,
где А – длина экрана;
В – ширина экрана;
а – длина амбара;
с – глубина амбара;
в – ширина амбара;
К – коэффициент, учитывающий допуск на крепление экрана и формирование гофры, К = 2 – 2,5
кроме того, на дне и стенках амбара в местах наличия каменистого грунта располагают защитные экраны из тканого материала.
РИСУНКИ
QB4A Регистрация лицензионного договора на использование изобретения
Лицензиар(ы): Открытое акционерное общество “Татнефть” им. В.Д. Шашина
НИЛ
Лицензиат(ы): Общество с ограниченной ответственностью “НПО “ЗНОК и ППД”
Договор № РД0034404 зарегистрирован 27.03.2008
Извещение опубликовано: 10.05.2008 БИ: 13/2008
* ИЛ – исключительная лицензия НИЛ – неисключительная лицензия
QZ4A – Регистрация изменений (дополнений) лицензионного договора на использование изобретения
Лицензиар(ы): Открытое акционерное общество “Татнефть” им. В.Д. Шашина
НИЛ
Лицензиат(ы): Общество с ограниченной ответственностью “НПО “ЗНОК и ППД”
Характер внесенных изменений (дополнений):
Из предмета договора исключен патент на изобретение 2273787. Изменен размер и порядок уплаты вознаграждения. Изменены реквизиты и адрес лицензиата. Уточнены сроки возникновения правоотношений по договору
Дата и номер государственной регистрации договора, в который внесены изменения:
27.03.2008 № РД0034404
Извещение опубликовано: 20.07.2010 БИ: 20/2010
* ИЛ – исключительная лицензия НИЛ – неисключительная лицензия
|