|
(21), (22) Заявка: 2003103107/11, 04.02.2003
(24) Дата начала отсчета срока действия патента:
04.02.2003
(43) Дата публикации заявки: 20.08.2004
(45) Опубликовано: 27.03.2006
(56) Список документов, цитированных в отчете о поиске:
SU 1031882 А, 30.07.1983. SU 1685856 А1, 23.10.1991. SU 1402548 А1,15.06.1988. GB 2028753 А, 12.03.1980.
Адрес для переписки:
129164, Москва, а/я 42
|
(72) Автор(ы):
Агеев Ринат Калимуллович (RU), Агеев Максим Ринатович (RU), Выдрякова Мария Викторовна (RU), Денисова Зоя Викторовна (RU), Измайлов Виктор Евгеньевич (RU), Кляблина Наталия Владимировна (RU)
(73) Патентообладатель(и):
Государственное предприятие Специализированное Конструкторско-Технологическое Бюро “Краностроитель” (RU)
|
(54) МОСТОВОЙ ОПОРНЫЙ КРАН
(57) Реферат:
Изобретение относится к области грузоподъемных машин, а именно к сотовым кранам. Кран содержит пролетное строение в виде главных балок, прикрепленных к концевым балкам, опирающимся на блоки ходовых колес, причем одна из концевых балок прикреплена к главным балках жестко. Главные балки прикреплены к нижним поясам концевых балок посредством валов, расположенных вдоль направления движения крана, и размещенных на этих валах совмещенных соединительных шайб, установленных на главных и концевых балках. К верхним поясам с одной стороны главных балок приварены бруски, обеспечивающие жесткое соединение одной из упомянутых концевых балок с главными балками. Между нижним поясом другой концевой балки и верхними поясами главных балок с другой стороны последних образован зазор для обеспечения возможности качания этой концевой балки. Изобретение позволяет упростить конструкцию крана. 1 з.п. ф-лы, 6 ил. 
Изобретение относится к области грузоподъемных машин, а именно к мостовым кранам.
Известен мостовой опорный кран (авторское свидетельство 498254 кл. В 66 С 17/00, 23.11.73 г.), содержащий пролетное строение, с перемещающейся по нему грузовой тележкой, шарнирно закрепленное на нижних поясах концевых балок.
Пролетное строение этого крана соединено с концевыми балками так, что они не могут перемещаться относительно друг друга, как это выполнено в кранах, например а.с. 604802 кл. В 66 С 17/00, 17.06.76 г. и а.с. SU 1685856, кл. В 66 С 5/00,17/00, 13.02.89 г., SU 1402548 А1 кл. В 66 С 5/00 27.05.87 г., SU 1310329 А1 кл. В 66 С 17/00 29.10.85 г.
Так как пролет этого крана всегда постоянный, то это может привести к ускоренному выходу из строя ходовых колес, повреждению путей и подкрановых конструкций и влиять на надежность работы крана.
Наиболее близким аналогом по технической сущности является SU 1031882 А кл. В 66 С 17/00, 30, 07.19.83 г., содержащий пролетное строение в виде главных балок, прикрепленных к концевым балкам, опирающимся на блоки ходовых колес, причем одна из концевых балок прикреплена к главным жестко, а другая подвижно. Однако конструкция этого крана выполнена достаточно сложно.
Технической задачей настоящего изобретения модели является упрощение конструкции.
Поставленная задача решается тем, что главные балки прикреплены к нижним поясам концевых балок посредством валов, расположенных вдоль направления движения крана, и размещенных на этих валах совмещенных соединительных шайб, установленных на главных и концевых балках, причем к верхним поясам с одной стороны главных балок приварены бруски, обеспечивающие жесткое соединение одной из упомянутых концевых балок с главными балками, а между нижним поясом другой концевой балки и верхними поясами главных балок с другой стороны последних образован зазор для возможности качания этой концевой балки.
Одни из соединительных шайб прикреплены к несущим элементам концевых балок, выполненным в виде пластин, приваренных к нижним поясам концевых балок, размещенных вдоль главных балок, и соединенных с ребрами, выполненными также в виде пластин, расположенных вдоль концевых балок, а другие соединительные шайбы прикреплены к главным балкам.
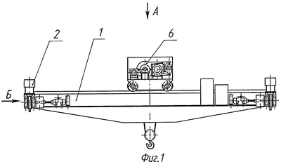
Изобретение поясняется чертежами, где:
на фиг.1 показан мостовой кран;
на фиг.2 – вид А (сверху) на фиг.1;
на фиг.3 – вид Б (слева) на фиг.1;
на фиг.4 – разрез В-В на фиг.2(жесткое соединение главной и концевой балок);
на фиг.5 – разрез Г-Г на фиг.2 (соединение главной балки и концевой балки с возможностью ограниченного качания);
на фиг.6 – вид Д на фиг.2 (разрез по осям валов соединения главных и концевых балок).
Мостовой опорный кран (фиг.1) содержит пролетное строение 1 в виде главных балок, концевые балки 2, опирающиеся на блоки ходовых приводных 3 и холостых 4 колес (фиг.3), установленные на подкрановый рельс 5. На верхнем поясе пролетного строения 1 расположена грузовая тележка 6.
Пролетное строение 1 крепится к концевым балкам 2 посредством шайб 7 и 8 (фиг.5), совмещенных на валах 9 и расположенных вдоль направления движения крана. Шайбы 7 установлены на главных балках 1 пролетного строения на расстоянии, равном колее подкрановых путей. Шайбы 8, обеспечивающие точность установки концевой балки, прикреплены к несущим элементам 10 (фиг.4), которые выполнены в виде пластин и размещены вдоль главных балок 1, приваренным к нижним поясам концевых балок 2 и к ребрам 11 расположенных вдоль концевых балок. Бруски 12 (фиг.4), установленные с одной стороны на вертикальных стенках главных балок 1, обеспечивают жесткое соединение балок 1 и 2.
Бруски 13 (фиг.5), установленные на главных балках с другой стороны, обеспечивают соединение балок 1 и 2 с возможностью ограниченного качания последних.
При работе электромостовых кранов предлагаемой конструкции возможен наезд реборд колес концевой балки, жестко связанной с главными балками, на боковые поверхности рельсов подкрановых путей. В этом случае необходима работа приводов на передвижение поперек подкрановых путей части массы крана с коэффициентом трения – скольжения, а другой части массы с коэффициентом качения.
Возможен наезд реборд колес концевой балки с возможностью ограниченного качания на боковые поверхности рельсов подкрановых путей. В этом случае необходима работа на поворот концевой балки под нагрузкой части массы, а поперечное перемещение движению всей массы крана отсутствует.
Работа приводов и износ реборд колес концевых балок предлагаемой конструкции крана в обоих случаях значительно меньше, чем у аналогичных.
Формула изобретения
1. Кран мостовой, содержащий пролетное строение в виде главных балок, прикрепленных к концевым балкам, опирающимся на блоки ходовых колес, причем одна из концевых балок прикреплена к главным балкам жестко, отличающийся тем, что главные балки прикреплены к нижним поясам концевых балок посредством валов, расположенных вдоль направления движения крана, и размещенных на этих валах совмещенных соединительных шайб, установленных на главных и концевых балках, причем к верхним поясам с одной стороны главных балок приварены бруски, обеспечивающие жесткое соединение одной из упомянутых концевых балок с главными балками, а между нижним поясом другой концевой балки и верхними поясами главных балок с другой стороны последних образован зазор для обеспечения возможности качания этой концевой балки.
2. Кран по п.1, отличающийся тем, что одни из соединительных шайб прикреплены к несущим элементам концевых балок, выполненным в виде пластин, приваренных к нижним поясам концевых балок, размещенных вдоль главных балок и соединенных с ребрами, выполнеными также в виде пластин, расположенных вдоль концевых балок, а другие соединительные шайбы прикреплены к главным балкам.
РИСУНКИ
MM4A – Досрочное прекращение действия патента СССР или патента Российской Федерации на изобретение из-за неуплаты в установленный срок пошлины за поддержание патента в силе
Дата прекращения действия патента: 05.02.2007
Извещение опубликовано: 10.04.2008 БИ: 10/2008
NF4A Восстановление действия патента СССР или патента Российской Федерации на изобретение
Дата, с которой действие патента восстановлено: 20.04.2008
Извещение опубликовано: 20.04.2008 БИ: 11/2008
PC4A – Регистрация договора об уступке патента Российской Федерации на изобретение
(73) Патентообладатель(и):
Государственное предприятие Специализированное Конструкторско-Технологическое Бюро “Краностроитель”
(73) Патентообладатель:
Закрытое акционерное общество “ГП СКТБ “Краностроитель”
Дата и номер государственной регистрации перехода исключительного права: 22.01.2009 № РД0045905
Извещение опубликовано: 10.03.2009 БИ: 07/2009
|