|
|
(21), (22) Заявка: 2004128289/11, 22.09.2004
(24) Дата начала отсчета срока действия патента:
22.09.2004
(45) Опубликовано: 27.03.2006
(56) Список документов, цитированных в отчете о поиске:
RU 93026070 А1, 10.03.1996. SU 872405 A, 15.10.1981. SU 1135701 А1, 23.01.1985. US 3768418 A, 30.10.1973.
Адрес для переписки:
394613, г.Воронеж, ул. Тимирязева, 8, ВГЛТА, патентный отдел
|
(72) Автор(ы):
Мурзинов Валерий Леонидович (RU)
(73) Патентообладатель(и):
Государственное образовательное учреждение Воронежская государственная лесотехническая академия (ВГЛТА) (RU)
|
(54) ПНЕВМОТРАНСПОРТНОЕ УСТРОЙСТВО
(57) Реферат:
Изобретение относится к области пневмотранспорта. Устройство содержит поршень-уплотнитель со сквозным каналом и клапанами. Поршень-уплотнитель установлен в трубопроводе, выполненном с продольным щелевым отверстием с перекрывающей его лентой-клапаном, и соединен с ведущей полой штангой. Лента-клапан выполнена из материала с упругими свойствами и свернута внутри поршня-уплотнителя с образованием двух спиральных сверток, между которыми она располагается параллельно продольному щелевому отверстию трубопровода на его внутренней поверхности. Спиральные свертки имеют противоположные направления закрутки относительно друг друга. Изобретение позволяет повысить надежность и упростить конструкцию устройства. 3 ил. 
Изобретение относится к транспортному оборудованию взрывопожароопасных предприятий и может быть использовано на предприятиях, использующих в качестве движущей силы сжатый воздух, а также в робототехнических системах гибких производств.
Наиболее близким решением является пневмотранспортное устройство (RU 93026070 С1, М. Кл. В 65 G 51/04, 10.03.1996 в №7), содержащее поршень-уплотнитель, установленный в трубопроводе, снабженном продольным щелевым отверстием с перекрывающей ее лентой-клапаном. Поршень-уплотнитель имеет сквозной канал с обратными клапанами. Ведущая полая штанга соединена с поршнем-уплотнителем. Укладка ленты в продольное щелевое отверстие осуществляется с помощью кинематического вращения ленты-клапана вдоль своей продольной оси.
Недостатками этой конструкции является наличие сложной конфигурации ведущей полой штанги, которая имеет сквозное отверстие для установки в нем ленты-клапана и имеет канал для подачи сжатого воздуха на технологические нужды. Лента-клапан, скрученная вдоль своей продольной оси на 180°, в силу своей геометрии стремится за пределы трубопровода, поэтому при ее укладке в продольное щелевое отверстие край ленты-клапана может быть заклинен и устройство в целом может прекратить выполнять свои функции.
Технической задачей является упрощение конструкции и повышение ее надежности.
Поставленная задача достигается тем, в пневмотранспортном устройстве, содержащем поршень-уплотнитель со сквозным каналом и клапанами, установленный в трубопроводе, снабженном продольным щелевым отверстием с перекрывающей его лентой-клапаном, и соединенный с ведущей полой штангой, новым является то, что лента-клапан выполнена из материала с упругими свойствами и свернута внутри поршня-уплотнителя в виде двух спиральных сверток, между которыми она располагается параллельно продольному щелевому отверстию трубопровода на внутренней его поверхности, причем спиральные свертки имеют противоположные направления закрутки относительно друг друга.
Технический результат от применения заявляемого устройства обусловлен тем, что увеличивается надежность за счет устранения выхода ленты-клапана за пределы трубопровода и исключения возможности ее заклинивания. Упругие свойства материала ленты-клапана позволяют обеспечить сохранение спиральной свертки ленты-клапана внутри поршня-уплотнителя при его перемещении. Благодаря двум спиральным сверткам с противоположными направлениями закрутки, лента-клапан внутри поршня-уплотнителя располагается на внутренней поверхности трубопровода параллельно его продольному щелевому отверстию. Освобожденное от ленты-клапана продольное щелевое отверстие делает установку ведущей полой штанги в этом отверстии трубопровода более технологичным. Упрощается конструкция ведущей полой штанги, так как здесь отсутствует специальное отверстие для ленты-клапана.
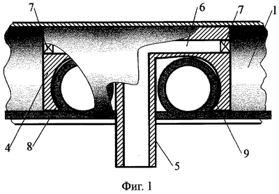
Общий вид устройства представлен на чертежах, где на фиг.1 показан продольный вертикальный разрез пневмотранспортного устройства; на фиг.2 – продольный горизонтальный разрез пневмотранспортного устройства; на фиг.3 – взаимное пространственное расположение ленты-клапана, продольного щелевого отверстия трубопровода и ведущей полой штанги.
Пневмотранспортное устройство включает трубопровод 1, в котором выполнено продольное щелевое отверстие 2, закрытое лентой-клапаном 3. Внутри трубопровода 1 установлен поршень-уплотнитель 4 с ведущей полой штангой 5, находящейся в продольном щелевом отверстии 2. Поршень-уплотнитель 4 имеет сквозной канал 6, в противоположных концах которого установлены клапаны 7. Канал 6 соединен с внутренней полостью ведущей полой штанги 5. Внутри поршня-уплотнителя 4 лента-клапан 3 свернута в две спиральные свертки 8 и 9, выполненные с противоположными направлениями закрутки. Между спиральными свертками 8 и 9 находится ведущая полая штанга 5.
Устройство работает следующим образом.
В трубопроводе 1 создается избыточное давление путем подачи сжатого воздуха. Через клапаны 7 сжатый воздух из трубопровода 1 поступает в канал 6 и в ведущую полую штангу 5, из которой отбирается на технологические нужды. Кроме функции подачи сжатого воздуха, ведущая полая штанга выполняет функцию силового воздействия на объекты, расположенные вдоль трубопровода 1, то есть, выполняет транспортные операции.
Это происходит следующим образом. В трубопроводе 1 создается перепад давлений, действующий на поршень-уплотнитель 4, направление и скорость перемещения которого зависят от величины этого перепада давления и силы сопротивления на ведущей полой штанге 5. При перемещении поршня-уплотнителя 4 лента-клапан 3 сохраняет свое свернутое положение внутри поршня-уплотнителя 4, так как положение при входе и выходе ленты-клапана 3 из поршня-уплотнителя 4 строго фиксировано стенкой трубопровода 1 и корпусом поршня-уплотнителя 4. Ведущая полая штанга 5 внутри поршня-уплотнителя 4 располагается между спиральными свертками 8 и 9 ленты-клапана 3. Поэтому при движении поршня-уплотнителя 4, например влево, спиральная свертка 8 будет катиться влево, подталкиваемая ведущей полой штангой 5. Спиральная свертка 9 также будет катиться влево, но подталкиваемая внутренней стенкой поршня-уплотнителя 4. Лента-клапан 3 между спиральными свертками 8 и 9 будет лежать на внутренней поверхности трубопровода 1 параллельно продольному щелевому отверстию 2. Спиральная свертка 8, двигаясь влево, будет удалять ленту-клапан 3 из продольного щелевого отверстия 2 и укладывать ее параллельно этому отверстию на внутреннюю поверхность трубопровода, освобождая пространство для перемещения ведущей полой штанги 5. Спиральная свертка 9, двигаясь влево, будет выполнять противоположную операцию: поднимать и укладывать ленту-клапан 3 в продольное щелевое отверстие 2.
Формула изобретения
Пневмотранспортное устройство, содержащее поршень-уплотнитель со сквозным каналом и клапанами, установленный в трубопроводе, выполненном с продольным щелевым отверстием с перекрывающей его лентой-клапаном, и соединенный с ведущей полой штангой, отличающееся тем, что лента-клапан выполнена из материала с упругими свойствами и свернута внутри поршня-уплотнителя с образованием двух спиральных сверток, между которыми она располагается параллельно продольному щелевому отверстию трубопровода на его внутренней поверхности, причем спиральные свертки имеют противоположные направления закрутки относительно друг друга.
РИСУНКИ
MM4A – Досрочное прекращение действия патента СССР или патента Российской Федерации на изобретение из-за неуплаты в установленный срок пошлины за поддержание патента в силе
Дата прекращения действия патента: 23.09.2006
Извещение опубликовано: 20.06.2008 БИ: 17/2008
|
|