|
|
(21), (22) Заявка: 2004130996/11, 21.10.2004
(24) Дата начала отсчета срока действия патента:
21.10.2004
(45) Опубликовано: 27.03.2006
(56) Список документов, цитированных в отчете о поиске:
RU 2209755 C1, 10.08.2003. RU 94024986 A, 20.02.1996. SU 1151491 A, 23.04.1985. US 3651923 A, 28.02.1972.
Адрес для переписки:
199106, Санкт-Петербург, В.О., 21-я линия, 2, СПГГИ (ТУ), патентный отдел
|
(72) Автор(ы):
Тарасов Юрий Дмитриевич (RU), Тарасова Нина Юрьевна (RU)
(73) Патентообладатель(и):
Государственное образовательное учреждение высшего профессионального образования Санкт-Петербургский государственный горный институт им. Г.В. Плеханова (технический университет) (RU)
|
(54) СКРЕБКОВЫЙ КОНВЕЙЕР
(57) Реферат:
Изобретение относится к конвейеростроению, а именно к конвейерам с многоцепным тяговым органом. Скребковый конвейер содержит бесконечно замкнутый в вертикальной плоскости на концевых звездочках и опирающийся на направляющие рештачного става тяговый орган, состоящий из параллельных тяговых цепей – двух внешних и одной внутренней, скребки, поочередно закрепленные своими концами на внешних цепях, чередующиеся с ними скребки, свободно размещенные с зазорами между внешними цепями и закрепленные своими концами на внутренней цепи. Закрепленные на внешних цепях скребки снабжены выемками для размещения в них внутренней цепи. Тяговый орган снабжен дополнительной внутренней цепью, при этом обе внутренние цепи размещены в средней части рештачного става симметрично друг другу относительно продольной оси конвейера, а скребки закреплены на обеих внутренних цепях своими концами. Расстояние между внешними и внутренними цепями принято меньше расстояния между внутренними цепями. Технический результат – увеличение длины става за счет увеличения суммарного разрывного усилия цепей тягового органа. 2 ил. 
Изобретение относится к конвейеростроению, а именно к конвейерам с многоцепным тяговым органом, и может быть использовано в горной промышленности в качестве забойных, а также в других отраслях промышленности на конвейерах увеличенной длины и производительности.
Известны скребковые конвейеры, включающие тяговый орган, состоящий из трех параллельных цепей с прикрепленными к ним скребками, замкнутый в вертикальной плоскости на концевых звездочках и опирающийся на направляющие рештачного става (Евневич А.В. Транспортные машины и комплексы. – М., Недра, с.40-42, рис.12,б).
Однако недостатком известных конвейеров является ограничение длины става из-за того, что трехцепной контур является статически неопределимой системой, в которой тяговое усилие могут передавать только две цепи из трех.
Известен трехцепной скребковый конвейер (прототип), содержащий бесконечно замкнутый в вертикальной плоскости на концевых звездочках и опирающийся на направляющие рештачного става тяговый орган, состоящий из трех параллельных тяговых цепей с прикрепленными к ним скребками, которые поочередно закреплены своими концами на двух внешних цепях, а чередующиеся с ними скребки, свободно размещенные с зазорами между внешними цепями, закреплены своей центральной частью на внутренней цепи, при этом закрепленные на внешних цепях скребки снабжены выемками для размещения в них внутренней цепи (Заявка РФ 94024986, М. Кл. В 65 G 19/00, от 20.02.1996 г.).
Недостатком известного скребкового конвейера является неполное использование тяговых возможностей, позволяющих максимально увеличить длину става конвейера.
Техническим результатом изобретения является увеличение длины става за счет увеличения суммарного разрывного усилия цепей тягового органа.
Технический результат достигается за счет того, что в скребковом конвейере, содержащем бесконечно замкнутый в вертикальной плоскости на концевых звездочках и опирающийся на направляющие рештачного става тяговый орган, состоящий из параллельных тяговых цепей – двух внешних и одной внутренней, скребки, поочередно закрепленные своими концами на двух внешних цепях, чередующиеся с ними скребки, свободно размещенные с зазорами между внешними цепями и закрепленные на внутренней цепи, при этом закрепленные на внешних цепях скребки снабжены выемками для размещения в них внутренней цепи, согласно изобретению тяговый орган снабжен дополнительной внутренней цепью, обе внутренние цепи размещены в средней части рештачного става симметрично друг другу относительно продольной оси конвейера, а скребки закреплены на обеих внутренних цепях своими концами, причем расстояние между внешними и внутренними цепями принято меньше расстояния между внутренними цепями.
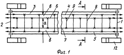
Скребковый конвейер представлен на фиг.1 – план, на фиг.2 – разрез А-А по фиг.1.
Скребковый конвейер содержит бесконечно замкнутый в вертикальной плоскости на концевых звездочках 1 и 2 и опирающийся на направляющие рештачного става 3 тяговый орган, состоящий из четырех параллельных тяговых цепей 4, 5, 6, 7, двух внешних 4 и 5, и двух внутренних 6 и 7 с прикрепленными к ним скребками 8 и 9. Скребки 8 закреплены своими концами на двух внешних цепях 4 и 5, а скребки 9 закреплены своими концами на внутренних цепях 6 и 7. При этом скребки 8 и 9 чередуются между собой, а скребки 9 свободно размещены с зазорами между внешними цепями 4 и 5. Закрепленные на внешних цепях 4 и 5 скребки 8 снабжены выемками 10 и 11 для размещения в них внутренних цепей 6 и 7. Обе концевые звездочки 1 и 2 могут быть приводными и снабжены приводными блоками 12. Расстояние b между внешними 4, 5 и внутренними 6, 7 цепями принято меньше расстояния а между внутренними цепями 6 и 7.
Скребковый конвейер действует следующим образом. При включении приводных блоков 12 и вращении концевых приводных звездочек 1 и 2 тяговое усилие передается внешним тяговым цепям 4 и 5 со скребками 8 и внутренним тяговым цепям 6 и 7 со скребками 9, которые обеспечивают перемещение транспортируемого груза по рештачному ставу 3. При этом все цепи 4, 5, 6, 7 работают в режиме нагружения статически определенной системы, т.е. все цепи нагружены практически одинаково. Благодаря этому тяговое усилие, которое может передать тяговый орган, значительно увеличивается, а следовательно, может быть соответственно увеличена и длина става скребкового конвейера. А это позволяет, в свою очередь, отказаться от перегрузки транспортируемого груза с конвейера на конвейер. Различные расстояния b между внутренними 6, 7 и внешними 4, 5 и расстояние а между внутренними 4 и 5 цепями позволяют ограничить ширину рештачного става 12 конвейера и выполнить его более компактным.
Техническое решение позволяет увеличить суммарное разрывное усилие цепей тягового органа и длину става скребкового конвейера в два раза по сравнению с широко используемыми в горной промышленности в качестве забойных двухцепными скребковыми конвейерами и в 1,33 раза по сравнению с трехцепным конвейером (прототипом).
Отличительные признаки изобретения обеспечивают увеличение длины става забойного скребкового конвейера за счет тягового органа из четырех цепей, работающих в режиме нагружения статически определенной системы, что позволяет исключить перегрузочные устройства в пределах добычного участка.
Формула изобретения
Скребковый конвейер, содержащий бесконечно замкнутый в вертикальной плоскости на концевых звездочках и опирающийся на направляющие рештачного става тяговый орган, состоящий из параллельных тяговых цепей – двух внешних и одной внутренней, скребки, поочередно закрепленные своими концами на двух внешних цепях, чередующиеся с ними скребки, свободно размещенные с зазорами между внешними цепями и закрепленные своими концами на внутренней цепи, при этом закрепленные на внешних цепях скребки снабжены выемками для размещения в них внутренней цепи, отличающийся тем, что тяговый орган снабжен дополнительной внутренней цепью, обе внутренние цепи размещены в средней части рештачного става симметрично друг другу относительно продольной оси конвейера, а скребки закреплены на обеих внутренних цепях своими концами, причем расстояние между внешними и внутренними цепями принято меньше расстояния между внутренними цепями.
РИСУНКИ
MM4A – Досрочное прекращение действия патента СССР или патента Российской Федерации на изобретение из-за неуплаты в установленный срок пошлины за поддержание патента в силе
Дата прекращения действия патента: 22.10.2006
Извещение опубликовано: 20.06.2008 БИ: 17/2008
|
|