|
|
(21), (22) Заявка: 2004133630/11, 17.11.2004
(24) Дата начала отсчета срока действия патента:
17.11.2004
(45) Опубликовано: 27.03.2006
(56) Список документов, цитированных в отчете о поиске:
СПИВАКОВСКИЙ А.О., ДЬЯЧКОВ В.К. “Транспортирующие машины”. – М., Машиностроение, 1968, с.331-335, рис.236. SU 426930 А, 10.12.1974. SU 810568 А, 06.05.1981. SU 194627 А, 01.06.1967. SU 1121194 А, 30.10.1984. WO 9618563 A1, 20.06.1996. US 4562918 A, 07.01.1986.
Адрес для переписки:
199106, Санкт-Петербург, В.О., 21 линия, 2, СПГГИ (ТУ), патентный отдел
|
(72) Автор(ы):
Тарасов Юрий Дмитриевич (RU)
(73) Патентообладатель(и):
Государственное образовательное учреждение высшего профессионального образования Санкт-Петербургский государственный горный институт им. Г.В. Плеханова (технический университет) (RU)
|
(54) ВЕРТИКАЛЬНЫЙ ЭЛЕВАТОР ДЛЯ КУСКОВЫХ ГРУЗОВ
(57) Реферат:
Изобретение относится к элеваторостроению, а именно к элеваторам для транспортирования кусковых грузов. Вертикальный элеватор для кусковых грузов содержит бесконечно замкнутый в вертикальной плоскости на приводной и натяжной звездочках гибкий тягово-несущий контур, состоящий из двух пластинчатых цепей. К цепям прикреплены с одинаковым шагом несущие элементы для транспортируемого груза. Элеватор также содержит кожух, состоящий из передней, задней и боковых стенок, загрузочный и разгрузочный патрубки. Несущие элементы выполнены в виде полок, консольно прикрепленных под углом к цепям. Каждая полка выполнена с отогнутой по нормали к плоскости цепей кромкой. С нерабочей стороны полки снабжены ребрами жесткости. Цепи с прикрепленными к ним полками на грузонесущей ветви конвейера размещены с минимальными зазорами и возможностью взаимодействия с установленной внутри кожуха внутренней вертикальной стенкой, закрепленной своими концами на боковых стенках кожуха элеватора и имеющей криволинейный участок в зоне приводной звездочки. Внутренняя вертикальная стенка может быть покрыта антифрикционным и износостойким материалом. Техническим результатом изобретения является увеличение производительности элеватора, уменьшение размеров кожуха элеватора, обеспечение возможности транспортирования элеватором крупнокускового груза при надежной его разгрузке в зоне приводной звездочки. 1 з.п. ф-лы, 4 ил. 
Изобретение относится к элеваторостроению, а именно к вертикальным элеваторам для транспортирования кусковых грузов.
Известны трубчатые скребковые конвейеры, которые могут содержать вертикальные участки трассы, снабженные герметичной трубой с размещенным внутри нее бесконечно замкнутым цепным тяговым органом с прикрепленными к нему скребками, загрузочным и разгрузочным устройствами, приводным и натяжным блоками с возможностью скольжения транспортируемого груза по всему периметру внутренней поверхности несущего органа – трубы (Спиваковский А.О., Дьячков В.К. Транспортирующие машины. М., Машиностроение, 1968, с.189-194, рис.130).
Недостатками известных трубчатых скребковых конвейеров являются возможность их использования для транспортирования лишь порошкообразных и мелкозернистых материалов небольшой прочности, а также высокая энергоемкость транспортирования и интенсивный абразивный износ трубы.
Известен двухцепной ковшовый элеватор (прототип), содержащий бесконечно замкнутый на приводной и натяжной звездочках тягово-несущий орган, состоящий из ковшей, прикрепленных с одинаковым шагом к двум пластинчатым цепям, с его размещением внутри кожуха с зазорами относительно его боковых стенок, загрузочный и разгрузочный патрубки (там же, с.331-335, рис.236).
Недостатками известного элеватора являются ограничение крупности транспортируемого груза, возможность забивания ковшей мелкофракционной и влажной частью транспортируемого груза, ограничение производительности элеватора из-за малой несущей способности ковшей, значительные поперечные размеры кожуха элеватора.
Техническим результатом изобретения является возможность транспортирования крупнокусковых грузов при увеличенной производительности, уменьшение размеров кожуха в поперечном сечении, повышение надежности работы элеватора.
Технический результат достигается тем, что в вертикальном элеваторе для кусковых грузов, содержащем бесконечно замкнутый в вертикальной плоскости на приводной и натяжной звездочках гибкий тягово-несущий контур, состоящий из двух пластинчатых цепей с прикрепленными к ним с одинаковым шагом несущими элементами для транспортируемого груза с образованием грузонесущей и нерабочей ветвей, кожух, состоящий из передней, задней и боковых стенок, загрузочный и разгрузочный патрубки, согласно изобретению, несущие элементы выполнены в виде полок, консольно прикрепленных к цепям и под углом к ним посредством двух щек, причем каждая полка выполнена с отогнутой по нормали к плоскости цепей кромкой, а с нерабочей стороны полки снабжены ребрами жесткости, при этом на грузонесущей ветви цепи с прикрепленными к ним полками размещены с минимальными зазорами и возможностью взаимодействия с установленной внутри кожуха и закрепленной на его боковых стенках внутренней вертикальной стенкой с криволинейным участком в зоне приводной звездочки, а находящийся на полках транспортируемый груз – с внутренней вертикальной стенкой и боковыми стенками. Внутренняя вертикальная стенка со стороны грузонесущей ветви может быть футерована антифрикционным и износостойким материалом.
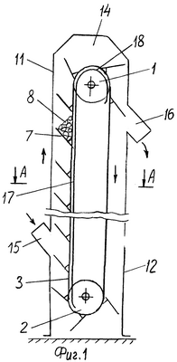
Вертикальный элеватор для кусковых грузов представлен на фиг.1 – вид сбоку, без боковой стенки, на фиг.2 – разрез А-А по фиг.1, на фиг.3 – узел крепления полки к пластинчатым цепям, на фиг.4 – вид Б по фиг.3.
Вертикальный элеватор для кусковых грузов содержит бесконечно замкнутый в вертикальной плоскости на приводной 1 и натяжной 2 звездочках гибкий тягово-несущий контур с образованием грузонесущей и нерабочей ветвей, состоящий из двух пластинчатых цепей 3 и 4 с консольно прикрепленными к ним под углом с одинаковым шагом посредством двух щек 5 и 6 полками 7. Полки 7 установлены с возможностью размещения на них транспортируемого груза 8. Каждая полка 7 выполнена с отогнутой по нормали к плоскости цепей 3 и 4 кромкой 9, а с нерабочей стороны полки 7 снабжены ребрами жесткости 10. Гибкий тягово-несущий контур размещен в кожухе, состоящем из передней 11. задней 12 и боковых 13 и 14 стенок. Передняя стенка 11 выполнена с загрузочным патрубком 15, а задняя 12 – с разгрузочным патрубком 16. Цепи 3 и 4 грузонесущей ветви с прикрепленными к ним полками 7 размещены с минимальными зазорами и возможностью взаимодействия с установленной внутри кожуха внутренней вертикальной стенкой 17 и ее криволинейным участком 18, закрепленными своими концами на боковых стенках 13 и 14 кожуха элеватора. Находящийся на полках 7 транспортируемый груз 8 может взаимодействовать с внутренней вертикальной стенкой 17 и боковыми стенками 13 и 14. Стенка 17 может быть футерована антифрикционным и износостойким материалом 19.
Вертикальный элеватор для кусковых грузов действует следующим образом. Подлежащий транспортированию груз 8 через загрузочный патрубок 15 подается внутрь кожуха, попадая на движущуюся наклонно ориентированную полку 7, и свободно размещается на ней. При этом положение груза ограничено внутри кожуха по его ширине боковыми стенками 13 и 14. При движении цепей 3 и 4 находящийся на полках 7 груз 8 взаимодействует, за счет своего бокового давления, с внутренней вертикальной стенкой 17 и боковыми стенками 13 и 14. Во время огибания цепями 3, 4 приводной звездочки 1 груз 8, проходя криволинейный участок 18, самотеком разгружается с полок 7 и попадает в разгрузочный патрубок 16.
Отличительные признаки изобретения позволяют упростить конструкцию несущих элементов элеватора, максимально использовать площадь поперечного сечения кожуха с уменьшением его габаритов, увеличить производительность элеватора за счет увеличения несущей способности полок по сравнению с ковшами, обеспечить возможность транспортирования элеватором крупнокускового груза при надежной его разгрузке в зоне приводной звездочки благодаря отсутствию двугранных углов в конструкции несущих элементов.
Формула изобретения
1. Вертикальный элеватор для кусковых грузов, содержащий бесконечно замкнутый в вертикальной плоскости на приводной и натяжной звездочках гибкий тягово-несущий контур, состоящий из двух пластинчатых цепей с прикрепленными к ним с одинаковым шагом несущими элементами для транспортируемого груза с образованием грузонесущей и нерабочей ветвей, кожух, состоящий из передней, задней и боковых стенок, загрузочный и разгрузочный патрубки, отличающийся тем, что несущие элементы выполнены в виде полок, консольно прикрепленных к цепям и под углом к ним посредством двух щек, причем каждая полка выполнена с отогнутой по нормали к плоскости цепей кромкой, а с нерабочей стороны полки снабжены ребрами жесткости, при этом на грузонесущей ветви цепи с прикрепленными к ним полками размещены с минимальными зазорами и возможностью взаимодействия с установленной внутри кожуха и закрепленной на его боковых стенках внутренней вертикальной стенкой с криволинейным участком в зоне приводной звездочки, а находящийся на полках транспортируемый груз – с внутренней вертикальной стенкой и боковыми стенками.
2. Элеватор по п.1, отличающийся тем, что внутренняя вертикальная стенка покрыта антифрикционным и износостойким материалом.
РИСУНКИ
MM4A – Досрочное прекращение действия патента СССР или патента Российской Федерации на изобретение из-за неуплаты в установленный срок пошлины за поддержание патента в силе
Дата прекращения действия патента: 18.11.2006
Извещение опубликовано: 27.08.2008 БИ: 24/2008
|
|