|
(21), (22) Заявка: 2003112626/12, 03.10.2001
(24) Дата начала отсчета срока действия патента:
03.10.2001
(30) Конвенционный приоритет:
03.10.2000 (пп.1-15) NL NL 1016312
(43) Дата публикации заявки: 10.11.2004
(45) Опубликовано: 27.03.2006
(56) Список документов, цитированных в отчете о поиске:
US 4216880 А, 12.08.1980. ЕР 0114318 А2, 01.08.1984. FR 1338485 А, 27.09.1963. WO 91/11367 А2, 08.08.1991. SU 1364234 A3, 30.12.1997.
(85) Дата перевода заявки PCT на национальную фазу:
05.05.2003
(86) Заявка PCT:
NL 01/00730 (03.10.2001)
(87) Публикация PCT:
WO 02/32772 (25.04.2002)
Адрес для переписки:
129010, Москва, ул. Б.Спасская, 25, стр.3, ООО “Юридическая фирма Городисский и Партнеры”, пат.пов. С.А.Дорофееву
|
(72) Автор(ы):
ВИЛЛЕМСЕН Луи Ринзе Хенрикус Адрианус (PH)
(73) Патентообладатель(и):
ВИЗИ ПЭК ИНТЕРНЭШНЛ ЛТД. (MY)
|
(54) ГИБКОЕ ЗАКРЫВАЮЩЕЕ УСТРОЙСТВО ДЛЯ КОНТЕЙНЕРА
(57) Реферат:
Изобретение относится к контейнеру для текучих продуктов, содержащему выливное отверстие и выливной элемент, соединенный с этим отверстием. Выливной элемент-носик имеет отрываемую запечатывающую часть. Эта часть содержит фольгу, расположенную в отверстии, а носик покрывает фольгу. При использовании изобретения обеспечивается герметичность контейнера при хранении и гигиеничность при его вскрытии. 14 з.п. ф-лы, 11 ил. 
Изобретение относится к контейнеру для текучих продуктов, содержащему выливное отверстие и выливной элемент, соединенный с этим отверстием.
Такой контейнер известен в виде прямоугольного пакета для молока, фруктового сока и т.д.
В настоящее время эти контейнеры обычно снабжают инструкциями обрезать загнутый кончик контейнера для выливания продукта.
Изобретение может быть применено не только к вышеупомянутым пакетам, но и к упаковкам, изготовленным из подобных материалов, снабженным на их верхней части наклонными верхними поверхностями (щипцовым верхом).
Кроме того, изобретение может быть применено для контейнеров в форме мешка, таких, которые используют для небольших упаковок для майонеза, а также для больших упаковок с повторным заполнением для жидкого моющего средства, или для контейнера для лимонада, помещаемого в морозильник для получения водного мороженого. Изобретение также может использоваться для пластиковой бутылки, например, такой, которая известна в Британии для упаковки молока или, например, моторного масла.
Все эти упаковки имеют отверстие, работать с которым затруднительно и которое трудно открывать, при этом оно не вполне гигиенично, повторно не закрывается или приводит к расплескиванию.
Для открывания молочного пакета требуется использование ножниц или ножа, а применение отрывного шва обычно не предотвращает расплескивания. Кроме того, такое закрывающее устройство не обеспечивает возможность повторного закрывания.
Известны также упаковки, снабженные пластиковой вставкой. Такая вставка имеет клапан, посредством которого может быть закрыто выливное отверстие. Этим обеспечивается возможность повторного закрывания контейнера. Пластиковая вставка требует затрат как на изготовление, так и на размещение.
Кроме того, необходимы отдельные мероприятия, чтобы покупатель мог убедиться в том, что упаковка еще не открывалась. Так, известно размещение запечатывающего язычка поверх выливного отверстия, хотя также можно установить пластинку, вдавливаемую в упаковку пальцем. Однако это весьма негигиенично, поскольку требует введения пальца в упаковку.
Задача изобретения заключается в создании контейнера, в котором устранены вышеупомянутые проблемы.
Эта задача решается посредством того, что выливной элемент содержит носик, выполненный из гибкого материала и соединенный с контейнером посредством герметизирующего соединения.
Носик, выполненный из гибкого материала, например из пластиковой пленки или из ламинированной пластиковой пленки, например, с алюминием, значительно дешевле, чем в известных контейнерах с выливным носиком. Кроме того, такой материал позволяет располагать его на упаковке с помощью запечатывающего шва. Такой носик может быть также закрыт, например, отрываемым или отрезаемым запечатывающим швом. Это, безусловно, потребует использования для открывания ножниц или ножа, однако при открывании будет легче предотвратить выплескивание.
Согласно предпочтительному варианту выполнения выливной элемент снабжен отрываемой только раз запечатывающей частью и повторно закрываемой частью.
Чтобы обеспечить легкий доступ к повторно закрываемому отверстию, предпочтительно чтобы повторно закрывающая часть была расположена на дальнем конце выливного носика.
Такая повторно закрывающая часть, например, может быть образована посредством взаимно зацепляющихся профилей, расположенных на внутренней стороне выливного носика противоположно друг другу.
Такое закрывающее устройство также может найти применение, например, для закрывания пластиковых мешков. Согласно другому варианту повторно закрывающая часть может быть образована адгезивными полосами на внутренней стороне носика, расположенными противоположно друг другу и отталкивающими содержимое контейнера.
Кроме того, повторно закрывающая часть может быть образована с помощью двух негнущихся или жестких полос, которые в обычном состоянии удерживают носик закрытым и которые могут быть открыты посредством усилия, прикладываемого в продольном направлении. Также может быть использован механизм, покрывающий центр.
Согласно еще одному варианту повторно закрывающая часть является эффективной, когда выливной носик согнут. В этом случае уплотнение обеспечивает сгиб. Такая повторно запечатывающая часть может быть использована в качестве средства дополнительного уплотнения в комбинации с другими запечатывающими частями.
Сгибание будет облегчено, а закрывание улучшено, если выливной носик снабжен упрочнением с утонченной частью, продолжающейся в направлении сгиба.
Предпочтительно, выливной носик или верхний слой упаковки снабжен адгезивным слоем для удерживания носика на верхней стороне упаковки в согнутом состоянии.
В этом случае выливной носик, с одной стороны, будет занимать меньшее пространство, а с другой стороны, будет поддерживать закрытое состояние.
Также может быть использовано закрывающее устройство, которое прижимает оба края выливного носика к стенке контейнера. В этом случае тоже могут использоваться жесткие профили.
Во многих вариантах известных прямоугольных пакетов отрываемая запечатывающая часть обычно содержит герметизирующую фольгу, расположенную на внутренней стороне отверстия. В настоящем изобретении это приводит к проблемам, поскольку носик закрывает доступ к герметизирующей фольге.
Поэтому в предпочтительном варианте выполнения по изобретению герметизирующую фольгу прикрепляют к оттяжному элементу, продолжающемуся через выливной носик к месту снаружи носика, а соединение между оттяжным элементом и герметизирующей фольгой является более прочным, чем соединение между герметизирующей фольгой и внутренней стороной контейнера.
В этом случае можно удалить герметизирующую фольгу снаружи.
Согласно особенно предпочтительному варианту выполнения оттяжной элемент присоединен к той стороне герметизирующей фольги, которая противоположна направлению оттягивания.
Когда тянут за оттяжной элемент, требуется лишь небольшое усилие, поскольку герметизирующая фольга как бы разматывается.
Особенно экономичный в изготовлении вариант получают в том случае, когда выливной носик выполнен из того же материала, что и оттяжной элемент, а комбинация выливного носика и оттяжного элемента выполнена путем сгибания куска материала, имеющего подходящие размеры, в S-образную форму.
В этом случае удается избежать проблем, связанных с размещением оттяжного элемента в выливном носике.
Изготовление еще более упрощается, если оттяжной элемент соединен с носиком ослабленными перемычками, а элементы носика, лежащие один над другим, взаимно соединены посредством уплотнения. Это мероприятие позволяет предварительно изготавливать выливной носик интегрально с оттяжным элементом с его последующим размещением на контейнере. Потребуется разорвать только соединения с носиком.
То, что герметизирующая фольга выполнена интегрально с оттяжным элементом, также в значительной степени упрощает изготовление; герметизирующая фольга, носик и оттяжной элемент могут быть размещены на контейнере за одну операцию.
Дополнительное упрощение обеспечивается, если на выливном носике выполнен сгиб, часть которого, продолжающаяся внутри носика, соединена с герметизирующей фольгой, а та часть, которая продолжается снаружи носика, может захватываться для оттягивания герметизирующей фольги с сохранением при этом целостности выливного носика.
В этом случае больше нет необходимости в обеспечении отдельного оттяжного элемента.
Ниже настоящее изобретение поясняется со ссылками на сопровождающие чертежи, на которых:
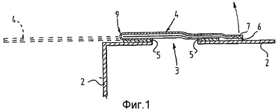
Фиг.1 – вид, в частичном сечении, первого варианта выполнения изобретения.
Фиг.2 – схематичный вид в перспективе варианта по фиг.1 в закрытом положении.
Фиг.3 – вид в перспективе варианта по фиг.1 и 2 во время розлива.
Фиг.4 – вид в сечении второго варианта выполнения изобретения.
Фиг.5А – вид сверху заготовки для изготовления третьего варианта изобретения.
Фиг.5В – вид в сечении заготовки по фиг.5А после ее сгибания.
Фиг.5С – вид в перспективе варианта по фиг.5А и 5В.
Фиг.6 – вид в сечении четвертого варианта выполнения изобретения.
Фиг.7 – вид в перспективе пятого варианта изобретения.
Фиг.8А – вид в сечении варианта по фиг.7 в закрытом положении.
Фиг.8В – вид в сечении, соответствующий виду на фиг.8А, но в открытом положении.
На фиг.1, 2 и 3 показана параллелепипедная упаковка 1 из ламинированного картонного листа 2, обычно используемая для упаковывания сока, молока и других напитков. Отверстие 3 в ламинированном картонном листе 2 выполняют в месте, где должен располагаться выливной носик. Отверстие закрыто выливным носиком 4. Носик 4 выполнен из гибкого материала, например из гибкого пластика, хотя для этой цели также можно использовать и другой гибкий материал, например соответствующим образом импрегнированную бумагу, либо ламинированный материал из бумаги, пластика, металла, фольги и т.д. Выливной носик 4 присоединен к ламинированному картонному листу посредством герметизирующего адгезивного слоя 5. На фиг.1 контейнер показан в закрытом положении. Здесь выливной носик 4 загнут на верх в общем плоском виде, также показанном на фиг.2. Для надежного удерживания носика в этом положении он снабжен на его дальнем конце адгезивным слоем 6. Последний гарантирует, чтобы дальний конец носика оставался у верхней стороны ламинированного картонного листа 2. Однако адгезивный слой 6 выбирают таким образом, чтобы выливной носик можно было легко отъединить. Чтобы обеспечить повторно закрывающую часть, носик на его дальнем конце выполняют с зубцами 7 на внутренней стороне. Эти зубцы гарантируют удерживание носика и, следовательно, контейнера в закрытом состоянии. Такая зубчатая структура известна по себе, например, в области пластиковых мешков. Вместо этого также могут использоваться другие способы уплотнения, например посредством внутреннего адгезивного слоя. Такой адгезивный слой, безусловно, должен быть выбран таким образом, чтобы поток содержимого не оказал неблагоприятного воздействия на его свойства.
Однако адгезивный слой 6 также может быть размещен на верхней стороне упаковки 1, как показано на фиг.3. На фиг.3 также показано, что, когда носик 4 разогнут, он может быть использован для розлива, например, в стакан 8. Очевидно, что также могут быть использованы и другие механизмы запечатывания, например обеспечение герметизации в месте сгиба 9 возможно путем выбора подходящего материала. В этом случае материал выбирают таким образом, чтобы он был немного толще вблизи сгиба и немного тоньше в месте сгиба так, чтобы сгиб был создан в точно определенном месте.
В упомянутом выше варианте выполнения имеется повторно закрывающая часть. В данном случае повторно закрывающая часть должна также служить в качестве постоянно закрывающего средства до первого открытия упаковки покупателем.
На фиг.4 показан вариант выполнения, снабженный отрываемой только раз запечатывающей части, которую отрывают только при первом открывании упаковки. Здесь герметизирующая фольга расположена с нижней стороны отверстия 3 в ламинированном картонном листе 2. Эта фольга, по существу, может являться частью самого ламинированного картонного листа либо может представлять собой фольгу, специально примененную для этой цели и расположенную с внутренней или наружной стороны ламинированного картонного листа. На верхней стороне герметизирующей фольги расположен гибкий оттяжной элемент 11, продолжающийся через внутреннюю часть носика 4 к месту снаружи носика 4. Здесь выливной носик 4 также присоединен подходящими соединительными средствами к наружной стороне ламинированного картонного листа 2. Когда потребитель хочет открыть контейнер, снабженный таким носиком, он должен лишь потянуть за выступающий конец оттяжного элемента 11. Когда оттягивают оттяжной элемент 11, герметизирующая фольга 10 отделяется и ее можно оттянуть наружу вместе с оттяжным элементом. Для этой цели, безусловно, важно, чтобы адгезия между герметизирующей фольгой 10 и оттяжным элементом 11 была сильнее, чем между герметизирующей фольгой 10 и ламинированным картонным листом 2. Предпочтительно, оттяжной элемент 11 присоединен к той стороне герметизирующей фольги 10, которая показана справа на фиг.4. В этом случае оттягивание облегчается; герметизирующая фольга как бы отслаивается.
Чтобы создать комбинацию выливного носика 4 и оттяжного элемента 11, может использоваться заготовка 12, показанная на фиг.5А. Эта заготовка образована оттяжным элементом 11 и двумя частями 13 и 14 носика 4, каждая из которых соединена с оттяжным элементом 11 перемычками 15 из материала заготовки. Когда заготовку сгибают в S-образную форму, получается конструкция с поперечным сечением, показанным на фиг.5В. Посредством герметизирующей обработки в месте, показанном стрелками 16, будет получена структура, которая может быть интегрально размещена на верхней части упаковки. Такая структура показана на фиг.5С в установленном положении. Как и в предыдущем варианте выполнения, выливной носик может быть снабжен зубцами и/или адгезивным слоем, чтобы прикреплять отрываемую запечатывающую часть после отрывания герметизирующей фольги.
На фиг.6 показан еще один вариант выполнения, в котором оттяжной элемент интегрирован в выливной носик. Для этой цели в носике 4 выполняют двойную складку 17. В результате выполнения двойной складки 17, часть 18 носика 4 выступает в части, противоположной дальнему концу носика 4. Такой вариант показан на фиг.6. Когда оттягивают часть 18 носика, будет освобождена и герметизирующая фольга 10, после чего можно будет осуществлять розлив из дальнего конца носика.
Наконец, на фиг.7, 8А и 8В показана немного другая конфигурация; здесь используется втулка 19, выполненная из жесткого материала и размещенная на картонном ламинированном листе 2 посредством герметизирующего адгезивного слоя. Втулка 19 с ее нижней стороны имеет отверстие 20, которое совпадает с отверстием 3 в контейнере 1.
Внутри втулки 19 установлен скользящий элемент 21. В скользящем элементе 21 находится канал 22, через который может протекать жидкость.
Скользящий элемент может перемещаться между закрытым положением, показанным на фиг.8А, и открытым положением, показанным на фиг.8В. В закрытом положении оба конца канала 22 закрыты втулкой 19, а в открытом положении нижний конец канала сообщается с отверстием 3 в то время, как другой конец выходит наружу. Безусловно, может быть выбрана другая конфигурация канала. Предпочтительно, если герметизирующая фольга 10 соединена одним концом со скользящим элементом, то, когда скользящий элемент будут открывать, произойдет автоматическое отрывание герметизирующей фольги.
Хотя выливной носик и не показан на этом чертеже, он может размещаться присоединенным к закрывающей части этого варианта выполнения.
Формула изобретения
1. Контейнер для текучей среды, содержащий выливное отверстие и соединенный с ним выливной элемент, при этом выливной элемент содержит выливной носик из гибкого материала, соединенный с контейнером посредством герметизирующего соединения, причем выливной элемент снабжен как отрываемой только раз запечатывающей частью, так и повторно закрывающей частью, отличающийся тем, что отрываемая запечатывающая часть содержит герметизирующую фольгу, расположенную на отверстии, при этом выливной носик покрывает герметизирующую фольгу.
2. Контейнер по п.1, отличающийся тем, что герметизирующая фольга фиксированно соединена с оттяжным элементом, продолжающимся через выливной носик к месту снаружи носика, при этом соединение между оттяжным элементом и герметизирующей фольгой прочнее соединения между герметизирующей фольгой и внутренней стороной контейнера.
3. Контейнер по п.2, отличающийся тем, что оттяжной элемент присоединен к той стороне герметизирующей фольги, которая противоположна направлению оттягивания.
4. Контейнер по п.2 или 3, отличающийся тем, что выливной носик выполнен из того же материала, что и оттяжной элемент, а комбинация носика и оттяжного элемента получена посредством сгибания куска материала подходящих размеров в S-образную форму.
5. Контейнер по п.4, отличающийся тем, что оттяжной элемент соединен с выливным носиком ослабленными перемычками, а элементы выливного носика, лежащие один над другим, взаимно соединены посредством уплотнения.
6. Контейнер по любому из пп.1-3 или 5, отличающийся тем, что герметизирующая фольга выполнена за одно целое с оттяжным элементом.
7. Контейнер по п.6, отличающийся тем, что оттяжной элемент образован в виде части выливного носика.
8. Контейнер по п.7, отличающийся тем, что выливной носик снабжен сгибом, часть которого, продолжающаяся внутри носика, соединена с герметизирующей фольгой, а часть, продолжающаяся снаружи носика, может захватываться для оттягивания герметизирующей фольги с сохранением целостности выливного носика.
9. Контейнер по любому из пп.1-3, 5, 7 и 8, отличающийся тем, что повторно закрывающая часть расположена на дальнем конце выливного носика.
10. Контейнер по п.9, отличающийся тем, что повторно закрывающая часть содержит взаимно зацепляющиеся профили, расположенные на внутренней стороне носика противоположно друг другу.
11. Контейнер по п.10, отличающийся тем, что повторно закрывающая часть содержит адгезивные полосы, расположенные на внутренней стороне носика противоположно друг другу и отталкивающие содержимое контейнера.
12. Контейнер по п.2, отличающийся тем, что повторно закрывающая часть является эффективной, когда выливной носик согнут.
13. Контейнер по п.5, отличающийся тем, что выливной носик снабжен упрочнением, которое имеет утонченную часть, продолжающуюся в направлении сгиба.
14. Контейнер по любому из пп.1-3, 5, 7, 8, 10-13, отличающийся тем, что выливной носик или верхний слой упаковки снабжен адгезивным слоем для удерживания носика на верхней стороне упаковки в согнутом состоянии.
15. Контейнер по любому из пп.1-3, 5, 7, 8, 10-13, отличающийся тем, что повторно закрываемый элемент образован скользящей крышкой из жесткого материала.
РИСУНКИ
MM4A – Досрочное прекращение действия патента СССР или патента Российской Федерации на изобретение из-за неуплаты в установленный срок пошлины за поддержание патента в силе
Дата прекращения действия патента: 04.10.2006
Извещение опубликовано: 20.12.2007 БИ: 35/2007
|