|
|
(21), (22) Заявка: 2000106677/13, 21.03.2000
(24) Дата начала отсчета срока действия патента:
21.03.2000
(43) Дата публикации заявки: 20.01.2003
(45) Опубликовано: 27.03.2006
(56) Список документов, цитированных в отчете о поиске:
RU 97109849 А, 10.05.1999. US 5953170 А, 14.09.1999. GB 2298391 А, 04.09.1996. GB 2168834 А, 25.06.1986. RU 2106019 C1, 27.02.1998. GB 2243578 A, 06.11.1991.
Адрес для переписки:
196244, Санкт-Петербург, а/я 102, А.П.Тузовой
|
(72) Автор(ы):
Васильев Владимир Ярославович (RU), Киселев Олег Михайлович (DE)
(73) Патентообладатель(и):
Тузова Алла Павловна (RU)
|
(54) СПОСОБ КРЕПЛЕНИЯ ГОЛОГРАФИЧЕСКОЙ ЭТИКЕТКИ
(57) Реферат:
Изобретение относится к области этикетирования и может быть использовано при этикетировании бутылок с винно-водочной продукцией, безалкогольными и слабоалкогольными напитками. Изобретение может быть использовано и в аквариумах. Способ крепления голографической этикетки, включающей голографический слой и подложку, на поверхность сосуда, выполненного, по крайней мере, частично из прозрачного материала, заключается в следующем. Обратную сторону этикетки покрывают клеем и приклеивают к ней подложку с топографическим слоем, меньшую по длине и/или ширине, чем этикетка. Выступающие края этикетки используют для прикрепления этикетки к поверхности сосуда, располагая этикетку топографическим слоем внутрь сосуда. Такой способ позволяет создать топографическое изображение внутри сосуда, предотвращает повреждение голограммы и затрудняет подделку этикетки. 6 ил. 
Изобретение предназначено для использования при этикетировании бутылок, наполняемых жидкостями, в частности прозрачными. Изобретение найдет применение в винно-водочной промышленности, а также при этикетировании бутылок с безалкогольными и слабоалкогольными напитками, с растительным маслом и т.д. Изобретение можно использовать при снабжении бутылок акцизными марками. Изобретение может быть использовано также в аквариумах.
Известны способы крепления голографических этикеток, включающих голографический слой, путем прикрепления этикетки к наружной поверхности сосуда, причем голографический слой этикетки обращен наружу [Заявка РФ 97109849, 6 В 65 С 3/18, приоритет 11.06.97, публ. 10.05.99].
Такие способы крепления голографических этикеток не создают голографического изображения внутри сосуда, а этикетка не защищена от повреждения.
Перед изобретением была поставлена задача создания голографического изображения внутри сосуда, например внутри бутылки. Перед изобретением была также поставлена задача предотвращения повреждения голограммы и затруднения подделки таких этикеток, в том числе, акцизных марок. Изобретением достигаются и другие цели, которые станут ясны из дальнейшего описания.
В изобретенном способе крепления топографической этикетки на поверхности сосуда, выполненного, по крайней мере, частично, из прозрачного материала, новым является то, что обратную сторону этикетки покрывают клеем, к обратной стороне этикетки приклеивают подложку с топографическим слоем, меньшую по длине и/или ширине, чем этикетка, а затем выступающие края этикетки используют для прикрепления этикетки к поверхности сосуда, располагая этикетку топографическим слоем внутрь сосуда.
Благодаря тому, что обратную сторону этикетки покрывают клеем, к обратной стороне этикетки приклеивают подложку с топографическим слоем, меньшую по длине и/или ширине, чем этикетка, а затем выступающие края этикетки используют для прикрепления этикетки к поверхности сосуда, располагая этикетку топографическим слоем внутрь сосуда, этикетка находится на прозрачной поверхности сосуда, обращенной топографическим слоем внутрь сосуда. При обращении топографического слоя внутрь сосуда топографическое изображение создается внутри сосуда. Объемное топографическое изображение кажется находящимся в жидкости, которой может быть наполнен сосуд. Этикетка фиксирует положение топографического слоя и защищает топографический слой от повреждения.
Изобретение иллюстрируется чертежами.
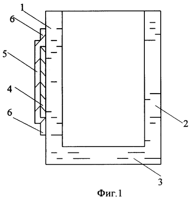
Фиг.1. Прозрачный сосуд с этикеткой, прикрепленной изобретенным способом на наружную боковую поверхность сосуда.
Фиг.2. Прозрачный сосуд с этикеткой, прикрепленной изобретенным способом на наружную боковую поверхность сосуда.
Фиг.3. Прозрачный сосуд с этикеткой, прикрепленной изобретенным способом топографическим слоем на наружную боковую поверхности сосуда с подложкой между этикеткой и топографическим слоем.
Фиг.4. Прозрачный сосуд с этикеткой, прикрепленной изобретенным способом на дно сосуда.
Фиг.5. Этикетка с топографическим слоем (вид с оборотной стороны этикетки).
Фиг.6. Этикетка с голографическим слоем (вид сбоку).
Возможность осуществления изобретения доказывается следующими примерами.
Пример 1 (фиг.1).
Сосуд имеет боковые стенки 1 и 2 и дно 3. Непосредственно на наружной поверхности боковой стенки 1 сосуда закреплен или непосредственно на эту поверхность нанесен топографический слой 4, покрытый этикеткой 5 с выступающими краями 6. Этикетка 5 одновременно выполняет роль подложки голографического слоя 4. Выступающие края 6 этикетки 5 прикреплены, например приклеены, к наружной поверхности прозрачной, например стеклянной, боковой стенке 1 и прикрепляют этикетку 5 в месте с голографическим слоем 4 к наружной поверхности прозрачной, например стеклянной, боковой стенке 1. Этикетка 5 предохраняет топографический слой 4 от повреждений, плотно прижимает топографический слой 4 к поверхности сосуда и надежно фиксирует положение голографического слоя 4.
При выполнении этикетки 5 из непрозрачного материала топографический слой 4 экранируется от нежелательных лучей света. При выполнении этикетки 5 из прозрачного материала топографический слой 4 освещается дополнительными лучами света, проходящими сквозь этикетку 5.
Свет, проникающий внутрь сосуда сквозь прозрачные боковые стенки 1 и 2, проходит сквозь жидкость (на чертежах жидкость не показана), которой может быть заполнен сосуд, освещает топографический слой 4, создавая изображение. Это топографическое изображение может видеть наблюдатель сквозь прозрачную стенку 2. Объемное топографическое изображение кажется расположенным внутри сосуда, в жидкости, заполняющей сосуд. Голограмма может также создавать интенсивное подсвечивание части жидкости, в том числе с оттенками разной тональности.
Способ крепления этикетки 5 с голографическим слоем 4 осуществляется следующим образом. Этикетка 5 имеет края 6, выступающие за пределы голографического слоя 4, расположенного на оборотной стороне этикетки 5, так как топографический слой 4 меньше по длине и/или ширине, чем этикетка 5. Эти края 6 этикетки 5 используют для крепления к наружной поверхности сосуда. Такое крепление осуществляют приклеиванием (если этикетка 5 выполнена из бумаги) или привариванием (если этикетка 5 выполнена из термопластичного материала).
Прикрепленная таким образом этикетка имеет голографический слой, обращенный внутрь сосуда и надежно защищенный этикеткой и стенкой сосуда от повреждения.
Пример 2 (фиг.2).
Сосуд имеет прозрачные боковые стенки 7 и 8 и дно 9. Боковая стенка 7 и дно 9 могут быть или прозрачными или непрозрачными, но боковая стенка 8 должна быть прозрачной. На наружной поверхности боковой стенки 7 сосуда закреплена этикетка 10. На внутренней поверхности боковой стенки 7 сосуда закреплен голографический слой 11.
Свет, проникающий внутрь сосуда через прозрачные части стенок 7, 8 и/или дно 9, проходит также сквозь жидкость, которой может быть наполнен сосуд, и освещает голографический слой 11, создавая голографическое изображение. Это изображение может казаться расположенным внутри и/или вне сосуда.
Способ крепления голографической этикетки предусматривает раздельное закрепление или нанесение любым способом собственно этикетки 10 на наружную поверхность стенки 7 сосуда, а голографического слоя 11 – на внутреннюю поверхность стенки 7 сосуда.
Пример 3 (фиг.3).
Сосуд имеет прозрачные боковые стенки 12 и 13, а также дно 14. Этикеткой 15 накрыт голографический слой 16 с подложкой 17. Непосредственно на наружной поверхности боковой стенки 12 сосуда закреплен или непосредственно на эту стенку нанесен голографический слой 16 с подложкой 17. Голографический слой 16 вместе с подложкой 17 закрыты этикеткой 15, имеющей края, выступающие за пределы голографического слоя 16 и его подложки 17. Этими выступающими краями этикетка 15 прикреплена к наружной поверхности прозрачной боковой стенки 12 сосуда, фиксируя на боковой стенке 12 голографический слой 16 с подложкой 17.
Свет, проникающий внутрь сосуда через прозрачную стенку 13 и дно 14 сосуда, проходит через жидкость, которой наполнен сосуд, освещает голографический слой 16, что создает топографическое изображение.
Способ крепления этикетки 15 с топографическим слоем 16 и подложкой 17 состоит в том, что края этикетки 15, выступающие за пределы топографического слоя 16, используют для крепления этикетки 15 на наружной поверхности боковой стенки 12 сосуда, для фиксации топографического слоя 16 на поверхности стенки 12 сосуда и для экранирования и защиты топографического слоя 16.
Пример 4 (фиг.4, 5 и 6)
Сосуд имеет прозрачные боковые стенки 18 и 19 и прозрачное дно 20. Непосредственно на прозрачном дне 20 прикреплена этикетка 21, которая фиксирует голографический слой 22, расположенный непосредственно на наружной поверхности прозрачного дна 20. Этикетка 21 выполнена по длине и/или ширине больше, чем голографический слой 22. Края этикетки 21, выступающие за пределы топографического слоя 22, служат для крепления к сосуду.
Свет, проникающий внутрь сосуда через прозрачные боковые стенки 18 и 19 сосуда, освещает голографический слой 22, создавая топографическое изображение. Это топографическое изображение может казаться расположенным внутри сосуда, в жидкости, которой наполнен сосуд. Голографическое изображение можно рассмотреть через прозрачные боковые стенки 18 и 19 сосуда. Объемное топографическое изображение может казаться расположенным внутри и/или вне сосуда.
Способ крепления топографической этикетки осуществляют следующим образом. Оборотную строну этикетки 21 покрывают клеем. На эту же сторону этикетки 21 накладывают голографический слой 22 (см. фиг.5 и 6), который приклеивают к этикетке 21. Так как голографический слой 22 имеет длину и ширину меньше, чем этикетка 21, то края этикетки 21 вместе с нанесенным на обратную сторону этикетки 21 клеем выступают за пределы топографического слоя 22. Эти края этикетки 21 используют для крепления этикетки 21 к наружной поверхности прозрачного дна 20 сосуда. Тем самым голографический слой 22 фиксируют на наружной поверхности прозрачного дна 20 сосуда.
Аналогичным образом можно осуществить и способ крепления на наружной поверхности боковой стенке 12 (в примере 3) голографической этикетки 15 с голографическим слоем 16 и подложкой 17 (см. фиг.3).
Под термином “сосуд” в этом описании следует понимать любую прозрачную или частично прозрачную емкость, предназначенную преимущественно для заполнения жидкостью или уже заполненную жидкостью. Изобретенным способом можно крепить голографические этикетки на бутылки для различных прозрачных, полупрозрачных или цветных жидкостей. Изобретенным способом можно крепить голографические этикетки на бутылки с алкогольными, безалкогольными или другими напитками. Изобретенным способом можно крепить голографические этикетки на стаканы, кружки, графины или другие аналогичные предметы. Изобретенным способом можно также крепить голографические этикетки на сосуды декоративного назначения, витрины, аквариумы или устройства для создания световых эффектов.
Под термином “этикетка” в этом описании следует понимать любую наклейку в любом месте сосуда, например бутылки. Изобретенным способом можно также крепить голографические контрэтикетки, колеретки, в том числе расположенные на сужающейся части бутылки или на ее горлышке. Изобретенным способом можно также крепить голографические наклейки на других частях бутылки, например на дне или на пробке бутылки.
Приведенные выше примеры не исчерпывают всех возможных модификаций осуществления изобретения.
Формула изобретения
Способ крепления голографической этикетки, включающей голографический слой и подложку, на поверхность сосуда, выполненного, по крайней мере, частично из прозрачного материала, характеризующийся тем, что обратную сторону этикетки покрывают клеем, к обратной стороне этикетки приклеивают подложку с голографическим слоем, меньшую по длине и/или ширине, чем этикетка, а затем выступающие края этикетки используют для прикрепления этикетки к поверхности сосуда, располагая этикетку голографическим слоем внутрь сосуда.
РИСУНКИ
|
|