|
|
(21), (22) Заявка: 2003113530/12, 05.10.2001
(24) Дата начала отсчета срока действия патента:
05.10.2001
(30) Конвенционный приоритет:
13.10.2000 SE 0003712-7
(43) Дата публикации заявки: 20.12.2004
(45) Опубликовано: 27.03.2006
(56) Список документов, цитированных в отчете о поиске:
ЕР 0542393 А2, 19.05.1993. US 5025123 A, 18.06.1991. US 5566526 А, 22.10.1996. RU 2179944 C2, 24.09.1997.
(85) Дата перевода заявки PCT на национальную фазу:
13.05.2003
(86) Заявка PCT:
SE 01/02182 (05.10.2001)
(87) Публикация PCT:
WO 02/30754 (18.04.2002)
Адрес для переписки:
129010, Москва, ул. Б. Спасская, 25, стр.3, ООО “Юридическая фирма Городисский и Партнеры”, пат.пов. Ю.Д.Кузнецову, рег.№ 595
|
(72) Автор(ы):
ХОЛЬМСТРЕМ Герт (SE), БЕРГ Карин (SE), ВИБЕРГ Андерс (SE)
(73) Патентообладатель(и):
ТЕТРА ЛАВАЛЬ ХОЛДИНГЗ ЭНД ФАЙНЭНС С.А. (CH)
|
(54) НЕ ЗАВИСЯЩЕЕ ОТ СКОРОСТИ ЗАПЕЧАТЫВАНИЕ
(57) Реферат:
Изобретение относится к области запечатывания упаковок в процессе их непрерывного движения. Способ запечатывания упаковок во время непрерывного перемещения, в котором ряд упаковок посредством двигателя приводят в движение через станцию запечатывания. Станция запечатывания содержит индуктор, приводимый в действие в импульсном режиме, при этом каждую упаковку подвергают воздействию множества импульсов, причем эти импульсы имеют фиксированную длительность. Время между импульсами изменяется в зависимости от скорости ряда упаковок. Изобретение обеспечивает запечатывание упаковки при изменении скорости транспортировки за счет изменений пауз между импульсами. 9 з.п. ф-лы, 2 ил. 
Область техники, к которой относится изобретение
Настоящее изобретение относится к способу и устройству для запечатывания упаковок в процессе их непрерывного движения. Этот способ обычно применяется в формовочной и запечатывающей машине.
Предшествующий уровень техники
Упаковки формуют и запечатывают с одного края, обычно с верхнего, на первой линии формовочной и запечатывающей машины. Затем упаковки проходят через одно или большее количество наполнительных устройств. После прохождения одного или большего количества наполнительных устройств упаковки возвращают на вторую линию формовочной и запечатывающей машины, где запечатывают другой край каждой из упаковок. В настоящем описании две линии формовочной и запечатывающей машины, при этом одно или большее количество наполнительных устройств обычно называются наполнительной машиной.
Ранее для различных скоростей машины применялись отдельные трансформаторы индукционного нагрева. Таким образом, индукционный нагрев применяли при непрерывной подаче питания для каждой скорости во время перемещения упаковки. Это было необходимо для обеспечения наличия различных комбинаций трансформаторов и конденсаторов с целью получения надлежащего фазового сдвига сигнала для различных скоростей. При изменении скорости машины, например, по причине перехода к другому типу или размерам упаковок, трансформаторы приходилось менять.
Способы, применявшиеся ранее, приводили к превращению в отходы большого числа упаковок во время ускорения и замедления.
Сущность изобретения
Существует необходимость в не зависящем от скорости запечатывании упаковок. Запечатывание должно осуществляться во время непрерывного перемещения упаковок.
В качестве примера можно привести новую формовочную и запечатывающую машину, которая была создана с возможностью работы с некоторым числом (3-5) фиксированных скоростей. Эта машина предназначена для встраивания в упаковочную линию для стерилизуемых в автоклаве пищевых продуктов. Для усовершенствования машины с тем, чтобы она лучше работала при применении существующих технологий наполнения, используемых в данной отрасли, были повышены требования к ее рабочим характеристикам, чтобы обеспечить более высокую эксплуатационную гибкость машины при различных скоростях и, тем самым, обеспечить возможность ее работы на различных заранее не заданных скоростях.
Таким образом, одна цель изобретения состоит в том, чтобы сделать запечатывание не зависящим от скорости.
Дополнительная цель заключается в том, чтобы обеспечить возможность применения одного и того же оборудования при проведении запечатывания на различных скоростях и во время ускорения и замедления.
При использовании способа по настоящему изобретению упаковки запечатывают во время непрерывного движения. Средство транспортировки обеспечивает перемещение ряда упаковок через станцию запечатывания, включающую в себя индуктор. Индуктор приводится в действие в импульсном режиме. Программируемый логический контроллер используется для управления импульсами индуктора. Программируемый логический контроллер использует информацию, поступающую от электропривода и от кодового датчика положения, соответственно присоединенных к двигателю, приводящему в движение средство транспортировки.
Как указано выше, сначала обычно запечатывают верхний край каждой упаковки, и поэтому упаковку подают в положении вверх дном. Затем упаковку наполняют пищевыми продуктами, после чего запечатывают днище упаковки. Запечатывание как верхней, так и нижней части упаковки происходит в формовочной и запечатывающей машине. Таким образом, каждая формовочная и запечатывающая машина должна иметь две станции запечатывания, каждой из которых обычно управляет программируемый логический контроллер.
Краткое описание чертежей
Изобретение описано ниже дополнительно со ссылкой на прилагаемые чертежи.
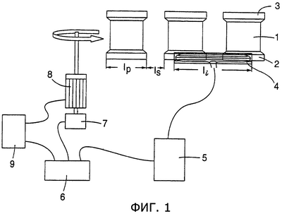
Фиг.1 представляет собой общий вид станции запечатывания, с которой можно применить настоящее изобретение.
Фиг.2 представляет собой графики, показывающие пример импульсов индуктора, воздействующих на каждую упаковку.
Подробное описание изобретения
На фиг.1 показан ряд упаковок 1. В нормальном режиме подача упаковок 1 осуществляется с постоянной скоростью. Эта скорость может меняться в зависимости от типа упаковок 1 и от продуктов, которыми должны быть заполнены упаковки 1. Упаковки 1 расположены на некотором средстве транспортировки (непоказанном), приводимом в действие двигателем 8. Средство транспортировки может представлять собой цепной механизм, имеющий средство для приема каждой упаковки 1. Электропривод 9 обеспечивает управление двигателем 8. Кроме того, кодовый датчик 7 положения присоединен к двигателю 8. Кодовый датчик 7 положения и электропривод 9 соединены с программируемым логическим контроллером 6. Программируемый логический контроллер 6 также соединен с генератором 5 для индукционного нагрева (ниже часто именуемым как генератор 5 индукционного нагрева). Генератор 5 индукционного нагрева питает индуктор 4 на станции запечатывания упаковок 1. Индуктор 4 обычно состоит из двух пластин индуктора, по одной с каждой стороны упаковки 1 на станции запечатывания.
Кодовый датчик 7 положения на практике обычно содержит диск, вращающийся вместе с двигателем 8. В одном варианте осуществления используется кодовый датчик 7 положения, выдающий 256 импульсов за оборот. 256 импульсов заданы так, чтобы соответствовать двум упаковкам и пространству между ними. Данные о положении и скорости перемещения упаковок 1 передаются в программируемый логический контроллер 6 посредством кодового датчика 7 положения и электропривода 9 соответственно. Эта информация используется программируемым логическим контроллером для управления работой генератора 5 индукционного нагрева и, в конечном счете, индуктора 4.
В зависимости, например, от емкости наполнительного устройства или наполнительных устройств, размера упаковок 1 и вида продуктов, которыми должны быть заполнены упаковки 1, средство транспортировки будет приводиться в движение с различной скоростью. Таким образом, одна и та же наполнительная машина может быть приведена в действие и работать на различных скоростях.
На фиг.1 показано, что ряд упаковок 1 проходит через индуктор 4. Каждая упаковка 1 имеет нижнюю кромку 2 и верхнюю кромку 3. Обычно сначала запечатывают одну из кромок, затем упаковку наполняют и в завершение запечатывают другую кромку. Запечатывание осуществляется с помощью индуктора 4, нагревающего металл, обычно алюминий, в зоне кромки. При нагреве алюминия слой пластика на каждой из сторон зоны кромки будет нагреваться с помощью алюминия и расплавляться. После индуктора 4 ряд прижимных роликов (непоказанных) обеспечивает сдавливание кромки, тем самым происходит сплавление (или сварка) нагретого пластика. Кромка каждой упаковки 1 имеет длину lp, а длина расстояния между упаковками 1 из ряда составляет ls. Индуктор 4 имеет длину li в направлении подачи упаковок 1. Длина li индуктора 4 представляет собой сумму длины lр одной упаковки 1 и расстояния ls между двумя соседними упаковками 1, то есть li=lp+ls.
Запечатывающая установка по настоящему изобретению предназначена для непрерывного перемещения ряда упаковок 1. Индукционный нагрев осуществляется с помощью импульсов, подаваемых генератором 5 индукционного нагрева индуктору 4. Индукционный нагрев осуществляется импульсами фиксированной длительности. Промежутки между импульсами варьируются в зависимости от скорости ряда упаковок 1. Подаваемое питание также в незначительной степени регулируют в зависимости от скорости, то есть при высоких скоростях энергии (мощности) расходуется несколько меньше. Это делается в целях компенсации разницы во времени остывания между моментом действия индукционного нагрева и моментом действия прижимных роликов. Импульсы инициируются программируемым логическим контроллером 6. Кодовый датчик 7 положения, соединенный с программируемым логическим контроллером 6, отслеживает положение упаковок 1.
На фиг.2 запечатывание упаковки показано в схематичном виде. Во время первого импульса (самая верхняя кривая) упаковка 1 только что вошла в зону действия индуктора 4, и, таким образом, под его воздействием находится лишь правая часть нижней кромки 2 (как показано на фиг.1). Во время паузы между первым и вторым импульсами упаковка 1 продвигается дальше вправо и, как показано посредством второй кривой, большая часть нижней кромки 2 попадает под воздействие индуктора 4 на станции запечатывания. За время третьего и четвертого импульсов упаковка 1 с каждым импульсом продвигается еще дальше вправо. Необходимо отметить, что в положении, когда мощность первого импульса начинает увеличиваться, мощность третьего импульса начинает уменьшаться. То же самое справедливо для второго и четвертого импульсов. Когда упаковка 1 выходит из зоны действия индуктора 4, нижняя кромка 2 будет постоянно индукционно нагрета на всей ее длине lр. Это отражено на самой нижней кривой на фиг.2, которая показывает общий расход энергии, поданной за четыре импульса, изображенных на четырех верхних кривых на фиг.2. В этом случае энергия подается к упаковке 1 с помощью двух импульсов на длине li индуктора, то есть каждая упаковка 1 испытывает воздействие ряда частичных импульсов (импульсы от 1 до 4 на фиг.2), сумма которых соответствует двум импульсам на всей длине упаковки 1. В примере, показанном на фиг.2, скорость наполнительной машины задана на уровне 24 000 упаковок в час, то есть за час запечатывают 24 000 упаковок. Заданная длительность импульса составляет 64 мс, и длительность паузы между импульсами будет составлять 11 мс.
Для специалиста в данной области техники очевидно, что число импульсов на длину li индуктора можно варьировать. Для кодового датчика положения с 256 импульсами на один оборот предпочтительное число импульсов на длину li индуктора составиляет 2, 4, 8, 16 и т.д., то есть такое, на которое число 256 делится без остатка. Наклон в начале или в конце каждой кривой зависит от скорости и, таким образом, от расстояния, которое проходит упаковка за время, равное длительности импульса.
При пуске положение первой упаковки 1, входящей в зону индуктора 4, используется для запуска устройства запечатывания. Поскольку исходное положение и скорость упаковок 1 известны, программируемый логический контроллер 6 будет управлять импульсами, поступающими к индуктору 4, на основе этой информации. Длительность импульса задают относительно максимально возможной скорости таким образом, что не происходит интерференции импульсов. Поскольку частота импульсов связана со скоростью упаковок 1, запечатывание будет происходить как во время ускорения, так и во время замедления, а также в случаях изменений скорости. Качество запечатывания во время ускорения и замедления повышается, если число импульсов в расчете на упаковку увеличивается. В примере по фиг. 2 в целях упрощения показаны только два импульса. Обычно на одну упаковку используют от 4 до 16 импульсов.
Формула изобретения
1. Способ запечатывания упаковок (1) во время непрерывного перемещения, в котором ряд упаковок (1) посредством двигателя (8) приводят в движение через станцию запечатывания, содержащую индуктор (4), приводимый в действие в импульсном режиме, отличающийся тем, что каждую упаковку подвергают воздействию множества импульсов, причем эти импульсы имеют фиксированную длительность и при этом время между импульсами изменяется в зависимости от скорости ряда упаковок (1).
2. Способ по п.1, отличающийся тем, что для управления питанием индуктора (4) посредством генератора (5) индукционного нагрева (IH) используют программируемый логический контроллер (6).
3. Способ по п.2, отличающийся тем, что в программируемый логический контроллер (6) подают информацию о скорости и положении упаковок (1).
4. Способ по п.3, отличающийся тем, что эту информацию о скорости и положении упаковок (1) подают посредством электропривода (9) двигателя и кодового датчика (7) положения.
5. Способ по п.1, отличающийся тем, что подаваемую мощность регулируют в зависимости от скорости.
6. Способ по п.1, отличающийся тем, что каждая упаковка (1) из ряда упаковок (1) имеет одинаковую длину (lр) в направлении подачи и при этом упаковки (1) отделены на расстоянии друг от друга расстоянием (ls).
7. Способ по п.6, отличающийся тем, что длина (li) индуктора (4) в направлении подачи упаковок (1) является такой же, что и сумма длины (lр) одной упаковки и длины (ls) расстояния между двумя соседними упаковками (1).
8. Способ запечатывания по п.7, отличающийся тем, что каждая упаковка получает одинаковое количество энергии запечатывания по всей длине (lр) упаковки (1).
9. Способ по п.1, отличающийся тем, что при запуске первая упаковка (1) из ряда упаковок (1) включает установку запечатывания.
10. Способ по любому пп.2-9, отличающееся тем, что программируемый логический контроллер (6) получает информацию от электропривода (9) двигателя и кодового датчика (7) положения, соответственно соединенных с двигателем (8).
РИСУНКИ
|
|