|
|
(21), (22) Заявка: 2004105012/14, 24.02.2004
(24) Дата начала отсчета срока действия патента:
24.02.2004
(43) Дата публикации заявки: 10.08.2005
(45) Опубликовано: 27.03.2006
(56) Список документов, цитированных в отчете о поиске:
ФИННИ Н.Р. Ребенок с церебральным параличом: помощь, уход, развитие. Книга для родителей. – М.: ТЕРЕ ВИНФ, 2001, с.279, рис.21.1. SU 791377 A, 31.12.1980. SU 862913 А, 15.09.1981. US 3961787 А, 08.06.1976.
Адрес для переписки:
195273, Санкт-Петербург, К-273, до востребования, под расписку Ю.Г. Жуковскому (для В.А. Жуковской)
|
(72) Автор(ы):
Быковская Екатерина Юрьевна (RU), Жуковский Юрий Георгиевич (RU)
(73) Патентообладатель(и):
Жуковский Юрий Георгиевич (RU)
|
(54) УСТРОЙСТВО ДЛЯ ОБУЧЕНИЯ И/ИЛИ РЕАБИЛИТАЦИИ ПАЦИЕНТОВ, НЕ СПОСОБНЫХ ПОЛЗАТЬ НА ЧЕТВЕРЕНЬКАХ
(57) Реферат:
Изобретение относится к области медицины, а именно к физиотерапии, и может быть использовано, например, для обучения ходьбе на четвереньках и реабилитации пациентов с диагнозом детского церебрального паралича. Устройство выполнено на основе лотка или пуфика под грудь и живот пациента и имеет приспособления для фиксации тела пациента к лотку или пуфику. Дополнительно устройство содержит две поперечные транспортные ручки. Ручки выполнены для избирательного приподнимания или опускания передней или задней частей лотка или пуфика и для горизонтального перемещения лотка или пуфика. Каждая ручка прикреплена одним концом к левой боковине лотка или пуфика, а другим концом к правой боковине. Места крепления транспортных ручек разнесены на каждой боковине в продольном направлении к переднему и заднему концам лотка или пуфика. В результате расширяются лечебные функциональные возможности устройства, повышается эффективность, безопасность и комфортность, уменьшается трудоемкость и сложность физиотерапии детского церебрального паралича. 7 з.п. ф-лы, 2 ил. 
Предлагаемое изобретение относится к области медицины, а именно к физиотерапии, и может быть использовано, например, для обучения ходьбе на четвереньках и реабилитации пациентов с диагнозом детского церебрального паралича.
Известно устройство-аналог, под названиями: “Quasar” [1, стр.45 и 49], “Pony baby” [2, стр.23] и др., для транспортировки детей в легковых автомобилях, представляющее собой переносное сиденье без спинки, с короткими боковыми “одноугольными” подлокотниками, которые используются и как ручки для переноски этого сиденья. Различные варианты таких переносных автомобильных сидений производятся несколькими фирмами мира, по европейским или другим стандартам. В физиотерапии на такое устройство можно укладывать ребенка в положении “лежа на животе” для отдыха или для начальной тренировки вестибулярного аппарата, которая осуществляется двумя физиотерапевтами путем приподнимания устройства за боковые ручки с последующими осторожными периодическими боковыми наклонами устройства в разные стороны. Недостатками этого устройства-аналога являются: малые функциональные возможности и непригодность его для обучения детей ползанию на четвереньках.
Известно устройство-аналог, под названием “подвеска” [3, рис.43 на стр.157], “для вестибулярной тренировки и диагностики состояния вестибулярного анализатора” пациентов, не способных ползать на четвереньках, на основе двух корсетов, под грудь и живот лежащего пациента, с приспособлениями (шнуровкой) для фиксации тела пациента к корсету, содержащее четыре регулируемые по длине стропы, по две стропы с каждого бока пациента, подвешенные на горизонтальное вращаемое колесо, которое при этом может перемещаться и линейно, по горизонтальной канатной дороге. Изменяя длину строп, “можно придавать телу больного различные положения – вертикальное, головой вниз, на боку” и др. Недостатком этого способа является малая пригодность к обучению больного ползать на четвереньках.
Известно устройство-аналог [4, стр.15] для обучения детей, не способных ползать на четвереньках, уменью (двигательной моторике) качаться назад-вперед в положении на четвереньках, представляющее собой положенное под грудь пациента полотенце, за концы которого один или два физиотерапевта (тренера), находящихся с разных сторон пациента, могут приподнимать больного ребенка на четвереньки и помогать ему качаться в этом положении взад и вперед или ползти на четвереньках. Недостатком этого способа являются сложность и высокая трудоемкость, ограниченные функциональные возможности (невозможность перевода тела ребенка в вертикальное положение, постоянное соскальзывание полотенца вдоль тела больного и др.) и недостаточная безопасность (полотенце может выскользнуть из рук тренера и ребенок может удариться лицом об пол или другую поверхность, используемую для ползания).
Известно устройство-прототип [5, рис.21.1 на стр.279] для обучения и реабилитации детей-пациентов, не способных нормально ползать на четвереньках, на основе доски на роликах под грудь, живот и ноги пациента, на котором пациент передвигается в лежачем положении за счет активного движения рук. Недостатком известного устройства-прототипа являются малая эффективность и ограниченные функциональные возможности (развиваются двигательные навыки только рук ребенка-пациента, причем лишь в некоторых функциональных направлениях, и он при этом не может даже вставать на четвереньки и ползти на четвереньках).
Техническим результатом предлагаемого изобретения является расширение лечебных функциональных возможностей устройства, повышение эффективности, безопасности и комфортности, а также уменьшение трудоемкости и сложности физиотерапии детского церебрального паралича.
Технический результат достигается тем, что устройство, представляющее собой лоток или пуфик для укладки на него ребенка, дополнительно, согласно изобретению, содержит две поперечные транспортные ручки, каждая из которых прикреплена одним концом к левой боковине лотка или пуфика, а другим концом к правой боковине, причем места крепления на каждой боковине разнесены в продольном направлении к переднему и заднему, т.е. противоположным, концам лотка или пуфика. Кроме того, соединение транспортных ручек с боковинами лотка или пуфика выполнено на шарнирах.
Технический результат достигается также тем, что лоток или пуфик состоит из двух площадок, верхней и нижней, с регуляторами расстояния подъема переднего и/или заднего концов верхней площадки над нижней и угла наклона верхней площадки к нижней. Кроме того, устройство снабжено колесами для его качения, содержит в передней части лотка или пуфика фиксационные устройства для выпрямленных к полу рук пациента с упорами-площадками для его ладоней, а в задней части – фиксационные устройства для ног пациента в упоре на коленях с упорами-площадками для коленей, содержит на переднем конце лотка или пуфика упор под подбородок пациента и содержит спереди детскую игрушку на колесном ходу с приводом от ее колесиков к подвижным частям игрушки для вызова у пациента желания подползти к игрушке.
Сравнение заявляемого устройства с прототипом позволило установить, что заявляемое устройство отличается тем, что оно дополнительно содержит две поперечные транспортные ручки, каждая из которых прикреплена одним концом к левой боковине лотка или пуфика, а другим концом к правой боковине, причем места крепления на каждой боковине разнесены в продольном направлении к переднему и заднему, т.е. противоположным, концам лотка или пуфика, и сделать вывод, что изобретение соответствует критерию “новизна”. Указанные транспортные ручки предназначены для избирательного приподнимания или опускания передней или задней частей лотка и для горизонтального перемещения лотка.
При изучении других известных решений в данной области техники признаки, идентичные признакам, отличающим заявляемое изобретение от прототипа, выявлены не были, и поэтому оно соответствует критерию “изобретательский уровень”.
Применение заявляемого изобретения на практике для лечения детского церебрального паралича обеспечивает ему критерий “промышленная применимость”.
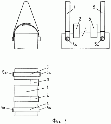
На фиг.1 изображено предлагаемое устройство, где: 1 – лоток под грудь и живот пациента; 2 и 3 – приспособления дня фиксации к лотку или пуфику тела пациента; 4 и 5 – задняя и передняя транспортные ручки.
На фиг. 2 изображено предлагаемое устройство, где: 1 – лоток под грудь и живот пациента, состоящий из верхней (1а) и нижней (1b) площадок; 2 и 3 – приспособления для фиксации к лотку или пуфику тела пациента; 4 и 5 – задняя и передняя транспортные ручки на шарнирах 4а и 5а; 6 и 7 – регуляторы расстояния подъема заднего и переднего конца верхней площадки; 8 – колеса; 9 – кронштейн с подвижной игрушкой на колесном ходу; 10 – упор под подбородок пациента.
Устройство работает следующим образом.
Тренер-терапевт укладывает ребенка-пациента животом вниз на лоток (или пуфик) 1 (и подбородком на упор 10), фиксирует его тело приспособлениями для фиксации 2 и 3, берет в каждую руку по транспортной ручке 4 и 5 и поднимает их так, чтобы облегчить ребенку-пациенту возможность ползти; дает команду ребенку-пациенту ползти вперед, и помогает ему ползти вперед, перемещая транспортные ручки 4 и 5 в сторону движения. Шарниры 6 и 7 обеспечивают плавность перемещения устройства за транспортные ручки 4 и 5. Когда ребенок ползет, то игрушка 9 на колесном ходу едет вперед и при этом от ее колес приводные части игрушки начинают двигаться (вращаться, взмахивать или др.), занимательно для ребенка-пациента. При необходимости, по размерам ребенка-пациента, заднюю и переднюю части верхней площадки (1а) лотка или пуфика тренер устанавливает с помощью регуляторов высоты 6 и 7 на требуемые высоты над нижней площадкой (1b).
Заявляемое устройство может быть использовано не только для обучения ползанию на четвереньках, но и для обучения ребенка подъему на ноги с четверенек, ходьбе, приседаниям, опусканиям на четвереньки, а также для вестибулярных упражнений.
Таким образом, предлагаемое устройство позволяет, по сравнению с устройством-прототипом, расширить лечебные функциональные возможности устройства, повысить эффективность, безопасность и комфортность, а также уменьшить трудоемкость и сложность физиотерапии детского церебрального паралича. Для проведения физиотерапевтических процедур с использованием предлагаемого устройства необходим лишь один тренер-терапевт, а не трое, как в способах аналогах. При этом безопасность для ребенка не возрастает, а уменьшается (при соблюдении правил полностью исключены случаи падения и ударов ребенка об пол). Ребенок-пациент чувствует себя не только более безопасно, но и более комфортно и заинтересованно, эффективность обучения и реабилитации возрастает, т.е. длительность обучения и реабилитации уменьшается в два или более раз.
Источники информации
1. Каталог “Chicco Juvenile 2003-Catalog”, Italia; стр.45 и 49. www.chicco.com.
2. Каталог “@nteprima 2004”, Italia, фирмы “САМ il mondo del bambino”; стр.23. www.camspa.it.
5. Бортфельд С.А., Рогачева Е.И. Лечебная физическая культура и массаж при детском церебральном параличе / Л.: Медицина, 1980. Стр.157.
4. Руководство по раннему обучению. / С-Пб: “Раннее вмешательство”, 1992. (Перевод с англ. “Portage Guide to Early Education”, 1976. С разрешения фирмы “CESA №5” – Cooperative Educational Service Agency №5, США). Стр.15.
5. Финни Н.Р. Ребенок с церебральным параличом: помощь, уход, развитие. Книга для родителей. /Пер. с англ./ – М.: Теревинф, 2001. – 336 с.
Формула изобретения
1. Устройство для обучения и/или реабилитации пациентов, не способных ползать на четвереньках, на основе лотка или пуфика под грудь и живот пациента, с приспособлениями для фиксации к лотку или пуфику тела пациента, отличающееся тем, что оно содержит две поперечные транспортные ручки, выполненные для избирательного приподнимания или опускания передней или задней частей лотка или пуфика и для горизонтального перемещения лотка или пуфика, при этом каждая ручка прикреплена одним концом к левой боковине лотка или пуфика, а другим концом к правой боковине, причем места крепления транспортных ручек разнесены на каждой боковине в продольном направлении к переднему и заднему концам лотка или пуфика.
2. Устройство по п.1, отличающееся тем, что соединение транспортных ручек с боковинами лотка или пуфика выполнено на шарнирах.
3. Устройство по п.1, отличающееся тем, что лоток или пуфик состоит из двух площадок, верхней и нижней, с регуляторами расстояния подъема переднего и/или заднего концов верхней площадки над нижней и угла наклона верхней площадки к нижней.
4. Устройство по пп.1 и 3, отличающееся тем, что оно снабжено колесами для его качения.
5. Устройство по п.4, отличающееся тем, что оно содержит в передней части лотка или пуфика фиксационные устройства для выпрямленных к полу рук пациента с упорами-площадками для его ладоней.
6. Устройство по п.4, отличающееся тем, что оно содержит в задней части лотка или пуфика фиксационные устройства для ног пациента в упоре на коленях с упорами-площадками для коленей.
7. Устройство по п.4, отличающееся тем, что оно дополнительно содержит спереди детскую игрушку на колесном ходу, с приводом от ее колесиков к подвижным частям игрушки, для вызова у пациента желания подползти к игрушке.
8. Устройство по п.1, отличающееся тем, что оно содержит на переднем конце лотка или пуфика упор под подбородок пациента.
РИСУНКИ
MM4A – Досрочное прекращение действия патента СССР или патента Российской Федерации на изобретение из-за неуплаты в установленный срок пошлины за поддержание патента в силе
Дата прекращения действия патента: 25.02.2009
Извещение опубликовано: 10.05.2010 БИ: 13/2010
|
|