|
(21), (22) Заявка: 2004106883/12, 09.03.2004
(24) Дата начала отсчета срока действия патента:
09.03.2004
(43) Дата публикации заявки: 20.08.2005
(45) Опубликовано: 27.03.2006
(56) Список документов, цитированных в отчете о поиске:
SU 94030768 A1, 27.12.1995. SU 1757592 A1, 30.08.1992. SU 1736398 A1, 30.05.1992. SU 1537205 A1, 23.01.1990. US 5815833 A, 06.10.1998. FR 2074752 A, 08.10.1971. FR 2729275 A1, 19.07.1996. WO 01/17383 A1, 15.03.2001.
Адрес для переписки:
454014, г.Челябинск, ул. Ворошилова, 8, Челябинский гуманитарный институт, Ректору Т.В. Усыниной
|
(72) Автор(ы):
Андросова Элина Михайловна (RU)
(73) Патентообладатель(и):
Негосударственное образовательное учреждение Челябинский гуманитарный институт (RU)
|
(54) НАБОР МОДУЛЕЙ ДЛЯ ФОРМИРОВАНИЯ МОДЕЛЕЙ ОДЕЖДЫ
(57) Реферат:
Изобретение относится к легкой промышленности и может быть использовано для создания одежды различных ассортиментных групп. Набор модулей для формирования моделей одежды посредством их различной комбинации в полном или частичном сочетании содержит выполненные из ткани прямоугольные полосы, треугольник, большой и малый квадраты. Прямоугольные полосы выполнены большими, средними, малыми и большими с полукруглым вырезом, к которому прикреплена одна часть текстильной застежки-молнии, вторая часть которой прикреплена к пройме рукава или горловине ворота. Все модули имеют по крайней мере два слоя ткани и снабжены по прямым линиям периметра строчкой, выполненной с отступом от кромок модуля, на отогнутые части ткани которого прикреплена текстильная застежка «велкро» для фиксации модулей друг с другом. Имеются квадраты и прямоугольные полосы, пробитые блочками, в которые продет шнур. Изобретение позволяет создать большой ассортимент моделей одежды при минимальных затратах. 7 з.п. ф-лы, 8 ил. 
Изобретение относится к легкой промышленности и может быть использовано для создания одежды различных ассортиментных групп и размеров от 36 до 50. Данное изобретение может быть использовано в качестве повседневной одежды в городе: пальто, куртки, жилеты, юбки, брюки, шорты и в качестве атрибутов загородного быта: спальный мешок, садовый фартук, гетры, нарукавники.
Данное изобретение может быть использовано для творческого роста профессионалов в области моделирования, т.к. позволяет конструировать самые разнообразные модели.
Известен набор модулей (съемных элементов), позволяющих трансформировать закрытый комбинезон с капюшоном в более легкий костюм, открывающий отдельные участки тела (см. заявка РФ №2001101663 «Трикотажный костюм трансформируемый (трикотран Полякова)», МПК-6: A 41 D 15/00, заявлен 2001.01.17, опубл.2003.01.20). В заявленном костюме трансформируемые элементы крепятся к нагрудному и набедренному элементам с помощью текстильной застежки «липучки», а трансформированные, т.е. свернутые съемные элементы, крепятся застежками-петлями на запястьях рук, талии и подколенной области нижней части ног.
Недостатком известного изобретения является ограниченный ряд получаемых моделей и необходимость носить на себе неиспользуемые элементы одежды при изменившихся условиях окружающей среды.
Наиболее близким по существенным признакам, достигаемому эффекту к заявляемому изобретению и выбранным в качестве прототипа, является набор модулей для формирования моделей одежды посредством комплектования по меньшей мере трех из них, в котором один из модулей представляет собой полосу из отрезка ткани, второй – пластину со сквозным отверстием и сквозным разрезом, проходящим от кромки отверстия к внешнему краю пластины для получения двух подвижных относительно друг друга смежных участков, а третий – ленту с защипами, размещенными по ее длине (см. заявка РФ №94030768, МПК-6: А 41 D 15/00, заявлен 1994.08.17, опубл.1995.12.27).
В этом решении преодолен недостаток, присущий предыдущему аналогу, т.к. набор модулей позволяет решить задачу по созданию значительного количества моделей.
Однако прототип имеет свой недостаток, заключающийся в том, что модули, в основном, предназначены для создания нарядной, вечерней одежды и одежды для концертных и театральных представлений.
Задачей настоящего изобретения является увеличение ассортимента моделей повседневной одежды и для загородного отдыха при одновременном снижении затрат на ее изготовление.
Техническим результатом заявляемого изобретения является оптимизация конструкции модулей.
Указанная задача достигается тем, что в известном наборе модулей для формирования моделей одежды посредством их различной комбинации в полном или частичном сочетании, содержащем выполненные из ткани прямоугольные полосы, согласно изобретению набор дополнительно включает выполненные из ткани треугольник, большой и малый квадраты, причем прямоугольные полосы выполнены большими, средними, малыми и большими с полукруглым вырезом, к которому прикреплена текстильная застежка-молния для крепления к горловине и пройме, все модули имеют, по крайней мере, два слоя ткани и снабжены по прямым линиям периметра строчкой, выполненной с отступом от кромок модуля, на отогнутые части ткани которого прикреплена для фиксации модулей друг с другом текстильная застежка «велкро», при этом имеются квадраты и прямоугольные полосы, пробитые блочками, в которые продет шнур.
Набор модулей может быть выполнен так, что соотношение малой и средней прямоугольных полос, средней и большой полос больше или равно 0,5, соотношение малого и большого квадратов больше или равно 0,25.
Набор модулей может содержать прямоугольный или равносторонний треугольник.
Набор модулей может быть таким, что полукруглый вырез выполнен на продольной стороне большой прямоугольной полосы и смещен в направлении к одной из поперечных сторон.
Набор модулей может быть выполнен из плащевой ткани.
Набор модулей может быть выполнен из кожи.
Набор модулей может быть таким, что оба слоя выполнены из одинаковой ткани.
Набор модулей может быть таким, что слои выполнены из разных по фактуре тканей.
Проведенные исследования по патентным и научно-техническим источникам свидетельствуют, что предлагаемая конструкция модулей неизвестна и не следует явным образом из изученного уровня техники, а следовательно, соответствует критериям «новизна» и «изобретательский уровень».
Заявляемый набор модулей для формирования моделей одежды может быть изготовлен в условиях предприятия, выпускающего готовую одежду, с использованием стандартного отечественного или импортного оборудования, известных технологий и материалов.
Таким образом, заявляемый набор модулей соответствует критерию «промышленная применимость».
Предлагаемая совокупность существенных признаков сообщает заявляемому устройству новые свойства, позволяющие решить поставленную задачу.
Заявляемый набор содержит семь модулей очень простой и повторяющейся формы, а именно: один треугольник, два квадрата разных размеров – большой и малый, четыре прямоугольных полосы, из которых две – большие равны по размерам, но отличаются наличием полукруглого выреза у одной из них. Строчка по периметру каждого модуля определяется шириной текстильной ленты «велкро», позволяющей обеспечить фиксацию модулей друг с другом, образуя любую модель одежды в соответствии со схемой сборки. И только по линии горловины и пройме рукава соединение модулей осуществляется текстильной лентой «молния».
Ткани также выбираются в соответствии с назначением одежды. Это могут быть отходы швейного производства в виде не попавших в раскрой небольших кусков ткани и межлекальные выпады.
Таким образом, достигается снижение затрат, что является положительным моментом при массовом производстве.
Из предлагаемого к защите патентом на изобретение набора модулей возможна сборка одежды различных ассортиментных групп прямого силуэта:
– пальто
– куртки
– жилеты
– юбки
– брюки
– шорты.
Один набор модулей может быть использован на сборку моделей от 36 до 50 размера.
Заявляемый набор модулей позволяет собрать 57 различных моделей одежды, что обеспечивает достижение поставленной задачи по увеличению ассортимента.
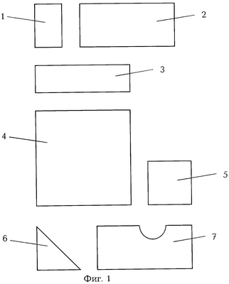
Заявляемый набор представлен на чертежах, где
Фиг.1 – набор модулей (вид сверху);
Фиг.2 – большая прямоугольная полоса (вид сбоку);
Фиг.3 – большая прямоугольная полоса (вид сверху);
Фиг.4 – большая прямоугольная полоса с полукруглым вырезом (вид сверху);
Фиг.5-8 – модели, полученные из заявленных модулей.
Заявляемый набор модулей содержит: 1 – малую прямоугольную полосу; 2 – большую прямоугольную полосу; 3 – среднюю прямоугольную полосу; 4 – большой квадрат; 5 – малый квадрат; 6 – треугольник; 7 -большую прямоугольную полосу с полукруглым вырезом на одной из своих сторон.
Каждый из модулей 1-7 выполнен, по крайней мере, из двух слоев ткани 8, которая может быть одной и той же для обоих слоев, а может быть разной, например кожа и плащевая ткань. Между слоями 8 может быть проложен синтепон. Каждый из модулей 1-7 снабжен строчкой 9, выполненной по прямым линиям периметра с отступом от кромок модуля для крепления на отогнутые части ткани текстильной ленты «велкро» 10, посредством которой обеспечивается фиксация модулей друг с другом при создании модели одежды.
На полукруглый вырез прямоугольной полосы 7 крепится текстильная застежка-молния 11, вторая часть которой прикреплена строчкой к модулю, выполняющему функцию подвижной детали модели: горловине ворота или пройме рукава. Целесообразно размещать полукруглый вырез на продольной стороне полосы 7 со смещением по направлению к одной из поперечных сторон. Строчка с отступом вдоль полукруглого выреза отсутствует.
Часть больших 4 и малых 5 квадратов, а также часть больших прямоугольных полос 2 пробиты блочками 12, по крайней мере, двумя, через которые продет шнур 13, концы которого снабжены фиксатором 14.
Размеры модулей 1-7 подбирались экспериментально исходя из антропометрических размеров пользователей одежды. Было выявлено, что оптимальными соотношениями площадей малой 1 и средней 3 прямоугольных полос, а также средней 3 и большой 2 полос должно быть равно или больше 0,5, а соотношение малого 5 и большого 4 квадратов должно быть равно или больше 0,25.
Оптимальная форма треугольника 6 была определена как равносторонний или прямоугольный треугольник.
Заявляемый набор модулей для формирования моделей одежды используется следующим образом.
В соответствии со схемой модели подбирают необходимое количество нужных модулей 1-7. Фиксацию модуля с модулем осуществляют по прямым линиям посредством текстильной ленты «велкро» 10, работающей по принципу ленты «липучки», у которой петельки сцепляются с крючками. Функцию поясов брюк, шорт, юбок и т.п. выполняют продетые через блочки 12 шнуры 13. Их затягивают до нужного размера и закрепляют фиксатором 14. Рукава и ворот присоединяют посредством затягивания текстильной застежки-молнии. Модель готова к ношению.
Заявляемый набор модулей обладает рядом преимуществ:
– расширением эксплуатационных и функциональных возможностей одежды за счет использования принципов трансформации;
– простотой кроя и технологичностью изготовления;
– экономным расходом ткани;
– минимизацией затрат на создание ассортиментных групп моделей;
– возможностью использовать труд малоквалифицированных швей;
– снижением затрат на сырье, благодаря безотходной технологии.
Формула изобретения
1. Набор модулей для формирования моделей одежды посредством их различной комбинации в полном или частичном сочетании, содержащий выполненные из ткани прямоугольные полосы, отличающийся тем, что набор дополнительно включает выполненные из ткани треугольник, большой и малый квадраты, причем прямоугольные полосы выполнены большими, средними, малыми и большими с полукруглым вырезом, к которому прикреплена одна часть текстильной застежки «молния», вторая часть которой прикреплена к пройме рукава или горловине ворота, все модули имеют, по крайней мере, два слоя ткани и снабжены по прямым линиям периметра строчкой, выполненной с отступом от кромок модуля, на отогнутые части ткани которого прикреплена текстильная застежка «велкро» для фиксации модулей друг с другом, при этом имеются квадраты и прямоугольные полосы, пробитые блочками, в которые продет шнур.
2. Набор модулей по п.1, отличающийся тем, что соотношение площадей малой и средней прямоугольных полос, средней и большой полос больше или равно 0,5, а соотношение площадей малого и большого квадратов больше или равно 0,25.
3. Набор модулей по п.1, отличающийся тем, что треугольник выполнен прямоугольным или равносторонним.
4. Набор модулей по п.1, отличающийся тем, что полукруглый вырез выполнен на продольной стороне большой прямоугольной полосы и смещен в направлении к одной из поперечных сторон.
5. Набор модулей по п.1, отличающийся тем, что он выполнен из плащевой ткани.
6. Набор модулей по п.1, отличающийся тем, что он выполнен из кожи.
7. Набор модулей по п.1, отличающийся тем, что оба слоя выполнены из одинаковой ткани.
8. Набор модулей по п.1, отличающийся тем, что слои выполнены из разных по фактуре тканей.
РИСУНКИ
MM4A – Досрочное прекращение действия патента СССР или патента Российской Федерации на изобретение из-за неуплаты в установленный срок пошлины за поддержание патента в силе
Дата прекращения действия патента: 10.03.2008
Извещение опубликовано: 27.07.2009 БИ: 21/2009
|