|
|
(21), (22) Заявка: 2004117250/12, 07.06.2004
(24) Дата начала отсчета срока действия патента:
07.06.2004
(45) Опубликовано: 27.03.2006
(56) Список документов, цитированных в отчете о поиске:
SU 1428262 A1, 07.10.1988. SU 136978 A, 12.05.1961. RU 2159532 C1, 27.11.2000. SU 1246925 A1, 30.07.1986. WO 87/04895 A2, 27.08.1987. DE 19531662 A1, 06.03.1997.
Адрес для переписки:
410600, г.Саратов, ул. Советская, 60, АНО УНПЦ “Волгоагротехника”, СГАУ им. Н.И. Вавилова, патентная группа
|
(72) Автор(ы):
Герасимов Александр Геннадиевич (RU), Анисимов Александр Владимирович (RU), Марьина Алла Александровна (RU)
(73) Патентообладатель(и):
Герасимов Александр Геннадиевич (RU), Анисимов Александр Владимирович (RU), Марьина Алла Александровна (RU)
|
(54) ВЫГРУЗНОЙ ТРУБОПРОВОД К СЕЛЬСКОХОЗЯЙСТВЕННОЙ УБОРОЧНОЙ МАШИНЕ
(57) Реферат:
Изобретение относится к сельскохозяйственному машиностроению, в частности, к устройствам для выгрузки измельченной растительной массы, устанавливаемым на сельскохозяйственных уборочных машинах. Трубопровод содержит криволинейный участок зоны подъема материала, прямолинейный центральный участок и криволинейный участок зоны выгрузки с подвижной верхней стенкой. Криволинейный участок зоны выгрузки выполнен с возможностью вращения относительно горизонтальной оси и состоит из двух стенок дугообразной формы – нижней стенки и вышеназванной подвижной верхней стенки. Сектор поперечного сечения подвижной верхней стенки как минимум в три раза больше, чем сектор поперечного сечения нижней стенки. Подвижная верхняя стенка выполнена в виде гофры, кромки которой закреплены в упругих планках, которые установлены с возможностью перемещения по криволинейным направляющим, размещенным на верхних кромках нижней стенки. Использование изобретения позволит повысить равномерность распределения и уплотнения корма по всей площади кузова транспортного средства и существенно снизить его потери при загрузке. 5 ил. 
Изобретение относится к сельскохозяйственному машиностроению, в частности к устройствам для выгрузки измельченной растительной массы, устанавливаемым на сельскохозяйственных уборочных машинах.
Известно устройство (см. А.с. №136978, кл. 45е, 30: Б.И. №6, 1961 г.), состоящее из выгрузного трубопровода и распределителя у выходной части, выполненного в виде поворотного относительно вертикальной оси патрубка и шарнирно укрепленного козырька.
Недостатком аналога является неспособность обеспечивать высокую степень уплотнения и равномерное распределение без снижения запаса кинетической энергии потока загружаемого материала и без перекрытия укладываемых слоев в кузове транспортного средства.
Прототипом предлагаемого устройства является (см. А.с. №1428262, кл. А 01 D 43/08, 1988 г.), выгрузной трубопровод, содержащий криволинейный участок зоны подъема материала, прямолинейный центральный участок и криволинейный участок зоны выгрузки, включающий эллиптическую кривую, который включает внешнюю стенку, две боковых и нижнюю стенки, внешняя стенка участка зоны выгрузки выполнена подвижной в виде упругого листа, установленного с возможностью перемещения по направляющим, размещенным на верхних кромках боковых стенок криволинейного участка зоны выгрузки.
Недостатком прототипа является недостаточное обеспечение равномерного распределения и уплотнения загружаемого материала вдоль кузова транспортного средства из-за перекрытия соседних укладываемых слоев в кузове транспортного средства, так как загрузка вдоль кузова транспортного средства осуществляется поворотом всего выгрузного трубопровода.
Технической задачей изобретения является повышение равномерного распределения и уплотнения загружаемого материала без перекрытия укладываемых кормовых слоев в кузове транспортного средства и без снижения запаса кинетической энергии потока загружаемого материала.
Задача достигается в выгрузном трубопроводе к сельскохозяйственной уборочной машине, содержащем криволинейный участок зоны подъема материала, прямолинейный центральный участок и криволинейный участок зоны выгрузки с подвижной верхней стенкой, где, согласно изобретению, криволинейный участок зоны выгрузки выполнен с возможностью вращения относительно горизонтальной оси и состоит из двух стенок дугообразной формы – нижней стенки и вышеназванной подвижной верхней стенки, причем сектор поперечного сечения подвижной верхней стенки как минимум в три раза больше, чем сектор поперечного сечения нижней стенки, кроме того, подвижная верхняя стенка выполнена в виде гофры, кромки которой закреплены в упругих планках, которые установлены с возможностью перемещения по криволинейным направляющим, размещенным на верхних кромках нижней стенки.
В отличие от прототипа криволинейный участок зоны выгрузки выполнен с возможностью вращения относительно горизонтальной оси, что обеспечивает укладку соседних кормовых слоев без перекрытия вдоль кузова транспортного средства и состоит из двух стенок дугообразной формы – нижней стенки и подвижной верхней стенки, чем достигается плавное, без удара скручивание потока загружаемого материала при изменении направления подачи корма от 0 до 180 градусов вдоль кузова транспортного средства, путем вращения криволинейного участка зоны выгрузки относительно горизонтальной оси и сохранения им запаса кинетической энергии, причем сектор поперечного сечения подвижной верхней стенки как минимум в три раза больше, чем сектор поперечного сечения нижней стенки, для того чтобы подвижная верхняя стенка оставалась фрикционной дня потока загружаемого материала и именно с нее осуществлялся сход корма и после его скручивания, при изменении направления подали корма вдоль кузова транспортного средства, путем вращения криволинейного участка зоны выгрузки относительно горизонтальной оси, подвижная верхняя стенка дугообразной формы выполнена в виде гофры, кромки которой закреплены в упругих планках, что обеспечивает возможность ее перемещения по криволинейным направляющим, размещенным на верхних кромках нижней стенки дугообразной формы, что позволяет плавно, без удара изменять направление подачи корма от 0 до 180 градусов поперек кузова транспортного средства, путем изменения места схода загружаемого материала, обуславливаемого перемещением подвижной верхней стенки по криволинейным направляющим.
Оригинальность изобретения состоит в том, что в предлагаемом выгрузном устройстве криволинейный участок зоны выгрузки выполнен с возможностью вращения относительно горизонтальной оси и состоит из двух стенок дугообразной формы – нижней стенки и вышеназванной подвижной верхней стенки, причем сектор поперечного сечения подвижной верхней стенки как минимум в три раза больше, чем сектор поперечного сечения нижней стенки, кроме того, подвижная верхняя стенка выполнена в виде гофры, кромки которой закреплены в упругих планках, которые установлены с возможностью перемещения по криволинейным направляющим, размещенным на верхних кромках нижней стенки.
Выполнение выгрузного устройства в предлагаемом виде позволяет успешно решать поставленную задачу.
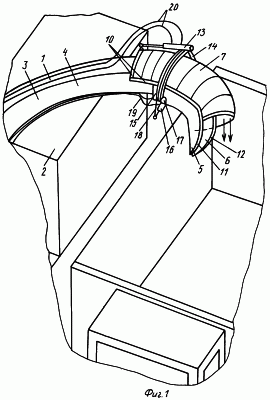
На фиг.1 изображен общий вид выгрузного устройства, на фиг.2 -криволинейный участок зоны выгрузки устройства при поперечном заполнении пространства у дальнего борта кузова транспортного средства (ТС); на фиг.3 – криволинейный участок зоны выгрузки устройства в разрезе; на фиг.4 – криволинейный участок зоны выгрузки устройства при поперечном заполнении пространства у ближнего борта кузова ТС; на фиг.5 – криволинейный участок зона выгрузки устройства при продольном заполнении пространства у дальнего борта кузова ТС.
Выгрузной трубопровод 1 закрытого типа установлен на корпусе кормоуборочной машины 2 и содержит криволинейный участок 3 зоны подъема материала, прямолинейный участок 4 и криволинейный участок 5 зоны выгрузки материала, причем последний выполнен с возможностью вращения относительно горизонтальной оси и состоит из двух стенок дугообразной формы – нижней стенки 6 и вышеназванной подвижной верхней стенки 7, причем сектор 8 поперечного сечения подвижной верхней стенки как минимум в три раза больше, чем сектор 9 поперечного сечения нижней стенки, кроме того, подвижная верхняя стенка 7 выполнена в виде гофры, кромки которой закреплены в упругих планках 10, которые установлены с возможностью перемещения по криволинейным направляющим 11 и 12, размещенным на верхних кромках нижней стенки 6.
Привод подвижной верхней стенки 7 осуществляется посредством гидравлического цилиндра 13, установленного на стойке 14, закрепленной на нижней стенке 6. Вращение криволинейного участка 5 зоны выгрузки, подвижно соединенного с прямолинейным центральным участком 4 посредством подшипника 15, внутреннее и внешнее кольца которого соответственно закреплены на сопрягаемых концах вышеназванных участков, осуществляется двусторонним гидравлическим цилиндром 16, установленным на стойке 17, закрепленной на нижней стенке 6, шток которого связан с тросом 18, охватывающим петлей криволинейный участок 5 и жестко зафиксированным на нем в средней точке петли на нижней стенке 6.
Выгрузной трубопровод работает следующим образом. Транспортное средство подается под вертикальный выход трубопровода 1. Водитель кормоуборочной машины 2 включением крана распределителя (не показан) и подачей рабочей жидкости в шланги 19 воздействует на шток двустороннего гидравлического цилиндра 16 и связанного с ним троса 18, натяжением которого осуществляется вращение криволинейного участка 5 в нужную сторону относительно горизонтальной оси и прямолинейного центрального участка 4, устанавливает плавное изменение направление выгрузки от 0 до 180 градусов вдоль кузова транспортного средства. Поток кормового материала при этом, перемещаясь в трубопроводе 1 по внешней стенке криволинейного участка 3 зоны подъема материала, прямолинейного центрального участка 4, криволинейного участка 5 зоны выгрузки, плавно, без ударов скручивается и направляется подвижной верхней стенкой 7 в кузов транспортного средства без перекрытия его последующими соседними слоями, максимально сохранив свой запас кинетической энергии.
При подаче рабочей жидкости в шланги 20 гидроцилиндра 13, установленного на стойке 14, закрепленной на нижней стенке, 6 криволинейного участка 5, его шток перемещает связанную с ним подвижную верхнюю стенку 7 дугообразной формы, выполненную в виде гофры, кромки которой закреплены в упругих планках 10, которые скользят по криволинейным направляющим 11 и 12, размещенным на верхних кромках нижней стенки 6 дугообразной формы, тем самым плавно, без удара изменяется место схода загружаемого материала с подвижной верхней фрикционной стенки 7, а следовательно, и направление подачи корма от 0 до 180 градусов при его укладке поперек кузова транспортного средства.
Использование изобретения позволит повысить равномерность распределения и уплотнения корма по всей площади кузова транспортного средства и существенно снизить его потери при загрузке за счет плавного и точного изменения направления подачи потока загружаемого материала, без перекрытия укладываемых соседних кормовых слоев в кузове транспортного средства за счет плавного изменения подачи выгрузки от 0° до 180° градусов, что обеспечит более точную дозированную выдачу кормов в кормушки, что в свою очередь повысит эффективность использования кормов и обеспечит дополнительный выход животноводческой продукции со снижением прямых эксплуатационных затрат.
Формула изобретения
Выгрузной трубопровод к сельскохозяйственной уборочной машине, содержащий криволинейный участок зоны подъема материала, прямолинейный центральный участок и криволинейный участок зоны выгрузки с подвижной верхней стенкой, отличающийся тем, что криволинейный участок зоны выгрузки выполнен с возможностью вращения относительно горизонтальной оси и состоит из двух стенок дугообразной формы – нижней стенки и вышеназванной подвижной верхней стенки, причем сектор поперечного сечения подвижной верхней стенки как минимум в три раза больше, чем сектор поперечного сечения нижней стенки, кроме того, подвижная верхняя стенка выполнена в виде гофры, кромки которой закреплены в упругих планках, которые установлены с возможностью перемещения по криволинейным направляющим, размещенным на верхних кромках нижней стенки.
РИСУНКИ
MM4A – Досрочное прекращение действия патента СССР или патента Российской Федерации на изобретение из-за неуплаты в установленный срок пошлины за поддержание патента в силе
Дата прекращения действия патента: 08.06.2006
Извещение опубликовано: 20.08.2007 БИ: 23/2007
|
|