|
|
(21), (22) Заявка: 2004124393/12, 10.08.2004
(24) Дата начала отсчета срока действия патента:
10.08.2004
(45) Опубликовано: 27.03.2006
(56) Список документов, цитированных в отчете о поиске:
DE 3022845 A1, 29.07.1982. GB 1314821 А, 23.04.1973. GB 124885 А, 06.10.1971. SU 515490 А, 23.06.1976. SU 136111 А, 24.04.1961. SU 130267 А, 24.10.1960.
Адрес для переписки:
450001, г.Уфа, ул. 50 лет Октября, 34, Башгосагроуниверситет, кафедра МППЖ
|
(72) Автор(ы):
Мартынов Владимир Михайлович (RU), Юхин Геннадий Петрович (RU), Калимуллин Азамат Минигалеевич (RU), Катков Алексей Анатольевич (RU)
(73) Патентообладатель(и):
Башкирский государственный аграрный университет (RU)
|
(54) КОМБАЙН ДЛЯ УБОРКИ КОРНЕКЛУБНЕПЛОДОВ
(57) Реферат:
Комбайн содержит раму, опирающуюся на ходовую часть и несущую последовательно расположенные ботвоудаляющее устройство и дисковый копач, а также очистительно-транспортирующее устройство и бункер. Ботвоудаляющее устройство выполнено в виде помещенного в кожухе ротора с горизонтальной осью вращения, расположенной поперек убираемого рядка. Рама содержит устройство для навески комбайна на трактор. Ходовая часть выполнена в виде одного опорного колеса, расположенного под бункером. Очистительно-транспортирующее устройство выполнено в виде многозаходного шнека, по образующей которого расположена обрешетка. Ось вращения шнека размещена под острым углом к горизонту в вертикальной плоскости, параллельной оси ротора ботвоудаляющего устройства. В заходной части шнека планки обрешетки прикреплены к лыже, выполненной в виде сектора, относительно которой с зазором 20-50 мм закреплено соосно со шнеком к его виткам приемное устройство в виде поверхности усеченного конуса, обращенного меньшим основанием к дисковому сферическому копачу. 3 ил. 
Предлагаемое изобретение относится к сельскохозяйственному машиностроению, в частности к устройствам для уборки корнеклубнеплодов, например картофеля, сахарной, столовой и кормовой свеклы.
Известен свеклоуборочный комбайн, содержащий роторный ботворез с горизонтальной осью вращения, дисковый копач, кулачковый очиститель, продольный и наклонный элеватор (а.с. SU №1306505).
Недостатком известного комбайна является отсутствие бункера.
Известен навесной однорядный комбайн для уборки столовых корнеплодов КУД-1, содержащий дисковый ботворез с копиром, выкапывающий рабочий орган, состоящий из подкапывающей скобы и пальчатых дисков, очиститель вороха, состоящий из продольного и поперечного элеватора и бункера, смонтированного над трактором (Диденко Н.Ф., Хвостов В.А. Машины для уборки овощей. – М.: Машиностроение, 1984. – 320 с.).
Недостатками данного комбайна являются непригодность использования его ботвореза с копиром для обрезки ботвы кормовой свеклы, которая слабо связана с почвой, а также высокая трудоемкость монтажа комбайна на тракторе.
Ближайшим решением поставленной задачи является комбайн для уборки кормовых корнеплодов (патент ФРГ №3022845). Данный комбайн включает ботворез роторного типа с горизонтальной осью вращения, дисковые копачи, шнековый и роторный очистители, а также бункер для корнеклубнеплодов.
Недостатком прототипа является сложность конструкции и непригодность его при уборке картофеля.
Цель изобретения – упрощение конструкции и осуществление возможности уборки различных корнеклубнеплодов.
Поставленная цель достигается тем, что комбайн для уборки корнеклубнеплодов, содержащий раму, опирающуюся на ходовую часть и несущую последовательно расположенные ботвоудаляющее устройство и дисковый копач, а также очистительно-транспортирующее устройство и бункер, причем ботвоудаляющее устройство выполнено в виде помещенного в кожухе ротора с горизонтальной осью вращения, расположенной поперек убираемого рядка, рама содержит устройство для навески комбайна на трактор, а ходовая часть выполнена в виде одного опорного колеса, расположенного под бункером, причем очистительно-транспортирующее устройство выполнено в виде многозаходного шнека, по образующей которого расположена обрешетка, при этом ось вращения шнека размещена под острым углом к горизонту в вертикальной плоскости, параллельной оси ротора ботвоудаляющего устройства, а в заходной части шнека планки обрешетки прикреплены к лыже, выполненной в виде сектора, относительно которой с зазором 20-50 мм закреплено соосно со шнеком к его виткам приемное устройство в виде поверхности усеченного конуса, обращенного меньшим основанием к дисковому сферическому копачу.
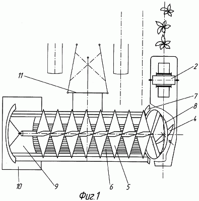
Сущность предлагаемого изобретения поясняется чертежами. На фиг.1 изображен вид комбайна сверху; на фиг.2 – вид сбоку; на фиг.3 – вид сзади.
На раме 1 в передней части установлено ботвоудаляющее устройство 2 роторного типа с горизонтальной осью вращения, помещенное в кожухе 3. Ботвоудаляющее устройство 2 включает шарнирно закрепленные ножи. За ботвоудаляющим устройством 2 закреплен дисковый сферический копач 4. Образующая кожуха 3 перекрывает ротор ботвоудаляющего устройства 2 и проходит над копачом 4. Сбоку копача установлен шнековый очиститель со шнеком 5 и обрешеткой 6. Ось шнека расположена под острым углом к горизонту и размещена в вертикальной плоскости, параллельной оси ротора ботвоудаляющего устройства 2. Обрешетка выполнена из планок, которые прикреплены к лыже 7, заглубленной в нижней части в почву. В заходной (нижней) части шнека соосно с ним закреплено приемное устройство 8. Это приемное устройство 8 расположено относительно лыжи 7 с зазором 20-50 мм и выполнено в виде поверхности усеченного конуса, обращенного меньшим основанием к копачу 4, и закреплено непосредственно к виткам шнека соосно с ним. На выходе очистителя имеется выгрузное окно 9, под которым к раме 1 закреплен бункер 10 для убранных и очищенных корнеклубнеплодов. Комбайн с навесным устройством 11 агрегатируется с трактором при помощи механизма навески и опирается на опорное колесо 12, расположенное непосредственно под бункером 10, лыжу 7 и копач 4.
Комбайн работает следующим образом.
При движении трактора по убранному участку поля сбоку от убираемого рядка ботвоудаляющее устройство 2 производит удаление ботвы с корнеклубнеплодов и направляет ботву по кожуху 3 через копач 4. Копач 4 за счет совместной работы с лыжей 7, которая разрезает пласт почвы, извлекает корнеклубнеплоды из почвы и направляет их к приемному устройству 8. Форма приемного устройства в виде поверхности усеченного конуса обеспечивает непрерывный захват выкопанных корнеклубнеплодов, перемещение вверх за счет сил трения и в сторону очистителя под действием центробежных сил. В зазоре между приемным устройством 8 и лыжей 7 просеивается значительная масса почвы, а оставшаяся почва просеивается через обрешетку 6 при транспортировании корнеклубнеплодов при помощи шнека. Очищенные корнеклубнеплоды выгружаются через выгрузное окно 9 очистителя в бункер 10. Удаленная ботва выбрасывается на убранный рядок и засыпается почвой, просеянной очистителем, при следующих проходах комбайна.
Расположенные непосредственно под бункером опорное колесо 12 предотвращает возможность изменения заглубления копача в зависимости от заполнения бункера корнеклубнеплодами.
Однорядная и навесная конструкция комбайна позволяет удалять корнеклубнеплоды, выращенные с различной шириной междурядий, при высокой маневренности уборочного агрегата и незначительной потребной ширине поворотной полосы.
Таким образом, предложенный комбайн имеет простую конструкцию и может убирать различные корнеклубнеплоды, в т.ч. кормовую, столовую и сахарную свеклу, картофель, при любом междурядном расстоянии.
Формула изобретения
Комбайн для уборки корнеклубнеплодов, содержащий раму, опирающуюся на ходовую часть и несущую последовательно расположенные ботвоудаляющее устройство и дисковый копач, а также очистительно-транспортирующее устройство и бункер, причем ботвоудаляющее устройство выполнено в виде помещенного в кожухе ротора с горизонтальной осью вращения, расположенной поперек убираемого рядка, отличающийся тем, что рама содержит устройство для навески комбайна на трактор, а ходовая часть выполнена в виде одного опорного колеса, расположенного под бункером, причем очистительно-транспортирующее устройство выполнено в виде многозаходного шнека, по образующей которого расположена обрешетка, при этом ось вращения шнека размещена под острым углом к горизонту в вертикальной плоскости, параллельной оси ротора ботвоудаляющего устройства, а в заходной части шнека планки обрешетки прикреплены к лыже, выполненной в виде сектора, относительно которой с зазором 20-50 мм закреплено соосно со шнеком к его виткам приемное устройство в виде поверхности усеченного конуса, обращенного меньшим основанием к дисковому сферическому копачу.
РИСУНКИ
MM4A – Досрочное прекращение действия патента СССР или патента Российской Федерации на изобретение из-за неуплаты в установленный срок пошлины за поддержание патента в силе
Дата прекращения действия патента: 11.08.2006
Извещение опубликовано: 20.08.2007 БИ: 23/2007
|
|