|
|
(21), (22) Заявка: 2004100349/12, 05.01.2004
(24) Дата начала отсчета срока действия патента:
05.01.2004
(43) Дата публикации заявки: 27.06.2005
(45) Опубликовано: 27.03.2006
(56) Список документов, цитированных в отчете о поиске:
СУШКО И.И., ОМЕЛЮХ Я.К., БАРЫШ Е.А., ДУТКО С.И. Протравливатель КПС-10. Ж. «Защита растений». 1988, №3, с.18-20; SU 912094 А, 15.03.1982.
Адрес для переписки:
396030, Воронежская обл., п. Рамонь, ВНИИЗР, отдел патентных исследований
|
(72) Автор(ы):
Вялых Владимир Афанасьевич (RU), Алехин Владимир Тихонович (RU), Пустовойтова Светлана Максимовна (RU), Вялых Алексей Владимирович (RU), Вялых Юрий Владимирович (RU)
(73) Патентообладатель(и):
Федеральное государственное научное учреждение “Всероссийский научно-исследовательский институт защиты растений” (RU)
|
(54) КОММУНИКАЦИОННАЯ СИСТЕМА ПРОТРАВЛИВАТЕЛЯ СЕМЯН
(57) Реферат:
Изобретение относится к сельскохозяйственному машиностроению, в частности к машинам для обработки семян сельскохозяйственных культур защитно-стимулирующими препаратами. В коммуникационной системе протравливателя семян бак для рабочей жидкости выполнен разъемным по осевой линии и снабжен эластичной диафрагмой, разделяющей его на две равные по вместимости секции. Каждая секция имеет мешалку, загрузочную воронку, заливную горловину с поплавково-запорным устройством, промывочный распылитель и сливной патрубок. Мешалки выполнены гидравлическими. Каждая магистраль в коммуникационной системе имеет трехходовой кран, посредством которого заливные горловины секций, сливные патрубки, гидравлические мешалки и промывочные устройства параллельно соединены соответственно с заборной магистралью резервуара для воды, со всасывающей магистралью насоса-дозатора, с обратной магистралью. Последняя параллельно соединена посредством трехходового крана с нагнетательной магистралью насоса-дозатора. Предлагаемое устройство позволяет повысить сменную производительность, снизить материало- и энергоемкость и расширить эксплуатационно-технологические возможности. 1 з.п. ф-лы, 1 ил. 
Изобретение относится к сельскохозяйственному машиностроению, в частности к машинам для обработки семян сельскохозяйственных культур защитно-стимулирующими препаратами – протравителями.
Известен протравливатель ПС-10 [1], коммуникационная система которого включает насос, всасывающую и нагнетательную магистрали с кранами и фильтрами, бак для рабочей жидкости с двумя механическими мешалками и электроприводом к ним и датчиками нижнего и верхнего уровня рабочей жидкости, дозатор ее, сообщающийся с баком через фильтр.
Известный протравливатель не обеспечивает непрерывность выполнения основной операции технологического процесса – обработки семян протравителем в камере протравливания, так как снабжен одним баком для приготовления в нем рабочей жидкости, тем самым резко снижается его сменная производительность, а наличие двух механических мешалок в баке и электропривода к ним повышает материало- и энергоемкость протравливателя.
Этот недостаток частично устраняется в коммуникационной системе резервуара для жидких химикатов [2], предназначенного для приготовления рабочих жидкостей и смесей химикатов стационарными или мобильными агрегатами и содержащего секции с двойными эластичными перегородками с образованием межсекционного пространства, барботером и сообщенные посредством системы трубопроводов и кранов с компрессорно-вакуумной установкой и сосудами для химикатов.
Недостатками данного устройства являются повышенные материало- и энергоемкость и сложность коммуникационной системы, которая содержит дополнительно компрессорно-вакуумную установку с пневмопроводами и кранами, что усложняет эксплуатацию устройства и снижает сменную производительность.
Из изученных аналогов наиболее близким к предлагаемому по технической сущности, технологичности процесса и результату является коммуникционная система протравливателя КПС-10 [3], принятая за прототип.
Машина снабжена двумя баками вместимостью 600 л каждый. Оба бака параллельно подключены к резервуару для воды с возможностью независимого друг от друга заполнения водой из него. Пока из первого бака рабочая жидкость подается насосом к распылителю в камеру протравливания, второй бак в это время заполняется водой, одновременно подают в него протравитель. Коммуникационная система включает два бака, два индивидуальных насоса с электроприводами, две всасывающие и нагнетательные магистрали с трехходовыми кранами, две механические мешалки с электроприводами. Это позволяет заправлять баки водой, готовить в них рабочую жидкость без остановки основной операции – протравливания семян в камере машины.
Однако известное устройство характеризуется повышенными материалоемкостью и габаритами за счет наличия второго бака, насоса с электродвигателем, электродвигателя мешалки, всасывающей и нагнетательной магистралей с кранами и энергоемкостью технологического процесса за счет двух электроприводов насосов для забора рабочей жидкости и подачи ее в камеру протравливания, а также двух электроприводов механических мешалок.
Цель изобретения – повышение сменной производительности, снижение материало- и энергоемкости, упрощение конструкции и расширение эксплуатационно-технологических возможностей.
Поставленная цель достигается тем, что бак для рабочей жидкости выполнен разъемным по осевой линии и снабжен эластичной диафрагмой, разделяющей его на две равные по вместимости секции, имеющие в плоскости разъема фланцы для крепления секций между собой, при этом каждая секция имеет гидравлическую мешалку, загрузочную воронку, заливную горловину с поплавково-запорным устройством, промывочный распылитель и сливной патрубок, а каждая магистраль имеет трехходовой кран, посредством которого заливные горловины секций, сливные патрубки, гидравлические мешалки и промывочные устройства параллельно соединены соответственно с заборной магистралью резервуара для воды, со всасывающей магистралью насоса-дозатора, с обратной магистралью, которая параллельно соединена посредством трехходового крана с нагнетательной магистралью насоса-дозатора, а кроме того, загрузочная воронка каждой секции снабжена размывателем, который установлен под заливной горловиной бака.
Новизна предлагаемого изобретения заключается в том, что система позволяет при наличии одного бака и насоса совместить выполнение двух процессов – обработку семян рабочей жидкостью протравителя в камере протравливателя с забором рабочей жидкости из бака и заполнение этого же бака водой и новой порцией протравителя с одновременным предварительным приготовлением рабочей жидкости в баке. При этом обеспечивается повышение сменной производительности за счет непрерывности выполнения основной операции технологического процесса – протравливания семян, снижение материало- и энергоемкости за счет высвобождения второго бака для рабочей жидкости и электродвигателей для привода механических мешалок и, таким образом, расширение эксплуатационно-технологических возможностей.
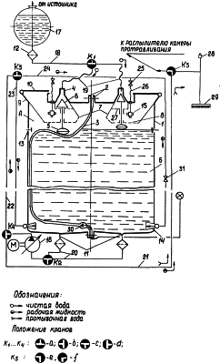
Изобретение иллюстрируется чертежом, где изображен общий вид коммуникационной системы протравливателя.
Система содержит бак для рабочей жидкости 1 с секциями А и Б, каждая из которых снабжена фланцем 2, диафрагмой 3, заливной горловиной 4, поплавком 5, запорным клапаном 6, отражателем 7, размывателем протравителя 8, загрузочной воронкой 9 под кассеты с протравителем с крышкой 10, сливным патрубком 11, фильтром 12, датчиком верхнего уровня жидкости 13, гидромешалкой 14, распылителем воды 15, насос-дозатор 16, резервуар для воды 17, заборную магистраль воды 18 с трехходовым краном К1, гибкие рукава 19, всасывавшую магистраль 20 с трехходовым краном К2, нагнетательную магистраль 21 с трехходовым краном К4 и угловым краном К5, соединенную с камерой протравливания (на чертеже не показана), обратную магистраль 22 с трехходовым краном К3, посекционные обратки 23 и 24, вентили проходные 25, гибкие рукава 26, сетку 27, распылитель промывочной воды 28, щетку 29, сигнализатор наличия жидкости в баке между секциями А и Б 30 и проходной кран 31.
Функционирует система следующим образом. Одну из секций бака 1, например секцию Б, заполняют водой из резервуара 17 через заливную горловину 4 при открытом запорном клапане 6; при этом поплавок 5 находится в нижнем положении, а кран K1 в положении “а”. Одновременно, открыв крышку 10, в воронку 9 помещают протравитель, который, попадая на размыватель 8, под действием струи воды, разбрызгиваемой отражателем 7 и сеткой 27, постепенно размешивается, образуя с потоком воды рабочую жидкость по мере наполнения полости секции водой. Сетка 27 и дно размывателя 8 одновременно выполняют роль фильтров.
По мере заполнения секции Б водой эластичная диафрагма 3 перемещается в секцию А. По достижении водой верхнего уровня, по сигналу датчика 13 поплавок 5 поднимает вверх запорный клапан 6, который перекрывает горловину 4, прекращает подачу воды в секцию Б. Кран К1 переводят в положение “b”, обеспечивая подачу воды по гибкому рукаву 19 в секцию А. За время наполнения водой секции Б протравитель, находясь в размывателе 8, успевает в достаточной степени раствориться и перемешаться с водой.
В дальнейшем при определенных положениях “а”, “b”, “с”, “d”, “е”, “f” кранов К1-К5 выполняются такие операции как перемешивание рабочей жидкости в секциях А и Б, протравливание с одновременным перемешиванием рабочей жидкости, внутренняя и наружная промывка системы. Диафрагма 3 занимает при этом среднее положение. Распыливаемая наконечниками 15 вода смывает остатки протравителя со стенок бака 1, диафрагмы 3, а также загрузочной воронки 9. После внутренней промывки К4 переводят в положение “с”, К5 – в положение “f”, соответствующие режиму наружной промывки. Промывочную воду насосом 16 подают в наконечник 28 для разбрызгивания поверх буртов протравленных семян. Большее же количество промывочной воды направляют в специальный резервуар для повторного ее использования или на очистное сооружение в отстойник с последующей нейтрализацией протравителя. Щетку 29 применяют для наружной очистки и мойки машины, используя воду при положении K1 – “с”. Датчик-сигнализатор наличия жидкости 30 срабатывает в случае повреждения диафрагмы.
Таким образом обеспечивается непрерывность выполнения основной операции технологического процесса протравливания семян – нанесение на них защитно-стимулирующих веществ с одновременной заправкой бака машины водой и препаратом и предварительным их перемешиванием.
Выполнение бака 1 разъемным по осевой обеспечивает быструю замену диафрагмы в случае выхода ее из строя (обрыв, прокол и т.п.) на новую.
Кроме того, преимуществом предложенной коммуникационной системы является снижение материало- и энергоемкости за счет исключения второго бака для рабочей жидкости, механической мешалки, электроприводов.
Взаимное расположение трехходовых кранов: К1 – в водоподводящей, К2 – во всасываюшей, К4 – в нагнетательной и К3 – в обратной магистралях обеспечивает непрерывность процесса протравливания.
Выполнение всех необходимых операций в их взаимосочетаниях: наполнение бака водой, забор насосом рабочей жидкости или промывочной воды из бака и подача в камеру протравливания или на слив, в обратки на перемешивание, а в заключительной стадии – на промывку системы водой расширяет эксплуатационно-технологические возможности системы.
Наличие размывателей в загрузочных воронках улучшает санитарно-гигиенические условия труда и делает его безопасным.
Источники информации
1. Вялых В.Д., Штоколов И.Т., Михин Л.А. Настройка и регулировка машин по защите растений. Воронеж. – 1989. – С.49-52.
2. А.с. №1282837 СССР, МКИ А 01 М 7/00, В 05 С 11/11. Резервуар для жидких химикатов / Вялых В.А. (СССР). – №3906544/30-15; Заявл. 06.06.85; Опубл. 15.01.87. Бюл. №2, С.5.
3. Сушко И.И., Омелюх Я.К., Барыш Е.А., Дутко С.М. Протравливатель КПС-10. Защита растений; 1988, №3. – С.18-20.
Формула изобретения
1. Коммуникационная система протравливателя, содержащая резервуар для воды, соединенный посредством заборной магистрали с горловиной бака для рабочей жидкости, имеющего мешалку и сливной патрубок в донной части, насос-дозатор, соединенный посредством всасывающей магистрали с баком для рабочей жидкости, а нагнетательной магистрали – с камерой протравливания, отличающаяся тем, что бак для рабочей жидкости выполнен разъемным по осевой линии и снабжен эластичной диафрагмой, разделяющей его на две равные по вместимости секции, имеющие в плоскости разъема фланцы для крепления секций между собой, при этом каждая секция имеет мешалку, загрузочную воронку, заливную горловину с поплавково-запорным устройством, промывочный распылитель и сливной патрубок, кроме того, мешалки выполнены гидравлическими а каждая магистраль имеет трехходовой кран, посредством которого заливные горловины секций, сливные патрубки, гидравлические мешалки и промывочные устройства параллельно соединены соответственно с заборной магистралью резервуара для воды, со всасывающей магистралью насоса-дозатора, с обратной магистралью, которая параллельно соединена посредством трехходового крана с нагнетательной магистралью насоса-дозатора.
2. Коммуникационная система по п.1, отличающаяся тем, что загрузочная воронка каждой секции снабжена размывателем, который установлен под заливной горловиной бака.
РИСУНКИ
|
|