|
|
(21), (22) Заявка: 2004107403/28, 12.03.2004
(24) Дата начала отсчета срока действия патента:
12.03.2004
(43) Дата публикации заявки: 27.09.2005
(45) Опубликовано: 20.03.2006
(56) Список документов, цитированных в отчете о поиске:
WO 9718688 A1, 22.05.1997. US 5497428 A, 05.05.1996. JP 10-317467, 06.08.1999. WO 9746046 A1, 04.12.1997. JP 11-018196, 22.01.1999. ЕР 0492142 А, 01.07.1992.
Адрес для переписки:
115230, Москва, а/я 18, ООО “ПКТЗ”, генеральному директору А.Н. Дмитриеву
|
(72) Автор(ы):
Орехова Ольга Валерьевна (RU)
(73) Патентообладатель(и):
Общество с ограниченной ответственностью “ПКТЗ” (RU)
|
(54) ЭЛЕКТРОДИНАМИЧЕСКИЙ ГРОМКОГОВОРИТЕЛЬ
(57) Реферат:
Изобретение относится к электроакустике, в частности к электродинамическим громкоговорителям, и может быть использовано для высококачественного воспроизведения звука, преимущественно в области средних частот. Сущность: электродинамический громкоговоритель содержит подвижную систему, включающую диффузор со звуковой катушкой, установленной в радиальном цилиндрическом зазоре магнитной цепи. Магнитная цепь включает кольцевой постоянный магнит и керн. На керне имеется фазовыравнивающее устройство с ребрами на его поверхности. Торцевая часть фазовыравнивающего устройства размещена в полости диффузора. Эта часть фазовыравнивающего устройства выполнена плоской с углублением в виде конуса с вершиной внутри фазовыравнивающего устройства. При этом ребра размещены вдоль боковой поверхности углубления. В частных случаях выполнения высота ребер уменьшается по направлению к вершине конуса, а фазовыравнивающее устройство выполнено из теплопроводного материала, например алюминия. Технический результат: повышение качества звукоизлучения за счет сглаживания амплитудно-частотной характеристики громкоговорителя в области высоких частот и повышение стабильности характеристик громкоговорителя. 2 з.п. ф-лы, 2 ил. 
Изобретение относится к электроакустике, в частности к электродинамическим громкоговорителям, и может быть использовано для высококачественного воспроизведения звука, преимущественно в области средних частот.
Известны электродинамические громкоговорители, содержащие подвижную систему, включающую диффузор со звуковой катушкой, установленной в радиальном цилиндрическом зазоре магнитной цепи, включающей кольцевой постоянный магнит и керн, фазовыравнивающее устройство, торцевая часть которого размещена в полости диффузора (см. в статье “Автомобильные акустические системы и сабвуферы” раздел “Автоакустика HERTZ-серия MILLE.” в Интернете на сайте dellson.ru, публ. 21.02.2004, копия прилагается). К недостаткам известного устройства можно отнести недостаточную эффективность сглаживания амплитудно-частотной характеристики (АЧХ) громкоговорителя в области высоких частот и невысокую стабильность АЧХ громкоговорителя ввиду обусловленного недостаточно интенсивным отводом тепла от звуковой катушки и магнитной цепи при их нагреве, и связанным с этим изменением их размеров и рассогласованием громкоговорителя с фильтрующе-корректирующими цепями акустической системы.
Наиболее близким по технической сущности к предлагаемому является электродинамический громкоговоритель, содержащий подвижную систему, включающую диффузор со звуковой катушкой, установленной в радиальном цилиндрическом зазоре магнитной цепи, включающей кольцевой постоянный магнит и керн, фазовыравнивающее устройство с ребрами на его боковой поверхности, торцевая часть которого размещена в полости диффузора (см. заявку РСТ WO 97/18688, МПК7 Н 04 R 9/04, 1997). К недостаткам известного устройства можно отнести недостаточную эффективность сглаживания амплитудно-частотной характеристики (АЧХ) громкоговорителя в области высоких частот и невысокую стабильность АЧХ громкоговорителя ввиду обусловленного недостаточно интенсивным отводом тепла от звуковой катушки и магнитной цепи при их нагреве, и связанным с этим изменением их размеров и рассогласованием громкоговорителя с фильтрующе-корректирующими цепями акустической системы.
Предлагаемое изобретение направлено на решение задачи, состоящей в повышении качества звукоизлучения за счет сглаживания АЧХ громкоговорителя в области высоких частот и повышения стабильности АЧХ громкоговорителя путем интенсификации теплоотвода.
Данная задача решается тем, что в электродинамическом громкоговорителе, содержащем подвижную систему, включающую диффузор со звуковой катушкой, установленной в радиальном цилиндрическом зазоре магнитной цепи, включающей кольцевой постоянный магнит и керн, фазовыравнивающее устройство с ребрами на его боковой поверхности, торцевая часть которого размещена в полости диффузора, торцевая часть фазовыравнивающего устройства выполнена плоской с углублением в виде конуса с вершиной внутри фазовыравнивающего устройства, а ребра размещены вдоль боковой поверхности углубления.
В частных случаях выполнения предлагаемого технического решения оно характеризуется признаками, состоящими в выполнении ребер, высота которых уменьшается по направлению к вершине конуса, и выполнении фазовыравнивающего устройства из теплопроводного материала, например алюминия.
Выполнение торцевой части фазовыравнивающего устройства плоской с углублением в виде конуса с вершиной внутри фазовыравнивающего устройства позволяет с одной стороны сгладить АЧХ громкоговорителя в области высоких частот за счет того, что, как показали наши многочисленные экспериментальные исследования, именно при такой форме углубления имеет место наиболее эффективное гашение в этом углублении высокочастотного звукоизлучения центральной части громкоговорителя, не влияя на характеристики направленности. При этом само по себе наличие углубления на фазовыравнивающем устройстве повышает интенсивность теплоотвода через фазовыравнивающее устройство в керн и затем в корпус громкоговорителя за счет уменьшения термического сопротивления фазовыравнивающего устройства ввиду уменьшения толщины его стенок. Размещение ребер вдоль боковой поверхности углубления является наиболее оптимальным с точки зрения увеличения теплообменной поверхности и соответственно интенсификации теплоотвода (при эффективном гашении высокочастотного звукоизлучения центральной части громкоговорителя), а также является наиболее технологичным решением при изготовлении ребер.
Уменьшение высоты ребер по направлению к вершине конуса повышает интенсивность теплоотвода ввиду того, что позволяет получить наиболее развитую и оптимальную теплообменную поверхность, так как высота ребер максимальна в области максимальной боковой поверхности углубления и минимальна в области минимальной.
Интенсификация теплоотвода также достигается за счет выполнения фазовыравнивающего устройства из теплопроводного материала, например алюминия, что уменьшает его термическое сопротивление.
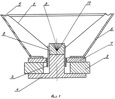
На фиг.1 представлен общий вид предлагаемого электродинамического громкоговорителя, а на фиг.2 – вид сверху на фазовыравнивающее устройство (увеличено).
Электродинамический громкоговоритель содержит подвижную систему, включающую диффузор 1 со звуковой катушкой 2, размещенной в радиальном цилиндрическом зазоре магнитной цепи, включающей кольцевой постоянный магнит 3 и керн 4. Диффузор 1 при помощи эластичного подвеса 5 прикреплен к диффузородержателю 6, который установлен на верхней шайбе 7, входящей в магнитную цепь. На керне 4 имеется фазовыравнивающее устройство 8, торцевая часть которого размещена в полости диффузора 1 и выполнена плоской с углублением 9 в виде конуса с вершиной внутри фазовыравнивающего устройства 8, настроенным на частоту около 4 кГц, причем вдоль боковой поверхности углубления 9 размещены ребра 10, высота которых в предпочтительном варианте выполнения электродинамического громкоговорителя уменьшается по направлению к вершине конуса. Целесообразно выполнить фазовыравнивающее устройство 8 из теплопроводного материала, например алюминия.
Предлагаемый электродинамический громкоговоритель работает следующим образом.
Проходящий через звуковую катушку 2 ток звуковой частоты возбуждает переменное магнитное поле, которое, взаимодействуя с постоянным полем магнитной цепи, приводит в движение звуковую катушку 2 и диффузор 1, последний воздействует на воздушную среду, возбуждая в ней звуковые волны. Возникающее при этом в центральной части диффузора высокочастотное звукоизлучение гасится в углублении 9, настроенным на частоту около 4 кГц, в том числе и посредством ребер 10, что позволяет сгладить пик АЧХ в этой области.
При работе громкоговорителя имеет место нагрев звуковой катушки 2 и соответственно нагрев воздуха в области ее размещения. Интенсивный отвод этого тепла в керн 4, а затем и в корпус громкоговорителя осуществляется через фазовыравнивающее устройство 8 как через его наружную боковую поверхность, так и со стороны углубления 9 через его развитую боковую поверхность с ребрами 10, что позволяет стабилизировать работу и характеристики громкоговорителя.
Таким образом, предлагаемое техническое решение обеспечивает как высокое качество звукоизлучения со сглаженной АЧХ, так и высокую стабильность работы и характеристик громкоговорителя.
Формула изобретения
1. Электродинамический громкоговоритель, содержащий подвижную систему, включающую диффузор со звуковой катушкой, установленной в радиальном цилиндрическом зазоре магнитной цепи, включающей кольцевой постоянный магнит и керн, фазовыравнивающее устройство с ребрами на его боковой поверхности, торцевая часть которого размещена в полости диффузора, отличающийся тем, что торцевая часть фазовыравнивающего устройства выполнена плоской с углублением в виде конуса с вершиной внутри фазовыравнивающего устройства, а ребра размещены вдоль боковой поверхности углубления.
2. Электродинамический громкоговоритель по п.1, отличающийся тем, что высота ребер уменьшается по направлению к вершине конуса.
3. Электродинамический громкоговоритель по п.1 или 2, отличающийся тем, что фазовыравнивающее устройство выполнено из теплопроводного материала, например, алюминия.
РИСУНКИ
MM4A – Досрочное прекращение действия патента СССР или патента Российской Федерации на изобретение из-за неуплаты в установленный срок пошлины за поддержание патента в силе
Дата прекращения действия патента: 13.03.2008
Извещение опубликовано: 27.07.2009 БИ: 21/2009
NF4A Восстановление действия патента СССР или патента Российской Федерации на изобретение
Дата, с которой действие патента восстановлено: 20.11.2009
Извещение опубликовано: 20.11.2009 БИ: 32/2009
|
|