|
|
(21), (22) Заявка: 2003137770/09, 28.05.2001
(24) Дата начала отсчета срока действия патента:
28.05.2001
(43) Дата публикации заявки: 10.05.2005
(45) Опубликовано: 20.03.2006
(56) Список документов, цитированных в отчете о поиске:
WO 9847301 А2, 22.10.1998. RU 2146427 C1, 10.03.2000. US 5295137 A, 15.03.1994. US 5463686 A, 31.10.1995. US 5544152 A, 06.08.1996.
(85) Дата перевода заявки PCT на национальную фазу:
29.12.2003
(86) Заявка PCT:
EP 01/06069 (28.05.2001)
(87) Публикация PCT:
WO 02/098157 (05.12.2002)
Адрес для переписки:
129010, Москва, ул. Б. Спасская, 25, стр.3, ООО “Юридическая фирма Городисский и Партнеры”, пат.пов. Ю.Д.Кузнецову, рег.№ 595
|
(72) Автор(ы):
ВЕСТМАН Илькка (FI)
(73) Патентообладатель(и):
НОКИА КОРПОРЕЙШН (FI)
|
(54) ОПТИМАЛЬНАЯ МАРШРУТИЗАЦИЯ, КОГДА ДВА ИЛИ БОЛЕЕ СЕТЕВЫХ ЭЛЕМЕНТА ОБЪЕДИНЕНЫ В ОДИН ЭЛЕМЕНТ
(57) Реферат:
Изобретение относится к системам связи протокола A11-IP (системам связи полностью основанным на Интернет-протоколе, достигаемым техническим результатом является оптимизация маршрутизации, когда два или более сетевых элементов являются одним и тем же элементом в маршруте передачи сигналов. Для этого вызов маршрутизируют, по меньшей мере, между двумя логическими сетевыми элементами, причем каждый выполняет логическую функцию над вызовом, при этом логические функции, по меньшей мере, двух логических сетевых элементов поддерживаются в одном физическом управляющем объекте в системе сети связи IP. Когда вызов принимают в физическом управляющем объекте, реализующем первую логическую функцию, выполняют обработку, связанную с вызовом, в физическом управляющем объекте, реализующем первую логическую функцию, таким образом получая содержимое первой структуры данных. Затем активизируют вторую логическую функцию в физическом управляющем объекте, в котором содержимое первой структуры данных подают внутри физического управляющего объекта во вторую структуру данных второй логической функции таким образом, что содержимое второй структуры данных, по существу, является подобным содержимому, полученному на том же самом этапе в упомянутой второй логической функции с помощью внешней маршрутизации между логическими сетевыми элементами. 2 н. и 46 з.п. ф-лы., 11 ил. 
Область техники
Настоящее изобретение относится к способу и устройству для приема и синхронизации в системе прямого цифрового спутникового вещания, в которой используется прием только со спутника в пределах линии прямой видимости (ЛПВ) или прием в условиях ЛПВ с переизлучением на Земле.
Предпосылки изобретения
Существенное влияние на работу приемников в существующих системах, которые представляют наземные и/или спутниковые цифровые аудиорадиоуслуги (ЦАРУ (DARS)), оказывает блокирование, затенение и многолучевое распространение, в результате которых происходит труднопреодолимое ухудшение качества сигнала, такое как замирание сигнала и межсимвольная интерференция (МСИ (ISI)), вызываемые многолучевым распространением. Такое влияние на каналы передачи информации на приемники может зависеть от местоположения и частоты, в частности, в городских условиях или в определенных географических областях с высокими перепадами уровня местности, где блокирование зоны прямой видимости прохождения сигналов от спутников является преобладающим.
Блокирование сигналов в портативных и мобильных приемниках может происходить из-за возникновения физических препятствий между передатчиком и приемником. Прием на мобильные приемники может быть, например, затруднен физически, когда они движутся через туннели или перемещаются вблизи к зданиям или деревьям, которые препятствуют приему сигнала со спутника в зоне прямой видимости. Перерывы в предоставлении услуг также могут происходить при существенно высоком уровне отклонения приема сигналов из-за отражений при многолучевом распространении требуемого сигнала.
В местах, расположенных непосредственно под спутником (далее называются как подспутниковая точка), по существу, присутствуют самые высокие углы возвышения ЛПВ, в то время как в местах, расположенных на удалении от подспутниковой точки, по существу, углы возвышения ЛПВ убывают и, соответственно, повышается вероятность блокирования и затенения. Места, расположенные за пределами помещений вблизи к подспутниковой точке, фактически обеспечивают неблокируемый прием ЛПВ. При этом необходимость наземного переизлучения потенциально заблокированных сигналов ЛПВ будет минимальной. Однако когда угол возвышения ЛПВ по отношению к спутнику будет меньше, чем приблизительно 85 градусов, блокирование высокими зданиями или геологическими возвышенностями (то есть высотой порядка 30 метров) становится существенным. При этом требуется наземное переизлучение для заполнения пробелов сигнала и обеспечения удовлетворительной зоны приема мобильных радиоприемников, а также неподвижных и портативных радиоприемников. В областях, где высота зданий или геологических препятствий относительно невелика (то есть менее 10 метров), блокирование будет несущественным, если только расстояние от подспутниковой точки не превышает 1400 км, когда снижение угла возвышения ЛПВ доходит до уровня менее 75 градусов. Для расстояния 6300 км от подспутниковой точки угол возвышения падает до уровня ниже 25°, и это значительно повышает необходимость использования наземного переизлучения сигнала спутника.
Таким образом, в местах, расположенных на средних и высоких широтах, в зоне охвата одного или нескольких вещательных спутников требуется использовать наземное переизлучение для обеспечения соответствующего качества приема радиосигнала. Для успешного осуществления приема с помощью мобильного радиоприемника прямых спутниковых сигналов на ЛПВ и при их комбинировании с теми же сигналами, повторно излучаемыми на Земле, требуется обеспечить в месте приема близкую относительную синхронизацию и комбинирование непосредственных спутниковых сигналов на ЛПВ с сигналами, повторяемыми в наземной сети. Кроме того, в местах приема требуется обеспечить близкую синхронизацию между сигналами, повторно излучаемыми различными наземными станциями.
Краткое описание изобретения
Вышеописанные недостатки могут быть устранены, и обеспечивается возможность реализации множества преимуществ благодаря комбинированию сигналов с временным разделением, передаваемых непосредственно со спутника в условиях ЛПВ, или сигналов с временным и пространственным разделением, передаваемых непосредственно со спутника в условиях ЛПВ, с переизлучаемыми сигналами с наземным разделением, которые генерируются на основе принятых на наземной станции сигналов, передаваемых непосредственно со спутника в условиях ЛПВ, которые переизлучаются в виде земной радиоволны в городе и его окрестностях. Благодаря этому сигналы, непосредственно принимаемые со спутника в условиях ЛПВ, с временным разделением или временным и пространственным разделением могут приниматься вместе с сигналами наземного переизлучения, которые представляют собой соответствующим образом задержанный сигнал со спутника, непосредственно принимаемый в условиях ЛПВ, для обеспечения приема со спутниковым/наземным разделением. С помощью этого можно обеспечить перемещение мобильного приемника в областях, где преобладает непосредственный прием спутниковых сигналов в условиях ЛПВ или в городе и в прилегающих к нему районах, где, в основном, преобладают наземные переизлучаемые сигналы, или обеспечить переход между двумя типами областей без прерывания приема. Для обеспечения достаточного качества непрерывности время прихода спутниковых сигналов в зоне прямой видимости и переизлучаемых наземных сигналов синхронизируют в пределах 10 миллисекунд.
В соответствии с одним из аспектов настоящего изобретения центры зон вещания определены для групп наземных станций переизлучения. Сигналы, излучаемые каждой из ряда наземных станции переизлучения, корректируют таким образом, чтобы скомпенсировать разность расстояний между соответствующими наземными станциями переизлучения и приблизительным центром зоны вещания.
В соответствии с другим аспектом настоящего изобретения сигналы спутника, переизлучаемые с наземной станции, корректируют так, чтобы скомпенсировать разности времени прихода более раннего сигнала от спутника и соответствующих сигналов наземных станций переизлучения.
В соответствии с еще одним аспектом настоящего изобретения сигналы, излучаемые с наземных станций переизлучения, корректируют таким образом, чтобы скомпенсировать задержку, возникающую при генерировании сигнала наземной станции с использованием сигнала спутника на наземной станции переизлучения.
В соответствии с еще одним аспектом настоящего изобретения символы в потоке мультиплексированных данных с временным разделением, поступающим на наземную станцию переизлучения, совмещают с многочастотными модулированными символами в многочастотном модулированном сигнале/мультиплексированном сигнале с временным разделением.
В соответствии с еще одним вариантом воплощения настоящего изобретения, по меньшей мере, один приблизительный центр зоны вещания определяется для выбранного количества указанных географически разделенных наземных станций переизлучения. Определяют соответствующие разности расстояний между каждой из выбранного количества наземных станций переизлучения и приблизительным центром зоны вещания. Затем производят корректирование наземного сигнала для компенсации различного времени прихода наземного сигнала, передаваемого выбранным количеством наземных станций переизлучения, на терминал пользователя из-за разности расстояний между соответствующими из выбранного количества наземных станций переизлучения и приблизительным центром зоны вещания.
В соответствии с еще одним вариантом воплощения настоящего изобретения устройство для использования в наземных станциях переизлучения принимает мультиплексированный поток данных с временным разделением, содержащий символы, причем каждый из указанных символов соответствует выбранному количеству битов в потоке данных. Устройство обработки, подключенное к приемному устройству, определяет местоположение преамбулы главного кадра в потоке данных. Устройство обработки преобразует символы в потоке мультиплексированных данных с временным разделением (данных МВР (TDM)) в соответствующие поднесущие, мультиплексированные с ортогональным делением частоты (МОДЧ (OFDM)) для генерирования мультиплексированного сигнала с временным разделением/многочастотного модулированного сигнала (МВР-МЧМ (МСМ)), который содержит многочастотно-модулированные символы, каждый из которых имеет выбранное количество поднесущих, которые транспортируют последовательные по времени символы сигнала МВР. Устройство обработки иногда обозначают как преобразователь уплотнения сигнала МВР в МЧМ. В устройстве обработки используется преамбула главного кадра МВР или в качестве альтернативы уникальный код, распределенный по всему кадру МВР, для синхронизации символов в потоке данных с соответствующей одной из поднесущих в соответствующих многочастотно-модулированных символах.
В соответствии с другим вариантом воплощения настоящего изобретения каждый передатчик переизлучения передает сигнал МВР-МЧМ высокой мощности с использованием распространения земной радиоволны в городе, или с вершины холма, или вдоль дороги через антенны, установленные на башнях на достаточной высоте для обеспечения расстояния передачи от 1 до 20 км в соответствии с необходимостью.
Краткое описание чертежей
Различные аспекты, преимущества и новые свойства настоящего изобретения будут более понятными при чтении следующего подробного описания совместно с прилагаемыми чертежами, на которых
фиг.1А и 1B изображают систему вещания с использованием одного спутника для передачи сигналов с временным разделением, выполненную в соответствии с одним из вариантов воплощения настоящего изобретения;
фиг.2 – вещательная система, в которой используются два спутника для передачи сигналов с временным и пространственным разделением, выполненная в соответствии с одним из вариантов воплощения настоящего изобретения;
фиг.3 – график, иллюстрирующий длительность затухания, по которой определяют величину задержки для оптимизации приема с временным разделением;
фиг.4 – одночастотная наземная сеть МВР-МЧМ (SFN), выполненная в соответствии с одним из вариантов воплощения настоящего изобретения;
фиг.5 – синхронизация символов МВР с поднесущими МЧМ в соответствии с одним из вариантов воплощения настоящего изобретения;
фиг.6 – модуляция символа МВР в поднесущую МЧМ в соответствии с одним из вариантов воплощения настоящего изобретения;
фиг.7 – вычисление разности задержки между спутником и наземной станцией переизлучения в условиях ЛПВ, а также разности задержек между наземными станциями переизлучения и центром вещания одночастотной сети в соответствии с одним из вариантов воплощения настоящего изобретения;
фиг.8 – преобразование горизонтального расстояния в расстояние ЛПВ для использования при синхронизации кадра МВР-МЧМ, изображенного на фиг.7;
фиг.9 – разделение кадра МВР на кадры МЧМ в соответствии с одним из вариантов воплощения настоящего изобретения;
фиг.10 – совмещение кадров МВР-МЧМ, излучаемых множеством станций в одночастотной сети, имеющих выбранный диаметр размещения, в соответствии с одним из вариантов воплощения настоящего изобретения;
фиг.11 – максимальный диаметр размещения наземных станций переизлучения в одночастотной сети, в соответствии с одним из вариантов воплощения настоящего изобретения.
Подробное описание предпочтительных вариантов воплощения изобретения
В спутниковых системах передачи данных может использоваться временное разделение сигналов, или комбинированное временное и пространственное разделение сигналов для уменьшения нежелательных эффектов блокирования, затенения, затухания при многолучевом распространении. Например, система передачи данных с временным разделением позволяет передавать ранний и поздний сигналы со спутника (то есть один сигнал передается с задержкой на выбранный временной интервал по отношению к другому сигналу) в одном прямом потоке данных в условиях ЛПВ. В качестве альтернативы в системе передачи данных с временным разделением производится передача раннего и позднего сигналов по соответственно двум прямым потокам данных ЛПВ. Длительность временного интервала между ранним и поздним сигналами определяется на основании длительности перерывов предоставления услуги из-за блокирования, которое требуется устранить. Требуемая величина задержки определяется на основании экспериментальных данных. Кроме того, два прямых потока данных ЛПВ могут передаваться соответственно через два разнесенных в пространстве спутника для осуществления пространственного разделения, а также временного разделения. В обоих случаях канал без задержки получает задержку в наземном передатчике переизлучения и/или в приемнике так, что ранний и поздний каналы могут быть конструктивно скомбинированы.
Оба вышеуказанных варианта воплощения непосредственного спутникового разнесения в условиях ЛПВ могут быть скомбинированы с сетью наземных станций переизлучения для предотвращения блокирования зданиями, мостами и туннелями, которое проявляется как в населенных пунктах, так и в крупных городах, где прямой прием по ЛПВ со спутников не всегда доступен. Наземная сеть может содержать от одной до произвольного количества станций в соответствии с необходимостью обеспечения требуемой зоны вещания. Для использования наземного переизлучения прямых спутниковых сигналов в настоящем изобретении предусмотрено преобразование сигнала МВР спутника в сигнал с многочастотной модуляцией, который, по существу, является устойчивым и надежным при использовании в условиях окружающей среды, в которой возникает многолучевое распространение радиоволн при распространении земной радиоволны в центральных деловых районах и крупного города и пригородных районах. В настоящем изобретении используется средство синхронизации и комбинирования прямых сигналов в условиях ЛПВ спутника с повторением сигнала спутника через наземную сеть переизлучения для обеспечения непрерывного постоянного приема при перемещении в областях, в которых обеспечена зона вещания только со спутника, в областях зоны вещания с городским ландшафтом, а также при переходе между двумя типами областей.
Для генерирования наземного сигнала поток символов данных МВР, принимаемый со спутника, преобразуется в сигнал с многочастотной модуляцией. Это выполняется с помощью преобразования ОБПФ (IFFT) (обратное быстрое преобразование Фурье), при котором символы потока данных МВР синхронно и точно назначаются отдельным поднесущим МВР-МЧМ одинаково для всех наземных станций переизлучения наземной одночастотной сети. Сигнал МВР-МЧМ известен как сигнал, устойчивый к помехам многолучевого распространения радиоволн, и обеспечивает надежный прием в областях, где прием в пределах прямой видимости в существенной степени заблокирован.
1. Прием на мобильный приемник со спутников в пределах зоны прямой видимости
Ниже описана передача сигнала с использованием электромагнитных волн непосредственно между передатчиками спутника и мобильными приемниками. Как указано выше, блокирование сигнала на приемнике может возникнуть из-за появления физического препятствия между передатчиком и приемником. Кроме того, перерывы в предоставлении услуги могут происходить из-за затухания сигнала, непринятия сигнала и нарушения фазы несущей. Мобильные приемники, например, могут быть заблокированы физическими препятствиями, когда они перемещаются в туннелях, или рядом со зданиями, или деревьями, которые представляют собой помеху для приема сигнала в пределах прямой видимости (ЛПВ). Перерывы в предоставлении услуг могут возникать, с другой стороны, из-за непринятия сигналов, затухания или нарушений фазы несущей при достаточно высоком уровне отражений при многолучевом распространении сигнала по сравнению с требуемым сигналом.
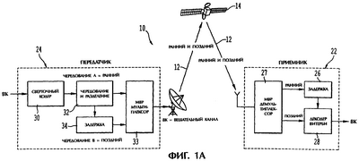
В спутниковых системах передачи данных может использоваться только временное разделение сигналов, только пространственное разделение сигналов или временное и пространственное разделение сигналов совместно для снижения влияния нежелательных эффектов блокирования связи в пределах прямой видимости, затенения и затухания из-за многолучевого распространения. Например, как показано на фиг.1А, в системе 10 спутниковой передачи данных с использованием только временного разделения могут передаваться ранняя и поздняя версии одного и того же сигнала в одном прямом потоке 12 данных в условиях ЛПВ через спутник 14 (то есть поздний сигнал представляет собой точную копию раннего сигнала, но с задержкой на выбранный интервал времени). В качестве альтернативы, как показано на фиг.1B, в системе 10 передачи данных, в которой используется только временное разделение, через спутник 14 может передаваться один поток 18 данных в условиях ЛПВ, в котором передаются только ранние сигналы, и другой поток данных ЛПВ, в котором передаются только поздние сигналы.
Спутниковая система передачи данных, в которой комбинируется пространственное и временное разделение, показана на фиг.2. Два прямых потока 16 и 18 данных в условиях ЛПВ могут передаваться соответственно через два спутника 14 и 20, которые разнесены в пространстве на расстояние, достаточное для осуществления пространственного разделения. Временное разделение осуществляется либо путем передачи смешанного сигнала из раннего и позднего сопутствующих сигналов в каждом потоке данных, или путем передачи всех ранних сигналов в одном потоке данных и всех поздних сигналов в другом потоке данных.
Для любой из конфигураций системы по фиг.1А, фиг.1B или фиг.2 сигнал без задержки (то есть ранний спутниковый сигнал) получает задержку в приемнике 22 так, что он может быть синхронно скомбинирован с поздним сопутствующим сигналом в один сигнал. Метод максимального правдоподобия для осуществления такого комбинирования описан ниже.
Сигналы, представленные на фиг.1А, фиг.1B и фиг.2 предпочтительно представляют собой сигналы вещательных каналов (ВК), по которым передаются отдельные вещательные программы. Отдельные вещательные программы назначаются вещательным каналам. По одному вещательному каналу передается вещательная программа без задержки (и, следовательно, называется ранней). По второму каналу передается такая же вещательная программа за исключением того, что она проходит с задержкой (и, следовательно, называется поздней). Эти ранний и поздний вещательные каналы могут рассматриваться как передающие сопутствующие сигналы, при этом один канал передается на одной из несущих, и другой канал одновременно передается на противоположной транспортной несущей.
Для сигнала спутника, обозначенного на фиг.1А позицией 12, приемник 22 в системе 10, в которой используется только один прямой поток в условиях ЛПВ с одного спутника 14 для обеспечения временного разделения, принимает только одну мультиплексированную несущую с временным разделением (МВР) для воплощения такого режима работы. С этой целью в приемнике используется один радиочастотный блок, с помощью которого осуществляется прием несущей МВР. В этой ситуации для каждой мобильной вещательной программы производится передача двух прямых вещательных каналов прямого мобильного приема в условиях ЛПВ в одном и том же потоке МВР. Символы в каждом вещательном канале мультиплексированы 33 с временным разделением в пределах кадров несущей МВР вместе с другими вещательными каналами. По одному вещательному каналу проходит ранний сигнал, и по другому вещательному каналу проходит поздний сигнал. Этот процесс обеспечивает временное разделение в приемнике 22, которое улучшает возможность непрерывного постоянного приема в случаях динамического блокирования, которые могут возникать в транспортном средстве, передвигающемся, например, по дороге.
Как показано на фиг.1B, с помощью сигналов 16 и 18 спутника в системе 10 формируются два потока 27 МВР и производится демультиплексирование и декодирование соответствующих вещательных каналов из этих потоков МВР, при этом приемник 22 содержит оборудование, предназначенное для приема и обработки двух спутниковых несущих МВР. С этой целью в приемнике 22 имеется радиочастотный (РФ) блок, который позволяет принимать две спутниковые несущие МВР. При этом может использоваться один радиочастотный блок, имеющий достаточную полосу пропускания для приема двух радиочастотных несущих МВР. Такая конструкция является в особенности предпочтительной, когда спектры несущих МВР расположены непрерывно по отношению друг к другу. Однако в некоторых случаях две несущие не могут быть расположены в непосредственной близости и должны быть разделены по спектру так, что невозможно использовать один радиочастотный блок. В этой ситуации для приема двух несущих частот в приемнике соответствующим образом размещены и установлены два отдельных и независимых радиочастотных блока. Компоновка с одним радиочастотным блоком будет обозначаться как одноканальный спутниковый приемник, и компоновка с двумя радиочастотными секциями будет обозначаться как двухканальный спутниковый приемник.
Продолжительность временного интервала между ранним и поздним сигналами определяется по длительности перерыва в предоставлении услуги, который следует предотвратить. Длительность перерыва в предоставлении услуги определяется по распределению и размеру блокирующих помех. В городах блокирующие помехи чаще всего представляют собой здания различной высоты, расположенные на различном удалении от улиц. В сельскохозяйственных районах блокирующие помехи вероятнее всего представляют собой деревья, окаймляющие и нависающие над шоссе или над проселочной дорогой. В обоих случаях следует также учитывать мосты и туннели. Документированное исследование, которое дает основание для соответствующего выбора величины задержки для городов и шоссе, описано ниже со ссылкой на фиг.3. Временная задержка между ранним и поздним сигналами предпочтительно представляет собой системный параметр, который является функцией физического распределения блокирующих предметов в условиях ЛПВ и скорости транспортного средства. Значение этой величины задержки для транспортных средств, перемещающихся вдоль обычных сельских дорог при типичных величинах скоростей (от 30 до 60 миль в час (48-96 км/час)), выбирают достаточно длинным для перекрытия распределения блокирующих предметов. Величину задержки выбирают такой, чтобы она была предпочтительно достаточно длительной для устранения предпочтительно от 97% до 99% блокирующих предметов, но не настолько длительной, чтобы существенно усложнить конструкцию приемника (например, настолько, чтобы сложность и/или стоимость приемника стали бы коммерчески неприемлемыми). В качестве примера рассмотрим длительность такого блокирования для автомобиля, проходящего под мостом шириной 50 футов (15 м) со скоростью 30 миль в час (48 км/час). Условия ЛПВ со спутника блокируются при этом на 1,136 секунды, и задержка позднего сигнала должна быть, по меньшей мере, равной этому значению.
Измерения условий блокирования были проведены для сельских дорог и описаны в публикации авторов Лутс и др. (Lutz et al.) “Наземная мобильная передача данных со спутника – модель канала, модуляция и контроль ошибок” (“Land Mobile Satellite Communication – Channel Model, Modulation and Error Control”), Proceedings ICDSC-7, Международная конференция по цифровой спутниковой передаче данных, 12-16 мая 1986 года. Используя данные этой публикации, был построен график зависимости доли наблюдаемого блокирования от доступной глубины границы замирания для смешанных препятствий, таких как мосты, структуры, установленные вдоль дороги, здания и деревья. Эти данные, представленные на фиг.3, показывают, что для глубины границы замираний 12 дБ, время задержки находится в пределах от 2 до 8 секунд. Глубина границы замирания представляет собой разность между уровнем сигнала, поступающего со спутника, и уровнем неприемлемого приема сигнала. Так, например, если сигнал со спутника будет достаточно сильным для обеспечения границы замирания 12 дБ, на фиг.3 можно видеть, что максимальное использование приема с временным разделением обеспечивается при задержке от 6 до 8 секунд.
Другим средством улучшения приема сигнала со спутника в мобильной ситуации является устройство перемежения. Такое устройство перемежения предназначено для борьбы с выбросами в отдельных битах или ошибками символов, которые могут происходить в результате случайно изменяющихся условий передачи из-за амплитудных замираний, вызванных многолучевым распространением радиоволн, и/или блокирования в течение довольно длительного периода для компенсации преднамеренных действий по исправлению ошибок в случае использования комбинации кодирующих устройств 30 прямого исправления ошибок и дополняющих их декодеров 28 максимального правдоподобия. Такое перемежение выполняется путем переупорядочения временной последовательности битов или символов сообщения в передатчике для случайного и равномерного распределения их по временному окну, равному длительности перемежения. В результате этого соседние биты или символы входящего сообщения разделяются как можно дальше друг от друга. Если в перемежающихся битах или символах сообщения появляется всплеск ошибки при их передаче на приемник, действие взаимодополняющего обращенного устройства перемежения в приемнике для восстановления исходного порядка приведет к рассеиванию битов или символов с ошибкой по всему временному окну устройства перемежения, в результате чего они проявятся в декодере прямого исправления ошибок (ПИО) в виде случайно распределенных коротких выбросов битов с ошибками. Декодер (ПИО (FEC)) (прямого исправления ошибок) легко корректирует такие ошибки. Предполагается, что использование таких устройств перемежения в комбинации с кодирующими устройствами и декодерами ПИО составляет часть обработки, используемой при сквозной передаче сообщений или сигналов, пересылаемых в описываемой системе. Устройства перемежения, по существу, установлены после кодирующих устройств 30 ПИО в передатчике 24 и перед декодерами 28 ПИО в приемнике 22. Длительность временного окна таких устройств может выбираться в диапазоне от одного до нескольких кадров МВР.
Устройства перемежения также могут использоваться в форме перекрестных устройств перемежения. Перекрестное устройство перемежения содержит пару устройств перемежения, которые работают с парой битовых потоков сообщения так, что каждое устройство перемежения работает приблизительно с половиной битов каждого потока сообщения. Биты потока сообщений разделены и упорядочены псевдослучайно и равномерно. Например, на вход устройства перемежения приходит пара потоков сообщений. Перекрестное устройство перемежения воздействует на биты так, что генерируются два выходных поперечно перемежающихся потока. Устройство перемежения разделяет биты каждого входного потока сообщения по псевдослучайному закону, подавая их в виде двух выходных перекрестно-перемежающихся потоков. При этом биты разделены друг от друга как можно дальше в каждой паре перекрестно-перемежающихся потоков. Каждый из перекрестно-перемежающихся потоков транспортирует половину содержания каждого входного сообщения. Каждый поток передается по различным путям. При использовании в комбинации с исходным сверточным кодером, выход которого разделен на два потока сообщения, для формирования входных сигналов для прекрестного перемежения, и декодером Витерби (например, с использованием сверточного декодера, соответствующего исходному кодеру) поток битов сообщения, который представлял собой входной поток для исходного сверточного кодера, повторно кодируется по методу максимального правдоподобия на выходе декодера Витерби. Этот процесс позволяет устранить ошибки битов при передаче, возникающие в виде всплесков, вызванные блокированием, затенением и замираниями в результате многолучевого распространения, которые возникают при использовании путей непосредственного приема в зоне прямой видимости со спутника на мобильные приемники.
Для оптимизации мобильного приема поздний вещательный сигнал и задержанный ранний вещательный сигнал совмещают как можно более точно так, чтобы их соответствующие символы совпадали. Такое совмещение обеспечивается благодаря задержке принятого раннего вещательного сигнала на ту же величину, что и задержка позднего вещательного сигнала, которую он получил в передатчике 24. На фиг.1А и 1B показаны соответствующие принципы сквозной передачи данных. В приемнике 22 посимвольное совмещение двух вещательных сигналов выполняется как можно более точно с использованием фиксированной задержки 26, с помощью которой производится совмещение раннего сигнала в пределах менее половины периода кадра вещательного сигнала, после чего производится переменная задержка, регулировка которой позволяет синхронизировать преамбулы заголовков управления услугами (ЗУУ) (SCH) до символа в раннем и позднем вещательных сигналах. ЗУУ описаны в заявке на американский патент, регистрационный номер 09/112,349, поданной 8 июля 1998 года, которая полностью приводится здесь в качестве ссылки. Такое совмещение символов для раннего и позднего вещательных сигналов позволяет осуществлять комбинирование с максимальным правдоподобием символов раннего и позднего сигналов, поступающих в декодер 28 Витерби приемника.
Комбинирование с максимальным правдоподобием раннего и позднего сигналов осуществляется в передатчике 24 путем получения их с выхода сверточного кодера 30 и разделения его выходного сигнала на ранний и поздний сигналы. Разделение завершает процесс известный, как передавание, обозначенный позицией 32. Предпочтительно передавание включает выбор половины битов, прошедших исходное сверточное кодирование для раннего сигнала, и другой половины битов для позднего сигнала. Производится точный выбор битов, составляющих каждую половину, таким образом, оптимизируется общая характеристика коррекции битовых ошибок для сквозной передачи данных. В приемнике рекомбинация соответствующим образом синхронизированных ранних и поздних частей вещательного потока с использованием декодера Витерби, реализующего алгоритм «мягкого решения», обеспечивает оптимизированное комбинирование с максимальным правдоподобием. При такой рекомбинации используются оценки отношения сигнал-шум для каждого рекомбинируемого бита для создания комбинированного результата с максимальным правдоподобием.
В качестве альтернативы вместо комбинирования с максимальным правдоподобием может использоваться простое переключение раннего и позднего вещательных сигналов. В этом случае в приемнике 22 производится переключение между ранним и поздним вещательными сигналами. На выход приемника 22 предпочтительно поступает поздний вещательный сигнал, пока этот поздний вещательный сигнал не будет заблокирован. В случае, когда он заблокирован, приемник 22 переключается на ранний вещательный сигнал с задержкой. Совмещение с использованием соответствующей величины задержки обеспечивает отсутствие разрыва по времени в момент переключения приемника 22 между поздним и ранним вещательными сигналами. Совмещение должно производится в пределах 10 миллисекунд или меньше для исключения слышимых разрывов. Сигнал будет потерян только в случае, когда ранний и поздний вещательные сигналы будут заблокированы одновременно. Это случается только, если длительность одновременного блокирования превышает время задержки между ранним и поздним сигналами. Однако комбинирование с максимальным правдоподобием по алгоритму Витерби имеет существенное преимущество в отношении сигнал-шум, составляющее приблизительно 4,5 дБ по сравнению с простым переключением.
1.1 Воплощение способа с использованием только временного разделения с двумя непосредственными потоками МВР в условиях ЛПВ с одного спутника
Два потока МВР, предназначенные для мобильного приема, передают с одного и того же спутника 14. Один поток МВР несет символы раннего вещательного сигнала, и другой поток МВР несет символы позднего вещательного сигнала. Вещательные сигналы предпочтительно содержат множество вещательных каналов (ВК). Количество вещательных каналов ВК, предназначенных для мобильного приема с разделением, может изменяться от одного до всех доступных каналов. Вещательные каналы ВК, не используемые для мобильного приема с разделением, могут использоваться для передачи обычных услуг без разделения в условиях ЛПВ, предоставляемых на стационарные, неподвижные и портативные радиоприемники. Ранний и поздний вещательные каналы ВК обеспечивают временное разделение на мобильном приемнике, что улучшает возможность непрерывного приема в условиях динамичного блокирования, которое возникает в движущемся транспортном средстве. Время 34 задержки между ранним и поздним каналами ВК, по которым передаются два потока МВР, представляет собой системный параметр, который определяют таким же образом, как описано выше, для раннего и позднего вещательных каналов ВК, по которым проходит один и тот же поток МВР.
В приемнике 22 пару вещательных каналов ВК, один из которых представляет собой поздний поток МВР и другой является задержанным ранним потоком МВР, обрабатывают таким же образом, как поздний и ранний вещательные сигналы, описанные выше со ссылкой на фиг.1А. Приемник 22 принимает две несущих МВР для воплощения этого режима работы.
1.2 Воплощение временного и пространственного разделения с использованием двух непосредственных потоков МВР в условиях прямой видимости, поступающих от двух пространственно разделенных спутников
Производится передача двух потоков МВР, предназначенных для непосредственного мобильного приема со спутника в условиях ЛПВ, то есть по одному потоку 16 производится передача поздних сигналов и по другому потоку 18 производится передача ранних сигналов. Потоки 16 и 18 поступают соответственно от двух пространственно разнесенных спутников 14 и 20, как изображено на фиг.2. Это позволяет осуществлять прием с пространственным разделением, а также временным разделением. Два спутника 14 и 20 в достаточной степени разнесены друг от друга в пространстве для обеспечения двух различных путей передачи потоков МВР. Таким образом, обеспечивается возможность приема с пространственным разделением, поскольку если один из путей будет заблокирован, маловероятно, что другой путь также будет заблокирован. По одному потоку 16 МВР поступают поздние вещательные каналы ВК, и по другому потоку 18 МВР поступают ранние вещательные каналы ВК для обеспечения временного разделения на приемнике 22 и улучшения обеспечения непрерывного приема в условиях динамического блокирования, которые возникают в движущемся транспортном средстве. Время 34 задержки между ранним и поздним потоками МВР представляет собой системный параметр, который определяется, как описано выше, для раннего и позднего вещательных сигналов демультиплексированных из одного сигнала МВР.
1.3 Воплощение временного и пространственного разделения с использованием двух прямых вещательных каналов в условиях прямой видимости, каждый из которых поступает через один из двух пространственно разнесенных спутников
Два вещательных канала (то есть один вещательный канал ВК, по которому поступает информация позднего сигнала, и другой вещательный канал ВК, по которому поступает информация раннего сигнала), предназначенные для непосредственного мобильного приема со спутника в условиях ЛПВ, передаются каждый со своего из двух пространственно разнесенных спутников 14 и 20, как изображено на фиг.2. Потоки 16 и 18 МВР не обязательно предназначены для всех ранних или всех поздних сигналов, но скорее каждый из них позволяет передавать комбинацию из двух сигналов. Это позволяет осуществлять прием с пространственным разделением, а также с временным разделением. Два спутника 14 и 20 в достаточной степени разнесены друг от друга в пространстве для обеспечения двух различных путей поступления потоков МВР. При этом обеспечивается возможность приема с пространственным разделением, поскольку, если один из путей будет заблокирован, маловероятно, что другой путь также будет заблокирован. Использование раннего и позднего вещательных каналов ВК обеспечивает временное разделение на приемнике 22 и улучшает возможность непрерывного приема в условиях динамического блокирования, которое возникает в движущемся транспортном средстве. Время 34 задержки между ранним и поздним потоками МВР представляет собой системный параметр, который определяется, как описано выше, для раннего и позднего вещательных сигналов, демультиплексированных из одного сигнала МВР.
На приемнике 22 пару вещательных сигналов (то есть один передаваемый поздний сигнал и другой передаваемый ранний сигнал) обрабатывают таким же образом, как и поздний и ранний вещательные сигналы, описанные выше при рассмотрении фиг.1А и 1B. Для воплощения этого рабочего режима приемник 22 принимает две несущие МВР. Пространственное разделение, по существу, осуществляется с помощью тех же схем обработки, которые выполняют временное разделение, как описано выше, то есть используется комбинированная обработка 28 Витерби с максимальным правдоподобием, в которой одновременно воплощаются как временное разделение, так и пространственное разделение. В качестве альтернативы может использоваться простое переключение для выбора сигнала с лучшим качеством приема.
Как указано выше, прием с пространственным разделением приводит к тому, что поскольку ранний вещательный сигнал приходит со спутника 14, поздний вещательный сигнал приходит со спутника 20 (или наоборот), и спутники 14 и 20 расположены в различных местах в пространстве, как показано на фиг.2. Различные положения в пространстве могут быть получены, благодаря использованию спутников, расположенных в различных точках на геосинхронных орбитах, или двух спутников на различных эллиптических орбитах, наклоненных по отношению к экватору и с соответствующей синхронизацией сидерической фазы дня, для обеспечения непрерывного охвата пространственного и временного разделения, например, в целевой области. В последнем случае необходимо использовать, например, три или четыре спутника на различных эллиптических орбитах с высоким наклоном, два спутника из которых используются одновременно для обеспечения пространственного разделения на высоких широтах.
2. Наземное переизлучение для приемников, у которых заблокирована зона прямой видимости со спутника
Любые из вышеописанных вариантов воплощения непосредственного спутникового разнесения в условиях ЛПВ могут быть скомбинированы с сетью 36 наземных передатчиков переизлучения (фиг.4) для исключения блокирования, создаваемого зданиями, мостами и туннелями, которые проявляются как в населенных пунктах, так и в сельскохозяйственных районах, где непосредственный прием со спутников в условиях ЛПВ может не быть доступным, и для поддержания непрерывного приема сигналов вещательных программ мобильными приемниками. Наземная сеть 36 может содержать от одной до произвольного количества станций 38 в соответствии с необходимостью для рабочей зоны радиовещания, например, в городе или на шоссе.
Следует понимать, что также существует вариант мобильного приема, в котором используется система непосредственной вещательной передачи без временного или пространственного разделения, которая только соединена с наземной сетью переизлучения. Такой вариант эффективен в районах зоны охвата лучом спутника, где, например, углы возвышения ЛПВ на спутник составляют 85° и больше, и блокирование препятствиями происходит редко. При таких условиях наземное переизлучение требуется только в нескольких, относительно небольших изолированных заблокированных районах. Выбор порогового уровня для переключения между спутником и наземным приемом описан ниже.
Для наилучшего использования наземного переизлучения или непосредственных сигналов со спутника, повторяемых по наземной сети, они должны быть синхронизированы и скомбинированы с прямыми сигналами в условиях ЛПВ со спутника в мобильном приемнике. В соответствии с настоящим изобретением ниже будет описана синхронизация для осуществления мобильного разнесенного приема с использованием одного или нескольких непосредственных потоков со спутника в условиях ЛПВ с использованием наземного переизлучения или без него по сети 36 наземных ретратранляторов. В нижеследующем описании предполагается, что передача сигналов производится с использованием мультиплексирования с временным разделением. Это не означает, что невозможно использовать другие схемы передачи, такие как мультиплексирование с частотным разделением или мультиплексирование с кодовым разделением каналов в любой комбинации таких способов мультиплексирования.
Несущие, непосредственно принимаемые со спутника в условиях ЛПВ, оборудованных для пространственного и временного разделения, позволяют передавать сообщения на мобильные приемники в неблокированных или частично блокированных сельскохозяйственных областях с высокой надежностью, с использованием вышеописанных способов. Однако низкие, средние и высотные здания, которые часто встречаются в городах, могут значительно заблокировать прием со спутника в условиях ЛПВ. При этом требуется использовать наземную систему переизлучения для улучшения приема со спутника в условиях ЛПВ и обеспечения приема с высокой надежностью как в городах, так и в сельской местности.
Для преодоления блокирования в условиях ЛПВ используют сеть 36 наземных станций 38 переизлучения, расположенных в различных местах в городе, как показано на фиг.4. Каждая наземная станция 38 переизлучения производит передачу сигнала, надежно защищенного от интерференции, образующейся в результате многолучевого распространения, и повторяет прямой цифровой поток МБР со спутника в условиях ЛПВ или выбранные компоненты (например, вещательные каналы) этого потока МВР. Все наземные станции 38 переизлучения предпочтительно производят передачу по существу на одной и той же несущей частоте. Ширина полосы пропускания их сигналов совпадает друг с другом. Такую сеть часто называют сетью с одной частотой. Используются, например, такие виды обработки сигналов, как 1) мультиплексирование с временным разделением – многочастотная модуляция (МВР-МЧМ), при этом используется надежная технология многолучевого распространения, известная как ортогональное мультиплексирование с делением частоты (ОМДЧ) для передачи сигнала МВР; 2) адаптивный режим МВР, при котором производится передача сигнала МВР, содержащего специальную периодическую цифровую настроенную последовательность, которая позволяет с помощью многолучевого адаптивного эквалайзера, выполненного на основе коррелятора, многоотводной линии задержки и дополнительной схемы обработки сигнала производить управление выходными сигналами эквалайзера для конструктивного рекомбинирования отдельных принимаемых сигналов, поступающих по различным путям распространения, для восстановления передаваемого сигнала; 3) множественный доступ с кодовым разделением (МДКР)(CDMA), в котором спутниковый сигнал МВР разделен на составные части, такие как каналы основного потока (КОР) (PRC), и эти части повторно передаются в виде множества одновременных сигналов МДКР, которые занимают общую полосу пропускания и по отдельности идентифицируются и дискриминируются в приемнике с помощью цифровых кодов, неравномерно назначаемых для каждого КОР. КОР описаны в вышеуказанной заявке на американский патент, регистрационный номер 09/112,349, поданной 8 июля 1998 года, которая приводится здесь в качестве ссылки. Вещательные сигналы ВК и МВР могут быть разделены, например, на КОР. КОР могут передаваться на несущих, кодированных МДКР. Приемник может накапливать кодированные МДКР КОР для ВК и осуществлять повторную сборку ВК.
Ниже выбран вариант воплощения с использованием сигнала МВР-МЧМ для наземного переизлучения, термин сигнал МВР-МЧМ используется для обозначения модуляции цифровых символов сигнала МВР, принятых непосредственно со спутника на многочастотно-модулированные символы (МЧМ символы). Важным свойством этого варианта воплощения является синхронизация наземных переизлучаемых сигналов МВР-МЧМ для потока МВР, принятого со спутника. Следует понимать, что при такой синхронизации между сигналами МВР, передаваемыми через спутник, и любыми другими сигналами, используемыми для наземного переизлучения, необходимо также учитывать разности в задержке на распространение между спутником и наземными станциями переизлучения и между наземными станциями переизлучения и приемниками.
2.1 Воплощение наземного переизлучения с использованием МВР-МЧМ
Возможны различные варианты передачи со спутника. Они представляют собой: 1) один непосредственный поток МВР со спутника в условиях ЛПВ с использованием одного и того же спутника, производящего передачу вещательных сигналов без какого-либо временного или пространственного разделения; 2) один прямой поток МВР со спутника в условиях ЛПВ с одного и того же спутника, при котором производится передача как раннего, так и позднего вещательных сигналов; 3) два различных потока МВР со спутника в условиях ЛПВ с одного и того же спутника (то есть по одному потоку производится передача поздних каналов ВК и по другому потоку производится передача ранних каналов ВК); 4) два прямых потока МВР с различных спутников в условиях ЛПВ (например, один поток МВР, по которому производится передача поздних каналов ВК, и другой поток МВР, по которому производится передача ранних каналов ВК, или так, что в каждом из потоков производится передача комбинации позднего и раннего каналов ВК так, что для каждого позднего канала ВК сопутствующий ранний канал передается по другому потоку МВР).
В первом случае, когда не используется временное или пространственное разделение, поток МВР, по которому передается ВК, принимается и непосредственно повторяется наземной станцией 38 переизлучения с использованием сигнала МВР-МЧМ. В этом случае приемник вводит задержку в принимаемый сигнал МВР со спутника в условиях ЛПВ за счет задержек на обработку и передачу в пути наземного переизлучения. В трех других случаях производится задержка потока МВР, по которому производится передача ранних каналов ВК и повторение его наземной станцией 38 переизлучения с использованием сигнала МВР-МЧМ.
Битовые потоки или битовые потоки МВР, выбранные и передаваемые с помощью сигнала МВР-МЧМ, предпочтительно переносят содержание, идентичное поступающему со спутника. В качестве альтернативы в МВР-МЧМ могут выбираться из спутниковых потоков МВР только те каналы ВК, которые предназначены для мобильного приема. В последнем случае остающуюся емкость потоков МВР может использовать внедряемое местное содержание вещательного канала, предназначенного для услуг мобильных приемников.
В соответствии с настоящим изобретением для конфигураций, в которых используется прием с временным разделением, в каждой наземной станции вводится задержка, которая регулируется таким образом, чтобы время прихода раннего канала ВК в центр наземной зоны радиовещания совпадало с временем прихода сопутствующего позднего канала ВК со спутника. Такая задержка включает регулировки, учитывающие разность в расстояниях между каждой станцией 38 и спутником, а также разности расстояния между каждой станцией 38 и центром 42 области 40 наземной зоны вещания и задержки на обработку, связанную с преобразованием потока МВР ЛПВ в поток МВР-МЧМ.
Из-за требования близкого совпадения времени прихода сигнала наземного переизлучения и позднего сигнала со спутника в центр 42 наземной зоны радиовещания минимальная разность времени их прихода получается внутри и на внешней границе области 40 наземной зоны вещания. В соответствии с этим при выходе из области 40 наземной зоны вещания и входе в нее производится “переключение” между наземным и спутниковым сигналами без заметного прерывания, например, принимаемого аудиосигнала. Такой же порядок совмещения, применяемый в отношении каждой наземной ретрансляторной станции, обеспечивает совпадение по времени и фазе символов МЧМ каждой наземной станции, поступающих в центр наземной зоны вещания, что оптимизирует качество приема на мобильной платформе. По мере того, как мобильный приемник уходит от центра наземной зоны вещания, значения времени прихода МЧМ становятся разбросанными по времени и фазе. Конструктивно разброс может достигать величины защитного интервала, который вводится в период символа МЧМ, и обычно составляет 60 микросекунд и позволяет компенсировать расстояние удаления до 9 км от центра зоны вещания.
В соответствии с настоящим изобретением каждый передатчик переизлучения производит переизлучение своего сигнала МВР-МЧМ с использованием распространения земной радиоволны, получаемой с помощью мощного передатчика. Уровень излучаемой мощности может не превышать 0 дБВт для малых областей зоны вещания с редким блокированием до 40 дБВт для больших областей зоны вещания, таких как в центральных деловых районах в больших городах. Сигнал излучается с вышек на высоте, достаточной для преодоления блокирования окружающих предметов, с учетом естественных свойств местности, таких как холмы и высокие здания. Кроме того, сигнал излучают вдоль шоссейных дорог с помощью соответствующим образом направленных антенн с узким лучом излучения, установленных на вышках на высоте, достаточной для обеспечения расстояния приема от 2 до 16 км с использованием земных радиоволн.
2.2 Переключение между спутниковым сигналом ЛПВ и наземным переизлучаемым сигналом
Термин «переключение» относится к случаю, который происходит, когда транспортное средство, в котором производится мобильный прием, осуществляет переход между приемом МВР в условиях ЛПВ со спутника и наземным приемом МВР-МЧМ с наземной одночастотной системой. Возможны два способа переключения. Оба они уже были описаны в предыдущих разделах. Технология “переключения” может быть осуществлена путем совмещения преамбул заголовков управления услугами (например, путем совмещения наземных и спутниковых каналов ВК их корреляционных пиков). Этот процесс позволяет точно синхронизировать наземные и спутниковые символы каналов ВК и осуществлять их комбинирование с максимальным правдоподобием с помощью декодера 28 Витерби.
В альтернативном варианте вышеуказанной технологии используется переключение между наземным и спутниковым сигналом вместо их комбинирования с максимальным правдоподобием. Мобильные приемники настраиваются и принимают одну или обе несущих спутникового сигнала МВР, принимаемого в условиях ЛПВ, и наземного излучения одночастотной сети на несущих МВР-МЧМ. Несущие обоих типов передают одни и те же каналы ВК. В любой заданный момент приемник 22 предпочтительно выбирает тот сигнал (то есть ЛПВ МВР или МВР-МЧМ), который обеспечивает наилучшее качество канала ВК. Качество приема может быть измерено с помощью частоты появления ошибочных битов (ЧОБ)(BER) в каждом принятом потоке битов. Переключение осуществляется на основании различий ЧОБ следующим образом:
Переключение с ЛПВ МВР на МВР-МЧМ, когда МВР-МЧМ ЧОБ ЛПВ МВР ЧОБ – 1 ЧОБ; и
Переключение с МВР-МЧМ на ЛПВ МВР, когда ЛПВ МВР ЧОБ МВР-МЧМ ЧОБ – 2 ЧОБ.
Использование 1 ЧОБ и 2 ЧОБ, как указано выше, предотвращает возникновение паразитных колебаний при переключении между ЛПВ МВР и МВР-МЧМ. Если 2 ЧОБ > 1 ЧОБ, переключение с МВР-МЧМ на ЛПВ МВР будет более трудным, чем с ЛПВ МВР на МВР-МЧМ. Это является предпочтительным, поскольку при входе в область зоны вещания в городе приемник 22 предпочтительно должен оставаться в режиме приема МВР-МЧМ, как только он начнет принимать сигналы МВР-МЧМ. В качестве примера этого режима работы предположим, что в области 40 ЛПВ МВР ЧОБ=10-1 и что 1 ЧОБ= 2 ЧОБ=10-2. Переключение с ЛПВ МВР на МВР-МЧМ происходит при 0,01-0,001=0,009, и переключение с МВР-МЧМ на ЛПВ МВР вновь происходит при = 0,01=0,001=0,011. Таким образом, более легко перейти с ЛПВ МВР на МВР-МЧМ, чем с МВР-МЧМ обратно на ЛПВ МВР. Если задать 2 BER=4×10-2, переключение обратно с МВР-МЧМ на ЛПВ МВР будет происходить при МВР-МЧМ ЧОБ=0,015, что делает более трудным возврат на ЛПВ МВР после того, как будет выбран наземный режим МЧМ. Вместо ЧОБ могут использоваться некоторые другие эквивалентные меры качества, такие как отношение сигнал-шум.
2.3 Воплощение наземной передачи МВР-МЧМ
Символы данных спутникового потока МВР в условиях ЛПВ предпочтительно точно совмещены с поднесущими ОМДЧ в пределах символа данных МВР-МЧМ для достижения оптимальной работы одночастотной системы. В представленном варианте воплощения каждый символ данных МВР содержит 2 бита. В соответствии с настоящим изобретением точно те же самые 2 бита назначают одной и той же поднесущей ОМДЧ в сигнале МВР-МЧМ, генерируемом при каждом наземном переизлучении одночастотной системы 40. Такое совмещение выполняется идентично в каждой станции 38 наземного переизлучения, поскольку любое отклонение от этого совмещения в любой наземной станции переизлучения сети может превратить МВР-МЧМ в источник помех и, следовательно, снизить качество приема.
Для совмещения символов данных МВР для каждого символа МЧМ сигнала МВР-МЧМ используется способ, изображенный на фиг.5. Вначале символы данных МВР из потока МВР, в котором производится передача ранних каналов ВК, принятых со спутника, выстраивают в последовательность непрерывных по времени блоков. Каждый символ МВР содержит 2 бита. Каждый блок 44 символов данных МВР содержит М столбцов и N строк. М и N являются конструктивными параметрами, определяемыми конструктивными характеристиками преобразователя вида уплотнения каналов МВР-МЧМ. Самые ранние символы МВР заполняют самую первую строку матрицы, следующие после самого раннего – следующую строку и так далее, до тех пор, пока последняя строка не будет заполнена символами кадра МВР. Каждый блок 44 поступает на вход блока 46 обратного быстрого преобразования Фурье (ОБПФ). В результате работы ОБПФ формируется один символ 48 МЧМ, содержащий N несущих ОМДЧ, то есть одну несущую для каждого символа данных строки МВР. Каждая несущая ОМДЧ подвергается дифференциальной модуляции по методу квадратурной фазовой манипуляции (КФМ)(QPSK) по отношению к добавленной несущей опорной фазы. Таким образом, каждый символ МЧМ содержит N+1 несущих. Этот процесс последовательно повторяется для всех М столбцов блока символов данных МВР для формирования полного кадра 50 символа МЧМ. М столбцов блока 44 МВР формирует М последовательных по времени символов 48 МЧМ, каждый из которых содержит N несущих плюс одну несущую опорной фазы. Таким образом составляют кадр 50 МВР-МЧМ. Общее количество символов данных МВР, передаваемых в кадры МВР-МЧМ, составляет М×N. Следует понимать, что значения М=8 и N=6, показанные на фиг.5, приведены только в качестве иллюстрации. Такие значения обычно составляют порядка, например, М=960 и N=116.
Для оптимальной работы одночастотной сети МВР-МСМ каждый символ 48 МВР-МЧМ, передаваемый каждой наземной станцией 38 переизлучения в сети 36, несет одинаковые символы данных МВР блока на одной и той же несущей частоте каждого символа МЧМ; в противном случае невозможно будет осуществлять конструктивную рекомбинацию среди множества символов 48 МВР-МЧМ, поступающих на приемник 22 от различных наземных станций 38 переизлучения в одночастотной сети 36. Синхронизация символов при модуляции из МВР – в -МЧМ и процесс совмещения выполняются независимо, но точно таким же способом в каждой наземной станции переизлучения.
Формирование символов 48 МЧМ в кадры 50 МВР-МЧМ дополнительно представлено на фиг.6. Поток МВР, передающий 2 бита на символ, со скоростью R символов (например, скорость передачи битов BR=2×R) представлен на входе ОБПФ в наборах по Nмвр символов 52. Символы предпочтительно записываются в виде комплексных значений I и Q и составляются в виде колонок матрицы перед подачей в ОБПФ. ОБПФ 46 с размерностью 2n производит преобразование NMBP МВР символов 52 в NMBP несущих посредством квадратурной фазовой манипуляции (КФМ) для генерирования каждого символа МВР-МЧМ, как обозначено позицией 54 на фиг.6. Значения I и Q, указанные выше, непосредственно определяют фазу каждой несущей МЧМ ОМДЧ с модуляцией КФМ. Каждый символ МВР-МЧМ поэтому содержит NMBP несущих ОМДЧ, которые занимают период длительностью Tsym=NMBP/R. Следовательно, скорость символов МЧМ=R/NMBP. Количество выборок временного домена на период равно 2n. Следовательно, частота модуляции выходных символов МЧМ временного домена от ОБПФ 46 составляет 2n R/NMBP. Как обозначено позицией 56, генерируется защитный интервал, который представляет собой часть периода символа. Это действие приводит к сжатию по времени (1- )-1 выходного сигнала ОБПФ. Для сборки кадра МВР-МЧМ один раз добавляют синхрослово 49 кадра для каждого из символов МЧМ ММЧМ, таким образом, дополнительно умножая сжатие по времени на (ММЧМ+1)/ММЧМ, как обозначено позицией 58. Ширина полосы пропускания сигнала МВР-МЧМ составляет, таким образом, R(R/S)((1- )-1)(ММЧМ+1)/ММЧМ.
Параметры, используемые при модуляции символа из МВР – в – МЧМ (например, частота R символов в потоке МВР, количество NMBP символов МВР на символ МЧМ, количество 2n коэффициентов ОБПФ, доля защитного интервала и длительность ММЧМ кадра МВР-МЧМ), выбирают для получения целого числа кадров 50 МВР-МЧМ на кадр 64 МВР (фиг.9). Такой выбор позволяет использовать преамбулу главного кадра МВР для синхронизации кадра МВР-МЧМ. ОБПФ принимает 2n входных коэффициентов одновременно. Количество 2n должно быть равным или большим NMBP. Таким образом, только NMBP поднесущих ОМДЧ с ненулевыми коэффициентами 54 спектра допускаются в качестве входных сигналов в ОБПФ 46. Выбранные значения коэффициентов NMBP представляют собой значения, сцентрованные в окне спектра ОБПФ. Неиспользуемые коэффициенты ОБПФ на краях окна спектра ОБПФ устанавливаются в нулевое значение.
2.4 Синхронизация символов данных МВР и символов данных МВР-МЧМ
Как указано выше, наземные станции 38 переизлучения МВР-МЧМ предпочтительно работают в одночастотной сети 36. Одночастотная сеть 36 содержит множество наземных станций 38 переизлучения, которые производят повторную передачу, по меньшей мере, части раннего спутникового сигнала МВР, принятого в условиях ЛПВ. Все наземные станции переизлучения производят передачу в полосе пропускания одной несущей частоты. Каждая наземная станция переизлучения производит повторное вещание одного и того же сигнала МВР-МЧМ, которые представляют все свои сопутствующие сигналы. Каждая наземная станция переизлучения производит прием и задержку одного и того же спутникового сигнала МВР, принятого в условиях ЛПВ, в котором производится передача ранних каналов ВК на такую величину, что демодулированный поток МВР, передаваемый на несущей частоте МВР-МЧМ, синхронизируется с моментом прихода спутникового сигнала МВР в условиях ЛПВ, в котором передается поздний канал ВК в центре зоны вещания одночастотной сети. Символы спутникового МВР, принимаемого в условиях ЛПВ, в котором производится передача ранних каналов ВК, точно и согласованно назначаются несущим ОМДЧ символов данных МВР-МЧМ, как описано ниже со ссылкой на фиг.4, 5 и 6.
Станции 38 сети 36 расположены таким образом, чтобы обеспечивалась оптимизация зоны вещания в городе и его окрестностях с использованием минимального количества станций. В соответствии с настоящим изобретением коррекция времени задержки вводится на наземных станциях 38 переизлучения так, что время прихода символов МЧМ, в которых производится передача одинаковых спутниковых символов данных МВР, будет приблизительно синхронизировано в центре 42 или центрах зоны вещания. Требуется использовать три типа коррекций времени задержки. Две коррекции времени задержки включают коррекции расстояния. Одна представляет собой коррекцию разностей расстояния между отдельными наземными станциями переизлучения и спутником, и вторая представляет собой коррекцию расстояний между каждой наземной станцией переизлучения и центром зоны вещания одночастотной сети. Вычисление этих двух коррекций задержки описано ниже.
Третья коррекция задержки вводится с тем, чтобы сигнал МВР-МЧМ приходил в фазе по времени с поздним спутниковым сигналом, принимаемом в условиях ЛПВ, на мобильный приемник, расположенный в центре зоны вещания одночастотной сети. Это должно быть выполнено, поскольку ранний сигнал ВК МВР в условиях ЛПВ со спутника используется для генерирования наземного сигнала переизлучения МВР-МЧМ. Приход в центр зоны вещания этого задержанного сигнала должен происходить приблизительно в то же время, что и приход позднего сигнала ВК МВР, принимаемого в условиях ЛПВ со спутника. С этой целью величина, равная задержке между ранним и поздним сигналами, должна составлять задержку для раннего сигнала ВК МВР, принимаемого в условиях ЛПВ со спутника. Некоторая величина этой задержки возникает из-за задержки на обработку в процессе преобразования уплотнения сигналов каналов МВР-МЧМ. Остальная часть задержки вводится с помощью цифровой линии задержки, через которую проходит поток МВР перед процессом преобразования уплотнения сигналов каналов МВР-МЧМ.
Может существовать несколько “центров зоны вещания” в одночастотной сети для оптимизации общего приема в границах города и его окрестностей. Подмножества наземных станций 38 переизлучения в одночастотной сети 36 могут быть сфокусированы на различные центры зоны вещания в пределах города и его окрестностей из-за особенностей расстояния, группирования и блокирования. Эти факторы влияют на две первые коррекции, указанные выше.
3. Коррекции синхронизации станции переизлучения в зависимости от расстояний до спутника и до центра зоны вещания одночастотной сети
Как указано выше, коррекции синхронизации выполняются для синхронизации моментов прихода в центр зоны вещания одночастотной сети сигналов МВР-МЧМ, переизлучаемых со станций 38 из-за
а) различных моментов времени прихода спутниковых сигналов МВР на станции 38 переизлучения со спутника 14 или спутников 14 и 20;
b) различных значений времени передачи из-за различий в расстоянии между станциями 38 переизлучения и центром зоны 42 вещания одночастотной сети.
Разности в синхронизации могут вводиться на каждой станции переизлучения путем задержки символов данных МВР потока МВР на соответствующее время в запоминающем устройстве перед вводом их в ОБПФ 46.
3.1 Разности синхронизации со спутника на станцию переизлучения МВР
Рассмотрим сеть 36 наземных станций 38 переизлучения, которые принимают сигнал МВР со спутника. При углах возвышения, отличающихся от 90°, то есть в случае расположения непосредственно над головой, расстояние между каждой наземной станцией переизлучения и спутником будет различным. Таким образом, существуют различия в диапазоне наклона между местом расположения каждой наземной станции переизлучения и спутником и поэтому во времени прихода сигнала МВР. Кроме того, расстояние между каждой наземной станцией 38 переизлучения и центром зоны 42 вещания будет различным. Следующий сценарий иллюстрирует величину этих различий во времени, возникающих из-за различий в расстоянии.
Для целей иллюстрации рассмотрим одночастотную сеть 36 переизлучения, которая содержит несколько наземных станций 38 переизлучения, географические положения которых выбраны для адекватного охвата зоны вещания в городе и соответствующих пригородных районах. В относительно простых, небольших и ограниченных топологиях блокирования достаточно использовать небольшое количество наземных станций переизлучения. В крупных, более сложных топологиях блокирования требуется использовать большее количество наземных станций переизлучения.
Способ вычисления разности задержки, вызываемой разностями диапазона наклонных расстояний между наземными станциями 38 переизлучения и спутником 14, показан на фиг.7. Разности расстояния измеряют между перпендикулярами к линии прямой видимости спутника, которые лежат на поверхности Земли в точках пересечения в месте расположения каждой станции. Обозначим ближайшую к спутнику станцию в сети 36 цифрой 1, самую дальнюю – m и любую промежуточную – k. Пусть разность расстояния между перпендикулярами к ЛПВ вдоль поверхности земли в направлении азимута по направлению к подспутниковой точке между любой станцией k и станцией m равно dkm. Таким образом, расстояние между самой дальней станцией m и станцией 1 составляет d1m=dmax. Следует отметить, что на фиг.7 самая дальняя станция обозначена номером 3, самая ближняя станция обозначена номером 1, и также представлена одна станция между ними, обозначенная номером 2. Пусть соответствующие расстояния наклонного диапазона ЛПВ составляют Tslantk и Tslantmax. Пусть угол возвышения на спутник составляет elv для всех станций. Следует также отметить, что азимут на подспутниковую точку предполагается приблизительно равным для всех станций. Таким образом, используя геометрический чертеж на фиг.8 для вычисления наклонного расстояния прямой видимости для различий времени прихода со спутника между станциями k и m, применимы следующие зависимости:
0< Tslantk< Tslantmax
где
Tslantmax=(d1m÷c)×cos(elv)
Tslantk=(dkm÷c)×cos(elv)
с = скорость света, м/с
Следует отметить, что компонента Tcorrectk коррекции синхронизации, применимая для любой станции k, для учета разности времени прихода сигнала со спутника на приемнике МВР задается следующим образом:
Tcorrectk= Tslantmax– Tslantk
Таким образом, чем дальше расположена станция 36 от спутника, тем меньшая коррекция синхронизации требуется. Например, рассмотрим случай, когда d1m=dmax=18 км и elv=30°. Для этого случая Tslantmax=52 мкс. Для станции 1, ближайшей к спутнику, коррекция будет равна Тcorrectl= Tslantmax=52 мкс. Для станции на максимальном расстоянии она будет равна Tcorrectm=0. Для всех других станций k, расположенных между ними, Tcorrectk задается уравнением, приведенным выше.
Для зоны вещания одночастотной станции вблизи к подспутниковой точке, угол азимута на спутник для каждой станции 38 переизлучения отличается от станции к станции и очевидно, что требуется вводить соответствующие коррекции в вышеприведенные уравнения, например контуры постоянной задержки распространения между станцией и спутником, собственно, представляют собой круги на поверхности Земли с центром в подспутниковой точке, и разность времени измеряется между этими кругами. На больших расстояниях от подспутниковой точки и в пределах, по существу, ограниченной области зоны вещания одночастотной сети круги могут рассматриваться как прямые линии.
Далее будут рассмотрены изменения в разностях времени из-за движения спутника. Вычисления, приведенные выше, применимы к плоскости азимута, пересекающей спутник, центр Земли и каждую рассматриваемую наземную станцию. Для спутника на геостационарной орбите положение спутника на орбите незначительно изменяется. Обычная практика состоит в поддержании положения спутника в пределах куба со стороной 50 миль (80,5 км), центр которого расположен в назначенном месте расположения орбиты спутника. На расстояниях от 21300 до 25600 миль (34293-41216 км), получаемое в результате отклонение по азимуту и углу возвышения, вызываемое вариациями положения спутника на геостационарной орбите, имеет незначительное влияние на вычисления коррекции времени, приведенные выше. Здесь его величина не превышает 135 наносекунд от пика до пика. Аналогично существуют разности во времени, вызванные различиями в местах расположения наземной станции в пределах системы 36. Они не превышают 31 наносекунду от пика до пика. Когда эти две величины суммируют, конечный результат не превышает 166 наносекунд от пика до пика.
3.2 Защитный временной интервал и диаметр зоны вещания одночастотной системы
Сигнал МВР-МЧМ, передаваемый с различных наземных станций 38 переизлучения, одночастотная система 36 содержит кадры 50 МВР-МЧМ, генерируемые таким образом, как описано выше со ссылкой на фиг.5 и 6. В приемнике 22, расположенном в предполагаемой области зоны 40 вещания, различные сигналы, содержащие кадры МВР-МЧМ, поступают с различных станций переизлучения. Моменты времени их прихода накладываются друг на друга так, как показано на фиг.10. Распределение наложения зависит от различий расстояния от спутника до наземной станции переизлучения и различий расстояния от станций переизлучения до приемника. Кадры МВР-МЧМ комбинируются конструктивным образом при условии, что разности момента времени их прихода на приемнике 22 не превышают ширину защитного интервала ТG, используемого для генерирования сигнала МВР-МЧМ. Если ширина этого защитного интервала равна ТG, то разности момента времени прихода от всех станций переизлучения СОЧ предпочтительно не должны превышать ТG, и разности расстояния предпочтительно не должны превышать с× ТG, где c – скорость света. Таким образом, структура для максимального диаметра размещения наземных станций 38 переизлучения в одночастотной системе 36 представляет собой вид, показанный на фиг.11, где один передатчик 38а наземной станции переизлучения расположен диаметрально противоположно по отношению к другому передатчику 38b на расстоянии D=с× ТG. Таким образом, если все наземные станции переизлучения расположены в пределах области диаметром D=с× ТG, разности времени прихода ТR кадров МВР-МЧМ на любом приемнике внутри или за пределами области равны ТR< ТG. Если, например, ТG=60 микросекунд, этот диаметр составляет 18 км.
В вышеприведенном описании предполагается, что время передачи кадра МВР-МЧМ от каждой станции 38 в одночастотной системе 36 регулируется так, чтобы моменты времени прихода для всех кадров в геометрическом центре 42 области 40 зоны вещания были, по существу, точно совмещены, то есть разности времени прихода для всех кадров 50 МВР-МЧМ были, по существу, равны нулю. С этой целью время передачи с каждой наземной станции переизлучения компенсируется для двух типов разности расстояния в соответствии с настоящим изобретением. Как указано выше, первый тип коррекции представляет собой разность расстояния между каждой станцией 38 и спутником 14. Второй тип коррекции представляет собой расстояние между местом расположения станции 38 и центром 42 области 40 зоны вещания.
3.3 Процедура вычислений для коррекции синхронизации кадра МВР-МЧМ
Процедура для осуществления требуемого совмещения кадров 50 МВР-МЧМ в центре зоны вещания наземного переизлучения будет описана ниже. Эта процедура предпочтительно выполняется независимо в каждой наземной станции 38 переизлучения одночастотной системы 36. На фиг.7 показано расположение наземных станций 38 переизлучения одночастотной системы 36, расстояния, используемые в вычислениях, и используемые уравнения. После этапов процедуры приводится иллюстративный пример.
При анализе структуры, описанной выше со ссылкой на фиг.7, можно видеть, что каждая наземная станция 38 переизлучения обозначена индексом “i”, который изменятся от i=1 для станции, расположенной на ближайшем расстоянии к спутнику в условиях ЛПВ, до i=m, для станции, расположенной на самом дальнем расстоянии от спутника в условиях ЛПВ. Остальные станции в области зоны вещания пронумерованы в порядке возрастания от 1 до m по мере увеличения расстояния в условиях ЛПВ. Затем определяются разности горизонтального расстояния dim между параллелями, проходящими через каждую станцию i вплоть до станции m. Следует отметить, что эти параллели перпендикулярны направлению ЛПВ на спутник для каждой станции. Следует также отметить, что для примера, показанного на фиг.7, число m соответствует станции 3.
Разности dim горизонтального расстояния преобразуют в разности расстояния ЛПВ путем перемножения на косинус угла возвышения, как показано на фиг.8. Затем производится измерение расстояния Dic между каждой станцией i и центром зоны с 42 вещания. Некорректируемая синхронизация ti для каждой станции i определяется с использованием
ti=[(Dic+dim*cos(elv)]/s
где elv – угол возвышения на спутник, и s – скорость света.
Вычисления по вышеприведенному уравнению производятся для каждой станции переизлучения одночастотной системы. В следующем этапе определяется минимальное значение ti, обозначенное как timin. Затем определяется скорректированная синхронизация ti для каждой наземной станции переизлучения i следующим образом:
Ti= ti- timin
Скорректированная синхронизация ti применяется в каждой наземной станции i переизлучения для совмещения времени прихода, для получения нулевого смещения во всех кадрах МВР-МЧМ в центре зоны вещания одночастотной системы. Применение такой коррекции синхронизации оптимизирует общую работу наземного переизлучения МВР-МЧМ одночастотной системы. Пример вычисления для случая m=3 иллюстрирует принципы настоящего изобретения, где dn3 представляет собой горизонтальное расстояние от станции n до самой дальней станции вдоль азимута на спутник, и Dcn представляет собой расстояние от станции n до центра зоны вещания.
Коррекция синхронизации, применяемая в каждой станции переизлучения Elv=30° |
| d13=18 км |
D1c=15 км |
t1=102 мкс |
Т1=32 мкс |
| d23=15 км |
D2c=10 км |
t2=76,6 мкс |
Т2=6,6 мкс |
| d33=0 км |
D3c=21 км |
t3=70 мкс |
Т3=0 мкс |
Величины коррекции синхронизации, приведенные выше, позволяют скомпенсировать разности расстояния между спутником и каждой станцией переизлучения, а также разности расстояния между каждой станцией переизлучения и центром зоны вещания одночастотной системы. Кроме того, на каждой станции должны быть введены задержки для компенсации смещения между ранним и поздним сигналом со спутника и задержка обработки в преобразователе вида уплотнения сигналов каналов МВР-МЧМ. Общая задержка, введенная в каждой станции, должна быть таковой, чтобы обеспечить точное совпадение позднего сигнала со спутника с сигналом, излучаемым через каждую наземную станцию переизлучения. Таким образом, если задержку между ранним и поздним сигналами обозначить как TEL и задержку обработки обозначить как Тр, то общая задержка Ti на каждой станции I будет равна
Ti=TEL– Тр– Тi
Для приведенного выше примера, если предположить, что TEL=5 секунд, Тр=02 секунды, общая задержка для каждой станции будет составлять
| |
T1-5,0-0,2-32,0×10-6 |
|
| |
T2=5,0-0,2-6,6×10-6 |
|
| |
T3=5,0-0,2 |
|
Формула изобретения
1. Способ маршрутизации вызова, по меньшей мере, между двумя функциями управления, реализованными в одном физическом управляющем объекте в системе сети связи IP, причем способ содержит этапы, на которых принимают вызов в физическом управляющем объекте в качестве первую функции управления, преобразуют вызов в формат первой функции управления и сохраняют этот формат как первую структуру данных в физическом управляющем объекте в качестве первой функции управления, таким образом, получая содержимое первой структуры (А) данных, и активизируют вторую функцию управления в физическом управляющем объекте, в котором содержимое первой структуры данных подают внутри физического управляющего объекта во вторую структуру данных (F) второй функции управления так, что содержимое второй структуры данных, по существу, является подобным содержимому, полученному на том же самом этапе во второй функции управления, с помощью внешней маршрутизации между первой и второй функциями управления вне физического управляющего объекта.
2. Способ по п.1, в котором содержимое первой структуры данных подают внутри одной модели состояния вызова для инициирования функций и завершения функций.
3. Способ по п.1, в котором содержимое первой структуры данных подают с помощью посылки сообщения (MI3) внутри физического управляющего объекта из модели состояния вызова для завершения функций в модель состояния вызова для инициирования функций.
4. Способ по п.1, в котором содержимое упомянутой первой структуры данных подают с помощью посылки первого сообщения (МП) из модели состояния вызова для завершения функций в первый процесс адаптации для преобразования содержимого первой структуры (А) данных в структуру (В) данных межсетевого элемента, посылающего сигнализацию, посылки второго сообщения (MI4) из первого процесса адаптации во второй процесс адаптации для подачи содержимого межсетевого элемента, посылающего структуру (В) данных сигнализации в структуру (Е) данных межсетевого элемента, принимающего сигнализацию, таким образом, что содержимое межсетевого элемента, принимающего структуру (Е) данных сигнализации, по существу, аналогично содержимому, полученному на том же самом этапе во втором процессе адаптации с помощью внешней маршрутизации между первой и второй функциями управления вне физического управляющего объекта, и посылки третьего сообщения (MI2) из второго процесса адаптации в модель состояния вызова для инициирования функций, для преобразования содержимого межсетевого элемента, принимающего структуру (Е) данных сигнализации, во вторую структуру (F) данных.
5. Способ по п.1, в котором содержимое первой структуры данных подают с помощью посылки первого сообщения (МI1) из модели состояния вызова для завершения функций в первый процесс адаптации для преобразования содержимого первой структуры (А) данных в структуру (В) данных межсетевого элемента, посылающего сигнализацию, выполнения обработки относительно содержимого межсетевого элемента, посылающего структуру (В) данных сигнализации, таким образом получая содержимое обработанного межсетевого элемента, посылающего структуру (С) данных сигнализации, посылки второго сообщения (MI5) из первого процесса адаптации во второй процесс адаптации для подачи содержимого обработанного межсетевого элемента, посылающего структуру (С) данных сигнализации, в структуру (D) данных обработанного межсетевого элемента, принимающего сигнализацию, так, что содержимое обработанного межсетевого элемента, принимающего структуру (D) данных сигнализации, по существу, является аналогичной содержимому, полученному на том же самом этапе во втором процессе адаптации с помощью внешней маршрутизации между первой и второй функциями управления вне физического управляющего объекта, выполнения обработки над содержимым обработанного межсетевого элемента, принимающего структуру (D) данных сигнализации, таким образом получая содержимое межсетевого элемента, принимающего структуру (Е) данных сигнализации, и посылки третьего сообщения (MI2) из второго процесса адаптации в модель состояния вызова для инициирования функций для преобразования содержимого упомянутого межсетевого элемента, принимающего структуру (Е) данных сигнализации, во вторую структуру (F) данных.
6. Способ по п.1, в котором содержимое первой структуры данных подают с помощью посылки первого сообщения (МП) из модели состояния вызова для завершения функций в первый процесс адаптации для преобразования содержимого первой структуры (А) данных в структуру (В) данных межсетевого элемента, посылающего сигнализацию, выполнения обработки над содержимым межсетевого элемента, посылающего структуру (B) данных сигнализации, таким образом получая содержимое обработанного межсетевого элемента, посылающего структуру (С) данных сигнализации, выполнения зацикливания из первого процесса адаптации во второй процесс адаптации через уровень протокола ниже используемого протокола сигнализации между сетевыми элементами для подачи содержимого обработанного межсетевого элемента, посылающего структуру (C) данных сигнализации, в структуру (D) данных обработанного межсетевого элемента, принимающего сигнализации так, что содержимое обработанного межсетевого элемента сети, принимающего структуру (D) данных сигнализации, по существу, подобно содержимому, полученному на том же самом этапе во втором процессе адаптации с помощью внешней маршрутизации между первой и второй функциями управления вне физического управляющего объекта, выполнения обработки над упомянутым содержимым обработанного межсетевого элемента, принимающего структуру (D) данных сигнализации, таким образом получая содержимое межсетевого элемента, принимающего структуру (Е) данных сигнализации, и посылки третьего сообщения (MI2) из второго процесса адаптации в модель состояния вызова для инициирования функций для преобразования содержимого межсетевого элемента, принимающего структуру (Е) данных сигнализации, во вторую структуру (F) данных.
7. Способ по п.3, в котором, когда принимают сообщение в модели состояния вызова для инициирования функций, идентификационную информацию логического сетевого элемента, выполняющего вторую функцию управления, добавляют к полю «запись-маршрут» в сообщении.
8. Способ по п.3, в котором, когда принимают сообщение в модели состояния вызова для инициирования функций, идентификационную информацию логического сетевого элемента, выполняющего вторую функцию управления, не добавляют к полю сообщения, что указывает маршрут, выбранный до этого с помощью запроса.
9. Способ по п.4 или 5, в котором, когда принимают второе сообщение, идентификационную информацию логического сетевого элемента, выполняющего вторую функцию управления, добавляют к полю «запись-маршрут» во втором сообщении.
10. Способ по п.4 или 5, в котором, когда принимают второе сообщение, идентификационную информацию логического сетевого элемента, выполняющего вторую функцию управления, не добавляют к полю второго сообщения, что указывает маршрут, выбранный до этого с помощью запроса.
11. Способ по п.6, в котором при выполнении зацикливания из первого процесса адаптации во второй процесс адаптации используют идентификацию локального хост-узла и/или адрес обратной связи.
12. Способ по п.6, в котором, когда принимают полученное в результате операции зацикливания содержимое во втором процессе адаптации, идентификационную информацию логического сетевого элемента, выполняющего вторую функцию управления, добавляют к полю «запись-маршрут» в полученном в результате выполнения операции зацикливания содержимом.
13. Способ по п.6, в котором, когда принимают полученное в результате зацикливания содержимое в втором процессе адаптации, идентификационную информацию логического сетевого элемента, выполняющего вторую функцию управления, не добавляют к полю полученного в результате зацикливания содержимого, что указывает маршрут, выбранный до этого с помощью запроса.
14. Способ по п.6, в котором, когда принимают полученное в результате зацикливания содержимое во втором процессе адаптации, предыдущую запись поля «запись-маршрут» в полученном в результате зацикливания содержимом используют как идентификационную информацию логического сетевого элемента, выполняющего вторую функцию управления в поле «запись-маршрут».
15. Способ по любому из пп.3-6, в котором в сообщении, поданном в модель состояния вызова для инициирования функций, указывают услугу, требуемую в следующем сетевом элементе.
16. Способ по любому из пп.3-6, в котором внутренние сообщения являются сообщениями протокола управления вызовом.
17. Способ по п.1, в котором с помощью первой функции управления определяют, может ли быть вызвана вторая функция управления в том же самом физическом управляющем объекте, с помощью анализа информации назначения для вызова.
18. Способ по п.17, в котором первая функция управления представлена обслуживающей функцией управления состоянием вызова (О-ФУСВ) мультимедийной системы IP.
19. Способ по п.17, в котором вторая функция управления представлена опрашивающей функцией управления состоянием вызова (ОП-ФУСВ) мультимедийной системы IP.
20. Способ по п.17, в котором первая функция управления представлена уполномоченной функцией управления состоянием вызова (У-ФУСВ) мультимедийной системы IP.
21. Способ по п.17, в котором вторая функция управления представлена обслуживающей функцией управления состоянием вызова (O-ФУСВ) мультимедийной системы IP.
22. Способ по п.17, в котором информация назначения для вызова содержит полное доменное имя (ПДИ).
23. Способ по п.17, в котором информация назначения для вызова содержит адрес IP, полученный с помощью выполнения процедуры разрешения сервера доменных имен (СИД), по меньшей мере, для части идентификационной информации назначения.
24. Способ по п.23, в котором обозначение содержит ПДИ.
25. Управляющий объект, предназначенный для маршрутизации вызова, по меньшей мере, между двумя функциями управления, поддерживаемыми в одном физическом управляющем объекте в системе сети связи IP, причем каждый выполняет логическую функцию над упомянутым вызовом, причем управляющий объект выполнен с возможностью приема вызова в качестве первой функции управления; преобразования вызова в формат первой функции управления и сохранения этого формата как первую структуру данных в физическом управляющем объекте в качестве первой структуры (А) данных; вызова второй функции управления, в котором содержимое первой структуры данных подают внутри управляющего объекта во вторую структуру (F) данных второй функций управления так, что содержимое второй структуры данных, по существу, является аналогичным содержимому, полученному на том же самом этапе во второй функции управления с помощью внешней маршрутизации между первой и второй функциями управления вне физического управляющего объекта.
26. Управляющий объект по п.25, содержащий одну модель состояния вызова для инициирования функции и завершения функции, причем содержимое первой структуры данных подают внутри одной модели состояния вызова.
27. Управляющий объект управления по п.25, содержащий модель состояния вызова для окончания функции и модель состояния вызова для инициирования функции, в котором упомянутое содержимое первой структуры данных подают с помощью посылки сообщения (MI3) из модели состояния вызова для окончания функции в модель состояния вызова для инициирования функции.
28. Управляющий объект по п.25, содержащий модель состояния вызова для окончания функции; модель состояния вызова для инициирования функции; первый процесс адаптации, обменивающийся сообщениями с моделью состояния вызова для окончания функции, и второй процесс адаптации, обменивающийся сообщениями с моделью состояния вызова для инициирования функции, в котором для подачи содержимого первой структуры данных модель состояния вызова для окончания функции посылает первое сообщение (МI1) в первый процесс адаптации для преобразования содержимого первой структуры (А) данных в структуру (В) данных межсетевого элемента, посылающего сигнализацию, первый процесс адаптации посылает второе сообщение (MI4) во второй процесс адаптации для подачи содержимого межсетевого элемента, посылающего структуру (В) данных сигнализации, в структуру (Е) данных межсетевого элемента, принимающего сигнализацию так, что содержимое межсетевого элемента, принимающего структуру (Е) данных сигнализации, является, по существу, аналогичным содержимому, полученному на том же самом этапе во втором процессе адаптации с помощью внешней маршрутизации между первой и второй функциями управления вне физического управляющего объекта, и второй процесс адаптации посылает третье сообщение (MI2) в модель состояния вызова для инициирования функции для преобразования содержимого межсетевого элемента, принимающего структуру (Е) данных сигнализации, во вторую структуру (F) данных.
29. Управляющий объект по п.25, содержащий модель состояния вызова для окончания функции; модель состояния вызова для инициирования функции; первый процесс адаптации, обменивающийся сообщениями с моделью состояния вызова для окончания функции, и второй процесс адаптации, обменивающийся сообщениями с моделью состояния вызова для инициирования функции, в котором для подачи содержимого первой структуры данных модель состояния вызова для окончания функции посылает первое сообщение (МI1) в первый процесс адаптации для преобразования содержимого первой структуры (А) данных в структуру (В) данных межсетевого элемента, посылающего сигнализацию, причем первый процесс адаптации выполняет обработку над содержимым межсетевого элемента, посылающего структуру (В) данных сигнализации, таким образом получая содержимое обработанного межсетевого элемента, посылающего структуру (С) данных сигнализации, и посылает второе сообщение (MI5) во второй процесс адаптации для подачи содержимого обработанного межсетевого элемента, посылающего структуру (С) данных сигнализации, в структуру (D) данных обработанного межсетевого элемента, принимающего сигнализацию так, что содержимое обработанного межсетевого элемента, принимающего структуру (D) данных сигнализации, по существу, является аналогичным содержимому, полученному на том же самом этапе во втором процессе адаптации с помощью внешней маршрутизации между первой и второй функциями управления вне физического управляющего объекта, при этом второй процесс адаптации выполняет обработку над содержимым обработанного межсетевого элемента, принимающего структуру (D) данных сигнализации, таким образом получая содержимое межсетевого элемента, принимающего структуру (Е) данных сигнализации, и посылает третье сообщение (MI2) в упомянутую модель состояния вызова для инициирования функции для преобразования содержимого межсетевого элемента, принимающего структуру (Е) данных сигнализации, во вторую структуру (F) данных.
30. Управляющий объект по п.25, содержащий модель состояния вызова для окончания функции; модель состояния вызова для инициирования функции; первый процесс адаптации, обменивающийся сообщениями с моделью состояния вызова для окончания функции, и второй процесс адаптации, обменивающийся сообщениями с моделью состояния вызова для инициирования функции, в котором для подачи содержимого первой структуры данных модель состояния вызова для окончания функции посылает первое сообщение (МI1) в первый процесс адаптации для преобразования содержимого первой структуры (А) данных в структуру (В) данных межсетевого элемента, посылающего сигнализацию, первый процесс адаптации выполняет обработку содержимого межсетевого элемента, посылающего структуру (В) данных сигнализации, таким образом получая содержимое обработанного межсетевого элемента, посылающего структуру (С) данных сигнализации, и выполняет зацикливание с упомянутым вторым процессом адаптации через уровень протокола ниже используемого протокола передачи сигнализации между сетевыми элементами для подачи содержимого обработанного межсетевого элемента, посылающего структуру (С) данных сигнализации в структуру (D) данных обработанного межсетевого элемента, принимающего сигнализацию так, что содержимое обработанного межсетевого элемента, принимающего структуру (D) данных сигнализации, по существу, является аналогичной содержимому, полученному на том же самом этапе в втором процессе адаптации с помощью внешней маршрутизации между первой и второй функциями управления вне физического управляющего объекта, причем второй процесс адаптации выполняет обработку содержимого обработанного межсетевого элемента, принимающего структуру (D) данных сигнализации, таким образом получая содержимое межсетевого элемента, принимающего структуру (Е) данных сигнализации, и посылает третье сообщение (MI2) в модель состояния вызова для инициирования функции для преобразования содержимого межсетевого элемента, принимающего структуру (Е) данных сигнализации, во вторую структуру (F) данных.
31. Управляющий объект по п.27, в котором, когда модель состояния вызова для инициирования функции принимает сообщение, управляющий объект добавляет идентификационную информацию логического сетевого элемента, выполняющего упомянутую вторую функцию управления, к полю «запись-маршрут» в упомянутом сообщении.
32. Управляющий объект по п.27, в котором, когда модель состояния вызова для инициирования функции принимает сообщение, управляющий объект не добавляет идентификационную информацию логического сетевого элемента, выполняющего вторую функцию управления, к полю сообщения, что указывает маршрут, выбранный до этого с помощью запроса.
33. Управляющий объект по п.28 или 29, в котором, когда принимают второе сообщение, управляющий объект добавляет идентификационную информацию логического сетевого элемента, выполняющего вторую функцию управления, к полю «запись-маршрут» в упомянутом втором сообщении.
34. Управляющий объект по п.28 или 29, в котором, когда принимают второе сообщение, управляющий объект не добавляет идентификационную информацию логического сетевого элемента, выполняющего вторую функцию управления, к полю второго сообщения, что указывает маршрут, выбранный до этого с помощью запроса.
35. Управляющий объект по п.30, в котором, когда первый процесс адаптации выполняет зацикливание с упомянутым вторым процессом адаптации, управляющий объект использует идентификацию локального хост-узла и/или адрес обратной связи.
36. Управляющий объект по п.30, в котором, когда второй процесс адаптации принимает полученное в результате выполнения зацикливания содержимое, управляющий объект добавляет идентификационную информацию логического сетевого элемента, выполняющего вторую функцию управления, к полю «запись-маршрут» в полученном в результате выполнения зацикливания содержимом.
37. Управляющий объект по п.30, в котором, когда второй процесс адаптации принимает полученное в результате выполнения зацикливания содержимое, управляющий объект не добавляет идентификационную информацию логического сетевого элемента, выполняющего вторую функцию управления, к полю полученного в результате зацикливания содержимого, что указывает маршрут, выбранный до этого с помощью запроса.
38. Управляющий объект по п.30, в котором, когда второй процесс адаптации принимает полученное в результате зацикливания содержимое, управляющий объект использует предыдущую запись поля «запись-маршрут» в полученном в результате зацикливания содержимом в качестве идентификационной информации логического сетевого элемента, выполняющего вторую функцию управления, в поле «запись-маршрут».
39. Управляющий объект по любому из пп.27-30, в котором управляющий объект указывает в сообщении, поданном в модель состояния вызова для инициирования функции, услугу, требуемую в следующем сетевом элементе.
40. Управляющий объект по любому из пп.27-30, в котором внутренние сообщения являются сообщениями протокола управления вызовом.
41. Управляющий объект по п.25, в котором первая функция управления определяет, может ли быть вызвана вторая функция управления в том же самом физическом управляющем объекте, с помощью анализа информации назначения для вызова.
42. Управляющий объект по п.41, в котором первая функция управления представлена обслуживающей функцией управления состоянием вызова (O-ФУСВ) мультимедийной системы IP.
43. Управляющий объект по п.41, в котором вторая функция управления представлена опрашивающей функцией управления состоянием вызова (ОП-ФУСВ) мультимедийной системы IP.
44. Управляющий объект по п.41, в котором первая функция управления представлена уполномоченной функцией управления состоянием вызова (У-ФУСВ) мультимедийной системы IP.
45. Управляющий объект по п.41, в котором вторая функция управления представлена обслуживающей функцией управления состоянием вызова (O-ФУСВ) мультимедийной системы IP.
46. Управляющий объект по п.41, в котором информация назначения для вызова содержит ПДИ.
47. Управляющий объект по п.41, в котором информация назначения для вызова содержит адрес IP, полученный с помощью выполнения процедуры разрешения СИД, по меньшей мере, для части идентификационной информации назначения.
48. Управляющий объект по п.47, в котором идентификационная информация содержит ПДИ.
РИСУНКИ
|
|