|
(21), (22) Заявка: 2004109987/09, 29.03.2002
(24) Дата начала отсчета срока действия патента:
29.03.2002
(30) Конвенционный приоритет:
29.08.2001 CN 01130991.1
(43) Дата публикации заявки: 20.10.2005
(45) Опубликовано: 20.03.2006
(56) Список документов, цитированных в отчете о поиске:
RU 2152691, 10.07.2000. ЕР 1089520 А2, 04.04.2001. ЕР 1081 920 А2, 07.03.2001. WO 9859467 А2, 30.12.1998. ГОЛЬДШТЕЙН Б.С., ПИНЧУК А.В., СУХОВИЦКИЙ А.Л. IP-Телефония. – М.: Радио и связь, 29.01.2001. РОСЛЯКОВ А.В., САМСОНОВ М.Ю., ШИБАЕВА И.В., IP-Телефония. – М.: Эко-Трендз, 30.04.2001.
(85) Дата перевода заявки PCT на национальную фазу:
29.03.2004
(86) Заявка PCT:
CN 02/00221 (29.03.2002)
(87) Публикация PCT:
WO 03/019862 (06.03.2003)
Адрес для переписки:
191002, Санкт-Петербург, а/я 5, ООО “Ляпунов и партнеры”, пат.пов. В.В.Дощечкиной
|
(72) Автор(ы):
СЕ Цзиньсун (CN)
(73) Патентообладатель(и):
Хювей Текнолоджиз Ко., Лтд. (CN)
|
(54) СПОСОБ ОБРАЩЕНИЯ К КОНЕЧНОЙ ТОЧКЕ ИЗ ОДНОЙ ЗОНЫ В ДРУГУЮ В СИСТЕМЕ IP-СЕТИ
(57) Реферат:
Изобретение относится к технологии IP-сетей, в частности к способу обращения из одной зоны в другую в системе IP-сетей. Технический результат – предоставление возможности любому контроллеру в сети преобразовывать IP-адрес любой конечной точки в IP-сети в соответствии с псевдонимами. Технический результат достигается тем, что при обращении к конечной точке из одной зоны в другую используют псевдоним E.164, который включает в себя уникальный префикс зоны в системе IP-сети и уникальный номер указанной конечной точки у своего контроллера, и при выполнении прямого обращения от вызывающей точки извлекают префикс псевдонима E.164 вызываемой конечной точки и затем, в соответствии с IP-адресом, направление контроллеру вызываемой конечной точки запроса на преобразование IP-адреса вызываемой конечной точки. 5 з.п. ф-лы, 3 ил. 
ОБЛАСТЬ ТЕХНИКИ
Изобретение относится в общем случае к технологии IP-сетей, в частности к способу обращения из одной зоны в другую в системе IP-сетей. Это технология, позволяющая назначать уникальные IP-псевдонимы для всех конечных точек протокола Н.323 в IP-сети.
УРОВЕНЬ ТЕХНИКИ
Протокол Н.323 использовался главным образом в системах мультимедиа конференций и в настоящее время он широко используется в IP-телефонии. Система стандарта Н.323 предлагает услуги мультимедийной передачи данных в сети с коммутацией пакетов. Сеть с коммутацией пакетов содержит локальные сети, сети предприятий и сети города с пригородами и т.п., которые не обеспечивают гарантированное качество услуг. Система стандарта Н.323 состоит из терминалов, шлюзов, устройств управления конференциями (MCU), контроллеров зон (GK) и т.п. Конечная точка Н.323 включает в себя терминал, шлюз или устройство управления конференциями (MCU). Конечная точка Н.323 регистрируется у своего собственного контроллера зоны и обслуживается этим контроллером зоны.
В настоящем стандартном протоколе каждый псевдоним конечной точки в зоне контроллера должен быть уникальным, но псевдонимы конечных точек в различных зонах контроллеров не имеют этого ограничения. Таким образом, возможно, что различные конечные точки в различных зонах контроллеров могут иметь одинаковые псевдонимы. Это вызывает трудности при вызове и адресации конечных точек из одной зоны в другую.
На фиг.1 изображена сетевая система с протоколом Н.323 с двумя зонами контроллеров: Зоной 1, управляемой контроллером GK1, и Зоной 2, управляемой контроллером GK2, и в этих зонах имеются повторяющиеся псевдонимы конечных точек. В Зоне 1 имеются три конечные точки с псевдонимами 123456, 123123 и 123789 соответственно. В Зоне 2 имеются три конечные точки с теми же псевдонимами: 123456, 123123 и 123789 соответственно. В этом случае IP-адреса конечных точек в одной зоне могут быть получены посредством службы разрешения адреса контроллера, где расположена конечная точка, но среди конечных точек в различных зонах отсутствует возможность преобразования IP-адресов конечных точек с одинаковыми псевдонимами.
Например, предположим, что конечная точка 123456 Зоны 1 делает вызов к конечной точке 123123 Зоны 2, контроллер GK1 может преобразовать вызываемую конечную точку в IP-адрес в Зоне 1 и возвратить IP-адрес к вызывающей точке 123456, но не может преобразовать IP-адрес псевдонима 123123 вызываемой точки в Зоне 2 и возвратить к псевдониму 123456 вызывающей конечной точки.
Преимущество вышеописанного способа конфигурации для псевдонимов конечных точек состоит в том, что отсутствуют ограничения для наименования каждого псевдонима конечной точки в каждой зоне контроллера. Тем не менее, так как в системах стандарта Н.323 нет идентичного конфигурирующего способа для псевдонимов, контроллер может преобразовывать IP-адреса конечных точек только в своей зоне, но не в других зонах. Это является причиной отсутствия технологии, гарантирующей уникальность псевдонима каждой конечной точки во всей сети.
В настоящее время в процессе развития передачи видеоинформации по IP-сетям и увеличения количества конечных точек в системах IP-сетей становится все более необходимым присвоение уникальных IP-псевдонимов для конечных точек.
КРАТКОЕ ОПИСАНИЕ ИЗОБРЕТЕНИЯ
Целью изобретения является разработка способа обращения к конечной точке из одной зоны в другую в системе IP-сети. При присвоении конечным точкам одинаковых псевдонимов все псевдонимы конечных точек в сети уникальны, таким образом, обращение и адресация из одной зоны в другую между любыми конечными точками в различных зонах контроллеров может быть легко выполнено в IP-сети.
Техническая схема изобретения заключается в следующем: способ обращения к конечной точке из одной зоны в другую в системе IP-сети отличается тем, что включает следующие операции:
А. Предварительная регистрация псевдонима Е.164 каждой конечной точки каждого контроллера у своего контроллера в системе IP-сети, где псевдоним Е.164 включает в себя уникальный префикс зоны в системе IP-сети и уникальный номер указанной конечной точки у своего контроллера;
В. Выполнение прямого обращения от вызывающей конечной точки к вызываемой конечной точке с псевдонимом Е.164 вызываемой конечной точки.
Указанная операция В дополнительно включает следующие операции:
а. Контроллер вызывающей конечной точки, получая запрос на допуск (ARQ), посылает сигнал от указанной конечной точки;
b. Контроллер вызывающей конечной точки извлекает префикс псевдонима Е.164 вызываемой конечной точки и ищет IP-адрес контроллера конечной точки, соответствующий префиксу, и затем в соответствии с IP-адресом посылает вызов LRQ (запрос местонахождения) к контроллеру вызываемой конечной точки с запросом на преобразование IP-адреса вызываемой конечной точки;
с. Контроллер вызываемой конечной точки преобразовывает IP-адрес вызываемой конечной точки в соответствии с псевдонимом Е.164 вызываемой конечной точки и посылает ответ контроллеру вызывающей конечной точки в виде сигнала LCF (подтверждение местонахождения);
d. Контроллер вызывающей конечной точки информирует вызывающую конечную точку об IP-адресе вызываемой конечной точки с помощью сигнализации ACF (Admission Confirm – Подтверждение Допуска);
f. Вызывающая конечная точка посылает сигнализацию установления обращения Q.931 к вызываемой конечной точке в соответствии с IP-адресом вызываемой конечной точки и инициирует обращение.
Изобретение требует, чтобы каждой зоне контроллера в IP-сети был присвоен уникальный номер для образования префикса псевдонима конечной точки и формирует номер конечной точки псевдонима конечной точки с помощью уникального номера каждой конечной точки в пределах каждой зоны контроллера; и затем составляет «указанный префикс для зоны контроллера + номер конечной точки» для образования предварительно определенного (предварительно зарегистрированного) псевдонима Е.164 конечной точки.
По сравнению с известными решениями изобретение решает проблему уникальности псевдонима конечной точки во всей сети. Таким образом, любой контроллер в сети может преобразовывать IP-адрес любой конечной точки в IP-сети в соответствии с псевдонимами. Таким образом, можно удобно выполнять обращение из одной зоны в другую зону.
КРАТКОЕ ОПИСАНИЕ ЧЕРТЕЖЕЙ
Фиг.1 изображает общую схему системы стандарта Н.323 с конечными точками и зонами в соответствии с известными решениями.
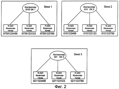
Фиг.2 изображает схему системы стандарта Н.323 с конечными точками и зонами согласно одному варианту воплощения изобретения.
Фиг.3 изображает процедуру обращения из одной зоны в другую.
ВАРИАНТЫ ВОПЛОЩЕНИЯ ИЗОБРЕТЕНИЯ
Изобретение описано ниже более подробно со ссылками на чертежи.
Основная идея в присвоении каждой конечной точке уникального псевдонима состоит в следующем: во-первых, каждой конечной точке в каждой зоне присвоен номер формата Е.164 в качестве уникального псевдонима в своей зоне, т.е. предварительно установленный номер Е.164 каждой конечной точки регистрируют у контроллера, управляющего данной конечной точкой; затем номер Е.164 объединяют с уникальным номером зоны каждой зоны контроллера в системе сети для образования уникального псевдонима конечной точки. С помощью этого уникального псевдонима осуществляют адресацию и обращение из одной зоны в другую.
На фиг.2 показаны три зоны контроллеров, и каждая зона имеет уникальный номер как префикс для образования имени конечной точки. Каждый префикс зоны контроллера не повторяется во всей системе IP-сети. Например, префикс зоны контроллера 1 – 0755, префикс зоны контроллера 2 – 010, а префикс зоны контроллера 3 – 021.
В одной зоне контроллера номера Е.164 всех конечных точек в этой зоне не повторяются, но в различных зонах номера Е.164 конечных точек могут быть одинаковыми, например во всех трех зонах 1, 2 и 3 имеются одинаковые номера 123456, 123123 и 123789.
Согласно изобретению, каждый псевдоним конечной точки в каждой зоне контроллера составлен из «Префикса зоны контроллера» + «Номер Е.164 конечной точки». Например, в Зоне 1 имеются три псевдонима конечных точек: 0755123456, 0755123123 и 0755123789, три псевдонима конечных точек в Зоне 2: 010123456, 101123123 и 010123789 и три псевдонима конечных точек в Зоне 3: 021123456, 0211123123 и 021123789. При таком способе наименования каждый псевдоним конечной точки всей сети является уникальным.
Так как каждый псевдоним конечной точки предварительно определен контроллером, регистрация должна быть произведена в соответствии с назначенными псевдонимами. Это гарантирует уникальность псевдонимов конечных точек.
Изобретение решило проблему уникальности псевдонимов конечных точек, таким образом, предложена техническая основа для осуществления обращений из одной зоны в другую.
Предположим, что, как показано на фиг.3 и 2, Конечная точка А с псевдонимом 0755123456 направляет вызов к Конечной точке В с псевдонимом 010123123, при этом процедура обращения будет следующей:
Операция 1, Конечная точка А (0755123456) посылает вызов ARQ (запрос на допуск) к контроллеру 1;
Операция 2, контроллер 1 считывает префикс 010 псевдонима вызываемой конечной точки из полученного вызова и определяет на основе префикса, что вызываемая Конечная точка В расположена в зоне контроллера 2 (т.е. контроллер 1 получает IP-адрес вызываемого контроллера 2); и затем контроллер 1 посылает вызов LRQ (запрос местонахождения) с псевдонимом 010123123 вызываемой конечной точки к контроллеру 2 с запросом о преобразовании IP-адреса Конечной точки В;
Операция 3, после получения вызова LRQ контроллер 2 преобразовывает IP-адрес Конечной точки 2 в соответствии с псевдонимом 010123123 вызываемой конечной точки, посылает ответный сигнал LCF (подтверждение местонахождения) с IP-адресом Конечной точки В контроллеру 1;
Операция 4, после получения ответного сигнала LCF контроллер 1 отвечает сигналом ACF (Admission Confirm – Подтверждение Допуска) с IP-адресом Конечной точки В к Конечной точке А;
Операция 5, в соответствии с IP-адресом Конечной точки В, Конечная точка А посылает сигнализацию установления обращения Q.931 к Конечной точке В для установления обращения;
Операция 6, процедура входит в режим установления вызова.
Изобретение использует идентичный способ именования для всех псевдонимов конечных точек в системе IP-сети с помощью псевдонимов формата Е.164. Таким образом, адресация и обращение к конечной точке из одной зоны в другую упрощаются и становятся удобными. Испытания показали, что способ выполним и надежен.
Формула изобретения
1. Способ обращения к конечной точке из одной зоны в другую в системе IP-сети, включающий операции:
а) предварительная регистрация псевдонима Е.164 каждой конечной точки каждого контроллера у своего контроллера в системе IP-сети, где псевдоним E.164 включает в себя уникальный префикс зоны в системе IP-сети и уникальный номер указанной конечной точки у своего контроллера;
б) направление вызывающей конечной точкой запроса, содержащего псевдоним E.164 вызываемой конечной точки;
в) получение контроллером вызывающей конечной точки указанного запроса от вызывающей конечной точки;
г) извлечение префикса псевдонима Е.164 вызываемой конечной точки и поиск IP-адреса контроллера вызываемой конечной точки, соответствующего префиксу, и затем в соответствии с IP-адресом направление контроллеру вызываемой конечной точки запроса на преообразование IP-адреса вызываемой конечной точки;
д) преобразование контроллером вызываемой конечной точки IP-адреса вызываемой конечной точки в соответствии с псевдонимом E.164 вызываемой конечной точки и направление ответа контроллеру вызывающей конечной точки;
е) информирование вызывающей конечной точки контроллером вызывающей конечной точки об IP-адресе вызываемой конечной точки;
ж) направление вызывающей конечной точкой сигнализации установления обращения к вызываемой конечной точке в соответствии с IP-адресом вызываемой конечной точки и инициирование обращения.
2. Способ обращения по п.1, в котором указанный на шаге б) запрос представляет собой сигнализацию запроса на допуск ARQ.
3. Способ обращения по п.1, в котором указанный на шаге г) этап направления контроллеру вызываемой конечной точки запроса на преобразование IP-адреса вызываемой конечной точки происходит путем направления вызова запроса местонахождения LRQ, содержащего указанный псевдоним E.164 вызываемой конечной точки.
4. Способ обращения по п.1, в котором указанный на шаге д) этап направления ответа контроллеру вызывающей конечной точки происходит путем направления контроллером вызываемой конечной точки ответа контроллеру вызывающей конечной точки в виде сигнализации подтверждения местонахождения LCF, содержащего преобразованный IP-адрес вызываемой конечной точки.
5. Способ обращения по п.1, в котором указанный на шаге е) этап информирования вызывающей конечной точки контроллером вызывающей конечной точки об IP-адресе вызываемой конечной точки происходит с помощью сигнализации подтверждения допуска ACF.
6. Способ обращения по п.1, в котором сигнализация установления обращения представляет собой сигнализацию Q.931.
РИСУНКИ
|