|
|
(21), (22) Заявка: 2004128416/09, 16.09.2004
(24) Дата начала отсчета срока действия патента:
16.09.2004
(45) Опубликовано: 20.03.2006
(56) Список документов, цитированных в отчете о поиске:
RU 2093863 C1, 20.10.1997. US 5053783 A, 01.10.1991. RU 2117399 C1, 10.08.1998. JP 62058185, 13.03.1987.
Адрес для переписки:
199048, Санкт-Петербург, В.О., 11-я линия, 66, ОАО “РИМР”, Л.П. Курочкиной
|
(72) Автор(ы):
Волосевич Владимир Степанович (RU), Коваленко Николай Григорьевич (RU), Нероба Геннадий Степанович (RU), Обухов Александр Петрович (RU), Собчаков Леонид Авраамович (RU), Сонников Александр Григорьевич (RU), Фесенко Юрий Владимирович (RU)
(73) Патентообладатель(и):
Российская Федерация, от имени которой выступает Управление заказов и поставок вооружения и военной техники Военно-Морского Флота (RU)
|
(54) ПЕРЕДАЮЩАЯ РАДИОСТАНЦИЯ ДИАПАЗОНА СВЕРХНИЗКИХ ЧАСТОТ
(57) Реферат:
Изобретение относится к области радиотехники, а именно к технике связи сверхнизкочастотного (СНЧ) диапазона. Технический результат заключается в повышении величины электромагнитного поля в дальней зоне при работе одним радиопередающим модулем (РПМ) и одновременной организации экономичного режима эксплуатации при фиксированной излучаемой мощности. Устройство содержит первый и второй дистанционно разнесенные идентичные радиопередающие модули (РПМ). Каждый РПМ включает последовательно соединенные блок управления, возбудитель и усилитель мощности, а также согласующее устройство и горизонтальную заземленную на концах антенну. Кроме того, устройство снабжено фидерной линией и в каждый РПМ введены дополнительный блок управления, согласующий трансформатор с переменным коэффициентом трансформации и блок коммутации. 4 ил., 1 табл. 
Предлагаемое техническое решение относится к области радиотехники, а именно к технике связи сверхнизкочастотного (СНЧ) диапазона, и может быть использовано при разработке радиопередающих станций для повышения их излучательных характеристик и организации экономичного режима эксплуатации при фиксированной излучаемой мощности.
Известна радиостанция СНЧ-диапазона [“Long-Range Communications at Extremely Low Frequencies”, Steven L. Bernstein и др., Proceedings of the IEEE, vol.62, №3, march 1974], которая состоит из «n» радиопередающих модулей с параллельно ориентированными или взаимно ортогональными синфазно возбуждаемыми заземленными на концах антеннами. Данное техническое решение реализует принцип сложения мощностей отдельных модулей в пространстве и обеспечивает достаточно высокую степень надежности радиостанции в целом.
Однако излученная мощность известной СНЧ-радиостанции уменьшается пропорционально числу неработающих модулей.
Наиболее близким по технической сущности к заявленному решению является передающая СНЧ-радиостанция, описанная в патенте РФ №2093863 (публ. 20.10.97 г., Бюллетень №29) “Способ электромагнитного зондирования земной коры с использованием нормированных источников тока”. Радиостанция состоит из двух идентичных радиопередающих модулей (РПМ), нагруженных на горизонтальные антенны, выполненные по типу линий электропередач на напряжение 110 кВ. Длина антенн составляет 60 км, а расстояние между ними порядка 10 км (см. фиг.1 описания к упомянутому патенту). Каждый РПМ содержит СНЧ-генератор, низкопотенциальный выход которого подключен к рабочему заземлителю антенны, а высокопотенциальный – к входу согласующего устройства, соединенного с антенной, конец которой также заземлен. Наличие двух заземлителей является характерной особенностью СНЧ-антенны, так как возбуждение ненагруженной антенны технически нереализуемо из-за большой величины ее входного сопротивления. Реактивная составляющая сопротивления заземленной антенны имеет индуктивный характер и для ее компенсации применяется согласующее устройство емкостного типа, представляющее собой дискретно-перестраиваемый конденсатор. Схема согласующего устройства выполнена в виде последовательно-параллельного соединения силовых конденсаторных установок, и с помощью ключей, имеющих внешнее управление, может изменять свою структуру таким образом, что емкостное сопротивление согласующего устройства на каждой рабочей частоте будет равным индуктивному сопротивлению антенны (а.с. №711640). При этом последовательный колебательный контур, образованный антенной и согласующим устройством, оказывается настроенным в резонанс. В состав СНЧ-генератора входят блок управления, возбудитель и усилитель мощности, который по своему типу относится к классу тиристорных преобразователей напряжения. Блок управления вырабатывает команды на “включение – выключение” усилителя мощности и настройки возбудителя на частоту передаваемого сообщения, а также задает параметры рабочего режима РПМ по частоте. Возбудитель формирует последовательности импульсов управления тиристорным усилителем мощности, с выхода которого напряжение через согласующее устройство поступает на вход соответствующей антенны.
СНЧ-радиостанция функционирует в двух режимах. В первом (штатном) – излучение осуществляется одним из РПМ, тогда как другой находится в резерве. Принципы организации системы радиосвязи в СНЧ-диапазоне таковы, что радиостанция в подавляющем числе случаев (более 95%) работает попеременно одним РПМ, в то время как другой находится в резерве, что позволяет поддерживать высокую степень надежности радиостанции в целом. В исключительных случаях оба РПМ включаются синфазно (режим сложения мощностей в пространстве), а координация действий по организации связи осуществляется по кабельной линии с центрального пульта управления. При этом электромагнитное поле, возбуждаемое радиостанцией, удваивается (2Е) при удвоении потребляемой мощности (2Р). Данный режим используется в тех случаях, когда необходимо увеличить радиус действия радиостанции или передать сообщение за более короткий промежуток времени, повысив отношение сигнал/шум. В такой ситуации при выходе из строя одного из РПМ уровень поля скачкообразно уменьшится до величины (Е) и задача регистрации сигнала в заданном предельном удалении выполнена не будет.
Физические особенности механизма излучения сверхнизкочастотных антенн таковы, что их входное сопротивление находится в прямой связи с электрофизическими свойствами подстилающего полупространства. При этом входное сопротивление антенны складывается из двух составляющих – сопротивлений проводов и заземлителей, величина которых не зависит от частоты сигнала, и сопротивления потерь на токи Фуко в земле. Соотношение между ними такое, что в рабочем диапазоне частот радиостанции имеет место практически двукратное изменение входного сопротивления антенны. В то же время передатчик радиостанции развивает номинальную мощность PN лишь при фиксированном значении входного сопротивления антенны RA( 0), соответствующего частоте 0. При частотах больше 0 сопротивление антенны возрастает (RA( ) больше RA( о)) и передатчик работает как генератор э.д.с., то есть на его выходе поддерживается постоянное напряжение, а мощность, отдаваемая в антенну P , становится меньшей величины PN. При частотах меньше 0 (RA( ) меньше RA(fo)) на выходе генератора поддерживается постоянное значение тока, а мощность, отдаваемая в антенну P , также становится меньшей величины PN. Данная ситуация является существенным недостатком ближайшего аналога, так как установленная мощность дорогостоящего оборудования радиопередатчика используется не полностью и тем самым ухудшаются потенциально возможные параметры линии связи.
Заявляемая конструкция СНЧ-радиостанции решает задачу повышения величины электромагнитного поля в дальней зоне при работе одним РПМ и одновременной организации экономичного режима эксплуатации при фиксированной излучаемой мощности.
Поставленная задача решена благодаря тому, что в передающую СНЧ-радиостанцию, включающую первый и второй дистанционно разнесенные идентичные РПМ, каждый из которых содержит последовательно соединенные блок управления, возбудитель и усилитель мощности, а также согласующее устройство и горизонтальную заземленную на концах антенну, введена фидерная линия и в каждый РПМ введены дополнительный блок управления, согласующий трансформатор с переменным коэффициентом трансформации и блок коммутации. При этом второй и третий выходы блока управления соединены соответственно со вторым входом усилителя мощности и первым входом согласующего устройства. Первый, второй и третий входы блока коммутации соединены соответственно с выходами усилителя мощности, согласующего трансформатора и согласующего устройства, первый и третий выходы блока коммутации подключены соответственно к первому входу согласующего трансформатора и третьему входу согласующего устройства, второй вход/выход блока коммутации соединен со вторым входом/выходом согласующего устройства. Первый, второй и третий выходы дополнительного блока управления подключены соответственно к входу блока управления, второму входу согласующего трансформатора и четвертому входу блока коммутации, четвертый выход которого соединен с антенной, а шестой выход подключен к первому входу дополнительного блока управления. При этом пятые входы/выходы блоков коммутации первого и второго РПМ соединены между собой фидерной линией, а вторые входы/выходы дополнительных блоков управления упомянутых модулей объединены линией передачи сигналов управления.
Введение в структуру СНЧ-радиостанции фидерной линии позволяет подключить к активному РПМ одновременно две антенны, что дает возможность снизить их суммарное сопротивление в два раза и распределить мощность, генерируемую радиопередатчиком, в равных долях между антеннами. При этом ток в каждой из антенн будет равен , где:
IN – ток, возбуждаемый в антенне радиостанции (ближайшего аналога) в штатном режиме.
Соответственно этому электромагнитное поле, возбуждаемое каждой из антенн, будет равно , а суммарное поле будет равно , то есть в раз превысит поле, возбуждаемое радиостанцией (ближайшим аналогом) в штатном режиме. Введение в состав оборудования каждого РПМ трансформатора с переменным коэффициентом трансформации, функцией которого является приведение частотно-зависимого сопротивления антенны к постоянной величине, оптимальной для данного усилителя мощности, обеспечивает наиболее благоприятный режим эксплуатации усилителя с возможностью регулирования потребляемой им мощности в широких пределах. При этом появляется возможность реализовать такой режим эксплуатации усилителя мощности, при котором его нагрузка будет оставаться практически постоянной в рабочем диапазоне частот. Вновь образованная нагрузка усилителя мощности, состоящая из двух контуров, каждый из которых при помощи своего согласующего устройства может быть настроен на собственную резонансную частоту, придает заявляемому устройству качественно новое свойство – широкополосность. Таким образом, появляется возможность передачи помехозащищенных широкополосных сообщений. В то же время при сохранении величины возбуждаемого поля на уровне Е потребление мощности заявляемого устройства сократится в два раза. При этом уменьшится нагрузка на полупроводниковые приборы усилителя мощности, возрастет время его наработки на отказ за счет снижения уровня действующего напряжения и тем самым повысится надежность радиостанции в целом. Введение блока коммутации позволяет реализовать новые варианты рабочей схемы радиостанции, отвечающей заданному режиму ее работы. Эксплуатация СНЧ-радиостанции в некоторых рабочих режимах создает дополнительные возможности резервирования оборудования, облегчает организацию профилактических и ремонтных работ, что также способствует повышению надежности.
Основываясь на известных формулах, проведем сравнительный анализ величин магнитного момента радиостанции, принятой за ближайший аналог (патент РФ №2093863), и заявляемого устройства.
В таблице представлены значения магнитных моментов радиостанции (ближайшего аналога) в штатном режиме, когда излучение осуществляется одним РПМ, тогда как другой находится в “горячем” резерве, и заявляемого устройства – режим работы одним РПМ одновременно на две антенны. При этом сопоставление проводится с выделением областей частот, на которых усилитель мощности функционирует как генератор э.д.с. ( больше 0) и с ограничением по току ( меньше 0), где 0 – частота, на которой усилитель мощности развивает номинальную мощность РN и ток IN.

Как видно из таблицы, выигрыш во всем рабочем диапазоне частот в величине суммарного магнитного момента равен:

и

т.е. на частоте 0 он равен , а на остальных частотах становится большим по величине за счет оптимального согласования вновь образованной нагрузки с усилителем мощности. В таблице и последующих формулах использованы следующие обозначения:
– величина скин-слоя в земле, м;
l – длина антенны, м;
IN – номинальное значение тока, возбуждаемое в антенне на частоте 0, А;
m – значение магнитного момента антенной системы из двух антенн, А·м2;
RA( 0) – активная составляющая входного сопротивления антенны на частоте 0, Ом;
RA( ) – активная составляющая входного сопротивления антенны на произвольной частоте , Ом.
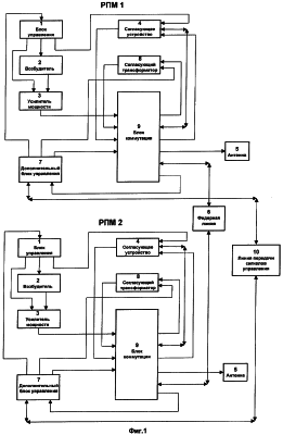
Техническое решение поясняется чертежами, на которых представлены:
фиг.1 – блок-схема передающей радиостанции диапазона сверхнизких частот;
фиг.2 – структурная схема блока коммутации;
фиг.3 – функциональная схема согласующего устройства;
фиг.4 – даны возможные варианты соединения элементов СНЧ-радиостанции в случае, когда РПМ 1 находится в активном состоянии (условные обозначения: УМ – усилитель мощности, СУ – согласующее устройство, А – антенна, Т – согласующий трансформатор). В графе “Номер и положение переключателей блока коммутации” верхние строки относятся к РПМ 1, а нижние – к РПМ 2 (для каждого варианта рабочей схемы).
Устройство содержит (см. фиг.1) первый и второй дистанционно разнесенные идентичные РПМ 1 и РПМ 2, которые нагружены на горизонтальные антенны, выполненные по типу линий электропередач на напряжение 110 кВ. Длина антенн составляет около 60 км, а расстояние между ними порядка 10 км. Каждый РПМ включает последовательно соединенные блок управления 1, возбудитель 2 и усилитель мощности 3, а также согласующее устройство 4 и горизонтальную заземленную на концах антенну 5. Кроме того, устройство снабжено фидерной линией 6 и в каждый РПМ введены дополнительный блок управления 7, согласующий трансформатор 8 с переменным коэффициентом трансформации и блок коммутации 9. При этом второй и третий выходы блока управления 1 соединены соответственно со вторым входом усилителя мощности 3 и первым входом согласующего устройства 4. Первый, второй и третий входы блока коммутации 9 соединены соответственно с выходами усилителя мощности 3, согласующего трансформатора 8 и согласующего устройства 4. Первый и третий выходы блока коммутации 9 подключены соответственно к первому входу согласующего трансформатора 8 и третьему входу согласующего устройства 4, второй вход/выход блока коммутации 9 соединен со вторым входом/выходом согласующего устройства 4. Первый, второй и третий выходы дополнительного блока управления 7 подключены соответственно к входу блока управления 1, второму входу согласующего трансформатора 8 и четвертому входу блока коммутации 9, четвертый выход которого соединен с антенной 5, шестой выход – подключен к первому входу дополнительного блока управления 7. При этом пятый вход/выход блока коммутации РПМ 1 и пятый вход/выход блока коммутации РПМ 2 соединены между собой фидерной линией 6, а вторые входы/выходы дополнительных блоков управления РПМ 1 и РПМ 2 объединены линией передачи сигналов управления 10.
Блок коммутации 9 (БК) (см. фиг.2) содержит девять конструктивно идентичных переключателей 10, 11, 12, 13, 14, 15, 16, 17, 18 (например, электромеханических разъединителей серии РВО). Первые входы переключателей 10 и 14 являются соответственно первым и третьим входами БК, а первые выходы переключателей 13 и 15 – соответственно третьим и первым выходами БК. При этом первый выход переключателя 10 соединен с первыми входами переключателей 11, 15 и вторым входом/выходом переключателя 16, первый выход переключателя 11 подключен ко второму входу/выходу БК, первому входу/выходу переключателя 12 и второму входу/выходу переключателя 17. Второй вход БК соединен с первыми входами переключателей 12 и 13. Первый вход/выход переключателя 18 подключен к пятому входу/выходу БК и к первым входам/выходам переключателей 16 и 17. Первый выход переключателя 14 соединен со вторым входом/выходом переключателя 18 и четвертым выходом БК. Четвертый вход БК соединен со вторыми входами переключателей 10, 11, 12, 13, 14, 15, 16, 17, 18 и является управляющим входом. Шестой выход БК соединен со вторыми выходами переключателей 10, 11, 12, 13, 14, 15, 16, 17, 18 и является контрольно-командным.
Согласующее устройство 4 (см. фиг.3) выполнено в виде последовательно-параллельного соединения силовых конденсаторных установок 11 шинами 12 и 13, в отрезках которых расположены переключатели 14 (см. а.с. №711640). При этом первый вход устройства является управляющим входом, второй вход/выход – внешним, а третий вход подключен к точке «а» (средней точке) конденсаторной батареи, разделяющей ее на две равные части. Цифрой 15 обозначены устройства управления переключателями.
Согласующий трансформатор 8 с переменным коэффициентом трансформации представляет собой понижающий трансформатор, его первичная и вторичная обмотки подключены соответственно к первому входу и выходу устройства, а его второй вход является входом переключателя ответвлений высоковольтной (первичной) обмотки трансформатора.
Полагаем, что усилитель мощности РПМ 1 находится в рабочем состоянии (активен), а усилитель мощности РПМ 2 – в нерабочем состоянии (пассивен). Тогда блоки коммутации 9 РПМ 1 и РПМ 2 в соответствии с заданным алгоритмом управления переключателями 10, 11, 12, 13, 14, 15, 16, 17, 18 позволяют осуществить следующие пять вариантов соединения элементов СНЧ-радиостанции (см. фиг.4):
1) усилитель мощности РПМ 1 (УМ1), согласующее устройство РПМ 1 (СУ1), антенна РПМ 1 (А1) – штатный режим;
2) усилитель мощности РПМ 1 (УМ1), согласующее устройство РПМ 2 (СУ2), антенна РПМ 2 (А2);
3) усилитель мощности РПМ 1 (УМ1), согласующий трансформатор РПМ 1 (Т1), согласующее устройство РПМ 1 (СУ1), антенна РПМ 1 (А1);
4) усилитель мощности РПМ 1 (УМ1), согласующие трансформаторы РПМ 1 (Т1) и РПМ 2 (Т2), согласующие устройства РПМ 1 (СУ1) и РПМ 2 (СУ2), антенны РПМ 1 (А1) и РПМ 2 (А2);
5) усилитель мощности РПМ 1 (УМ1), согласующий трансформатор РПМ 1 (Т1), согласующее устройство РПМ 1 (подключение к третьему входу СУ1), антенны РПМ 1 (А1) и РПМ 2 (А2);
В случае, когда усилитель мощности РПМ 2 – активен, а усилитель мощности РПМ 1
– пассивен, появляется возможность реализовать еще пять дополнительных вариантов соединения элементов радиостанции, заменив обеспечение РПМ 1 на РПМ 2.
Устройство работает следующим образом. Рассмотрим варианты работы СНЧ-радиостанции, когда усилитель мощности РПМ 1 – активен.
Ввод СНЧ-радиостанции в работу начинается с подготовительных операций, которые являются общими для всех вариантов ее использования, кроме штатного режима, и включают в себя:
– формирование на третьих выходах блоков управления БУ1 обоих РПМ в соответствии с заданной программой команды настройки согласующего устройства 4 на требуемый диапазон рабочей частоты;
– формирование на первом выходе БУ1 РПМ 1 команды ввода в работу возбудителя 2, формирующего первичную последовательность сигналов управления силовыми приборами усилителя мощности 3;
– формирование на третьих выходах дополнительных блоков управления ДБУ 7 команды на включение (отключение) переключателей 10, 11, 12, 13, 14, 15, 16, 17, 18 блока коммутации 9 РПМ 1 и блока коммутации 9 РПМ 2, соответствующих заданным режимам работы радиостанции.
Обмен информацией о состоянии переключателей осуществляется по линии передачи сигналов управления 10, которая выполнена оптоволоконной. Сигналы о состоянии переключателей БК 9 РПМ 1 и БК 9 РПМ 2 с шестых выходов этих блоков поступают на первые входы ДБУ 7 соответствующих РПМ. Если состояние вышеупомянутых переключателей соответствует заданному, то с первого выхода ДБУ 7 на вход БУ 1 РПМ 1 поступает “команда – разрешение” на ввод в работу усилителя мощности 3.
Для осуществления первого варианта подготовительные операции производятся только на РПМ 1. В этом случае с третьего выхода ДБУ 7 на четвертый вход БК 9 РПМ 1 поступает команда на включение переключателей 10, 11 и 14. Для формирования выходного сигнала РПМ 1 организуется цепь: выход усилителя мощности 3 – первый вход БК 9 – переключатели 10 и 11 – второй вход/выход БК 9 – второй вход/выход согласующего устройства 4 – выход согласующего устройства 4 – третий вход БК 9 – переключатель 14 – четвертый выход БК 9 – антенна 5.
Для осуществления второго варианта с третьего выхода ДБУ 7 РПМ 1 на четвертый вход БК 9 РПМ 1 поступает команда на включение переключателей 10 и 16, а с третьего выхода ДБУ 7 РПМ 2 на четвертый вход БК 9 РПМ 2 поступает команда на включение переключателей 14 и 17. Для формирования выходного сигнала СНЧ-радиостанции организуется цепь: выход усилителя мощности 3 РПМ 1 – первый вход БК 9 РПМ 1 – переключатели 10 и 16 – пятый вход/выход БК 9 РПМ 1 – фидерная линия 6 – пятый вход/выход БК 9 РПМ 2 – переключатель 17 – второй вход/выход БК 9 – второй вход/выход согласующего устройства 4 РПМ 2 – выход согласующего устройства 4 – третий вход БК 9 РПМ 2 – переключатель 14 – четвертый выход БК 9 – антенна 5 РПМ 2.
Для осуществления третьего варианта со второго выхода ДБУ 7 РПМ 1 на второй вход согласующего трансформатора 8 РПМ 1 поступает сигнал включения требуемого ответвления этого трансформатора, а с третьего выхода ДБУ 7 на четвертый вход БК 9 РПМ 1 поступает команда на включение переключателей 10, 12, 14 и 15. Для прохождения выходного сигнала РПМ 1 организуется цепь: выход усилителя мощности 3 – первый вход БК 9 – переключатели 10 и 15 – первый выход БК 9 – первый вход согласующего трансформатора 8 – выход согласующего трансформатора 8 – второй вход БК 9 – переключатель 12 – второй вход/выход БК 9 – второй вход/выход согласующего устройства 4 – выход согласующего устройства 4 – третий вход БК 9 – переключатель 14 – четвертый выход БК 9 – антенна 5 РПМ 1.
Для осуществления четвертого варианта со вторых выходов ДБУ 7 РПМ 1 и РПМ 2 соответственно на вторые входы согласующих трансформаторов 8 РПМ 1 и РПМ 2 поступают команды включения требуемых ответвлений этих трансформаторов. С третьего выхода ДБУ 7 РПМ 1 на четвертый вход БК 9 РПМ 1 поступает команда на включение переключателей 10, 12, 14, 15 и 16, а с третьего выхода ДБУ 7 РПМ 2 на четвертый вход БК 9 РПМ 2 – команда на включение переключателей 12, 14, 15 и 16. Для прохождения выходных сигналов СНЧ-радиостанции организуются две цепи. Для антенны РПМ 1: выход усилителя мощности 3 РПМ 1 – первый вход БК 9 РПМ 1 – переключатели 10 и 15 – первый выход БК 9 РПМ 1 – первый вход согласующего трансформатора 8 РПМ 1, выход трансформатора 8 – второй вход БК 9 – переключатель 12 – второй вход/выход БК 9 – второй вход/выход согласующего устройства 4 РПМ 1 – выход согласующего устройства 4 – третий вход БК 9 РПМ 1 – переключатель 14 – четвертый выход БК 9 РПМ 1 – антенна 5 РПМ 1. Для антенны РПМ 2: выход усилителя мощности 3 РПМ 1 – первый вход БК 9 РПМ 1 – переключатели 10 и 16 – пятый вход/выход БК 9 РПМ 1 – фидерная линия 6 – пятый вход/выход БК 9 РПМ 2 – переключатели 16 и 15 – первый выход БК 9 РПМ 2 – первый вход согласующего трансформатора 8 РПМ 2 – выход трансформатора 8 – второй вход БК 9 РПМ 2 – переключатель 12 – второй вход/выход БК 9 РПМ 2 – второй вход/выход согласующего устройства 4 РПМ 2 – выход согласующего устройства 4 – третий вход БК 9 РПМ 2 – переключатель 14 – четвертый выход БК 9 РПМ 2 – антенна 5 РПМ 2.
Для осуществления пятого варианта со второго выхода ДБУ 7 РПМ 1 на второй вход согласующего трансформатора 8 РПМ 1 поступает команда включения требуемого ответвления этого трансформатора. С третьего выхода ДБУ 7 РПМ 1 на четвертый вход БК 9 РПМ 1 поступает команда на включение переключателей 10, 13, 14, 15 и 17, а с третьего выхода ДБУ 7 РПМ 2 на четвертый вход БК 9 РПМ 2 поступает команда на включение переключателя 18. Для прохождения выходного сигнала СНЧ-радиостанции организуется цепь: выход усилителя мощности 3 РПМ 1 – первый вход БК 9 РПМ 1 – переключатели 10 и 15 – первый выход БК 9 РПМ 1 – первый вход согласующего трансформатора 8 – второй вход БК 9 РПМ 1 – переключатель 13 – третий выход БК 9 РПМ 1 – третий вход (средняя точка) согласующего устройства 4 РПМ 1. Далее цепь расщепляется. Прохождение сигнала до антенны 5 РПМ 1 осуществляется по цепи: выход согласующего устройства 4 РПМ 1 – третий вход БК 9 РПМ 1 – переключатель 14 – четвертый выход БК 9 РПМ 1 – антенна 5 РПМ 1. Прохождение сигнала до антенны 5 РПМ 2 осуществляется по цепи: второй вход/выход согласующего устройства 4 РПМ 1 – второй вход/выход БК 9 РПМ 1 – переключатель 17 – пятый вход/выход БК 9 РПМ 1 – фидерная линия 6 – пятый вход/выход БК 9 РПМ 2 – переключатель 18 – четвертый выход БК 9 РПМ 2 – антенна 5 РПМ 2.
Формула изобретения
Передающая радиостанция диапазона сверхнизких частот, включающая первый и второй дистанционно разнесенные идентичные радиопередающие модули, каждый из которых содержит последовательно соединенные блок управления, возбудитель и усилитель мощности, второй и третий выходы блока управления соединены соответственно с одноименным входом усилителя мощности и первым входом согласующего устройства, а также горизонтальную заземленную на концах антенну, причем антенны упомянутых модулей параллельно ориентированы между собой, отличающаяся тем, что в нее введена фидерная линия и в каждый модуль введены дополнительный блок управления, согласующий трансформатор с переменным коэффициентом трансформации и блок коммутации, первый, второй и третий входы которого соединены соответственно с выходами усилителя мощности, согласующего трансформатора и согласующего устройства, первый и третий выходы блока коммутации подключены к одноименным входам соответственно согласующего трансформатора и согласующего устройства, второй вход/выход блока коммутации соединен с одноименным входом/выходом согласующего устройства, первый, второй и третий выходы дополнительного блока управления подключены соответственно к входу блока управления, одноименному входу согласующего трансформатора и четвертому входу блока коммутации, четвертый выход которого соединен с антенной, шестой выход подключен к первому входу дополнительного блока управления, при этом пятые входы/выходы блоков коммутации первого и второго радиопередающих модулей соединены между собой фидерной линией, а вторые входы/выходы дополнительных блоков управления упомянутых модулей объединены линией передачи сигналов управления.
РИСУНКИ
|
|