|
|
(21), (22) Заявка: 2004124895/06, 17.08.2004
(24) Дата начала отсчета срока действия патента:
17.08.2004
(45) Опубликовано: 20.03.2006
(56) Список документов, цитированных в отчете о поиске:
АБРАМЯН Е.А. Промышленные ускорители электронов. – М.: Энергоатомиздат, 1986, с.192-194. SU 1381608 A1, 15.03.1988. SU 1190953 A1, 20.02.1995. SU 427395 A1, 05.05.1974. US 2887583 A, 19.05.1959.
Адрес для переписки:
246012, г.Гомель, МЖК “Солнечный”, корп.1, кв.81, В.П. Селькину
|
(72) Автор(ы):
Селькин Владимир Петрович (BY)
(73) Патентообладатель(и):
Селькин Владимир Петрович (BY)
|
(54) УСТРОЙСТВО ДЛЯ ОБЛУЧЕНИЯ ГИБКИХ ПРОТЯЖЕННЫХ ИЗДЕЛИЙ
(57) Реферат:
Изобретение относится к облучающим приборам с приспособлениями для относительного перемещения источника излучения и объекта облучения. Техническим результатом изобретения является улучшение качества облучаемых изделий, в частности кабельных изделий, путем повышения равномерности их облучения. Устройство для облучения гибких протяженных изделий содержит ускоритель электронов со щелевидным выпускным окном и блоки с роликами, дополнительно содержит установленные попарно блоки, ролики в которых имеют различные диаметры и установлены на осях блоков в порядке возрастания или убывания диаметров, причем в каждой паре блоков порядок установки роликов на осях блоков одинаковый, при этом в каждой паре блоки расположены по разные стороны от выпускного окна напротив друг друга, а их оси параллельны и пересекаются с плоскостью, на которой расположено выпускное окно, и пересекаются или перекрещиваются с осями блоков одной или более других пар. В блоках, ролики в которых имеют различные диаметры, ролики имеют диаметры, изменяющиеся в арифметической прогрессии, разность которой равна удвоенному шагу размещения роликов на оси блока, умноженному на tg , где – угол между осью блока с роликами и плоскостью, на которой расположено выпускное окно. 1 н. и 1 з.п. ф-лы, 6 ил. 
Изобретение относится к облучающим приборам с приспособлениями для относительного перемещения источника излучения и объекта облучения.
Известно устройство для облучения кабельных изделий, включающее ускоритель электронов и два барабана с параллельными осями вращения (А.с. СССР №427395, МПК Н 01 В 13/00, опубл. 1971). Устройство позволяет осуществлять радиационное модифицирование изоляции кабельных изделий, многократно пропуская их под потоком ускоренных электронов, огибая кабельным изделием барабаны и смещая его в направлении оси барабанов. Поскольку необходимую поглощенную дозу излучения изделие получает за много проходов удается ограничить его нагрев в процессе облучения и избежать окисления полимерной изоляции. Недостатком устройства являются механические повреждения и разрывы кабельных изделий при их заправке с перекрещиванием прямых и обратных ветвей под выпускным окном ускорителя электронов, т.е. заправке “восьмеркой”, которую используют для двухстороннего облучения кабельных изделий. Это происходит из-за разной скорости огибания барабана участками изделия, имеющими разный диаметр. Поскольку реальные кабельные изделия имеют по длине неравномерный диаметр, данное устройство ввиду указанного недостатка используется ограниченно для облучения узкой номенклатуры кабельных изделий (провода с сечением жилы порядка 0,1 мм2 и менее, которые заправляют на барабаны без перекрещивания ветвей).
Наиболее близким к заявляемому устройству по технической сущности и достигаемому положительному эффекту является устройство для облучения гибких протяженных изделий, в частности кабельных изделий, содержащее ускоритель электронов, оснащенный устройством выпуска электронов в виде раструба, имеющего щелевидное выпускное окно, и два расположеных по разные стороны от выпускного окна блока с роликами, оси которых параллельны друг другу и продольной стороне выпускного окна, при этом в каждом блоке установлены ролики одинакового диаметра (Абрамян Е.А. Промышленные ускорители электронов. – М.: Энергоатомиздат, 1986, с.192-194 – прототип).
Устройство позволяет многократно последовательно пропускать кабельное изделие под выпускным окном устройства выпуска электронов в направлении, поперечном щелевидному выпускному окну, набирая требуемую дозу облучения отдельными циклами, чтобы изделие между циклами облучения успевало охладиться. При этом для осуществления двухстороннего облучения кабельное изделие пропускают, огибая противостоящие ролики таким образом, чтобы прямые и обратные ветви перекрещивались под выпускным окном, поворачиваясь после каждого прохода на 180°. Таким образом, заправка кабельного изделия приобретает вид “восьмерки”, а линия перекрещивания прямых и обратных ветвей располагается вдоль выпускного окна. Выполнение конвейера для перемещения кабельного изделия в виде роликовых блоков устраняет разрывы и механические повреждения кабельных изделий, обуславливаемые непостоянством их диаметра, так как каждый ролик в блоке вращается независимо от других.
Однако устройство не обеспечивает равномерности облучения по периметру кабельных изделий с сечением жилы более 2,5 мм2. Так как реальные кабельные изделия имеют центр тяжести, не совпадающий и их геометрической осью, при облучении кабельных изделий со средним или крупным сечением токоведущей жилы возникает значительный крутящий момент, заставляющий изделия в процессе перемотки разворачиваться таким образом, чтобы их центр тяжести располагался как можно ближе к поверхности облегаемого ролика, т.е. занимал положение устойчивого равновесия. Поскольку при заправке “восьмеркой” кабельное изделие устанавливают на ролики разных блоков противолежащими сторонами, в процессе перемотки возникает крутящий момент, вызывающий вращение изделия вокруг своей оси. В результате за один проход изделие совершает относительно выпускного окна полуоборот на 180°, а при обратном проходе совершает обратный полуоборот на 180°. Таким образом, поскольку выпускное окно находится над местом перекрещивания (посередине между роликовыми блоками) изделие каждый раз оказывается под ним ориентированным к выпускному окну и потоку ускоренных электронов одной и той же стороной. Данный эффект снижает качество кабельного изделия из-за неравномерности облучения по его периметру.
Задачей предлагаемого изобретения является улучшение качества облучаемых изделий, в частности кабельных изделий, путем повышения равномерности их облучения.
Задача решается за счет того, что устройство для облучения гибких протяженных изделий, содержащее ускоритель электронов со щелевидным выпускным окном и блоки с роликами, дополнительно содержит установленные попарно блоки, ролики в которых имеют различные диаметры и установлены на осях блоков в порядке возрастания или убывания диаметров, причем в каждой паре блоков порядок установки роликов на осях блоков одинаковый, при этом в каждой паре блоки расположены по разные стороны от выпускного окна напротив друг друга, причем их оси параллельны и пересекаются с плоскостью, на которой расположено выпускное окно, и пересекаются или перекрещиваются с осями блоков одной или более других пар.
Задача также решается тем, что в блоках, ролики в которых имеют различные диаметры, ролики имеют диаметры, изменяющиеся в арифметической прогрессии, разность которой равна удвоенному шагу размещения роликов на оси блока, умноженному на tg , где – угол между осью блока с роликами и плоскостью, на которой расположено выпускное окно.
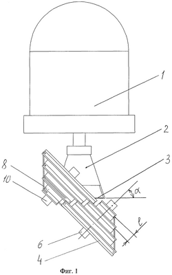
Изобретение иллюстрируется чертежами, где на фиг.1 представлено расположение блоков с роликами, а на фиг.2 общий вид устройства, рассчитанного на двухстороннее облучение кабельного изделия и содержащего две пары блоков с роликами разного диаметра, причем оси блоков одной пары перекрещиваются с осями блоков другой пары. На фиг.3 и 4 показано устройство, рассчитанное на трехстороннее облучение и включающего блоки с роликами одинакового диаметра и две пары блоков с роликами разного диаметра, причем оси блоков одной пары пересекаются (для блоков, расположенных с одной стороны от выпускного окна) или перекрещиваются (для блоков, расположенных с разных сторон от выпускного окна) с осями блоков двух других пар. На фиг.5 и 6 показано устройство, рассчитанное на четырехстороннее облучение кабельного изделия и включающее четыре пары блоков с роликами разного диаметра, причем оси блоков любой пары параллельны осям блоков одной другой пары и перекрещиваются с осями блоков двух других пар.
Устройство, показанное на фиг.1 и 2, содержит ускоритель электронов 1 с раструбом 2, имеющим щелевидное выпускное окно 3 для вывода пучка электронов, и две пары блоков, ролики в которых имеют различные диаметры. Это блоки 4 и 5 с роликами, оси 6 и 7 которых параллельны друг другу, и блоки 8 и 9 с роликами, оси 10 и 11 которых параллельны друг другу. Оси 6 и 7 блоков 4 и 5 первой пары и оси 10 и 11 блоков 8 и 9 второй пары пересекают плоскость, на которой расположено выпускное окно 3, под углом 45° и перекрещиваются между собой под углом 90°. Ролики различного диаметра на осях блоков установлены в порядке возрастания (блоки 8 и 9) или убывания (блоки 4 и 5) их диаметров, причем порядок установки в блоках каждой пары совпадает (соответственно в блоках 4 и 5, 8 и 9).
Устройство, показанное на фиг.3 и 4, содержит ускоритель электронов 1 с раструбом 2, имеющим щелевидное выпускное окно 3 для вывода пучка электронов, и две пары блоков (4 и 5, 13 и 14), ролики в которых имеют различные диаметры, а также одну пару блоков с роликами одинакового диаметра (блоки 8 и 9). Оси блоков попарно параллельны друг другу (соответственно ось 6 параллельна оси 7, ось 10 параллельна оси 11, а ось 15 параллельна оси 16). Оси (6 и 7, 15 и 16) пар блоков с роликами разного диаметра (5 и 6, 13 и 14) пересекают плоскость, на которой расположено выпускное окно 3, под углом 30° и пересекаются или перекрещиваются между собой под углом 60°, а с осями (10 и 11) блоков с роликами одинакового диаметра (8 и 9) пересекаются или перекрещиваются под углом 30°. Ролики различного диаметра на осях блоков установлены в порядке возрастания (блоки 4 и 5) или убывания (блоки 13 и 14) их диаметров, причем порядок установки в блоках каждой пары совпадает (соответственно в блоках 4 и 5, 13 и 14).
Устройство, показанное на фиг.5 и 6, содержит ускоритель электронов 1 с раструбом 2, имеющим щелевидное выпускное окно 3 для вывода пучка электронов и четыре пары блоков (4 и 5, 8 и 9, 13 и 14, 17 и 18), ролики в которых имеют различные диаметры. Оси блоков попарно параллельны друг другу (соответственно ось 6 параллельна оси 7, ось 10 параллельна оси 11, ось 15 параллельна оси 16, а ось 19 – оси 20). Оси блоков пересекают плоскость, на которой расположено выпускное окно 3, под углом 45°. Ролики различного диаметра на осях блоков установлены в порядке возрастания (блоки 4 и 5, 8 и 9) или убывания (блоки 13 и 14, 17 и 18) их диаметров, причем порядок установки в блоках каждой пары совпадает (соответственно в блоках 4 и 5, 8 и 9, 13 и 14, 17 и 18).
На чертежах также показано гибкое протяженное изделие 12. Для того чтобы показать выпускное окно 3, на чертежах раструб 2 выполнен с продольным разрезом.
Необходимо отметить, что возможно выполнение устройства и с большим числом пар роликовых блоков.
Устройство работает следующим образом. Изделие 12, например кабельное изделие, устанавливают на верхнюю точку ролика блока 4, огибают его и устанавливают изделие на нижнюю точку противолежащего ролика блока 5, после чего огибают его и возвращают на следующий ролик блока 4 (фиг.2). При этом изделие охватывает противолежащие ролики. Эту операцию повторяют для последующих роликов вплоть до заполнения блоков 4 и 5 витками гибкого протяженного изделия 12. Так как разность диаметров соседних роликов в каждом блоке (по дну ручья для размещения гибкого протяженного изделия) равна удвоенному шагу размещения роликов на оси блока (т.е. удвоенному расстоянию l между плоскостями сечения соседних роликов по дну ручья для размещения гибкого протяженного изделия), умноженному на tg , где – угол между осью блока и плоскостью выпускного окна, верхние участки витков изделия 12 располагаются на плоскости параллельной выпускному окну 3 (фиг.1). Блоки роликов 4 и 5 размещены по отношению к выпускному окну 3 так, что эти участки витков располагаются непосредственно под ним. После заполнения блоков 4 и 5 изделие 12 устанавливают на нижнюю точку ролика блока 8, огибают его и устанавливают изделие на верхнюю точку противолежащего ролика блока 9, после чего огибают его и возвращают на следующий ролик блока 8. Эту операцию повторяют для последующих роликов вплоть до заполнения блоков 8 и 9 витками изделия 12. При этом нижние участки витков изделия 12 располагаются на плоскости, параллельной плоскости выпускного окна 3, непосредственно под ним. При выполнении устройства с большим числом блоков с роликами (фиг.3 и 4, 5 и 6) изделие аналогично располагают на блоках следующих пар блоков с роликами (13 и 14, 17 и 18). При этом изделие 12 располагают между витками, охватывающими блоки предыдущей пары (фиг.1, 2), или после них в направлении вдоль выпускного окна 3 (фиг.3, 4), или совмещают оба метода расположения (фиг.5, 6). Включают привод перемещения гибкого протяженного изделия 12 и ускоритель электронов 1. Изделие 12 в процессе перемотки при облучении разворачивается таким образом, что его центр тяжести располагается как можно ближе к поверхности облегаемого ролика, т.е. ориентируется центром тяжести в направлении к оси ролика. При этом изделие ориентируется к потоку ускоренных электронов двумя противоположными сторонами (фиг.1, 2), тремя сторонами со смещением в 120° (фиг.3, 4), или четырьмя сторонами со смещением в 90° (фиг.5, 6). В результате облучение гибкого протяженного изделия 12 по мере его перематывания через ролики всех блоков происходит с разных сторон.
Предложенное устройство может быть использовано для радиационного модифицирования как изоляции кабелей и проводов, так и полимерных трубок, а также радиационной обработки других гибких протяженных изделий.
Источники информации
1. А.с. СССР №427395, МПК Н 01 В 13/00, опубл. 1971.
2. Абрамян Е.А. Промышленные ускорители электронов. – М.: Энергоатомиздат, 1986, с.192-194 (прототип).
Формула изобретения
1. Устройство для облучения гибких протяженных изделий, содержащее ускоритель электронов со щелевидным выпускным окном и блоки с роликами, отличающееся тем, что содержит установленные попарно блоки, ролики в которых имеют различные диаметры и установлены на осях блоков в порядке возрастания или убывания диаметров, причем в каждой паре блоков порядок установки роликов на осях блоков одинаковый, при этом в каждой паре блоки расположены по разные стороны от выпускного окна напротив друг друга, причем их оси параллельны и пересекаются с плоскостью, на которой расположено выпускное окно, и пересекаются или перекрещиваются с осями блоков одной или более других пар.
2. Устройство по п.1, отличающееся тем, что в блоках, ролики в которых имеют различные диаметры, ролики имеют диаметры, изменяющиеся в арифметической прогрессии, разность которой равна удвоенному шагу размещения роликов на оси блока, умноженному на tg , где – угол между осью блока с роликами и плоскостью, на которой расположено выпускное окно.
РИСУНКИ
MM4A – Досрочное прекращение действия патента СССР или патента Российской Федерации на изобретение из-за неуплаты в установленный срок пошлины за поддержание патента в силе
Дата прекращения действия патента: 18.08.2006
Извещение опубликовано: 20.08.2007 БИ: 23/2007
NF4A Восстановление действия патента СССР или патента Российской Федерации на изобретение
Дата, с которой действие патента восстановлено: 20.11.2007
Извещение опубликовано: 20.11.2007 БИ: 32/2007
MM4A – Досрочное прекращение действия патента СССР или патента Российской Федерации на изобретение из-за неуплаты в установленный срок пошлины за поддержание патента в силе
Дата прекращения действия патента: 18.08.2008
Извещение опубликовано: 20.07.2010 БИ: 20/2010
|
|