|
|
(21), (22) Заявка: 2004123903/06, 04.08.2004
(24) Дата начала отсчета срока действия патента:
04.08.2004
(45) Опубликовано: 20.03.2006
(56) Список документов, цитированных в отчете о поиске:
FR 2439462 A1, 16.05.1980. RU 2197026 C2, 20.01.2003. GB 1035057 A, 06.07.1966. DE 2654297 A1, 08.06.1977.
Адрес для переписки:
664022, г.Иркутск, ул. 6-я Советская, 20, ФГУП Иркутский спецкомбинат “Радон”, директору Э.А. Минаеву
|
(72) Автор(ы):
Минаев Эдуард Александрович (RU), Шипилов Анатолий Евгеньевич (RU), Хафизов Павел Хакович (RU), Мироненко Сергей Николаевич (RU), Родионов Александр Дмитриевич (RU), Бердникович Виктор Георгиевич (RU), Шабалин Николай Ильич (RU), Козлов Станислав Владимирович (RU), Будаев Сергей Цымпилович (RU), Довыдовский Сергей Андреевич (RU), Верхушин Виктор Геннадьевич (RU)
(73) Патентообладатель(и):
Федеральное государственное унитарное предприятие “Иркутский специализированный комбинат радиационной безопасности “Радон” (RU)
|
(54) КОНТЕЙНЕР ДЛЯ ХРАНЕНИЯ И/ИЛИ ЗАХОРОНЕНИЯ ИСТОЧНИКОВ АЛЬФА- И БЕТА-ИЗЛУЧЕНИЯ
(57) Реферат:
Изобретение относится к области атомной техники. Сущность изобретения: контейнер для хранения и/или захоронения источников альфа- и бета-излучения включает корпус с загрузочной полостью и крышку, такелажные узлы, помещенные в контейнер пеналы с источниками альфа- и бета- излучения. При этом корпус и крышка изготовлены в виде монолитных блоков из мелкозернистой горной породы с высоким содержанием кремнезема от 65 до 80%, например из черного долерита, гранита или базальта. Сопрягаемые поверхности корпуса и крышки выполнены плоскими. Загрузочная полость выполнена в виде отдельно расположенных загрузочных гнезд для каждого пенала с источниками альфа- и бета- излучения. Каждый пенал установлен в загрузочном гнезде с образованием между ним и стенкой загрузочного гнезда свободного пространства, нижняя часть которого заполнена сыпучим материалом, а верхняя – парафином. Корпус и крышка имеют ответные гнезда для закладки крепежных штифтов. Преимущества изобретения заключаются в увеличении срока службы и повышении радиационно-защитных свойств контейнера. 4 з.п. ф-лы, 2 ил. 
Предлагаемое изобретение относится к области охраны окружающей среды и радиационной безопасности населения и может быть использовано для долговременного хранения и/или захоронения выработавших ресурс в изотопных приборах источников альфа- и бета-излучения.
Известен контейнер для хранения и/или захоронения твердых радиоактивных отходов (патент РФ №2056653, кл. G 21 F 5/005, опубл. 20.03.1996), содержащий корпус и герметичную крышку, изготовленные из железобетона. Корпус имеет одну общую полость для загрузки твердых радиоактивных отходов, такелажные узлы и углубление под крышку. Стенки крышки и боковые стороны углубления корпуса имеют клиновидные выступы, смещенные на шаг относительно друг друга, при этом между выступами выполнен рабочий зазор, который заполняется вяжущим материалом. Регламентированная толщина стенок корпуса и толщина крышки составляет не менее 0,2 м. Корпус изготовлен в форме параллелепипеда с закругленными углами.
Основной недостаток известного контейнера заключается в том, что при длительном его хранении материал, из которого он изготовлен (железобетон), способен к растрескиванию под воздействием влаги, повышенной кислотности окружающей среды и перепадов температур, что неизбежно приводит к его разрушению, а следовательно, к загрязнению окружающей среды радионуклидами. Кроме того, в период эксплуатации известного контейнера процесс открывания крышки усложняется необходимостью удаления слоя вяжущего материала из рабочего зазора, что затрудняет оперативный доступ к источникам альфа- и бета-излучения, для периодического контроля за состоянием капсул и пеналов, а также для их замены.
Известен контейнер для хранения источников излучения (см. патент Франции №2439462 А1, кл. G 21 F 5/00, G 21 G 4/08, G 21 H 5/02, опубл. 16.05.1980), наиболее близкий к предлагаемому изобретению по совокупности существенных признаков. Устройство содержит подвижную часть, которая перемещается относительно неподвижной части между положением закрывания. Каждая часть устройства имеет такую форму, что подвижную часть можно концентрически поворачивать внутри неподвижной части. Контейнер имеет отверстие для ввода источника излучения, образованное смежными участками подвижной и неподвижной частями в положении открывания.
Известному контейнеру также присущи недостатки, характерные для всех конструкций из бетона и стали. То есть бетон вследствие своей структуры и минерального состава имеет склонность к разрушению (образованию трещин и выщелачиванию) под воздействием влаги, повышенной кислотности окружающей среды и циклически изменяющихся температур при длительном хранении и/или захоронении. В результате этого разрушения снижаются радиационно-защитные свойства железобетона, что приводит к повышению радиационного фона окружающей среды. По этим причинам известный контейнер не может обеспечить надежную и длительную защиту окружающей среды от загрязнения ее радионуклидами. Гарантийный срок хранения железобетонного контейнера составляет 10 лет.
Кроме того, известный контейнер не может обеспечить надежное хранение источников излучения, а также является сложным в изготовлении. При этом известное устройство не может быть использовано для захоронения источников излучения.
Задачей предлагаемого изобретения является повышение стойкости материала контейнера к воздействию влаги и перепадов температуры и увеличение сроков длительного и безопасного хранения и/или захоронения источников альфа- и бета-излучения. Дополнительной задачей является исключение радиационного воздействия на окружающую среду и обеспечение возможности удобного и быстрого извлечения пеналов из контейнера без их разрушения для повторного использования источников альфа- и бета-излучения в промышленной сфере в период их хранения.
Поставленная задача решается тем, что в контейнере для хранения и/или захоронения источников альфа- и бета-излучения, включающем корпус с загрузочной полостью и крышку, такелажные узлы, помещенные в контейнер пеналы с источниками альфа- и бета-излучения, согласно изобретению корпус и крышка изготовлены в виде монолитных блоков из мелкозернистой горной породы с высоким содержанием кремнезема (от 65 до 80%), например из черного долерита, гранита или базальта, верхняя поверхность корпуса и нижняя поверхность крышки выполнены плоскими, загрузочная полость выполнена в виде отдельно расположенных загрузочных гнезд для каждого пенала с источниками альфа- и бета-излучения, при этом каждый пенал установлен в загрузочном гнезде с образованием между ним и стенками загрузочного гнезда свободного пространства, нижняя часть которого заполнена сыпучим материалом, а верхняя – парафином, корпус и крышка имеют ответные гнезда для закладки крепежных штифтов.
Между корпусом и крышкой может быть установлена герметизирующая свинцовая прокладка.
Загрузочные гнезда могут быть расположены вертикально и могут иметь цилиндрическую форму.
Пеналы могут быть изготовлены из стекла и герметизированы. В качестве сыпучего материала может быть использован песок. Технический результат предлагаемого изобретения заключается в существенном увеличении срока службы контейнера без его разрушения. В значительном повышении радиационно-защитных свойств контейнера за счет более высокой плотности мелкозернистой горной породы и в повышенной стойкости этого материала против воздействия таких факторов окружающей среды, как высокая влажность, циклические изменения температуры, воздействие повышенной кислотности и т.п. Кроме того, технический результат выражается в упрощении конструкции контейнера и технологии его изготовления, в облегчении процедуры извлечения пеналов из контейнера для текущего контроля состояния их оболочек, а также для их замены или для повторного использования источников излучения.
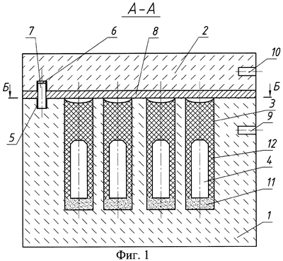
Сущность предлагаемого изобретения поясняется чертежами, где на фиг.1 схематично показан вертикальный разрез контейнера с помещенными в его загрузочных гнездах пеналами (разрез по А-А на фиг.2); на фиг.2 – вид сверху на корпус контейнера со снятой крышкой с загрузочными гнездами для пеналов (вид по Б-Б на фиг.1).
Корпус 1 предложенного контейнера и его крышка 2 изготовлены в виде монолитных блоков из мелкозернистой горной породы с высоким содержанием кремнезема (от 65 до 80%), например из черного долерита, гранита или базальта. Данная горная порода является стойкой к таким разрушающим факторам, как высокая влажность, циклические изменения температуры, воздействие повышенной кислотности окружающей среды и т.п. Корпус 1 имеет форму параллелепипеда или другую, удобную для перевозки и складирования форму. Верхняя поверхность корпуса 1 и прилегающая к ней нижняя поверхность крышки 2 выполнены плоскими и имеют невысокую степень шероховатости. В корпусе 1 со стороны его верхней поверхности выполнены посредством сверления загрузочные гнезда 3, расположенные вертикально и имеющие цилиндрическую форму. Между загрузочными гнездами 3 сохраняется стенка необходимой толщины для исключения взаимного влияния источников излучения. Толщина боковых стенок корпуса 1 и его нижней стенки составляет не менее 0,08 м. Толщина крышки 2 составляет не менее 0,05 м. Продольные и поперечные размеры загрузочных гнезд 3 превышают соответствующие размеры закладываемых в них пеналов 4. В корпусе 1 и в крышке 2 высверлены по два ответных гнезда 5 и 6 соответственно для закладки в них крепежных штифтов 7. Ответные гнезда 5 и 6 расположены в противоположных углах корпуса 1 и крышки 2. Между корпусом 1 и крышкой 2 помещена плоская свинцовая прокладка 8, расположенная по периферийной части зоны сопряжения корпуса 1 и крышки 2 или по всей поверхности этой зоны. В прокладке 8 имеются отверстия для прохода крепежных штифтов 7 (не показаны), совпадающие с расположением ответных гнезд 5 и 6. В корпусе 1 высверлены четыре такелажных гнезда 9, а в крышке 2 – четыре такелажных гнезда 10. Такелажные гнезда 9 расположены параллельно верхней поверхности корпуса 1, а такелажные гнезда 10 – параллельно нижней поверхности крышки 2.
Капсулы с источниками альфа- и бета-излучения (не показаны) помещают в пеналы 4, изготовленные из металла или из стекла. Пеналы 4 герметизируют: металлические – завинчивают специальными крышками, а стеклянные – запаивают с помощью специального устройства. Корпус 1 устанавливают в горизонтальное положение. При снятой крышке 2 на дно загрузочных гнезд 3 корпуса 1 насыпают слой чистого речного песка 11 и затем в загрузочные гнезда 3 помещают пеналы 4. Каждый пенал 4 устанавливают вертикально на подушке из песка 11 так, чтобы между его стенками и боковыми стенками гнезда 3 образовалось свободное кольцевое пространство, в которое запивают расплавленный парафин 12 до уровня, расположенного выше пенала 4. Каждое загрузочное гнездо 3 маркируют для удобства нахождения нужного контейнера 4. После этого в ответные гнезда 5 закладывают крепежные штифты 7 и устанавливают свинцовую прокладку 8. С помощью подъемного механизма с использованием такелажных гнезд 10 крышку 2 накладывают на верхнюю поверхность корпуса 1 таким образом, чтобы крепежные штифты 7 вошли в ее ответные гнезда 6. При этом крепежные штифты 7 удерживают крышку 2 в закрытом положении даже при небольшом наклоне контейнера.
В процессе хранения источников излучения может возникнуть необходимость вскрытия контейнера для проверки состояния пеналов 4, или с целью повторного использования источников излучения, или для их пополнения, или замены. В этих случаях контейнер позволяет легко снять крышку 2 с корпуса 1 и осуществить быстрый доступ к каждому загрузочному гнезду 3. Для того чтобы извлечь пенал 4 из загрузочного гнезда 3 достаточно расплавить парафин 12 с помощью специального устройства.
Предложенный контейнер по сравнению с прототипом позволяет увеличить гарантийный срок хранения и/или захоронения источников альфа- и бета-излучения в 10 раз, то есть не менее чем до 100 лет. При этом предлагаемый контейнер прост в изготовлении и в эксплуатации, облегчает доступ к каждому пеналу 4. Радиационно-защитные свойства предлагаемого контейнера значительно превышают аналогичные свойства прототипа при равной толщине их стенок (0,08 м). Например, мощность экспозиционной дозы (МЭД) наружной поверхности предлагаемого контейнера составляет соответственно 0,03; 1,69 и 0,014 мР/ч.
Формула изобретения
1. Контейнер для хранения и/или захоронения источников альфа- и бета-излучения, включающий корпус с загрузочной полостью и крышку, такелажные узлы, помещенные в контейнер пеналы с источниками альфа- и бета- излучения, отличающийся тем, что корпус и крышка изготовлены в виде монолитных блоков из мелкозернистой горной породы с высоким содержанием кремнезема от 65 до 80%, например из черного долерита, гранита или базальта, сопрягаемые поверхности корпуса и крышки выполнены плоскими, загрузочная полость выполнена в виде отдельно расположенных загрузочных гнезд для каждого пенала с источниками альфа- и бетаизлучения, при этом каждый пенал установлен в загрузочном гнезде с образованием между ним и стенкой загрузочного гнезда свободного пространства, нижняя часть которого заполнена сыпучим материалом, а верхняя – парафином, корпус и крышка имеют ответные гнезда для закладки крепежных штифтов.
2. Контейнер по п.1, отличающийся тем, что между корпусом и крышкой установлена герметизирующая свинцовая прокладка.
3. Контейнер по п.1, отличающийся тем, что загрузочные гнезда расположены вертикально и имеют цилиндрическую форму.
4. Контейнер по п.1, отличающийся тем, что пеналы изготовлены из стекла и герметизированы путем их запаивания.
5. Контейнер по п.1, отличающийся тем, что в качестве сыпучего материала использован песок.
РИСУНКИ
MM4A – Досрочное прекращение действия патента СССР или патента Российской Федерации на изобретение из-за неуплаты в установленный срок пошлины за поддержание патента в силе
Дата прекращения действия патента: 05.08.2006
Извещение опубликовано: 20.08.2007 БИ: 23/2007
|
|