|
(21), (22) Заявка: 2004124669/06, 12.08.2004
(24) Дата начала отсчета срока действия патента:
12.08.2004
(45) Опубликовано: 20.03.2006
(56) Список документов, цитированных в отчете о поиске:
КРАВЕЦ С.Б. Анализ сейсмостойкости технологического оборудования в системе с опорными конструкциями и оборудованием первого энергоблока Ростовской АЭС. Тяжелое машиностроение. 2002, №7, с.34-35. RU 2207562 C1, 27.06.2003. RU 2146810 C1, 20.03.2000. RU 2174645 C2, 10.10.2001. US 5361636 A, 08.11.1994.
Адрес для переписки:
347371, Ростовская обл., г. Волгодонск-13, б-р Великой Победы, 13, ГУДП ВЦ ВНИИАМ
|
(72) Автор(ы):
Кравец Сергей Борисович (RU)
(73) Патентообладатель(и):
Государственное унитарное дочернее предприятие Волгодонский Центр Всероссийского научно-исследовательского и проектно-конструкторского института атомного энергетического машиностроения (ГУДП ВЦ ВНИИАМ) (RU)
|
(54) СПОСОБ КОНТРОЛЯ СОСТОЯНИЯ ОПОРНЫХ КОНСТРУКЦИЙ ГОРЯЧИХ ТРУБОПРОВОДОВ
(57) Реферат:
Изобретение относится к ядерной технике. Технический результат – обеспечение эффективного способа проведения периодического контроля состояния опорных конструкций горячих трубопроводов АЭС с установленной на них теплоизоляцией. Способ контроля состояния опорных конструкций горячих трубопроводов включает визуальный контроль, возбуждение свободных собственных колебаний испытываемого участка трубопровода путем приложения одиночных силовых импульсов, анализ этих колебаний для получения собственных динамических характеристик трубопровода, установку и жесткое закрепление полых стаканов, каждый из которых включает в себя крышку и, по меньшей мере, два платика, на которых размещают измерительные датчики, установку теплоизоляции на трубопровод, причем возбуждение свободных собственных колебаний силовым воздействием осуществляют на верхние крышки полых стаканов, сопоставляют спектры собственных частот колебаний, полученных в начальный период работы трубопровода и на момент проведения контроля, и по результатам сопоставления судят о наличии макродефектов в опорных конструкциях горячих трубопроводов. 3 ил. 
Заявляемый способ относится к ядерной технике, а точнее к области контроля трубопроводов атомных станций, и может быть использован для контроля состояния опорных конструкций горячих трубопроводов на стадии пуско-наладочных работ и в процессе эксплуатации. Под горячими трубопроводами понимаются технологические трубопроводы атомных станций с температурой стенки более 60 градусов Цельсия и имеющие теплоизоляцию.
Для обеспечения надежной и безопасной эксплуатации потенциально опасных объектов, к которым относятся горячие трубопроводы, необходимо периодическое проведение оценки их прочности и работоспособности в штатном состоянии, особенно после определенного срока эксплуатации или каких-либо внешних воздействий.
Макродефекты в опорных конструкциях горячих трубопроводов при динамических воздействиях, таких как вибрационное, сейсмическое, удар самолета, ударная волна, могут привести к возникновению дополнительных усилий на трубопроводы, не предусмотренных проектом, которые создают опасность разрушения трубопроводов.
В настоящее время существует много способов оценки фактического состояния непосредственно самих трубопроводов – визуальный контроль, гидроиспытания, толщинометрия, метод акустической эмиссии. Однако качество опорных конструкций трубопроводов атомных станций на данный момент оценивают при помощи только визуального контроля (1).
Недостатками визуального контроля являются высокая трудоемкость проведения полномасштабного контроля, отсутствие количественной оценки, ограниченность проведения контроля в процессе эксплуатации, так как установленная на трубопроводы теплоизоляция ограничивает полноценный доступ к месту контроля.
Прототипом, являющимся наиболее близким к заявляемому способу по совокупности существенных признаков, является способ оценки сейсмостойкости опорных конструкций технологического оборудования АЭС, проводящийся на стадии пуско-наладочных работ (2).
Сущность известного способа заключается в том, что в нем единовременно определяются характеристики свободных собственных колебаний смонтированного энергетического оборудования без установки теплоизоляции, а на основании этих результатов производится оценка сейсмостойкости этого оборудования.
Недостатками известного способа являются отсутствие фиксированного места измерения виброускорений и невозможность проведения периодического контроля состояния опорных конструкций трубопроводных систем АЭС из-за необходимости демонтажа теплоизоляции.
Предлагаемым изобретением решается задача обеспечения эффективного способа проведения периодического контроля состояния опорных конструкций горячих трубопроводов АЭС с установленной на них теплоизоляцией.
Для достижения указанного технического результата в предлагаемом способе контроля состояния опорных конструкций горячих трубопроводов, включающем визуальный контроль, возбуждение свободных собственных колебаний испытываемого участка трубопровода путем приложения одиночных силовых импульсов, анализ этих колебаний для получения собственных динамических характеристик трубопровода, на испытываемом участке трубопровода жестко закрепляют полые стаканы, каждый из которых включает в себя крышку и, по меньшей мере, два платика, на которых размещают измерительные датчики, устанавливают теплоизоляцию на трубопровод, а возбуждение свободных собственных колебаний силовым воздействием осуществляют на крышки полых стаканов, сопоставляют спектры собственных частот колебаний, полученных в начальный период работы трубопровода и на момент проведения контроля, и по результатам сопоставления судят о наличии макродефектов в опорных конструкциях горячих трубопроводов.
Отличительные признаки предлагаемого способа от указанного выше известного, наиболее близкого к нему, заключаются в том, что на испытываемом участке трубопровода жестко закрепляют полые стаканы, каждый из которых включает в себя крышку и, по меньшей мере, два платика, на которых размещают измерительные датчики, устанавливают теплоизоляцию на трубопровод, а возбуждение свободных собственных колебаний силовым воздействием осуществляют на крышки полых стаканов, сопоставляют спектры собственных частот колебаний, полученных в начальный период работы трубопровода и на момент проведения контроля, и по результатам сопоставления судят о наличии макродефектов в опорных конструкциях горячих трубопроводов.
Благодаря наличию этих признаков способа становится возможным обеспечить эффективное проведение периодического контроля состояния опорных конструкций горячих трубопроводов АЭС с установленной на них теплоизоляцией в течение всего срока службы энергоблока.
Сопоставительный анализ заявленного технического решения позволил выявить отличительные признаки, что доказывает соответствие заявляемых совокупностей признаков критерию изобретения “новизна”.
При поиске аналогов и прототипа не обнаружены технические решения, сходные с отличительными признаками заявляемого решения, что доказывает соответствие заявляемых совокупностей признаков критерию изобретения “изобретательский уровень”.
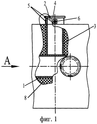
Предлагаемый способ поясняется чертежами:
на фиг.1 показана схема установки полых стаканов на трубопроводе без защитных колпаков, вид сбоку;
– на фиг.2 – вид по стрелке А с установленными защитными колпаками;
– на фиг.3 приведен фрагмент спектра собственных частот для определения логарифмического декремента колебаний.
На чертежах показаны трубопровод 1, установленные на нем полые стаканы 2, состоящие из обечаек 3, крышек 4 и платиков 5, датчики 6 (фиг.1), защитные колпаки 7 (фиг.2) и теплоизоляция 8.
На фиг.3 по оси ординат откладываются значения ускорения “а” в долях от максимального, то есть значение “а” изменяется в диапазоне от 0 до 1. По оси ординат откладываются значения собственных частот “ “.
Предлагаемый способ реализуется следующим образом.
Способ опробован на Ростовской АЭС для опорных конструкций трубопровода Ду100.
При оценке динамической прочности трубопроводов невозможно разделить непосредственно сам трубопровод и его опорные конструкции, так как они являются единой механической системой. Поэтому в предлагаемом способе полые стаканы устанавливают непосредственно на трубопровод, так как перемещения при силовых импульсах на трубопроводах намного больше, чем на опорных конструкциях, а собственные частоты и декременты колебаний трубопровода и опорной конструкции одинаковы, ввиду того что они механически неразрывно связаны.
В начале работы проводят тщательное визуальное обследование опор трубопроводов. Особенное внимание уделяют наличию макродефектов: трещины, непровары, недостаточный затяг болтовых соединений и другие макродефекты.
При обнаружении макродефектов проводят устранение недостатков, а затем проводят повторный контроль. Таким образом, после выполнения вышеуказанных операций получают опорные конструкции, соответствующие требованиям проектной документации и не имеющие макродефектов.
Далее после анализа проектной документации, в том числе чертежей и расчетов, определяют наиболее нагруженные с динамической точки зрения участки трубопроводов. К наиболее нагруженным участкам относятся следующие участки трубопроводов: имеющие наибольшее расстояние между опорами и наименьшую частоту собственных колебаний.
После определения наиболее нагруженных участков устанавливают на выбранные места трубопровода 1 дополнительные устройства, представляющие собой полые стаканы 2 (фиг.1). Полые стаканы 2 собирают на участке изготовления: к обечайке 3 приваривают непрерывным сварным швом крышку 4 и два платика 5. Далее полые стаканы 2 в сборе приваривают прихваточным сварным швом к трубопроводу 1 в определенных ранее местах. На платиках 5 закрепляют измерительные датчики 6 (фиг.1). Защитные колпаки 7 предназначены для защиты персонала от температурных воздействий (фиг.2). Защитные колпаки 7 изготавливали из известково-кремнеземистой теплоизоляции марки 200 по ГОСТ 24748-81. После установки полых стаканов 2 устанавливают теплоизоляцию 8, предусмотренную проектом на трубопровод. Высота устанавливаемого полого стакана 2 больше толщины теплоизоляции примерно на 40 мм.
После установки теплоизоляции проводят замеры виброускорения. Эти замеры производят при возбуждении свободных собственных колебаний испытуемого участка трубопровода. Свободные собственные колебания возбуждают путем приложения одиночных силовых импульсов интенсивностью 100-1000 Н к верхней крышке 4 стакана 2. Измерительные датчики 6 устанавливают на платики полых стаканов 2 таким образом, что вектор измеряемого значения виброускорения совпадет с вектором приложения силового импульса. Виброускорения измеряют последовательно в 2-х взаимно перпендикулярных направлениях: в горизонтальной и вертикальной плоскостях (фиг 2).
Для измерения виброускорений используют универсальный портативный виброизмерительный комплекс “Кварц КУ 060”, выпускаемый фирмой “Диамех”. Этот комплекс обеспечивает отклонение по амплитуде ускорений ±5%. Комплекс “Кварц КУ 060” имеет встроенную предварительную обработку входного сигнала и по результатам замеренных виброускорений выдает готовый спектр собственных частот.
Логарифмические декременты колебаний « » определяют по методу резонансной кривой, используя спектр собственных частот (фиг.3). При этом используют следующую формулу:

где
“n и ‘n – характерные частоты колебаний, соответствующие пересечению n-го резонансного пика прямой, проведенной параллельно оси абсцисс на расстоянии, равном высоте пика, деленной на ;
*n – частота колебаний n-го резонансного пика.
По результатам выполнения этих работ получают значения собственных частот и логарифмических декрементов колебаний трубопроводов в определенных наиболее динамически нагруженных местах для разных направлений. Эти полученные значения в полной мере отражают жесткостные характеристики исследуемой механической системы, а следовательно, и состояние опорных конструкций горячих трубопроводов. Так как после тщательного выполнения визуального контроля получают гарантию, что опорные конструкции горячих трубопроводов не имеют макродефектов, принимают измеренные значения за эталонные. Эти значения заносятся в паспорт трубопровода.
Далее в первый раз не позднее чем через 20000 часов, а затем через каждые 45000 часов, на этапах планово-предупредительного ремонта в течение всего срока службы энергоблока производят определение динамических характеристик горячих трубопроводов.
В случае, если спектры частот подобны, а частота и логарифмические декременты колебаний отличаются не более чем на 10%, делают вывод о том, что жесткость опорных конструкций не изменилась, а следовательно, фактическое состояние опорных конструкций осталось неизменным. Если же расхождение полученных значений более 10%, то производят анализ полученных данных и осмотр опорных конструкций горячих трубопроводов.
Для получения собственных частот и логарифмических декрементов колебаний горячих трубопроводов также можно измерять виброперемещения и виброскорости. Порядок проведения действий при выполнении замеров виброперемещения и виброскорости и последующей обработки данных аналогичен порядку выполнения работ приведенному выше при измерении виброускорения.
В данном способе впервые предложено использовать в качестве количественной оценки состояния опорных конструкций горячих трубопроводов значения собственных частот и логарифмических декрементов колебаний этих трубопроводов. Дополнительным преимуществом данного способа является наличие фиксированных мест приложения силового импульса и измерения параметров вибраций, что, в свою очередь, повышает достоверность получаемых экспериментальных данных. Таким образом, совокупное выполнение признаков заявленного способа контроля состояния опорных конструкций горячих трубопроводов позволяет эффективно проводить на протяжении всего срока службы энергоблока периодический контроль состояния опорных конструкций с установленной на трубопроводах теплоизоляцией, не демонтируя ее. Кроме того, дополнительным преимуществом данного способа является то, что он не требует дорогостоящего оборудования, последующей специальной подготовки поверхности испытываемых горячих трубопроводов, а самое главное, больших временных и финансовых затрат на проведение испытаний и анализ их результатов.
Источники информации
1. Госатомэнергонадзор СССР. Унифицированные методики контроля основных материалов (полуфабрикатов), сварных соединений и наплавки оборудования и трубопроводов АЭУ. Визуальный и измерительный контроль. ПНАЭГ-7-016-89. Москва, 1990, с.1-8.
2. Кравец С.Б. Анализ сейсмостойкости технологического оборудования в системе с опорными конструкциями и оборудованием первого энергоблока Ростовской АЭС. Тяжелое машиностроение. 2002, №7, с.34-35.
Формула изобретения
Способ контроля состояния опорных конструкций горячих трубопроводов, включающий визуальный контроль, возбуждение свободных собственных колебаний испытываемого участка трубопровода путем приложения одиночных силовых импульсов, анализ этих колебаний для получения собственных динамических характеристик трубопровода, отличающийся тем, что на испытываемом участке трубопровода жестко закрепляют полые стаканы, каждый из которых включает в себя крышку и, по меньшей мере, два платика, на которых размещают измерительные датчики, устанавливают теплоизоляцию на трубопровод, а возбуждение свободных собственных колебаний силовым воздействием осуществляют на верхние крышки полых стаканов, сопоставляют спектры собственных частот колебаний, полученных в начальный период работы трубопровода и на момент проведения контроля, и по результатам сопоставления судят о наличии макродефектов в опорных конструкциях горячих трубопроводов.
РИСУНКИ
MM4A – Досрочное прекращение действия патента СССР или патента Российской Федерации на изобретение из-за неуплаты в установленный срок пошлины за поддержание патента в силе
Дата прекращения действия патента: 13.08.2008
Извещение опубликовано: 20.07.2010 БИ: 20/2010
|