|
| На основании пункта 3 статьи 13 Патентного закона Российской Федерации от 23 сентября 1992 г. № 3517-I патентообладатель обязуется передать исключительное право на изобретение (уступить патент) на условиях, соответствующих установившейся практике, лицу, первому изъявившему такое желание и уведомившему об этом патентообладателя и федеральный орган исполнительной власти по интеллектуальной собственности, – гражданину РФ или российскому юридическому лицу. |
|
(21), (22) Заявка: 2004131787/28, 02.11.2004
(24) Дата начала отсчета срока действия патента:
02.11.2004
(45) Опубликовано: 20.03.2006
(56) Список документов, цитированных в отчете о поиске:
SU 1204944 А, 15.01.1986. US 4144757 A1, 20.03.1979. SU 1777005 A1, 23.11.1992. US 5245874 А, 21.09.1993 JP. 2003021551 А, 24.01.2003.
Адрес для переписки:
143345, Московская обл., пос. Селятино, 16, кв.40, В.Л. Гою
|
(72) Автор(ы):
Гой Владимир Леонтьевич (RU)
(73) Патентообладатель(и):
Гой Владимир Леонтьевич (RU)
|
(54) ПОПЛАВКОВЫЙ УРОВНЕМЕР
(57) Реферат:
Изобретение относится к устройствам для измерения уровня жидкости в резервуарах. Сущность: уровнемер включает выполненный в виде центрально-симметричного тела вращения поплавок, имеющий на концах продольной оси шейки шкалу для измерения уровня и связанный с корпусом резервуара растяжками. Растяжки частично намотаны на шейки и закреплены в нижней и верхней точках резервуара. Кроме того, уровнемер содержит третье гибкое звено, один конец которого намотан по центру поплавка, а другой конец связан с противовесом, имеющим указатель уровня и размещенным в установленной вне корпуса резервуара направляющей. Измерительная шкала нанесена на направляющей. Технический результат: создание поплавкового уровнемера для крупногабаритных резервуаров, в том числе заполненных темной жидкостью. 3 ил. 
Изобретение относится к устройствам для измерения объема или массы жидкости в баках и может быть использовано, например, в резервуарах для нефтепродуктов, подсолнечного масла и т.д.
Известен поплавковый уравнемер для измерения уровня топлива в автомобильном баке, включающий стержень и закрепленный на его конце поплавок, причем стержень выполняет функцию ползуна реостата /см. патент США №4144757, НКИ 73-308, 1978 г./.
Этот уровнемер работает при наличии источника низковольтового питания.
Известен также поплавковый уровнемер, содержащий поплавок, связанный с закрепленными в нижней и верхней точках направляющими, и шкалу вертикального положения поплавка, при этом для увеличения точности определения уровня поплавок выполнен в виде центрально-симметричного тела вращения, на поверхность которого нанесена круговая шкала, а направляющие – в виде растяжек, частично намотанных на поверхность тела вращения /см. авторское свидетельство СССР №1204944, кл. G 01 F 23/30, 1986 г./.
Указанный поплавковый уровнемер наиболее близок к предложенному по большинству общих существенных признаков и принимается в качестве прототипа.
К недостатку прототипа при его применении в большегабаритных резервуарах следует отнести неудобство считывания данных со шкалы на поплавке, причем установка вертикальной шкалы на корпусе резервуара крайне затруднительна. Следует иметь также в виду, что обе шкалы целесообразны к установке только при светлой жидкости, так как темные жидкости типа нефти или бурового раствора оставляют на шкалах темный след, что затрудняет или делает невозможным считывание показаний.
Технический результат изобретения – создание поплавкового уровнемера для крупногабаритных резервуаров, в том числе заполненных темной жидкостью.
Технический результат достигается тем, что поплавковый уровнемер, включающий выполненный в виде центрально-симметричного тела вращения поплавок, имеющий на концах продольной оси шейки и связанный с корпусом резервуара частично намотанными на шейки растяжками, закрепленными в нижней и верхней точках резервуара, и шкалу, согласно изобретению уравнемер снабжен третьим гибким звеном, одним концом намотанным по центру поплавка, а другим концом связанным с противовесом, имеющим указатель уровня и размещенным в установленной вне корпуса резервуара направляющей, при этом шкала размещена на направляющей. Изобретение иллюстрируется чертежами, на которых изображено:
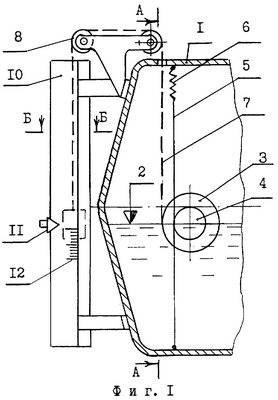
– на фиг.1 – общий вид предложенного уровнемера;
– на фиг.2 – разрез А-А по фиг.1;
– на фиг.3 – разрез Б-Б по фиг.1.
Размещенный в резервуаре 1 с жидкостью, уровень 2 которой необходимо замерять, поплавковый уровнемер содержит поплавок 3, выполненный в виде центрально-симметричного тела вращения и имеющий на своих концах продольной оси жестко прикрепленные шейки 4. На обе шейки навиты три-четыре витка трения двух гибких звеньев 5, нижние концы которых закреплены на днище резервуара, а верхние через упругий элемент 6 /пружину, резину/ для небольшого натяжения звеньев 5 – к верхней части резервуара, при этом поплавок 3 изготовлен таким образом, что его продольная ось совмещена с уровнем 2 жидкости.
По центру поплавка /см. фиг.2/ навито измерительное гибкое звено 7, один конец которого закреплен на поплавке, а другой конец пропущен через отверстие в верхней части резервуара, огибает блоки 8 и закреплен на противовесе 9, размещенном внутри направляющей 10, установленной вне резервуара.
Для удобства обслуживания на противовесе закреплены две стрелки 11 и с двух сторон направляющей нанесены две шкалы 12.
Величина диаметров поплавка и его шеек выбрана с соответствующим соотношением к высоте между возможными нижним и верхним уровнями жидкости в резервуаре.
Поплавковый уровнемер работает следующим образом.
Выталкивающее усилие поплавка вызывает его вертикальное перемещение, при этом при перемещении поплавка одновременно происходит вращение его вокруг собственной оси и перемотка ветвей гибких звеньев 5.
Изображенный на фиг.1 поплавок при увеличении уровня 2 жидкости будет перемещаться вверх с одновременным вращением против часовой стрелки, а следовательно, с наматыванием измерительного гибкого звена 7 на поплавок и с перемещением вверх противовеса 9. Закрепленные на противовесе стрелки 11 поднимаются вверх и по шкалам 12 показывают увеличение уровня 2.
Если резервуар предназначен для хранения и выдачи жидкости с одним и тем же удельным весом, шкалы могут быть проградуированы на объем или массу имеющейся в резервуре жидкости.
Предложенный уровнемер применим независимо от формы стенок резервуара, от светлости жидкости, хранящейся в резервуаре, от высоты между минимальным и максимальным уровнями жидкости и от соотношения высоты и поперечного сечения резервуара.
Поплавковый уравнемер имеет минимальную металлоемкость, прост в обслуживании и изготовлении.
Формула изобретения
Поплавковый уровнемер, включающий выполненный в виде центрально-симметричного тела вращения поплавок, имеющий на концах продольной оси шейки и связанный с корпусом резервуара частично намотанными на шейки растяжками, закрепленными в нижней и верхней точках резервуара, и шкалу, отличающийся тем, что он снабжен третьим гибким звеном, одним концом намотанным по центру поплавка, а другим концом связанным с противовесом, имеющим указатель уровня и размещенным в установленной вне корпуса резервуара направляющей, при этом шкала размещена на направляющей.
РИСУНКИ
|
|