|
(21), (22) Заявка: 2004120237/06, 05.07.2004
(24) Дата начала отсчета срока действия патента:
05.07.2004
(45) Опубликовано: 20.03.2006
(56) Список документов, цитированных в отчете о поиске:
RU 18097 U1, 20.05.2001. SU 945625 А1, 26.07.1982. SU 1719873 A1, 15.03.1992. SU 840662 А, 23.06.1981. FR 2233572 A, 14.02.1975.
Адрес для переписки:
117198, Москва, ул. Миклухо-Маклая, 6, РУНД, отдел интеллектуальной собственности
|
(72) Автор(ы):
Низамов Хавас Нуртдинович (RU), Хисамеев Ибрагим Габдулхакович (RU), Якупов Нух Махмудович (RU), Максимов Валерий Архипович (RU), Нуруллин Ринат Галеевич (RU), Применко Владимир Николаевич (RU), Низамова Гузяль Хавасовна (RU)
(73) Патентообладатель(и):
Государственное образовательное учреждение высшего профессионального образования “Российский университет дружбы народов” (РУДН) (RU)
|
(54) ТЕПЛООБМЕННИК
(57) Реферат:
Изобретение предназначено для теплообмена и может быть использовано в теплотехнике. Теплообменник содержит размещенный в кожухе пучок труб овального поперечного сечения, закрепленных в трубных досках. Новым в теплообменнике является то, что трубы установлены с расположением большой оси овала поперечного сечения под углом к направлению потока межтрубной среды, равным 3-5 градусов. Трубы по отношению к направлению потока расположены или единообразно под одним и тем же углом атаки, или елочкой с чередованием углов атаки потока. Овальное сечение трубы имеет форму профиля без острых углов и может быть исполнено, в частности, в виде эллипса. При этом толщина труб выполнена или переменной, или постоянной. При переменном исполнении толщины стенок для трубы эллиптического сечения толщина стенки трубы минимальна по малой оси эллипса и максимальна по большой оси эллипса. Изобретение обеспечивает повышение эффективности самоочистки и интенсификацию теплообмена.7 з.п. ф-лы, 5 ил. 
Изобретение относится к области теплотехники, а именно к теплообменным аппаратам, работающим преимущественно на накипеобразующих и других инкрустирующих средах.
Известны теплообменные аппараты из полимерных материалов с трубами, подключенными к коллекторам подвода и отвода теплообменивающихся сред, причем каждая труба выполнена за одно целое с размещенными в ней пересекающимися продольными перегородками, образующими отсеки, заглушенные через один из торцов. Заглушенные отсеки имеют на боковой поверхности отверстия для подсоединения к кольцевым коллекторам подвода и отвода одной из теплообменивающихся сред. Перегородки выполнены оребренными или гофрированными, а в отсеках расположены рифленые вставки (1).
Однако указанные теплообменные аппараты не могут эффективно работать на средах, содержащих различные примеси, поскольку наличие оребренных или гофрированных элементов конструкции и рифленых вставок способствует осаждению на них отложений, забивающих отсеки и другие полости теплообменника.
Известны также теплообменные аппараты для содержащих накипеобразующие примеси рабочих сред, включающие корпус, в котором размещены теплопередающие элементы, выполненные из термочувствительного материала с обратимым мартенситным превращением, имеющего две предельные формы, причем кривизна поверхности элемента в одной предельной форме отличается от кривизны поверхности этого элемента в другой предельной форме (2).
Однако работоспособность таких теплообменных аппаратов по разрушению слоя накипи зависит от наличия перепада температур. Требуется дорогостоящий материал, обладающий эффектом “памяти”, причем этот материал реагирует только на изменения температуры и не чувствителен к изменениям других параметров рабочей среды, например к перепадам давления.
Наиболее близким техническим решением является теплообменник, содержащий размещенный в кожухе пучок труб, закрепленных в трубных досках, и поперечные перегородки с радиальными разрезами и отогнутыми в противоположные стороны от линии разреза смежными участками поверхностей, при этом разрезы на перегородках выполнены разной длины, причем перегородки с разрезами большей длины установлены первой и последней по длине пучка и между перегородками с разрезами меньшей длины (3).
Однако известный теплообменник имеет следующие недостатки:
– не производится самоочистка труб и внутренней поверхности теплообменника;
– в результате отложения накипи в полости теплообменника снижается его производительность;
– необходимо периодически отключать теплообменник для проведения его очистки;
– не обеспечивается эффективный теплообмен не только из-за образования накипи, но и из-за исключения существенных колебаний труб в силу особенностей их выполнения и крепления.
Задачей настоящего изобретения является повышение эффективности самоочистки и интенсификация теплообмена.
Сущность изобретения заключается в том, что в теплообменнике, содержащем размещенный в кожухе пучок труб овального поперечного сечения, закрепленных в трубных досках, и при необходимости поперечные перегородки, трубы установлены с расположением большой оси овала поперечного сечения под углом к направлению потока межтрубной среды, в частности, 3-5°. Овальное сечение трубы может быть исполнено в виде эллипса. Поперечным сечением трубы могут быть также другие геометрические фигуры, например любые профили без острых углов. При этом толщина труб может быть как постоянной, так и переменной. При исполнении сечения в виде эллипса толщина стенки может быть минимальной по малой оси эллипса и максимальной по большой оси эллипса. Трубы по отношению к направлению потока могут быть расположены единообразно (под одним и тем же углом атаки ) или елочкой (с чередованием углов атаки потока “+ ” и “- “).
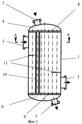
На фиг.1 представлен общий вид теплообменника; на фиг.2 – сечение теплообменника по фиг.1; на фиг.3 изображено характерное расположение поперечного сечения трубы по отношению к направлению потока межтрубной среды; на фиг.4, 5 показаны варианты расположения труб по отношению к потоку.
Теплообменник содержит кожух 1 с патрубками ввода 2 и вывода 3 межтрубной среды. Кожух 1 закрыт крышкой 4 с патрубком 5 ввода трубной среды и крышкой 6 с патрубком 7 вывода трубной среды. Внутри кожуха 1 на входе трубной среды закреплена трубная доска 8, а на выходе трубной среды закреплена трубная доска 9. На трубных досках 8 и 9 размещен пучок труб 10, которые своими концами закреплены в трубных доска 8 и 9. Трубы 10 выполнены с овальным поперечным сечением. Трубы 10 установлены с расположением большой оси овала сечения под углом (угол атаки) к направлению потока межтрубной среды. Более конкретно, величина угла составляет 3-5°. В частности, овальное сечение трубы может быть исполнено в виде эллипса (эллиптического сечения), хотя поперечным сечением трубы могут быть другие геометрические фигуры, например любые профили без острых углов. При этом толщина труб может быть как постоянной, так и переменной. Например, при исполнении сечения в виде эллипса толщина стенки может быть минимальной по оси эллипса и максимальной по большой оси эллипса.
Трубы по отношению к направлению потока могут быть расположены единообразно (под одним и тем же углом атаки ) или елочкой (с чередованием углов атаки потока “+ ” и “- “).
При необходимости, дополнительно в теплообменнике могут быть установлены поперечные перегородки 11.
Теплообменник работает следующим образом.
Трубная среда поступает через патрубок ввода 5 и попадает в пространство между крышкой 4 и трубной доской 8. Далее трубная среда проходит через пучок труб 10, попадает в пространство между трубной доской 9 и крышкой 6 и выводится через патрубок 7.
Межтрубная среда входит через патрубок ввода 2 в полость кожуха 1, омывает пучок труб 10 и выходит через патрубок вывода 3. При этом осуществляется теплообмен между трубной средой и межтрубной средой. Поперечные перегородки 11 могут изменять направления потока межтрубной среды.
Поскольку трубы 10 выполнены с овальным сечением с ориентацией большой оси овала сечения под углом 3-5° к направлению потока межтрубной среды, то возникают автоколебания трубы. Возникновение автоколебаний труб приводит к предотвращению образования накипи и отслоению отложений, образовавшихся ранее, за счет деформирования продольной оси каждой трубы, изменения при этом конфигурации поперечного сечения трубы и изгибно-крутильных колебаний в плоскости сечения трубы. К отслоению отложений и накипи приводит также изменение сечения труб 10 от исходного овального поперечного сечения к деформированному поперечному сечению и обратно при появлении перепадов и пульсации давления трубной среды. Кроме того, происходит интенсификация теплообмена за счет движения поверхности труб в межтрубной среде.
Предложенное изобретение позволяет повысить эффективность самоочистки и интенсифицировать теплообмен за счет автоколебаний труб в пучке и изменения конфигурации поперечного сечения труб.
Ожидаемая экономическая эффективность составляет 540-960 условных единиц (в пересчете на доллары США) на один теплообменник в год в зависимости от типа, производительности и параметров сред.
Источники информации, принятые во внимание
1. Авторское свидетельство СССР № 357446, МКИ F 28 F 21/06, опубл. 31.10.1972 г., бюл. № 33.
2. Авторское свидетельство СССР № 1778490, МКИ F 28 F 19/00, опубл. 30.11.1992 г., бюл. № 44.
3. Авторское свидетельство СССР № 1580137, МКИ F 28 F 9/22, F 28 D 7/00, опубл. 23.07.1990 г., бюл. № 27.
Формула изобретения
1. Теплообменник, содержащий размещенный в кожухе пучок труб овального поперечного сечения, закрепленных в трубных досках, отличающийся тем, что трубы установлены с расположением большой оси овала поперечного сечения под углом к направлению потока межтрубной среды, равным 3-5°.
2. Теплообменник по п.1, отличающийся тем, что трубы по отношению к направлению потока расположены единообразно под одним и тем же углом атаки потока.
3. Теплообменник по п.1, отличающийся тем, что трубы по отношению к направлению потока расположены елочкой с чередованием углов атаки потока.
4. Теплообменник по п.1, отличающийся тем, что овальное сечение трубы имеет форму профиля без острых углов.
5. Теплообменник по п.1, отличающийся тем, что овальное сечение трубы выполнено в виде эллипса.
6. Теплообменник по п.1, отличающийся тем, что толщина труб выполнена переменной.
7. Теплообменник по п.6, отличающийся тем, что толщина стенки трубы минимальна по малой оси эллипса и максимальна по большой оси эллипса.
8. Теплообменник по пп.1-5, отличающийся тем, что толщина труб выполнена постоянной.
РИСУНКИ
|