|
|
(21), (22) Заявка: 2002128742/11, 22.03.2001
(24) Дата начала отсчета срока действия патента:
22.03.2001
(30) Конвенционный приоритет:
29.03.2000 (пп.1-31) DE 10015720.3
(43) Дата публикации заявки: 20.02.2004
(45) Опубликовано: 20.03.2006
(56) Список документов, цитированных в отчете о поиске:
DE 19822666 А, 03.12.1998. GB 1399370 A, 02.07.1975. RU 2015937 C1, 15.07.1994.
(85) Дата перевода заявки PCT на национальную фазу:
28.10.2002
(86) Заявка PCT:
DE 01/01129 (22.03.2001)
(87) Публикация PCT:
WO 01/72542 (04.10.2001)
Адрес для переписки:
103735, Москва, ул. Ильинка, 5/2, ООО “Союзпатент”, пат.пов. Ю.В.Пинчуку, рег.№ 656
|
(72) Автор(ы):
ЭСЛИ Норберт (DE), БЕННДОРФ Енс (DE)
(73) Патентообладатель(и):
ЛУК ЛАМЕЛЛЕН УНД КУППЛЮНГСБАУ БЕТАЙЛИГУНГС КГ (DE)
|
(54) АВТОМОБИЛЬ С КОРОБКОЙ ПЕРЕДАЧ
(57) Реферат:
Изобретение относится к транспортному машиностроению и может быть использовано в автомобилях при управлении и переключении коробки передач. Автомобиль содержит приводной двигатель, устройство передачи крутящего момента, такое как сцепление, исполнительное устройство, коробку передач, исполнительное устройство и устройство управления. Приведение в действие устройства передачи крутящего момента и/или коробки передач выполняется автоматизированно посредством устройства управления или ввода данных в устройство управления. Приведение в действие коробки передач складывается из первой составляющей движения – составляющая выбора, и второй составляющей движения – составляющая переключения. Исполнительное устройство коробки передач содержит для указанных первого и второго движений первый и второй приводы. В коробке передач одно движение является поступательным, а другое – вращательным. Составной элемент для передачи движения на вал управления переключением передач имеет для соединения отдельных деталей, по меньшей мере, один осевой паз для осевого ведения и передачи вращательного движения, и, по меньшей мере, один кольцевой паз или сегмент кольцевого паза для вращательного ведения и передачи осевого движения. Технический результат – создание автомобиля с автоматической коробкой передач, которая проста, компактна, экономична и удобна при переключении передач, проста в монтаже. 3 н. и 28 з.п. ф-лы, 11 ил. 
Настоящее изобретение относится к автомобилю, содержащему приводной двигатель, устройство передачи крутящего момента, такое как сцепление, исполнительное устройство, коробку передач с валом управления переключением передач, исполнительное устройство и устройство управления, у которого приведение в действие устройства передачи крутящего момента и/или коробки передач выполняется автоматизированно посредством устройства управления или ввода данных в устройство управления, причем приведение в действие коробки передач складывается, в основном, из первой составляющей движения, такой как составляющая выбора, и второй составляющей движения, такой как составляющая переключения, исполнительное устройство коробки передач содержит предназначенные для указанных первого и второго движений первый и второй приводы, а в коробке передач одно движение является поступательным, а другое вращательным. Движение для срабатывания коробки передач может быть разделено на две составляющие, такие как составляющая выбора и составляющая переключения.
Известно выполнение каждой из этих составляющих движения с собственным приводом. Движения этих обоих приводов преобразуются во вращательное и поступательное движения на валу управления переключением передач коробки передач с преобразованием условий пути и усилия.
Проблемой здесь является связь между приводами и валом управления переключением передач. Требования к пути передачи в отношении условий пути и усилия, скорости переключения, времени переключения и удобства переключения приводят к сложным конструкциям, которые являются громоздкими и дорогостоящими и сложны в монтаже.
Поэтому в основе изобретения лежит задача создания автомобиля с автоматической коробкой передач, которая имеет уменьшенный объем деталей, более экономична и с помощью простых средств отвечает требованиям к необходимым условиям пути и усилия, скорости переключения, времени переключения и удобства переключения. Система должна иметь простую, компактную, соответствующую конструктивному пространству конструкцию и быть простой в монтаже.
Эта задача решается согласно изобретению за счет того, что предусмотрен составной элемент для передачи движения на вал управления переключением передач, имеющий для соединения отдельных деталей, по меньшей мере, один осевой паз для осевого ведения и передачи вращательного движения, а также, по меньшей мере, один кольцевой паз или сегмент кольцевого паза для вращательного ведения и передачи осевого движения.
Далее эта задача решается за счет того, что кинематическая передающая цепь для преобразования движения одного привода в движение выбора содержит приводимую посредством привода, преимущественно встроенную в привод первую ступень коробки передач, такую как червяк с червячным колесом, а также установленную за ней вторую ступень коробки передач, образованную, например, цилиндрическим колесом и зубчатой рейкой.
Далее эта задача решается за счет того, что кинематическая передающая цепь для преобразования движения другого привода в движение переключения содержит приводимую посредством привода, преимущественно встроенную в привод первую ступень коробки передач, такую как червяк с червячным колесом, преимущественно встроенный в привод упругое звено переключения, а также установленную за ним вторую ступень коробки передач, образованную, например, цилиндрическим колесом и зубчатой рейкой.
Предпочтительные усовершенствования изобретения являются объектом зависимых пунктов.
В одном предпочтительном примере выполнения изобретения составной элемент для передачи движения на вал управления переключением передач содержит, по меньшей мере, один имеющий зубчатый венец гильзообразный элемент, поводок и зубчатую рейку.
Предпочтительно между деталями составного элемента для передачи движения на вал управления переключением передач передается осевое относительное движение и/или между другими деталями – вращательное относительное движение.
Предпочтительно составной элемент для передачи движения на вал управления переключением передач обеспечивает раздельную передачу движений выбора и переключения на вал управления переключением передач.
В предпочтительном варианте выполнения поводок и гильзообразный элемент выполнены с возможностью взаимодействия посредством, по меньшей мере, одного осевого паза, преимущественно трех пазов, и/или поводок и зубчатая рейка находятся во взаимодействии посредством сегмента кольцевого паза, центр которого лежит, по меньшей мере, вблизи оси гильзообразного элемента.
Согласно одному предпочтительному варианту выполнения изобретения, передача вращательного движения через гильзообразный элемент осуществляется на определенном участке независимо от положения гильзообразного элемента и поводка по отношению друг к другу и/или ввод осевого движения через зубчатую рейку осуществляется на определенном участке независимо от положения зубчатой рейки и поводка по отношению друг к другу.
Определенный участок, в котором передача вращательного движения, независимо от положения гильзообразного элемента и поводка по отношению друг к другу, предпочтительным образом, по существу, соответствует участку, по которому в осевом направлении движется вал управления переключением передач, а определенный участок, в котором передача осевого движения не зависит от положения зубчатой рейки и поводка по отношению друг к другу, по существу, соответствует участку, на котором вал управления переключением передач совершает вращательное движение.
Таким образом, в частности, можно осуществлять движения переключения в любом положении выбора.
Предпочтительно, поводок составного элемента для передачи движения на вал управления переключением передач соединен с валом управления переключением передач без возможности проворачивания и осевого перемещения.
В предпочтительном варианте выполнения передача движения выбора осуществляется через зубчатую рейку и поводок. Передача движения переключения осуществляется через гильзообразный элемент и поводок.
Предпочтительно, поводок имеет гребни, взаимодействующие с выполненными в гильзообразном элементе пазами.
В одном предпочтительном примере изобретения выполнение и число пазов или боковых сторон пазов и соответственно гребней или боковых сторон гребней предназначены для центрирования поводка при вращательной нагрузке в гильзообразном элементе.
Согласно одному предпочтительному варианту выполнения, в гильзообразном элементе в виде гильзы выполнена проходящая в продольном направлении щель.
Согласно одному предпочтительному варианту выполнения изобретения, щель проходит в гильзообразном элементе не по всей длине. Длина щели, по меньшей мере, по существу соответствует движению вала управления переключением передач в направлении выбора.
Предпочтительным может быть далее, если щель в гильзе образована за счет видоизменения одного из пазов, причем паз видоизменен радиально дальше наружу, а также боковые стороны паза соответственно видоизменены.
В предпочтительном варианте выполнения изобретения щель, как и невидоизмененные наружу пазы, выполняет при осевом движении поводка и гильзообразного элемента по отношению друг к другу направляющую функцию для поводка.
Посредством щели в гильзообразном элементе предпочтительно выполняется соединение между поводком и зубчатой рейкой.
В одном предпочтительном выполнении изобретения гребень поводка видоизменен таким образом, что он выступает наружу через щель в гильзообразном элементе.
Также является предпочтительным, если выступающая из щели в гильзе концевая зона гребня поводка заканчивается в форме кругового сектора с центром на оси вала управления переключением передач.
Предпочтительным является вариант выполнения изобретения, в котором концевая зона выступающего из щели в гильзе гребня поводка сама образует гребень, который установлен в соответствующем ему пазу зубчатой рейки с возможностью вращения и передачи осевого движения.
Особенно предпочтительным является вариант выполнения изобретения, в котором боковые кромки пазов выполнены таким образом, что при передаче усилия результирующее усилие на гильзу имеет радиальную составляющую, посредством которой возникает нагрузка в направлении закрывания щели.
Предпочтительным является то, что боковые кромки выполнены в форме обратной эвольвенты.
Согласно одному особенно предпочтительному варианту выполнению изобретения, зубчатая рейка на пути передачи движения переключения выполнена в виде двойной зубчатой рейки, содержащей два не зависимых друг от друга ряда зубьев.
Особенно предпочтительно угол между обеими плоскостями рядов зубьев и осевое расстояние между рядами зубьев обеспечивают соответствующее конструктивному пространству расположение привода относительно вала управления переключением передач.
В предпочтительном примере выполнения плоскости рядов зубьев расположены предпочтительно, по существу, под прямым углом друг к другу.
Изобретение поясняется ниже на примерах выполнения с помощью чертежей, на которых представлено:
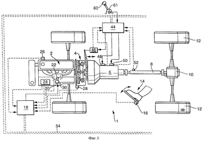
– фиг.1: схематично автомобиль с кинематической цепью, исполнительным устройством коробки передач и устройством управления;
– фиг.2: кинематика тракта выбора;
– фиг.3: кинематика тракта переключения;
– фиг.4: кинематика исполнительного устройства коробки передач;
– фиг.5: гильза элемента для передачи движения на вал управления переключением передач;
– фиг.6: поводок элемента для передачи движения на вал управления переключением передач в разрезе;
– фиг.7: двойная зубчатая рейка;
– фиг.8а: зубчатая рейка на пути передачи движения выбора;
– фиг.8b: другой пример выполнения зубчатой рейки;
– фиг.9: упругое звено переключения;
– фиг.10а: вид сверху на верхнюю часть несущего элемента;
– фиг.10b: вид снизу на верхнюю часть несущего элемента;
– фиг.10с: вид сбоку на верхнюю часть несущего элемента;
– фиг.11а: вид сверху на нижнюю часть несущего элемента;
– фиг.11b: вид снизу на нижнюю часть несущего элемента.
На фиг.1 схематично представлен автомобиль 1 с кинематической цепью, содержащей выполненный в виде двигателя внутреннего сгорания приводной двигатель 2, сцепление 4 и коробку передач 6. Через карданный вал 8 и дифференциал 10 приводятся в движение колеса 12 автомобиля 1. Само собой, речь может идти об автомобиле с одним или более ведомыми мостами.
Устройство 60 выбора передаточного отношения, такое как рычаг, с датчиком 61 и устройство 18, 44 управления изображены в виде блок-схемы. Устройство 18, 44 управления может быть выполнено в виде узла или в виде конструктивно и/или функционально отделенных друг от друга зон. В случае если устройство 18,44 управления выполнено в виде конструктивно и/ или функционально отделенных друг от друга зон, последние могут быть связаны между собой, например, сетью доступа – шиной 54 (CAN-Bus) или посредством другого электрического соединения для передачи данных. Устройство 18, 44 управляет, например, автоматизированным приведением в действие коробки передач 6, и/или сцепления 4, или двигателя 2, например моментом двигателя, выбором передаточного отношения, парковочным положением или нейтральным положением коробки передач или передаваемым сцеплением крутящим моментом.
Устройство для изменения передаточного отношения коробки передачи включает в себя, по меньшей мере, одно исполнительное устройство 48, 50 и устройство управления, причем передаточное отношение изменяется за счет управления исполнительным устройством 48, 50. Также автоматизированно, посредством устройства 46 срабатывания может быть включено сцепление 4.
Область устройства управления 44 принимает сигналы, по меньшей мере, представляющие состояние передачи сцепления 4 и установившееся в коробке 6 передач передаточное отношение, а также сигналы датчика 52 частоты вращения ведомого звена и датчика 61 в устройстве 60 выбора передаточного отношения. Эти сигналы регистрируются датчиками, такими как датчик распознавания включенной передачи или датчик хода сцепления.
Область устройства управления 18 управляет двигателем 2 посредством регулирования положения дроссельной заслонки 30 и/или впрыска. Принимаются сигналы датчика 26 давления во всасывающем патрубке, датчика 24 температуры охлаждающей воды, датчика 28 частоты вращения вала двигателя, датчика 20 положения дроссельной заслонки и датчика 16 нажатия педали 14 акселератора.
Устройство для изменения передаточного отношения коробки передач содержит, по меньшей мере, одно исполнительное устройство 48,50, содержащее, например, два электродвигателя, причем одним электродвигателем управляют для осуществления выбора, а вторым для осуществления переключения. Для этого посредством электродвигателей вдоль тракта выбора или тракта переключения срабатывает перемещение, по меньшей мере, одного элемента переключения в коробке передач.
На фиг.2 представлена кинематика тракта выбора от привода 201 до вала 208 управления переключением передач. Кинематическая цепь между приводом 201 и валом 208 управления переключением передач содержит несколько передаточных ступеней, так что происходит преобразование пути и усилия, соответствующее усилиям выбора и пути вала 208 управления переключением передач в направлении выбора, а также мощности привода 201. Расположение кинематической цепи обеспечивает далее соответствующее конструктивному пространству расположение всех относящихся к устройству срабатывания коробки передач элементов по отношению к валу 208 управления переключением передач.
В частности, исполнительное устройство коробки передач для приведения в действие вала 208 управления переключением передач в направлении выбора предназначено для преобразования вращательного движения привода 201 в осевое движение выбора вала 208 управления переключением передач, и для этой цели предназначены две ступени коробки передач.
Привод 201 может быть выполнен, например, в виде электродвигателя и содержит, согласно фигуре, крепежный фланец 202. С валом якоря приводного двигателя 201 соединен червяк 203, являющийся частью первой ступени коробки передач. Через эту первую образованную червяком 203 и червячным колесом 204 ступень коробки передач привод 201 приводит в действие цилиндрическое зубчатое колесо 205. Цилиндрическое 205 и червячное 204 колеса имеют общую ось b, перпендикулярную оси а привода. Цилиндрическое колесо 205 образует с зубчатой рейкой 206 установленную за первой ступенью коробки передач вторую ступень. Также оси b цилиндрического 205 и червячного 204 колес и ось с зубчатой рейки 206 перпендикулярны друг другу.
Для реализации ступеней коробки передач в другом примере выполнения также является целесообразным использовать другие элементы и/или только одну или более двух ступеней коробки передач. Далее является целесообразным увеличить или уменьшить углы и/или расстояния между осями а, b, с и/или d. В частности, подходящую возможность для этого предоставляют подробно изображенная на фиг.8а и описанная зубчатая рейка и другой пример выполнения на фиг.8b.
Для передачи движения выбора на вал 208 управления переключением передач с осью d, параллельной оси с зубчатой рейкой 206 и для обеспечения независимости движения переключения на конце зубчатой рейки 206, как это более подробно изображено на фиг.8а, выполнен паз 803, посредством которого выполняется соединение с поводком 207. Для этого поводок 207 имеет выступ, входящий в паз 803. Паз и поводок выполнены при этом таким образом, что они остаются в зацеплении между собой даже при повороте по отношению друг к другу. Это особенно предпочтительно, поскольку при срабатывании переключения коробки передач поводок 207 и вал 208 управления переключением передач поворачиваются вокруг оси d.
В декартовой системе 212 координат ось а, по существу, параллельна оси у, ось b, по существу, параллельна оси х, а оси с и d, по меньшей мере, по существу параллельны оси z.
Описанное устройство для приведения в действие выбора расположено в или на подробно представленном на фиг.10a-11b и описанном несущем элементе, который отдельными участками образует также корпус или корпусообразную структуру, размещающую в себе элементы, в частности элементы, образующие ступени коробки передач.
Кинематика тракта переключения от привода 301 до вала 309 управления переключением передач представлена на фиг.3. Кинематическая цепь между приводом 301 и валом 309 управления переключением передач содержит несколько передаточных ступеней, так что происходит преобразование пути и усилия, соответствующее усилиям выбора и пути вала 309 управления переключением передач в направлении переключения, а также мощности привода 301. Расположение кинематической цепи обеспечивает далее соответствующее конструктивному пространству расположение всех относящихся к исполнительному устройству коробки передач элементов по отношению к валу 309 управления переключением передач.
В частности, выполненный преимущественно в виде электродвигателя привод 301, червяк 302, соединенный с червячным колесом 303. Червяк 302 размещен преимущественно на валу электродвигателя и находится в зацеплении с червячным колесом 303, причем ось е привода 301 и червяка 302 и ось f червячного колеса 303 приблизительно перпендикулярны друг другу. Через упругое звено 304 переключения приводится цилиндрическое колесо 305; оба элемента расположены по одной оси с червячным колесом 303. Цилиндрическое колесо 305 находится в зацеплении с зубьями 313 зубчатой рейки 306, которая, по меньшей мере, приблизительно перпендикулярна оси f и образует вторую ступень коробки передач, установленную за первой образованной червяком 302 и червячным колесом 303 ступенью коробки передач.
Ось g зубчатой рейки 306, по существу, перпендикулярна осям f и е. Зубья 312 зубчатой рейки 306 находятся в зацеплении с зубчатым сегментом 310 гильзообразного элемента, выполненного в виде гильзы 307 составного элемента для передачи движения на вал 309 управления переключением передач и образует третью ступень коробки передач. В декартовой системе 311 координат ось h вала 309 управления переключением передач и ось е привода 301, по меньшей мере, по существу, параллельны оси z, ось f, по меньшей мере, по существу параллельна оси х, а ось g, по меньшей мере, по существу, параллельна оси у.
Для реализации ступеней коробки передач в другом примере выполнения также является целесообразным использовать другие элементы и/или только одну, две или более трех ступеней коробки передач. Далее является целесообразным увеличивать или уменьшать углы и/или расстояния между осями е, f, g и/или h. В частности, подходящую возможность для этого предоставляет подробно представленная на фиг.7 и описанная зубчатая рейка 306.
Поводок 308 соединен с гильзой 307 без возможности проворачивания относительно нее, однако с возможностью осевого перемещения. Поводок 308 соединен с валом 309 управления переключением передач без возможности проворачивания относительно.
Соединение между гильзой 307 и поводком 308 обеспечивает в определенном диапазоне осевого положения вала 309 управления переключением передач независимое вращательное движение, так что в любом положении выбора отдельно от него предусмотрена возможность осуществления движения переключения.
Описанное устройство для осуществления переключения расположено в или на подробно представленном на фиг.10а-11b и описанном несущем элементе, который отдельными участками образует также корпус или корпусообразную структуру, размещающую в себе элементы, в частности элементы, образующие ступени коробки передач.
На фиг.9 представлено расположение элементов, образующих упругое звено переключения. Упругое звено переключения образовано двумя поворачиваемыми в определенном угловом диапазоне по отношению друг к другу элементами 904, 905, которые упруго и демпфированно соединены между собой и один из которых находится в соединении с силовым и/или геометрическим замыканием с червячным колесом 303, а другой – с цилиндрическим колесом 305, например, посредством зубчатых венцов 907, 908. Пружины и демпферы упругого звена переключения имеют, предпочтительно, такие характеристики, что привод в соответствии с кинематикой и процессами в разделительном сцеплении эффективно изолирован от толчков усилия, вызванных, например, процессами переключения. В частности, в данном примере содержатся четыре пружины 910a, 910b, 910c, 910d, которые включены параллельно и жесткости которых в соответствии с этим суммируются. Для достижения желаемой общей характеристики, предпочтительно, если пружины имеют одинаковые характеристики. В другом примере выполнения, предпочтительно, однако, использовать пружины с разными характеристиками. Предпочтительным является использование пружин с линейной характеристикой. В случае необходимости, предпочтительным является использование прогрессивных или регрессивных пружин. Демпфирование происходит в данном примере выполнения линейно, однако в другом примере выполнения оно может происходить предпочтительно также в зависимости от пути и/или частоты.
Поз. 901 обозначен пример выполнения на виде сверху, а поз. 902 и 903 представляют разрезы по А-А и по В-В. Со стороны привода передача усилия осуществляется через зубчатый венец 907 на элемент 905 со стороны привода, который соединен с элементом 904 со стороны отбора мощности с возможностью поворота в определенном угловом диапазоне. В элементе 904 со стороны отбора мощности выполнен зубчатый венец 908, в который может быть введено зубчатое колесо 909. Зубчатое колесо 909 может быть также прочно соединено или выполнено за одно целое с элементом 904. Кольцеобразный элемент 906 соединен с элементом 905 со стороны входа.
Изображенная в примере выполнения на фиг.8а зубчатая рейка 801 имеет ряд зубьев 805 и паз 803. Паз 803 выполнен в форме сегмента кольцевого паза, центр которого лежит в смонтированном состоянии на изображенной на фиг.2 оси d. Для других примеров выполнения предпочтительно модифицировать зубчатую рейку, например, чтобы приспособить все исполнительное устройство коробки передач к конструктивному пространству. В частности, предпочтительно увеличить или уменьшить расстояние а между пазом 803 и центром ряда зубьев и/или угол Ф между пазом 803 и рядом зубьев 805 и/или выполнить паз иначе.
Другой пример выполнения зубчатой рейки 802 изображен на фиг.8b. Расстояние b между пазом 804 и центром ряда зубьев увеличено по сравнению с расстоянием а на фиг.8а, паз выполнен в виде кольцевого паза с центром к оси зубчатой рейки, что особенно предпочтительно обеспечивает воздействие поводка 207 независимо от радиального углового положения, обозначенного на фиг.8а символом Ф, между точкой воздействия поводка 207 и рядом зубьев 806.
Поводок 207 соединен с валом 208 управления переключением передач без возможности проворачивания относительно указанного вала и осевого перемещения. Это соединение показано в виде соединения 210, осуществленного посредством шлицевого вала, однако также предпочтительно, если поводок 207 и вал 208 управления переключением передач выполнены как одно целое или соединение выполнено иным образом.
Посредством соединения 209 паз-гребень между зубчатой рейкой 206 и поводком 207 движение может передаваться аксиально в направлении вала 208 управления переключением передач. Одновременно обеспечивается независимое вращательное движение вала 208, при котором поводок 207 скользит в пазу зубчатой рейки.
Одновременно обеспечивается независимое вращательное движение вала 208 управления переключением передач, при котором поводок 207 скользит в пазу зубчатой рейки.
Видоизмененный гребень 605 входит для этого в паз 803 таким образом, что радиально внешняя зона 606 гребня 605 совпадает с дном 807 паза, а верхняя и нижняя стороны гребня 605 изображенного на фиг.6 поводка 601 опираются на боковые зоны 808а, 808b паза 803 для передачи движения и усилия соответственно.
На фиг.4 изображена кинематика всего процесса приведения в действие коробки передач, в частности, изображено пространственное соответствие друг другу кинематики выбора и переключения, как она представлена и описана на фиг.2, 3, проходя от приводов 401, 406 к валу 412 управления переключением передач.
Как движение выбора посредством привода 401, так и движение переключения посредством привода 406 передаются на вал управления переключением передач через поводок (не показан) и/или гильзообразный элемент, выполненный в виде гильзы 411.
Движение первого привода 401 преобразуется в осевое движение, соответствующее движению выбора, через червяк 402, червячное колесо 403, цилиндрическое колесо 404, зубчатую рейку 405 и соединенный с валом 412 управления переключением передач поводок (не показан).
Для преобразования движения привода 406 во вращательное движение вала 412, соответствующее движению переключения, находят применение червяк 407, червячное колесо 408, цилиндрическое колесо 409, зубчатая рейка 410, а также состоящий из поводка и гильзы 411 элемент для передачи движения на вал.
Расположение и обозначение осей на фиг.4 соответствуют осям, представленным на фиг.2, 3.
На фиг.10а на виде сверху представлен пример выполнения верхней части 1001 несущего элемента. Верхняя часть 1001 несущего элемента образована множеством ребер, таких как 1002, легких и имеющих оптимальную колебательную характеристику; несущий элемент изготовлен, предпочтительно, в виде алюминиевой отливки под давлением.
Верхняя часть 1001 несущего элемента образует в данной форме выполнения, особенно предпочтительно, для нескольких ступеней коробки передач корпус с чашеобразными зонами 1008, 1009; в зоне 1010 размещена зубчатая рейка для передачи движения выбора. Уже описанная выше более подробно двойная зубчатая рейка 701 как часть обеих ступеней коробки передач проходит через отверстие 1003. В верхней части 1001 несущего элемента образованы проходы 1004 и 1005 (последний не показан) к ряду зубьев двойной зубчатой рейки 701. Через проход 1004 в зацепление с двойной зубчатой рейкой 701 может входить приводимое приводом зубчатое колесо 305.
Для присоединения фланца привода 301 предусмотрены отверстия 1006, 1006b, 1006c, 1006d для винтов. Зацепление через проход 1005 описано и представлено на следующих фигурах.
Отверстие 1007 и дополнительное отверстие (не представлено) служат для закрепления и позиционирования нижней части 1101 несущего элемента, как это описано и представлено на фиг.9а, 9b, с верхней частью 1001 или на коробке передач. Отверстие 1011 выполнено для размещения подшипника и обеспечивает компенсацию давления при движении поводка.
В соответствии с углом между плоскостями рядов зубьев двойной зубчатой рейки 701 оси чашеобразных зон 1008, 1009 также приблизительно перпендикулярны друг другу. Ось отверстия 1010 для размещения зубчатой рейки 206 для приведения в действие выбора параллельна оси чашеобразной зоны 1009.
На фиг.10b верхняя часть 1020 несущего элемента изображена снизу. Помимо прохода 1022 к одному ряду зубьев проходящей в отверстии 1021 двойной зубчатой рейки 701 подробно представлен, в частности, проход ко второму ряду зубьев двойной зубчатой рейки 701. Чашеобразное, в целом, выполнение образует корпус 1028 для гильзообразного элемента 501, выполненного в виде гильзы и поводка 601 элемента для передачи движения на вал управления переключением передач. Гильзообразный элемент 501, выполненный в виде гильзы, установлен с возможностью вращения в выемке 1024 и своим сегментообразным зубчатым венцом 502 находится в зацеплении с двойной зубчатой рейкой 701, причем щель 507 в гильзообразном элементе 501 и тем самым также видоизмененный гребень 605 поводка 601 направлены к отверстию 1026, так что создается зацепление с проходящей в отверстии 1026 зубчатой рейкой 206 для передачи движения выбора.
Для привода зубчатой рейки 206 через отверстие 1027 в зону 1023 корпуса 1028, образованного в верхней части 1020 несущего элемента, входит приводимое в движение зубчатое колесо 404.
Вид сбоку верхней части 1040 несущего элемента изображен на фиг.10с. В частности, хорошо видна образующая корпус зона несущего элемента для размещения ступеней коробки передач для передачи движений выбора и переключения.
Через отверстие 1041 проходит двойная зубчатая рейка 701, а в чашеобразной зоне 1046 происходит передача движения переключения от двойной зубчатой рейки 701 на гильзообразный элемент 501, выполненный в виде гильзы элемента для передачи движения на вал управления переключением передач. Зубчатая рейка 206 для передачи движения выбора проходит в зоне 1042 несущего элемента, а привод осуществляется через отверстие 1043, через которое доступен ряд зубьев зубчатой рейки 206. Привод 401 выбора установлен посредством винтов, закрепленных в отверстиях 1045а, 1045b, 1045с, причем он плотно прилегает к фланцу 1044. Ось привода 401 установлена предпочтительно в отверстии 1047.
Закрепление и точная фиксация положения верхней части 1001, 1021, 1041 на коробке передач и относительно вала управления переключением передач осуществляется посредством изображенной на фиг.11а, 11b нижней части 1101 несущего элемента. На фиг.11а нижняя часть 1101 представлена на виде сверху, на фиг.11b – снизу.
Посредством буртика 1108 нижняя часть 1101 несущего элемента установлена в зоне 1023 верхней части 1001, 1021, 1041, причем в пазу 1103 расположено кольцо круглого сечения для герметизации места соединения обеих частей. Для закрепления или позиционирования частей между собой или на коробке передач предусмотрены отверстия 1107.
Посредством буртика 1105 несущий элемент точно по положению соединен с коробкой передач, причем вал управления переключением передач расположен в куполе 1106, проходит сквозь него в верхнюю часть 1001, 1021, 1041 несущего элемента, где действует элемент для передачи движения переключения или выбора.
Под прямым углом к оси вала управления переключением передач предусмотрены отверстия 1102, размещающие блокировку переключения. В отверстии 1104 размещен штифт, движущийся во взаимодействующей с валом кулисе.
На фиг.5 гильза представлена в трехмерном выполнении, а на фиг.6 на виде сверху представлен поводок составного элемента для передачи движения на вал управления переключением передач. Этот элемент, состоящий из гильзообразного элемента 501, выполненного в виде гильзы, поводка 601 и зубчатой рейки 801, обеспечивает раздельную передачу движений выбора и переключения на вал управления переключением передач, причем движение выбора соответствует осевому движению вала, а движение переключения – его вращательному движению.
Передача движения выбора происходит исключительно через поводок 601, который, например, посредством выемки 607 установлен на валу управления переключением передач и выполнен с возможностью фиксации от осевого перемещения на нем, а также имеет для соединения без возможности проворачивания клиновой профиль 610. В случае использования клинового профиля целесообразно фиксировать относительное положение между поводком и валом, например, посредством расширенной выемки 609 и соответствующего ей зуба на валу.
Передача движения выбора происходит на соединенный с валом управления переключением передач поводок 601 через зубчатую рейку на пути передачи движения выбора, причем гребень 605 входит в паз зубчатой рейки.
Поводок 601 установлен своими гребнями 602, 603, 605 в соответствующих пазах 504, 504b, 504с гильзообразного элемента 501 с возможностью осевого перемещения в ней при движении переключения.
Паз 504с видоизменен так, что щель 507 проходит аксиально вдоль гильзы. Через эту щель 507 наружу проходит увеличенный гребень 605, который выполнен с возможностью соединения с зубчатой рейкой на пути передачи движения выбора. В другом примере выполнения может быть также предпочтительным, если соединение происходит за счет того, что взаимодействующий с зубчатой рейкой элемент проходит через щель 507 в гильзообразном элементе 501 внутрь, создавая, таким образом, соединение с поводком 601.
По причинам стабильности и для обеспечения возможности установки гильзообразного элемента 501 щель 507 проходит, особенно предпочтительно, аксиально только на одном участке гильзообразного элемента 501. В другом примере выполнения также целесообразно, если щель 507 проходит по всей длине гильзообразного элемента 501.
Ввод усилия для создания движения переключения происходит через зубчатую рейку 701 на зубчатый венец 502 гильзообразного элемента 501. Посредством соединений с геометрическим замыканием паз-гребень, образованных гребнями 602, 603, 605 и пазами 504а, 504b, 504с, движение передается на поводок 601, соединенный со штоком вилки переключения передач без возможности проворачивания.
Пазы 504а, 504b, 504с и соответственно гребни 602, 603, 605, а также, в частности, их боковые стороны 611, 608, 604 выполнены таким образом, что при передаче момента результирующее усилие на гильзу имеет радиальную составляющую, действующую к центру соединения. Поэтому при нагрузке за счет соединения паз-гребень щель гильзы не разгибается, а стягивается. Далее выполнение боковых сторон 611 вызывает, особенно предпочтительно, большой поверхностный контакт при передаче усилия. Для этого особенно предпочтительно, если боковые стороны 611, 608, 604 гребней 602, 603, 605 имеют геометрическую форму так называемой обратной эвольвенты. Под этим в данном случае понимаются гребни, которые на своих лежащих радиально дальше внутри участках уже, а на своих лежащих радиально дальше снаружи участках шире, причем ширина возрастает в радиальном направлении наружу в форме эвольвенты на обеих сторонах или боковых сторонах. В сравнении с эвольвентным зацеплением зубчатого колеса зуб и промежуток поменены, следовательно, местами таким образом, что зона, образующая у зубчатого колеса зуб, в данном случае является промежутком, а зона, образующая у зубчатого колеса промежуток, является зубом.
На основании гильзы выполнено отверстие 506 (не показано), размещающее опору.
Увеличенный гребень 605 имеет выполненную в форме кругового сектора по отношению к центру оси внешнюю зону 606, которая посредством паза находится в зацеплении с зубчатой рейкой на пути передачи движения выбора и обеспечивает, таким образом, геометрическое замыкание по всему диапазону вращательного движения вала управления переключением передач. В другом примере выполнения также целесообразно, если внешняя зона 606 гребня 605 выполнена не в форме кругового сектора, а имеет другое выполнение.
На фиг.7 представлена зубчатая рейка 701 на пути передачи движения переключения в качестве непосредственного соединительного элемента между элементом для передачи движения на вал управления переключением передач и приводом для движения переключения. На зубчатой рейке выполнены два не зависимых друг от друга ряда зубьев 702, 703. Таким образом реализовано самое прямое соединение приводного блока с перемещаемыми деталями при хорошей приспосабливаемости к геометрическим краевым условиям. Настоящее устройство оставляет открытым множество степеней свободы. Расстояние d между центрами рядов зубьев выбирают предпочтительно как можно меньшим, однако таким, чтобы соответствующие элементы зацепления не мешали друг другу. Угол между обеими плоскостями X1, Z1 и X2, Z2 рядов зубьев при условии, что элементы зацепления взаимно не мешают друг другу, может быть выбран произвольным в диапазоне от 0 и до 360°. Независимое расположение обоих рядов зубьев 702, 703 обеспечивает, при необходимости, также использование различных видов зацеплений. Предпочтительно, если для обоих рядов зубьев 702, 703 используют одинаковое зацепление, например эвольвентное. Из-за геометрических или иных краевых условий также предпочтительно, если ряды зубьев 702, 703 различные. Простая реализация нужного передаточного отношения может быть осуществлена через эффективные радиусы r1, r2 шестерни и зубчатого колеса соответственно.
Устройство обеспечивает особенно простое с точки зрения литья выполнение корпуса, в частности, в отношении расположения различных зон корпуса из-за меньшего числа толкателей и направлений вытягивания.
Описанное выполнение изобретательской идеи является примером. Со ссылкой на фиг.4 можно расположить конструктивные элементы также, например, в соответствии с имеющимся конструктивным пространством, в частности, также с поворотом вокруг осей a, b, c, d, h, g, f и/или е и/или расстояния между осями могут быть увеличены или уменьшены по сравнению с данным примером.
Настоящее изобретение изложено на примере выполнения для коробки передач, у которой осевое перемещение вала управления переключением передач соответствует движению выбора, а вращение – движению переключения. Само собой, изобретение может найти применение также для коробки передач, у которой осевое перемещение вала управления переключением передач соответствует движению переключения, а вращение движению выбора. Соответственно тогда меняются местами функции приводов.
Далее настоящее изобретение относится к более ранним заявкам DE 19734050, 19894214, 19804217, 19814126, 19928263, 19930869 и 19937544 или последующим заявкам, содержание которых категорически относится к раскрытому в данной заявке содержанию.
Поданная вместе с заявкой формула изобретения является предложением по ее редакции без ущерба для достижения дальнейшей патентной охраны. Заявитель оставляет за собой право заявить дополнительную комбинацию признаков, раскрытую пока только в описании и/или на чертежах.
Использованные в зависимых пунктах подчинения указывают на дальнейшее выполнение объекта основного пункта посредством признаков соответствующего зависимого пункта; их не следует рассматривать как отказ от достижения самостоятельной предметной охраны комбинаций признаков подчиненных зависимых пунктов.
Поскольку объекты зависимых пунктов в отношении уровня техники могут образовывать на дату приоритета собственные и независимые изобретения, заявитель оставляет за собой право сделать их объектом независимых пунктов или заявлений на разделение. Они могут содержать далее также самостоятельные изобретения, имеющие независимую от объектов предыдущих зависимых пунктов форму.
Примеры выполнения не следует понимать как ограничение изобретения. Напротив, в рамках изобретения возможны многочисленные разновидности и модификации, в частности такие варианты, элементы и комбинации и/или материалы, которые, например, за счет комбинации или видоизменения отдельных признаков или элементов или технологических операций, описанных в сочетании с теми, что приведены в общем описании и формах выполнения, а также в пунктах формулы и содержащимися на чертежах признаками или элементами или технологическими операциями, могут быть рассмотрены специалистом в отношении решения задачи посредством комбинируемых признаков, приводят к новому объекту или новым технологическим операциям или последовательностям технологических операций, а также насколько они касаются способов изготовления, контроля и технологических процессов.
Формула изобретения
1. Автомобиль, содержащий приводной двигатель, устройство передачи крутящего момента, такое как сцепление, исполнительное устройство, коробку передач, по меньшей мере, с одним валом управления переключением передач, исполнительное устройство и устройство управления, причем приведение в действие устройства передачи крутящего момента и/или коробки передач выполняется автоматизированно посредством устройства управления или ввода данных в устройство управления, приведение в действие коробки передач складывается, в основном, из первой составляющей движения, такой как составляющая выбора, и второй составляющей движения, такой как составляющая переключения, исполнительное устройство коробки передач содержит предназначенные для указанных первого и второго движений первый и второй приводы, а в коробке передач одно движение является поступательным, а другое – вращательным, отличающийся тем, что предусмотрен составной элемент для передачи движения на вал управления переключением передач, имеющий для соединения отдельных деталей, по меньшей мере, один осевой паз для осевого ведения и передачи вращательного движения, а также, по меньшей мере, один кольцевой паз или сегмент кольцевого паза для вращательного ведения и передачи осевого движения.
2. Автомобиль, содержащий приводной двигатель, устройство передачи крутящего момента, такое как сцепление, исполнительное устройство, коробку передач с по меньшей мере одним валом управления переключением передач, исполнительное устройство и устройство управления, причем приведение в действие устройства передачи крутящего момента и/или коробки передач выполняется автоматизированно посредством устройства управления или ввода данных в устройство управления, приведение в действие коробки передач складывается, в основном, из первой составляющей движения, такой как составляющая выбора, и второй составляющей движения, такой как составляющая переключения, исполнительное устройство коробки передач содержит предназначенные для указанных первого и второго движений первый и второй приводы, а в коробке передач одно движение является поступательным, а другое – вращательным, отличающийся тем, что кинематическая передающая цепь для преобразования движения одного привода в движение выбора содержит приводимую посредством привода, преимущественно встроенную в привод первую ступень коробки передач, такую как червяк с червячным колесом, а также установленную за ней вторую ступень коробки передач, образованную, например, цилиндрическим колесом и зубчатой рейкой.
3. Автомобиль, содержащий приводной двигатель, устройство передачи крутящего момента, такое как сцепление, устройство срабатывания, коробку передач, по меньшей мере, с одним валом управления переключением передач, исполнительное устройство и устройство управления, причем приведение в действие устройства передачи крутящего момента и/или коробки передач выполняется автоматизированно посредством устройства управления или ввода данных в устройство управления, приведение в действие коробки передач складывается, в основном, из первой составляющей движения, такой как составляющая выбора, и второй составляющей движения, такой как составляющая переключения, исполнительное устройство коробки передач содержит предназначенные для указанных первого и второго движений первый и второй приводы, а в коробке передач одно движение является поступательным, а другое – вращательным, отличающийся тем, что кинематическая передающая цепь для преобразования движения другого привода в движение переключения содержит приводимую посредством привода, преимущественно встроенную в привод первую ступень коробки передач, такую как червяк с червячным колесом, преимущественно встроенное в привод упругое звено переключения, а также установленную за ним вторую ступень коробки передач, образованную, например, цилиндрическим колесом и зубчатой рейкой.
4. Автомобиль по п.1, отличающийся тем, что составной элемент для передачи движения на вал управления переключением передач содержит, по меньшей мере, один, имеющий зубчатый венец гильзообразный элемент, поводок и зубчатую рейку.
5. Автомобиль по п.1 или 4, отличающийся тем, что между деталями составного элемента для передачи движения на вал управления переключением передач возможна передача относительного осевого движения и/или между другими деталями составного элемента – относительного вращательного движения.
6. Автомобиль по любому из пп.1-4, отличающийся тем, что составной элемент для передачи движения на вал управления переключением передач обеспечивает раздельную передачу на вал управления переключением передач, движений выбора и переключения.
7. Автомобиль по п.4, отличающийся тем, что поводок и гильзообразный элемент выполнены с возможностью взаимодействия посредством, по меньшей мере, одного осевого паза, преимущественно трех пазов и/или поводок и зубчатая рейка находятся во взаимодействии посредством сегмента кольцевого паза, центр которого лежит, по меньшей мере, вблизи оси гильзообразного элемента.
8. Автомобиль по п.4, отличающийся тем, что передача вращательного движения через гильзообразный элемент осуществляется на определенном участке независимо от осевого положения гильзообразного элемента и поводка по отношению друг к другу и/или передача осевого движения через зубчатую рейку осуществляется на определенном участке независимо от положения вращения зубчатой рейки и поводка по отношению друг к другу.
9. Автомобиль по п.8, отличающийся тем, что определенный участок, в котором передача вращательного движения не зависит от положения гильзообразного элемента и поводка по отношению друг к другу, соответствует, по меньшей мере, по существу, участку, по которому в осевом направлении движется вал управления переключением передач.
10. Автомобиль по п.8, отличающийся тем, что определенный участок, в котором ввод осевого движения независим от положения зубчатой рейки и поводка по отношению друг к другу, соответствует, по меньшей мере, по существу, участку, на котором вал управления переключением передач совершает вращательное движение.
11. Автомобиль по п.4, отличающийся тем, что поводок составного элемента для передачи движения на вал управления переключением передач соединен с валом управления переключением передач, без возможности проворачивания и осевого перемещения.
12. Автомобиль по п.4, отличающийся тем, что передача движения выбора осуществляется через зубчатую рейку и поводок.
13. Автомобиль по п.4, отличающийся тем, что передача движения переключения осуществляется через гильзообразный элемент и поводок.
14. Автомобиль по п.4, отличающийся тем, что поводок имеет гребни, взаимодействующие с выполненными в гильзообразном элементе пазами.
15. Автомобиль по п.14, отличающийся тем, что выполнение и число пазов или боковых сторон пазов и, соответственно, гребней или боковых сторон гребней предназначены для центрирования поводка в гильзообразном элементе при вращательной нагрузке.
16. Автомобиль по п.15, отличающийся тем, что в гильзообразном элементе выполнена проходящая в продольном направлении щель.
17. Автомобиль по п.16, отличающийся тем, что щель проходит не по всей длине гильзообразного элемента.
18. Автомобиль по п.16, отличающийся тем, что щель проходит по всей длине гильзообразного элемента.
19. Автомобиль по п.16, отличающийся тем, что длина щели, по меньшей мере, по существу, соответствует участку пути вала управления переключением передач, на котором он движется в осевом направлении.
20. Автомобиль по п.16, отличающийся тем, что щель образована за счет видоизменения одного из пазов.
21. Автомобиль по п.16, отличающийся тем, что щель выполнена между двумя пазами.
22. Автомобиль по п.16, отличающийся тем, что при осевом относительном движении между поводком и гильзообразным элементом щель выполняет направляющую функцию для поводка.
23. Автомобиль по п.16, отличающийся тем, что посредством щели в гильзообразном элементе выполняется соединение между поводком и зубчатой рейкой.
24. Автомобиль по п.16, отличающийся тем, что один из гребней поводка видоизменен таким образом, что он выступает наружу через щель в гильзообразном элементе.
25. Автомобиль по п.24, отличающийся тем, что выступающая из щели в гильзе концевая зона гребня поводка заканчивается в форме кругового сектора с центром на оси вала управления переключением передач.
26. Автомобиль по п.24, отличающийся тем, что концевая зона выступающего из щели в гильзе гребня поводка сама представляет собой гребень, который установлен в соответствующем ему пазу зубчатой рейки с возможностью вращения и передачи осевого движения.
27. Автомобиль по п.7, отличающийся тем, что боковые кромки пазов выполнены таким образом, что при передаче усилия результирующее усилие на гильзу имеет радиальную составляющую, которая создает усилие в направлении закрывания щели.
28. Автомобиль по п.27, отличающийся тем, что боковые кромки пазов выполнены в форме обратной эвольвенты.
29. Автомобиль по п.3, отличающийся тем, что зубчатая рейка на пути передачи движения переключения выполнена в виде двойной зубчатой рейки, содержащей два не зависимых друг от друга ряда зубьев.
30. Автомобиль по п.3 или 29, отличающийся тем, что угол между плоскостями рядов зубьев и осевое расстояние между рядами зубьев обеспечивают соответствующее конструктивному пространству расположение привода относительно вала управления переключением передач.
31. Автомобиль по п.30, отличающийся тем, что плоскости рядов зубьев, по существу, перпендикулярны друг другу.
РИСУНКИ
MM4A – Досрочное прекращение действия патента СССР или патента Российской Федерации на изобретение из-за неуплаты в установленный срок пошлины за поддержание патента в силе
Дата прекращения действия патента: 23.03.2008
Извещение опубликовано: 10.08.2010 БИ: 22/2010
|
|