|
(21), (22) Заявка: 2002128744/11, 22.03.2001
(24) Дата начала отсчета срока действия патента:
22.03.2001
(30) Конвенционный приоритет:
28.03.2000 (пп.1-33) DE 10015374.7
(43) Дата публикации заявки: 20.02.2004
(45) Опубликовано: 20.03.2006
(56) Список документов, цитированных в отчете о поиске:
DE 19823767 А, 10.12.1998. DE 19904022 А, 05.08.1999. DE 19706214 А, 02.04.1998. RU 2060424 C1, 20.05.1996.
(85) Дата перевода заявки PCT на национальную фазу:
28.10.2002
(86) Заявка PCT:
DE 01/01128 (22.03.2001)
(87) Публикация PCT:
WO 01/73317 (04.10.2001)
Адрес для переписки:
103735, Москва, ул. Ильинка, 5/2, ООО “Союзпатент”, пат.пов. Ю.В.Пинчуку, рег.№ 656
|
(72) Автор(ы):
ЭСЛИ Норберт (DE), КРЕТЦ-БУШ Фолькер (DE), НОАК Детлеф (DE), МЕУНИР Мартин (DE)
(73) Патентообладатель(и):
ЛУК ЛАМЕЛЛЕН УНД КУППЛЮНГСБАУ БЕТАЙЛИГУНГС КГ (DE)
|
(54) АВТОМОБИЛЬ С КОРОБКОЙ ПЕРЕДАЧ
(57) Реферат:
Изобретение относится к транспортному машиностроению и может быть использовано в автомобилях при управлении и переключении коробки передач. Автомобиль содержит приводной двигатель, устройство передачи крутящего момента, такое как сцепление, с исполнительным устройством, коробку передач с исполнительным устройством и устройство управления. Воздействие на устройство для передачи крутящего момента и коробку передач осуществляют устройством управления. Воздействие на коробку передач складывается из первой составляющей движения – составляющей выбора и второй составляющей движения – составляющей переключения. Исполнительное устройство коробки передач имеет первый и второй приводы. В коробке передач одно движение является вращательным, а другое движение является поступательным. Кинематический участок передачи для преобразования движения одного из обоих приводов в движение выбора содержит передаточную ступень – червяк с червячным колесом, поводок для преобразования вращательного движения в осевое движение и элемент для преобразования осевого движения во вращательное движение выбора. Приведены варианты кинематических участков для преобразования движения одного из обоих приводов в движение выбора. Технический результат – создание автомобиля с автоматической коробкой передач, которая имеет уменьшенный объем, простую конструкцию, а также компактна, экономична и удобна при переключении передач, проста в монтаже. 4 н. и 29 з.п. ф-лы, 30 ил. 
Данное изобретение относится к автомобилю с приводным двигателем, устройством для передачи крутящего момента с дополнительным устройством, коробкой передач с исполнительным устройством и устройством управления, в котором воздействие на устройство для передачи крутящего момента и коробку передач осуществляется автоматизированным образом посредством устройства управления. Воздействие на такие коробки передач осуществляется как правило с помощью двух составляющих движения, таких как составляющая выбора и составляющая переключения.
Известно наличие для каждого из этих составляющих выбора собственного привода. Движения этих обоих приводов преобразуются в поворотное или поступательное движение вала управления переключением передач коробки передач с преобразованием соотношений пути и усилий.
В этом случае проблематичным является соединение приводов и вала переключения. Требования к передаточному пути относительно соотношений пути и усилий, скорости переключения, времени переключения и комфортности переключения приводят к сложным конструкциям, которые имеют большой объем и высокую стоимость и монтаж которых является сложным.
Поэтому в основу изобретения положена задача создания автомобиля с автоматизированной коробкой передач, который имеет уменьшенный объем частей, является менее дорогим и с помощью простых средств выполняет требования к передаточному пути относительно соотношений пути и усилий, скорости переключения, времени переключения и комфортности переключения. Система должна иметь простую, компактную, согласованную с конструктивным пространством конструкцию и быть простой в монтаже.
Задача решена, согласно изобретению, за счет того, что кинематический участок передачи для преобразования движения одного привода в движение выбора содержит приводимую в движение приводом, предпочтительно интегрированную в привод передаточную ступень, такую как червяк с червячным колесом, расположенный за ней поводок для преобразования вращательного движения в осевое движение, элемент для передачи осевого движения на рычажный элемент для преобразования осевого движения во вращательное движение выбора и кинематический участок передачи для преобразования движения другого привода в движение переключения, содержит приводимую в действие приводом, предпочтительно интегрированную в привод первую передаточную ступень, такую как червяк с червячным колесом, предпочтительно интегрированную в привод упругость переключения, расположенную за ней, образованную, например, с помощью цилиндрического зубчатого колеса и зубчатой рейки, преобразующую вращательное движение в поступательное движение вторую передаточную ступень, элемент передачи без заклинивания осевого движения, а также соединенный с ним без возможности заклинивания, установленный с возможностью поворота вокруг опорного устройства рычаг переключения для преобразования в осевое движение переключения.
Предпочтительные варианты выполнения изобретения являются предметом зависимых пунктов формулы изобретения.
Исполнительное устройство для коробки передач содержит в предпочтительном примере выполнения изобретения плиту основания, через которую оно соединено с коробкой передач. Плита основания предпочтительно несет первый и второй привод.
Под плитой основания в рамках данного изобретения не обязательно понимать плитообразный элемент, а скорее выполненный произвольно элемент, который несет существенные части исполнительного устройства и соединен непосредственно или опосредованно с коробкой передач.
Ось относящегося к первому и/или второму приводу червячного колеса предпочтительно расположена по меньшей мере с возможностью опоры в плите основания. В компоновке выполнена опора для оси.
Согласно предпочтительному варианту выполнения изобретения плита основания образует корпус для по меньшей мере одной кинематической передаточной ступени выбора и/или переключения, в частности, для выполненной из цилиндрического зубчатого колеса и зубчатой рейки первой кинематической передаточной ступени выбора.
Если за счет плиты основания на коробке передач закрывается зона, которая должна быть доступной, то плита основания предпочтительно обеспечивает доступ, например, за счет вырезов. Например, резьбовая пробка маслозаливного отверстия в коробке передач может оставаться доступной через соответствующее отверстие, так что обеспечивается контролирование уровня масла и доливка масла.
Предпочтительный вариант выполнения изобретения выполнен в виде литой части и имеет ребра. Предпочтительно, если ребра проходят под таким углом к главному направлению инструмента, т.е. перпендикулярно плоскости разъема литейной формы, то для выполнения отверстий в ребрах не требуется дополнительный элемент, такой как толкатель, стержень или т.п., а его изготовление обеспечивается только выполнением литейной формы.
В предпочтительном примере выполнения для крепления плиты основания на коробке передач используют среди прочего элемент, который одновременно образует опору для установленного с возможностью поворота рычага переключения для передачи движения переключения. Для опоры рычага переключения этот элемент может быть выполнен в форме штифта или пальца и для крепления плиты основания иметь ступенчатую или фланцеобразную зону для передачи зажимных усилий.
Согласно предпочтительному варианту выполнения изобретения, для создания усилия натяжения для крепления плиты основания на коробке передач используют создающий натяжение элемент, такой как винт или заклепка, который предварительно установлен без возможности выпадания. Перед собственно установкой этот элемент удерживается с возможностью легкого отсоединения, соответственно крепления на предусмотренном месте.
В предпочтительном варианте выполнения изобретения предусмотрен поводок для преобразования вращательного движения в осевое движение на пути передачи движения выбора в виде дискообразного или рычагообразного элемента с расположенным с эксцентриситетом относительно оси привода соединением с последующим элементом передачи.
В предпочтительном варианте выполнения изобретения следующий за поводком элемент для передачи осевого движения включен в кинематический участок с помощью выполненного в виде соединения посредством шаровой головки для обеспечения, например, передачи усилий без заклинивания и компенсации допусков.
Предпочтительно цилиндрическое зубчатое колесо, которое вместе с зубчатой рейкой образует вторую передаточную ступень на пути передачи движения переключения, для передачи усилий с геометрическим замыканием входит в соответствующую прорезь упругого элемента переключения.
В особенно предпочтительном варианте выполнения изобретения зубчатая рейка на пути передачи движения переключения имеет участок из материала с высокой температурой плавления, такого как металл, который несет зубчатое зацепление, и зону из материала с низкой температурой плавления, такого как пластмасса, который предусмотрен для соединения с элементом для передачи без заклинивания осевого движения.
Согласно особенно предпочтительной модификации изобретения, элемент для передачи без заклинивания осевых движений на пути передачи движения переключения имеет участок из материала с более высокой температурой плавления, такого как металл, который предусмотрен для соединения с зубчатой рейкой, и участок из материала с низкой температурой плавления, такого как пластмасса, который предусмотрен для соединения с рычагом переключения.
В предпочтительном варианте выполнения элемент для передачи без заклинивания осевых движений на пути передачи движения переключения соединен неподвижно в осевом направлении с зубчатой рейкой, однако с возможностью относительного вращения вокруг по меньшей мере двух осей. Это соединение предпочтительно выполнено в виде соединения посредством шаровой головки и выполняется с помощью заливки, соответственно заливки экструдированием шара, расположенного на элементе для передачи без заклинивания осевого движения на пути передачи движения переключения.
Кроме того, предпочтительным является то, что заливку шара выполняют одновременно с заливкой несущей зубчатое зацепление частью зубчатой рейки и/или с предусмотренной для соединения с рычагом переключения частью элемента для передачи без заклинивания осевого движения на пути передачи движения переключения.
В другом предпочтительном варианте выполнения зубчатая рейка и/или элемент для передачи без заклинивания осевого движения на пути передачи движения переключения выполнен полностью из пластмассы, при этом можно применять пластмассы с различными температурами плавления.
В предпочтительном варианте выполнения приняты меры для обеспечения полной подвижности шарового шарнира в предусмотренном для работы диапазоне температур. Так, например, предпочтительно покрывать перед процессом заливки шаровую головку разделительным средством, таким как воск. Кроме того, также предпочтительным является то, что подвижность обеспечивают между шаровой головкой и шаровым гнездом дополнительно или только с помощью заданного процесса охлаждения. В этом примере выполнения для шарового гнезда предпочтительно используют в качестве материала пластмассу с низкой степенью усадки при охлаждении.
Для зубчатой рейки предпочтительно, что ось зубчатой рейки расположена в плоскости делительной окружности зубчатого зацепления или вблизи нее или особенно предпочтительно совпадает с ней.
В предпочтительном варианте выполнения изобретения соединение установленного с возможностью поворота рычага переключения с элементом для передачи движения переключения на вал переключения выполняется с помощью соединения с кулисным камнем.
Согласно предпочтительному примеру выполнения изобретения, предпочтительно, если последний элемент на пути передачи движения выбора перед передачей на вал переключения одновременно является последним элементом на пути передачи движения переключения перед передачей на вал переключения. Таким образом, через этот элемент соединяются друг с другом движение выбора и движение переключения.
В предпочтительном варианте выполнения изобретения обусловленное механической связью в кинематической связи переключение и кинематической связи выбора изменение положения привода выбора при движении переключения интерпретируется устройством управления не как отклонение положения.
Это может быть обеспечено предпочтительно за счет того, что кинематика выбора настроена так, что изменение положения привода выбора при движении переключения является по меньшей мере очень низким, особенно предпочтительно минимальным.
Кроме того, предпочтительно, если изменение положения привода выбора при движении переключения меньше суммы имеющихся в кинематике выбора зазоров.
Ниже приводится подробное описание примера выполнения изобретения с преимущественными модификациями со ссылками на чертежи, на которых представлено:
фиг.1 – схема автомобиля с цепью привода, исполнительным устройством коробки передач и устройством управления;
фиг.2 – исполнительное устройство коробки передач в разнесенной проекции;
фиг.3 – исполнительное устройство коробки передач в установленном на коробке передач положении;
фиг.4 – кинематика участка выбора;
фиг.5 – кинематика участка переключения;
фиг.6а – направление соединения и нагрузки в соединении с шаровой головкой;
фиг.6b – соединение с шаровой головкой с повышенной допустимой передачей усилия в направлении соединения;
Фиг.6с – защитная скоба для соединения посредством шаровой головки;
фиг.6d – соединение посредством шаровой головки для осевой передачи усилий;
фиг.7а – залитая шаровая головка на виде сверху;
фиг.7b – залитая шаровая головка на виде сбоку;
фиг.7с – разрез залитой шаровой головки;
фиг.8 – разрез места крепления плиты основания на коробке передач и опора рычага переключения для передачи движения переключения;
фиг.9 – график кинематики участка переключения;
фиг.10 – график кинематики участка выбора;
фиг.11 – график воздействия движения переключения на кинематику выбора;
фиг.12 – упругий элемент переключения на виде сверху, два разреза;
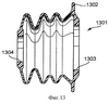
фиг.13 – гофрированный кожух;
фиг.14 – элемент для крепления плиты основания и опоры рычага переключения;
фиг.15 – элемент для передачи осевого движения на пути передачи движения выбора;
фиг.16а – соединение привода с цепью выбора;
фиг.16b – соединение привода с цепью переключения;
фиг.17 – плита основания в изометрической проекции;
фиг.18 – плита основания на виде сбоку;
фиг.19 – разрез образованного из зубчатой рейки и штанги толкателя блока;
фиг.20 – соединительная плита;
фиг.21 – несущий элемент с кинематикой на коробке передач;
фиг.22 – несущий элемент с кинематикой;
фиг.23 – кинематика участка выбора и
фиг.24 – кинематика участка переключения.
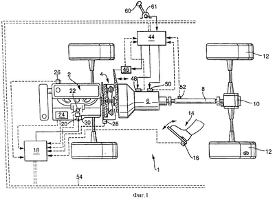
На фиг.1 схематично представлен автомобиль 1 с цепью привода, которая содержит выполненный в виде двигателя внутреннего сгорания приводной двигатель 1, сцепление 4 и коробку 6 передач. Через карданный вал 8 и дифференциал 10 приводятся в движение колеса 12 автомобиля 1. Автомобиль выполнен с одним или несколькими ведущими осями.
Предусмотрено устройство 60 выбора передаточного числа, такое как рычаг выбора с датчиком 61, и представленное в виде блок-схемы устройство 18, 44 управления. Устройство 18, 44 управления может быть выполнено в виде блока или в виде конструктивных и/или функциональных частей. Если устройство 18, 44 управления выполнено в виде конструктивных и/или функциональных частей, то указанные части могут быть соединены друг с другом, например, через сеть-сервер 54 (CAN-Bus) или другое электрическое соединение для обмена данными. Устройство 18, 44 управления управляет, например, автоматизированным воздействием на параметры коробки 6 передач и/или сцепления 4 или двигателя 2, такие как крутящий момент, выбор передаточного числа коробки передач, положение парковки или нейтральное положение коробки передач или передаваемый сцеплением крутящий момент.
Устройство для изменения передаточного числа коробки передач содержит по меньшей мере исполнительный механизм 48, 50 и устройство 44 управления, при этом передаточное число изменяют посредством управления исполнительным механизмом 48, 50. С помощью исполнительного механизма 46 предусмотрена возможность автоматизированным образом воздействовать также на сцепление 4.
Часть устройства 44 управления принимает сигналы, которые представляют по меньшей мере состояние передачи сцепления 4 и установленное в коробке 6 передач передаточное число, а также сигналы от датчика 52 частоты вращения на стороне отбора мощности и датчика 61 устройства 60 выбора передаточного числа. Эти сигналы выдаются датчиками, такими как датчик распознавания передач и датчик пути сцепления.
Часть устройства 18 управления управляет двигателем 2 внутреннего сгорания за счет регулирования дроссельной заслонки 30 или впрыска. Принимаются сигналы от датчика 26 давления во впускном газопроводе, датчика 24 температуры охлаждающей жидкости, датчика 28 частоты вращения двигателя, датчика 20 положения дроссельной заслонки 22 и датчика 16 воздействия на педаль 14 газа.
Устройство для изменения передаточного числа коробки передач содержит по меньшей мере один исполнительный механизм 48, 50, который содержит, например, два электродвигателя, при этом осуществляется управление одним электродвигателем для воздействия на процесс выбора и вторым электродвигателем – для воздействия на процесс переключения. Для этого с помощью электродвигателей осуществляется воздействие на движение вдоль участка выбора или участка переключения по меньшей мере одного расположенного на стороне коробки передач переключательного элемента.
На фиг.2 представлено детально исполнительное устройство коробки передач. Центральным элементом является плита 220 основания, на которой расположены привод 201 для движения выбора и привод 205 для движения переключения. Крепление привода 201 осуществляется с помощью винтов 223, крепление привода 205 – с помощью винтов 224. Для передачи движения выбора на плечо 203 выбора служит соединительная штанга 202. Она для предотвращения заклинивания, в кинематике, шарнирно соединена через соединения с шаровой головкой с плечом 203 выбора и с поводком привода 201.
Передача движения переключения осуществляется через зубчатое колесо 207, которое находится в зацеплении с зубчатой рейкой 209, соединительный элемент 211 и рычаг переключения 215 на плечо 203 выбора. Для опоры зубчатого колеса 207 используются пластмассовые подшипниковые втулки 208.
Привод 205 содержит представленный на фиг.12 интегрированный пружинный элемент 206, подробное описание которого приведено ниже.
Для опоры скольжения зубчатой рейки 209 в плите 220 основания применяются две подшипниковые втулки 210. Гофрированный кожух 212 служит для защиты зубчатого зацепления от загрязнения.
В качестве опорных пальцев для поворотной опоры рычага 215 переключения в плите 220 основания служит полый цилиндрический элемент 221. Рычаг 215 переключения имеет опору скольжения в виде подшипниковой втулки 216. Полый цилиндрический элемент 221 одновременно служит для соединения плиты 220 основания с коробкой передач с помощью винтов 222.
Для шарнирного соединения элемента 221 и кулисного камня 218 с рычагом 215 переключения используются шаровые головки 213 и 217. Формованное кольцо 214 из пластмассы защищает соединение посредством шаровой головки с элементом 221 от загрязнения. Кулисный камень 218 для передачи усилия без заклинивания расположен в плече 203 выбора. В данном случае для защиты от загрязнения служит гофрированный кожух 219 из резины. Соединение посредством шаровой головки между плечом 203 выбора и соединительной штангой 202 защищено от загрязнения формованным кольцом 204.
На фиг.3 представлено исполнительное устройство коробки передач в установленном на коробке передач положении. Сцепление содержит картер 303, промежуточный картер 302, а также крышку 301. Плита 306 основания закреплена на коробке передач с помощью трех винтов 308, 309 и 310. Винт 310 служит одновременно для затягивания полого цилиндрического элемента, который образует опору для рычага 311 переключения.
Кроме того, на фигуре представлены рычаг 312 переключения, соединительная штанга 307, а также вал 313 переключения.
На данном виде примера выполнения вал 313 переключения представлен спереди внизу в горизонтальном положении, так что движение S переключения соответствует движению вправо-влево, поворот вокруг горизонтальной оси – движению W выбора. На правом конце рычаг переключения сцепляется с рычагом 312 переключения, через который инициируется как движение S переключения, так и движение W выбора, левый конец вала переключения соединен (не изображено) через переключательные пальцы и переключательные вилки с муфтами переключения.
Исполнительное устройство коробки передач, содержащее среди прочего плиту 306 основания и приводы 304 и 305, закреплено на этом виде спереди, так что продольная ось приводов образует угол 314 около 45° с осью вала 313 переключения, и соединение приводов с рычагом 312 переключения может осуществляться через кинематические цепи. Ось привода 304 выбора также образует угол около 45° с соединительной штангой 307, т.е. угол между соединительной штангой и валом 313 переключения составляет около 90°.
Так же как проходящие параллельно оси приводов 304 и 305, оси передаточных элементов, а именно соединительной штанги 307 на пути передачи движения выбора и зубчатой рейки, соответственно, элемента 320 для передачи без заклинивания осевого движения на пути передачи движения переключения, проходят также, по существу, параллельно, так что зубчатая рейка, соответственно элемент 320 для передачи без заклинивания осевого движения, расположены примерно перпендикулярно валу 313 переключения.
Опора рычага 311 переключения, ось которого образована винтом 310, расположена перпендикулярно оси вала переключения в плоскости относительно осевого направления вала переключения примерно на высоте рычага 312 переключения, так что за счет поворота рычага 311 переключения вокруг образованной винтом 310 оси обеспечивается движение W выбора вала 313 переключения, а осевое движение соединительной штанги 307, которая с помощью шарового шарнирного соединения 315 подвижно соединена с рычагом 312 переключения, приводит к повороту вала переключения, соответственно к движению S переключения.
Приводы 304 и 305 содержат приводные двигатели 318 и 319, полюсные горшки которых представлены на фигуре, а также зоны 316 и 317, которые образуют каждая открытый в одну сторону корпус для образованной из червяка и червячного колеса первой передаточной ступени на участке выбора, соответственно переключения. Приводы 304 и 305 соединены с промежуточным включением плиты 306 основания, с картером 303 коробки передач так, что открытая сторона зон 316 и 317 обращена к коробке передач.
Привод 305 переключения расположен ближе к рычагу 312 переключения, представляющему центральный элемент для передачи движения на вал переключения, чем привод 304 выбора. В соответствии с этим короче также кинематическая цепь, что является предпочтительным, в особенности с учетом более сильных усилий переключения по сравнению с усилиями выбора.
Вся система обеспечивает изолированное крепление приводных двигателей 318, 319 относительно колебаний двигателя внутреннего сгорания, коробки передач и/или движения.
На фиг.4 представлена кинематика выбора. С приводимым в движение от червяка зубчатым колесом 408 соединен диск 401, который несет расположенный с эксцентриситетом относительно оси червячного колеса, выполненный как часть соединения посредством шаровой головки поводок 409. Поводок 409 выполнен в виде рычажного или по-другому элемента, который пригоден для преобразования вращательного движения в осевое.
Вращательное движение диска 401 преобразуется в осевое движение соединительной штанги 402. Движение соединительной штанги 402 передается без заклинивания через соединение 410 с шаровой головкой на соединенное с валом 404 переключения плечо 403 выбора. Соединительная штанга 402 представлена на фиг.15, и ее описание приведено ниже.
Упоры в конечных положениях направления выбора реализуются за счет перемещения штифта 406 внутри кулисы 407 переключения. При вызванном приводом повороте вала 404 переключения для выбора коридора переключения соответствующим образом перемещается штифт 406 внутри кулисы 407 переключения, с помощью которой также ограничивается движение выбора и задается положение коридоров переключения.
Кинематика пути выбора выполнена в виде пространственного шарнирного четырехзвенника. Предпочтительно создаются возможно меньшие искажения.
В представленной системе между осью а червячного колеса первой передаточной ступени на пути передачи движения выбора, осью a-k соединительной штанги 402 и осью a-s вала 404 переключения образован угол около 90°. В прямоугольной системе 411 координат ось а лежит, по существу, параллельно оси У, ось a-k, по существу, параллельно оси Z и ось a-s, по существу, параллельно оси Х.
Нормальное расстояние между осями а и a-k задано расстоянием d между осью червячного колеса первой передаточной ступени на пути передачи движения выбора и осью а-е расположенного с эксцентриситетом поводка. Нормальное расстояние между осями a-s и a-k определяется длиной рычага 403 переключения.
Соединение привода с кинематикой выбора представлено на фиг.16а. Привод 1601, который выполнен, например, в виде электродвигателя, через червяк 1602 приводит в движение червячное колесо 1603, которое соединено с поводком 1604. Поводок 1604 выполнен в виде диска и несет с эксцентриситетом относительно оси червячного колеса шаровую головку 1605 для шарнирного соединения соединительной штанги 402. На поводке 1604 расположена соответственно также другая часть соединения с шаровой головкой.
На фиг.5 представлен путь передачи движения переключения. Через соединенное с осью 501 зубчатое колесо 502 движение передается на зубчатую рейку 503. Для соединения с рычагом 506 переключения предусмотрен элемент 504, который через соединение 505 посредством шаровой головки соединен с рычагом 506 переключения. Рычаг 506 переключения установлен с возможностью поворота на полом цилиндрическом элементе 507, который закреплен на коробке передач с помощью винта 508.
Рычаг 506 переключения выполнен так, что в кинематике движения переключения не возникают или возникают по меньшей мере только небольшие искажения. При преобразовании осевого движения во вращательное, соответственно, наоборот, всегда возникают синусоидальные искажения. За счет двукратного преобразования через рычаг 506 переключения искажения взаимно компенсируются, так что движение зубчатой рейки 503 может в данном случае предпочтительно преобразовываться в движение вала 511 переключения.
Соединение без заклинивания вала 511 переключения осуществляется через плечо 509 выбора. Соединенный с рычагом 506 переключения с помощью соединения посредством шаровой головки кулисный камень расположен для передачи движения внутри рычага 509 выбора.
Фиксатор 512 переключения определяет нейтральное положение соответственно положения включенных передач; плечи 510 вала переключения образуют внутренние упоры коробки передач в направлении переключения. При движении переключения также осуществляется соответствующее перемещение штифта 513 в кулисе 514 переключения.
Расположение всей кинематической цепи для передачи движения переключения обеспечивает максимально свободную от искажений передачу движений.
Преобразование осевого движения зубчатой рейки 503 вдоль оси с в осевое движение вала 511 переключения вдоль оси а, проходящей примерно перпендикулярно оси с, происходит через рычаг 506 переключения, который установлен с возможностью поворота вокруг оси b, по существу, перпендикулярной осям а и с. Оба плеча 506а и 506b рычага 506 переключения предпочтительно, по меньшей мере, по существу, имеют одинаковую длину для исключения искажений при передаче движений. Если желательно целенаправленное изменение передаточного числа, соответственно, усилия, то может быть целесообразным выполнение плеч 506а и 506b с разной длиной.
Когда с помощью рычага 506 переключения, как в данном примере, не происходит существенного изменения передаточного числа, то предпочтительно создавать с помощью уже образованной цилиндрическим зубчатым колесом 502 и зубчатой рейкой 503 передаточной ступени осевое движение, путь которого соответствует пути вала переключения в направлении переключения между конечными положениями, например между первой и второй передачами.
Соединение другого привода 1610 в кинематике переключения представлено на фиг.16b. В данном случае выполненный в виде электродвигателя привод 1610 приводит в движение через червяк 1611 червячное колесо 1612, которое соединено с упругим элементом 1613 переключения. С упругим элементом 1613 переключения соединено цилиндрическое зубчатое колесо 1614, которое с помощью втулок 1615 скольжения установлено с возможностью вращения на оси 1616.
Оси а-а и b-a обоих приводов 1601 и 1610 проходят примерно перпендикулярно осям b-a и b-b соответствующих червячных колес. Нормальное расстояние осей друг от друга определяется по существу радиусом соответствующего червячного колеса.
На фиг.6а представлено известное соединение посредством шаровой головки, образованное из состоящего, например, из пластмассы шарового гнезда 601 и шаровой головки 602. Для соединения шаровой головки 602 и шарового гнезда 601 обе части вставляются друг в друга в направлении 604 соединения. При этом бортик 606 шарового гнезда 601 имеет немного меньший диаметр, чем диаметр шара 602. При приложении определенного усилия в направлении 604 соединения бортик 606 упруго расширяется настолько, что шаровая головка 602 полностью входит в шаровое гнездо 601, и обеспечивает затем за счет своего меньшего диаметра определенное удерживающее усилие для соединения.
Направление 604 соединения и рабочее направление 605 обычно расположены под прямым углом друг к другу. При передаче усилия, которая выполняется в рабочем направлении 605, соединение не нагружается в направлении соединения, необходимо лишь небольшое удерживающее усилие для удерживания шара 602 в гнезде 601. Очевидно, что передача усилия в направлении 604 соединения с помощью данного соединения с шаровой головкой невозможно, поскольку в этом случае произойдет разъединение шаровой головки 602 и шарового гнезда 601.
На фиг.6b представлено соединение посредством шаровой головки, в котором возможна также ограниченная нагрузка в направлении 604 соединения. Это обеспечивается тем, что разъединение шарового гнезда 610 и шаровой головки 611 затрудняется за счет дополнительно, например, изготовленного из металла элемента 612, как подробно представлено на фиг.6с.
В этом случае шаровое гнездо 610 не имеет бортика с уменьшенным по сравнению с диаметром шара диаметром. Фиксация шаровой головки 611 в шаровом гнезде 610 осуществляется с помощью дополнительного, представленного на фиг.6с элемента 612. Он имеет зону 613, которая заходит под шар и при нагрузке в направлении соединения может воспринимать усилие. Через зону 14, которая выполнена в виде хомута и сидит на шейке шарового гнезда 616, это усилие уравновешивается.
Когда с помощью соединения с шаровой головкой необходимо подвижно соединить друг с другом два продолговатых, например, цилиндрических элемента, то это соединение может быть реализовано, как представлено на фиг.6d. На основании указанных выше причин необходимо разделение рабочего направления и направления соединения, что приводит к сложной конструкции с множеством деталей и трудным монтажом. В данном случае один элемент является зубчатой рейкой 621, которая для передачи усилия имеет зубчатое зацепление 622. С ним необходимо подвижно соединить элемент 620, который содержит шаровое гнездо 624. Шаровая головка 625 выполнена в виде самостоятельного элемента и соединена посредством опоры 623 с зубчатой рейкой 621.
Передача усилий между элементами, при которой направление соединения одновременно является рабочим направлением, обеспечивается, согласно изобретению, особенно предпочтительно с помощью решения, представленного на фиг.7а, 7b и 7с. Это решение пригодно, в частности, для подвижного соединения двух продолговатых, например, цилиндрических элементов, которые нагружаются в осевом направлении.
В данном случае в качестве примера представлено соединение зубчатой рейки 702 со штангой 701 толкателя. Зубчатая рейка имеет зубчатое зацепление 710, через которое вводится усилие, в штанге 701 толкателя для передачи движения на другие элементы выполнено на своем противоположном толкателю конце шаровое гнездо 704.
Соединение предпочтительно выполнено с помощью шарового гнезда 705, состоящего из термически формируемого, в частности, литейного или отливаемого под давлением материала, например пластмассы, такой как PA 6.6-GF 30 или POM-GF 30, и шаровой головки 703, изготовленной из материала с большей температурой плавления, как например из стали, так что для выполнения соединения шаровую головку 703 можно заливать в шаровом гнезде 705 или же покрывать посредством экструзии материалом, образующим шаровое гнездо 705.
Возможны также примеры выполнения, в которых предпочтительно, если материал шарового гнезда 705 имеет более высокую температуру плавления по сравнению с материалом шаровой головки 703. В любом случае предпочтительно сначала изготавливать деталь, которая состоит из материала с более высокой температурой плавления, а затем соединять с ней другую деталь при ее изготовлении.
Возможен также пример выполнения, в котором предпочтительно оба элемента 705 и 703 имеют приблизительно одинаковую температуру плавления.
Предпочтительно предусмотреть особые меры, которые обеспечивают полную подвижность между элементами в предусмотренном рабочем диапазоне температур. Для этого используют нанесение разделительного средства, как например, воска, или же подходящий заданный процесс охлаждения и/или другой подходящий способ и/или средство. При использовании материалов с разными температурами плавления применение этих мер может быть также предпочтительным или даже обязательно необходимым.
В данном примере выполнения образующий шаровое гнездо элемент 705 имеет бортик 706, который выполнен с существенно меньшим диаметром d, чем диаметр D шаровой головки 703. Таким образом, обеспечивается надежная фиксация обоих элементов 703 и 705 также при осевой нагрузке. Отношение D к d находится предпочтительно в диапазоне 1, 1-2, в частности составляет около 1,43. Чем больше осевая нагрузка, тем больше должно быть отношение D/d, откуда следует, что возможны также примеры выполнения, в которых отношение D/d более 2 является предпочтительным.
Зона 707 элемента 705 выполнена в виде воронки с углом относительно оси а, так что возможно относительное движение элементов 705 и 709. В конечных положениях поворотного движения цапфа 708 может соприкасаться с воронкообразной зоной 707.
На фиг.19 представлен разрез блока, образованного из зубчатой рейки и штанги толкателя. В представленном примере выполнения несущая зубчатое зацепление часть зубчатой рейки 1904 состоит из металла и имеет прилитую зону 1903 из пластмассы. Предпочтительно одновременно заливают выполненный для изготовления соединения с шаровой головкой состоящий из металла конец 1908 штанги 1902 толкателя для получения нагружаемого в продольном направлении подвижного соединения. Штанга 1902 толкателя имеет изготовленную из пластмассы прилитую зону 1901, которая приливается совместно с зоной 1903 зубчатой рейки или же при необходимости в ходе отдельного рабочего хода. Для размещения гофрированного кожуха в зоне 1901 штанги толкателя выполнена канавка 1905. Концевые зоны зубчатой рейки, соответственно толкателя, на своих залитых в пластмассу концах целесообразно выполнены так, что соединение остается прочным также под нагрузкой. Для этого концы снабжены, например, кольцевыми канавками для образования поднутрений 1906 и 1907.
На фиг.8 представлен полый цилиндрический элемент 812 в соединении с плитой 801 основания для крепления на коробке передач или в качестве опоры для рычага 807 переключения. Там, где расположен полый цилиндрический элемент, плита 801 основания выполнена в виде вилки с двумя плечами 813 и 814. В плече 813 выполнено сквозное отверстие, диаметр которого соответствует диаметру D детально представленного на фиг.14 с позицией 1401 полого цилиндрического элемента 812; в плече 814 выполнено сквозное отверстие с диаметром d, так что полый цилиндрический элемент 1401 зоной 1404 посажен в плече 814, а другой концевой зоной – в плече 813. Поверхность 1403 образует упор, который опирается на внутреннюю сторону плеча 814 и через который плита 801 основания может быть прижата к картеру коробки передач с помощью проходящего через отверстие 1406 винта 802, через головку 803 которого к поверхности 1402 может быть приложено усилие и резьба 804 которого входит в зацепление с резьбой в картере коробки передач.
Предпочтительно, если винт 802 имеет небольшой диаметр при большой длине, что имеет преимущество в особенности относительно динамических нагрузок, поскольку винт действует как винт растяжения, в частности, отношение длины к диаметру составляет около 10:1.
Другой предпочтительный признак обеспечивает защищенную от выпадания предварительную установку винта 802 в полом цилиндрическом элементе 812. Между винтом 802 и полым цилиндрическим элементом 812 имеется средство, с помощью которого оба элемента можно приводить в желаемое относительное положение, при необходимости исправлять это положение и/или снова отделять элементы друг от друга, но при этом надежно сохраняется это относительное положение. Винт 802 можно предварительно устанавливать в полом цилиндрическом элементе 812, так что при монтаже всего предварительно смонтированного исполнительного устройства коробки передач, состоящего из плиты основания, приводов, кинематических элементов и при необходимости других элементов, винт уже находится без возможности выпадания в заданном месте и не должен сначала подаваться. Для этой цели может быть предусмотрен элемент, который вызывает повышенное трение между винтом 802 и полым цилиндрическим элементом 812, например на винт 802 вспененное пластмассовое кольцо 806, может быть также целесообразным напенивать пластмассу внутри на полый цилиндрический элемент 812. Может быть также предпочтительным пример выполнения, в котором элемент, вызывающий повышенное трение между винтом 802 и полым цилиндрическим элементом 812, выполнен в виде отдельного элемента, например в виде пластмассового или резинового кольца, также предпочтительно использовать несколько таких элементов.
Поверхность 1405 служит, предпочтительно при применении опорной втулки 805 качения, для опоры установленного с возможностью поворота рычага 807 переключения.
Кроме того, на фиг.8 представлено плечо рычага 807 переключения, которое создает соединение рычага 807 переключения с плечом выбора. С рычагом 807 переключения соединена шаровая цапфа 808. Головка шаровой цапфы 808 несет изготовленный, например, из пластмассы кулисный камень 809, который образует шаровое гнездо, в котором зажата шаровая головка и который расположен внутри плеча выбора для передачи усилий без заклинивания.
В шаровой цапфе 808 выполнена канавка 810, в которую посажен гофрированный кожух 811 для защиты соединения с кулисным камнем. Шаровая цапфа 808 соединена, например, с помощью заклепки с рычагом 807 переключения, для чего его конец 815 расширен с помощью пластичной деформации. Может быть предпочтительным, если шаровая цапфа 808 выполнена из жесткого или отвержденного материала для обеспечения длительного срока службы шаровой головки, в этом случае целесообразно выполнять расширение на конце 815 шаровой цапфы 808 с помощью биения.
Ось шаровой цапфы предпочтительно проходит параллельно поворотной оси рычага 807 переключения.
На другом, здесь не представленном плече рычага 807 переключения, предпочтительно размещена для шарнирного соединения шаровая цапфа, такая как описана выше.
На фиг.9 представлен график кинематики участка переключения. В данном случае представлен путь s_SW переключения в зависимости от угла phi_SW поворота вала ротора двигателя переключения. За счет поворота вала ротора двигателя переключения обеспечивается линейное изменение пути переключения, так что с помощью диапазона поворота двигателя переключения возможно без проблем переключение между конечными положениями первой, третьей, пятой передачи, соответственно второй, четвертой и передачи заднего хода.
На фиг.10 представлен график кинематики участка выбора. В данном случае представлен угол поворота вала переключения в зависимости от угла поворота вала ротора двигателя выбора. Преобразование поворотного движения двигателя выбора осуществляется так, что с помощью имеющегося в распоряжении диапазона поворота двигателя возможно без проблем переключение между коридорами 1/2, 3/4 и 5/R переключения.
На фиг.11 представлено воздействие движения переключения на кинематику выбора. За счет связи движения переключения и движения выбора на плече выбора движение переключения всегда вызывает также изменение движения выбора. Зависимость угла phi_AH поворота на рычаге выбора от движения s_SW переключения представлена на фиг.11 для коридоров 1/2, 3/4 и 5/R переключения.
Для определения положения внутри приводов содержатся датчики приращения. Если устройство управления с помощью датчиков обнаруживает отклонение от заданного положения, то оно инициирует уточняющее регулирование приводов. Пороговое значение, начиная с которого инициируется уточняющее регулирование, зависит от установленного в устройстве управления гистерезиса регулирования и имеющихся в кинематической цепи зазоров.
Максимальное отклонение угла поворота плеча выбора при движении переключения предпочтительно меньше, чем сумма имеющихся в цепи выбора зазоров. Таким образом, предотвращается распознавание отклонения с помощью содержащихся в приводах датчиков и тем самым инициирование уточняющего регулирования.
Кинематика как участка выбора, так и участка переключения выполнена так, что влияние движения переключения на положение выбора является возможно малым.
На фиг.12 представлена система элементов, образующих упругость переключения. Упругость переключения создается двумя установленными с возможностью поворота относительно друг друга в заданном угловом диапазоне элементами 1204 и 1205, которые соединены упруго и с демпфированием и один из которых соединен с силовым и/или геометрическим замыканием с червячным колесом 1612, а другой – с цилиндрическим зубчатым колесом 1614, например, с помощью зубчатых зацеплений 1207 и 1208. Пружины и демпфирующие элементы упругости переключения имеют предпочтительно такие характеристики, что привод, действующий в соответствии с кинематикой и процессами ступенчатой коробки передач, изолируется, например, от вызываемых процессами переключения толчков усилий. В данном примере представлены, в частности, четыре пружины 1210а, 1210b, 1210с и 1210d, которые включены параллельно и жесткость которых в соответствии с этим суммируется. Для обеспечения желаемой общей характеристики, предпочтительно, если пружины имеют одинаковые характеристики. Однако в другом примере выполнения предпочтительно применять пружины с разными характеристиками. Предпочтительно применять пружины с линейной характеристикой. Однако при необходимости может быть предпочтительным применять пружины с дегрессивной или прогрессивной характеристикой. Демпфирование в данном примере выполнения выполняется линейно, однако в другом примере выполнения оно может, предпочтительно, осуществляться в зависимости от пути или частоты.
Позицией 1201 обозначен вид сверху примера выполнения, а позициями 1202 и 1203 – разрезы по линиям А-А и В-В. На стороне привода передача усилий осуществляется через зубчатое зацепление 1207 на расположенный на стороне привода элемент 1205, который через пружины 1210 соединен с возможностью поворота в заданном угловом диапазоне с расположенным на стороне отбора мощности элементом 1204. В расположенном со стороны отбора мощности элементе 1204 выполнено зубчатое зацепление 1208 с возможностью введения зубчатого колеса 1209. Однако зубчатое колесо 1209 может быть также соединено с элементом 1204 неподвижно. Кольцевой элемент 1206 соединен с расположенным на стороне входа элементом 1205.
На фиг.13 представлен гофрированный кожух 1301 для герметизации первой передаточной ступени в кинематике выбора. Гофрированный кожух 1301 устанавливается одним концом 1304 в канавку на соединенной с зубчатой рейкой штанге толкателя. Другой конец 1303 устанавливается в канавку на плите основания. Складка 1302 имеет по сравнению с другими складками увеличенный диаметр для облегчения установки.
На фиг.15 представлен элемент для передачи осевых движений на пути передачи движения выбора. Элемент включен в участок передачи шарнирно, однако с возможностью передачи осевых движений, для этого используются, например, соединения посредством шаровой головки. Элемент состоит из штанги 1501 с прилитыми частями 1502 и 1503 соединения с шаровой головкой. В данном случае это гнезда, однако также предпочтительно заливать шары или выполнять элемент как единое целое из одного материала.
Подробно представлен разрез 1504, в котором представлено также образующее поднутрения выполнение конца штанги, который залит в шаровое гнездо. Соединение может быть выполнено также другим целесообразным образом. В определенных случаях может быть также целесообразным выполнять места соединения 1502 и 1503 с возможностью поворота относительно друг друга вокруг оси штанги или повернутыми относительно друг друга на заданный угол и закрепленными.
На фиг.17 представлена плита 1701 основания для крепления обоих приводов и фиксации на коробке передач. Первый привод крепится с помощью винтов, которые через отверстия 1702 ввинчиваются в корпус привода, при этом ось червячного колеса привода входит в отверстие 1703. За счет этого обеспечивается точное позиционирование привода на плите 1701 основания и одновременно разгружается опора оси.
Второй привод крепится с помощью винтов, которые ввинчиваются в резьбу 1704, при этом ось червячного колеса привода входит в отверстие 1705. За счет этого в данном случае также обеспечивается точное, с малыми допусками позиционирование привода на плите 1701 основания.
Расположенное на оси второго привода цилиндрическое зубчатое колесо находится в зацеплении с зубчатой рейкой, которая проходит вдоль отверстий 1706 и 1707. Для этой образованной цилиндрическим зубчатым колесом и зубчатой рейкой передаточной ступени с помощью горшкообразного пространства 1713 образован в плите основания корпус; поверхность 1712 образует уплотнительную поверхность для корпуса привода. Снаружи эта передаточная ступень защищена, например, от грязи с помощью гофрированного кожуха, для крепления которого предусмотрена канавка 1708.
Фиксация плиты 1701 основания на коробке передач осуществляется через три точки крепления, из которых в данной проекции видны только две точки 1709 и 1711. Особое значение имеет точка 1711 крепления, поскольку здесь одновременно фиксируется с возможностью поворота плечо выбора с помощью удерживаемого в сквозных отверстиях 1710 и 1711 элемента и поэтому точность расположения особенно влияет на кинематику всей системы.
Данное расположение обеспечивает, в частности, позиционирование с малыми допусками приводов, особенно за счет заданного отверстиями 1703 и 1705 положения оси червячных колес относительно оси проходящего через отверстия 1710 и 1711 крепежного элемента и за счет точного позиционирования всей плиты 1701 основания относительно точки соединения с валом переключения.
Образованная точками 1702 крепления плоскость и образованная точками 1704 крепления плоскость являются предпочтительно параллельными и проходят на определенном расстоянии друг от друга. Однако в другом примере выполнения также целесообразно располагать точки 1702 и 1704 в одной плоскости.
На фиг.18 плита 1801 основания представлена на виде сбоку. Позициями 1802, 1803, 1804 и 1805 обозначены резьбы для крепления привода переключения, а позициями 1806 и 1807 – места крепления плиты 1801 основания на коробке передач. При изготовлении плиты 1801 основания в виде литой части только для направляющей 1811 необходимо применение задвижки, все другие отверстия, ребра и т.д. можно изготавливать, несмотря на непараллельность плоскости 1812 для крепления одного привода и плоскостей 1813, соответственно 1814 для крепления на коробке передач, за счет выполнения литейной формы с использованием наклонных поверхностей формы. В частности, ребра, в которых выполнены сквозные отверстия 1808 и 1809, лежат под таким углом к главному направлению формы, что их изготовление возможно без задвижек, стержней или т.п.
Среди прочего, перемычка 1810 выполняет функцию облегчения монтажа за счет того, что она удерживает проходящий через отверстия 1808 и 1809 элемент для передачи в осевом направлении движения выбора в его заданном положении.
Позицией а обозначена ось не изображенного рычага переключения, которая проходит, предпочтительно, перпендикулярно плоскостям 1813 и 1814 для крепления на коробке передач.
В одном примере выполнения предпочтительно расположить исполнительное устройство сцепления и устройство управления в виде конструктивного блока, однако отдельно от исполнительного устройства коробки передач.
В этом случае целесообразно предусмотреть для соединения этого конструктивного блока с коробкой передач соединительную плиту 2001, как представлено на фиг.20.
Плита 2001 имеет по соображениям уменьшения колебаний большую жесткость при малой собственной массе для демпфирования колебаний, возбуждаемых, например, коробкой передач и/или двигателем привода и/или движением автомобиля, и защиты соединенных с ней блоков, для этого среди прочего предусмотрено множество ребер жесткости, например 2006, и/или подходящий материал, такой как литейный алюминий.
Для крепления на коробке передач плита 2001 имеет места 2005 крепления, конструктивный блок крепится в соответствии с отверстиями 2004. Кроме того, на плите 2001 могут быть предусмотрены места крепления для других компонентов, такие как прорезь 2002 для крепления резервуара для рабочей жидкости или отверстие 2003 для крепления гнезда для подводящих и/или сигнальных магистралей.
В зависимости от расположения блока на коробке передач может быть также целесообразным предусматривать образованные точками 2004 и 2005 крепления плоскости для крепления плиты 2001 на коробке передач, соответственно блока на плите 2001, не параллельными для обеспечения лучшего доступа к зонам на блоке и/или коробке передач, таким как места соединения для подводящих и/или сигнальных магистралей.
Другой пример выполнения изобретения представлен на фиг.21 и 22. Несущий элемент 2112, 2201 служит для независимого, но точного, в частности, относительно вала 2113 или вала 2211 переключения крепления приводов выбора и переключения на коробке 2111 передач; несущий элемент 2112 несет одновременно элементы кинематики выбора и переключения. Для крепления приводов несущий элемент 2112 содержит множество мест 2109 крепления, в которых предпочтительно выполнена резьба для приема крепежных винтов, при этом может быть также предпочтительным, если они выполнены в виде сквозных отверстий. Приводы для выбора и переключения имеют каждый, так же как и в описанном выше примере выполнения, образованную червяком и червячным колесом, интегрированную в привод первую передаточную ступень, соответствующая вторая передаточная ступень образуется соединенным непосредственно или опосредованно с червячным колесом цилиндрическим зубчатым колесом и зубчатой рейкой. Для этих вторых передаточных ступеней в несущем элементе 2112 предусмотрены выполненные в виде корпусов зоны 2209 и 2210, в которых они размещаются. Приводы для выбора и переключения закреплены на несущем элементе 2112. 2201, по существу, в параллельных плоскостях, при этом приводы в местах их соединения открыты и с уплотнением соединяются с выполненными в виде корпусов зонами 2209 и 2210. Зубчатая рейка для выбора расположена с возможностью перемещения в осевом направлении в отверстии 2108, примерно под прямым углом к нему проходит в параллельной плоскости отверстие 2103 для размещения зубчатой рейки для переключения. Плоскость для крепления привода переключения имеет в данном примере выполнения за счет расположения под прямым углом друг к другу вала 2211 переключения и вала 2113 выбора и положения несущего элемента 2112, 2201 большее расстояние до картера 2111 коробки передач, чем плоскость для крепления привода выбора. Однако при другом расположении вала переключения и вала выбора относительно друг друга в другом примере выполнения также целесообразно, если плоскость для крепления привода переключения имеет меньшее или равное расстояние до картера 2111 коробки передач. Место 2115 крепления служит для размещения установленного с возможностью поворота в плоскости крепления привода переключения или в параллельной плоскости коромысла 2101, 2204, рычаги 2101а и 2101b которого в данном случае имеют примерно одинаковую длину, при этом в другом примере выполнения кинематика может требовать выполнения рычага 2101а длиннее или короче рычага 2101b, так что обеспечивается определенная передача движения.
На фиг.23 представлена кинематика выбора представленного на фиг.21 и 22 в качестве примера варианта выполнения изобретения. С помощью приводимого в движение приводом выбора зубчатого колеса 2301 зубчатая рейка 2302 перемещается в отверстии 2108. Движение передается с помощью элемента 2104, 2208, 2303 для передачи без заклинивания осевого движения, который соединен с зубчатой рейкой 2302, например, с помощью представленного на фиг.7а, 7b, 7с и 19 и описанного выше соединения 2306 посредством шаровой головки, через рычажный элемент 2105, 2207, 2304 на вал 2113, 2305 выбора, при этом для подвижного шарнирного соединения элемента 2104, 2208, 2303 с рычажным элементом 2105, 2207, 2304 предусмотрено соединение 2114, 2307 посредством шаровой головки. Направления движения отдельных элементов при приведении в действие представлены на фигуре стрелками. Оси a, b и с расположены примерно под прямым углом друг к другу, при этом в прямоугольной системе 2308 координат ось а расположена примерно параллельно оси Х, ось b – примерно параллельно оси У и ось с – примерно параллельно оси Z. Сдвиг точки шарнирного соединения между элементом 2303 и рычажным элементом 2304 к оси b в данном случае компенсируется за счет шарнирно соединенного с обеих сторон с помощью соединений 2306 и 2307 подвижного элемента 2303.
На фиг.24 представлена кинематика переключения представленного на фиг.21 и 22 в качестве примера варианта выполнения изобретения. С помощью приводимого в движение приводом переключения зубчатого колеса 2401 зубчатая рейка 2402 может перемещаться в отверстии 2103, 2202. Элемент 2403 для передачи без заклинивания осевого движения выполнен как представленный на фиг.7а, 7b, 7с и 19 и описанный элемент и обеспечивает через соединение 2408 с шаровой головкой передачу движения без заклинивания на коромысло 2404, от которого движение с помощью элементов 2405, 2205, 2102 передается на рычажный элемент 2406, 2206, соединенный с валом 2407, 2211 переключения. Коромысло 2404 имеет два, в данном случае, по существу, равных по длине рычага 2404а и 2404b, плечо 2404с обеспечивает крепление с возможностью поворота за счет того, что коромысло 2404 закреплено, например, с помощью штифта на несущем элементе 2112, 2201. В прямоугольной системе 2408 координат ось а зубчатого колеса 2401 и ось d вала переключения лежат примерно параллельно оси Х, ось b зубчатого колеса 2402 и ось с элемента 2405 проходят, по существу, параллельно оси У; зубчатая рейка 2402 с элементом 2403, коромысло 2404 и элемент 2405 расположены по меньшей мере, по существу, в одной плоскости и перемещаются в ней.
Движение выбора за счет связи кинематики выбора и переключения оказывает влияние на привод переключения. Поэтому кинематика выполнена так, что влияние на кинематику выбора во время движения переключения в этом примере выполнения также настолько мало, что поворот привода выбора при полном движении переключения – с учетом зазоров на пути передачи кинематики выбора – лежит ниже приращения датчиков привода выбора и тем самым этот поворот не обнаруживается, за счет чего предотвращается уточняющее регулирование привода выбора.
С помощью представленного на фиг.21 и 22 примера выполнения при несколько другом выполнении с несущим элементом 2112, 2201 обеспечиваются те же преимущества, что и с плитой 1701, 1801 основания, представленной на фиг.17 и 18 и описанной применительно к ним.
Кроме того, данное изобретение опирается на более ранние заявки DE 19734050, DE 19804214, DE 19804217, DE 19814126, DE 19928263, DE 19930869 и DE 19937544 или следующие за ними заявки, полное содержание которых включается в объем раскрытия данного описания.
Подаваемая с заявкой формула изобретения является предложением по формулированию без преюдиции для обеспечения далеко идущей защиты патента. Заявитель оставляет за собой право заявлять претензии на другие, до этого раскрытые лишь в описании и/или на чертежах комбинации признаков.
Используемые в зависимых пунктах формулы изобретения ссылки указывают на дальнейшее развитие предмета главного пункта формулы изобретения за счет признаков соответствующего зависимого пункта; их не следует понимать как отказ от получения самостоятельной, предметной защиты для комбинации признаков зависимых пунктов формулы изобретения.
Поскольку предметы зависимых пунктов относительно уровня техники на дату приоритета могут образовывать собственные и независимые изобретения, то заявитель оставляет за собой право делать их предметом независимых пунктов или заявлений о разделении. Кроме того, они могут содержать также самостоятельные изобретения, которые имеют выполнение, независимое от предметов предшествующих зависимых пунктов формулы изобретения.
Примеры выполнения не следует понимать как ограничивающие изобретение. Наоборот, в рамках данного раскрытия возможны многочисленные изменения и модификации, в частности такие варианты, элементы и комбинации и/или материалы, которые, например, за счет комбинирования или изменения в соединении с описанными в общей части описания и в вариантах выполнения, а также в пунктах формулы изобретения, и содержащихся в чертежах признаков, соответственно элементов или стадий способа, могут быть очевидными для специалиста в данной области техники, и которые за счет комбинируемых признаков приводят к новому предмету или к новым стадиям способа, соответственно к новым последовательностям стадий способа также, если они относятся к способам изготовления, испытания или работы.
Формула изобретения
1. Автомобиль с приводным двигателем, устройством для передачи крутящего момента, такого как сцепление, с исполнительным устройством, коробкой передач с исполнительным устройством и устройством управления, при этом воздействие на устройство для передачи крутящего момента и коробку передач осуществляется с помощью устройства управления или ввода данных в устройство управления автоматизированно с возможностью управления, воздействие на коробку передач складывается по существу из первой составляющей движения, такой как составляющая выбора, и второй составляющей движения, такой как составляющая переключения, исполнительное устройство коробки передач имеет относящийся к этому первому и второму движению первый и второй привод, в коробке передач одно движение является вращательным, а другое движение является поступательным, отличающийся тем, что кинематический участок передачи для преобразования движения одного из обоих приводов в движение выбора содержит приводимую в движение приводом, предпочтительно интегрированную в привод передаточную ступень, такую как червяк с червячным колесом, расположенный за ней поводок для преобразования вращательного движения в осевое движение, а также элемент для передачи осевого движения на рычажный элемент для преобразования осевого движения во вращательное движение выбора.
2. Автомобиль с приводным двигателем, устройством для передачи крутящего момента, такого как сцепление, с исполнительным устройством, коробкой передач с исполнительным устройством и устройством управления, при этом воздействие на устройство для передачи крутящего момента и коробку передач осуществляется с помощью устройства управления или ввода данных в устройство управления автоматизированно с возможностью управления, воздействие на коробку передач складывается по существу из первой составляющей движения, такой как составляющая выбора, и второй составляющей движения, такой как составляющая переключения, исполнительное устройство коробки передач имеет относящийся к этому первому и второму движению первый и второй привод, в коробке передач одно движение является вращательным, а другое движение является поступательным, отличающийся тем, что кинематический участок передачи для преобразования движения одного из обоих приводов в движение переключения содержит приводимую в движение приводом, предпочтительно интегрированную в привод первую передаточную ступень, такую как червяк с червячным колесом, предпочтительно интегрированный в привод упругий элемент переключения, расположенную за ней, образованную, например, цилиндрическим зубчатым колесом и зубчатой рейкой, преобразующую вращательное движение в осевое движение вторую передаточную ступень, элемент для передачи без заклинивания осевого движения, а также соединенный с ним без возможности заклинивания, установленный с возможностью поворота вокруг опорного устройства рычаг переключения для преобразования в осевое движение переключения.
3. Автомобиль по п.1, отличающийся тем, что исполнительное устройство для коробки передач содержит плиту основания и через нее соединено с коробкой передач.
4. Автомобиль по п.1 или 2, отличающийся тем, что плита основания несет первый и второй привод.
5. Автомобиль по п.1 или 2, отличающийся тем, что ось относящегося к первому и/или второму приводу червячного колеса расположена, по меньшей мере, с возможностью опоры в плите основания.
6. Автомобиль по п.1 или 2, отличающийся тем, что плита основания образует корпус для, по меньшей мере, одной кинематической передаточной ступени переключения и/или выбора.
7. Автомобиль по п.2, отличающийся тем, что в плите основания выполнены вырезы, через которые при необходимости обеспечивается доступ к зонам коробки передач.
8. Автомобиль по п.2, отличающийся тем, что плита основания снабжена для усиления ребрами.
9. Автомобиль по п.2, отличающийся тем, что плита основания выполнена в виде литой части, которая имеет ребра и ребра проходят под таким углом к главному направлению инструмента, что выполнение отверстий через ребра возможно без дополнительного элемента, такого как задвижка или стержень.
10. Автомобиль по п.1 или 2, отличающийся тем, что для крепления плиты основания на коробке передач среди прочего используют элемент, который одновременно образует опору для установленного с возможностью поворота рычага переключения для передачи движения.
11. Автомобиль по п.2, отличающийся тем, что для крепления плиты основания среди прочего используют создающий натяжение элемент, такой как винт или заклепка, который предварительно установлен без возможности выпадения.
12. Автомобиль по п.1, отличающийся тем, что поводок для преобразования вращательного движения в осевое движение на пути передачи движения выбора выполнен в виде дискообразного или рычажного элемента с расположенным с эксцентриситетом относительно оси привода соединением с последующим элементом передачи.
13. Автомобиль по п.1, отличающийся тем, что следующий за поводком элемент для передачи осевого движения включен в кинематический участок с помощью соединения посредством шаровой головки.
14. Автомобиль по п.1, отличающийся тем, что цилиндрическое зубчатое колесо, которое с зубчатой рейкой образует вторую передаточную ступень на пути передачи движения переключения, установлено с возможностью введения в упругий элемент переключения для передачи усилия с геометрическим замыканием.
15. Автомобиль по п.1, отличающийся тем, что зубчатая рейка на пути передачи движения переключения имеет участок из материала с высокой температурой плавления, такого как металл, который несет зубчатое зацепление, и участок из материала с низкой температурой плавления, такого как пластмасса, который предусмотрен для соединения с элементом для передачи без заклинивания осевого движения.
16. Автомобиль по п.1 или 14, отличающийся тем, что элемент для передачи без заклинивания осевых движений на пути передачи движения переключения имеет участок из материала с более высокой температурой плавления, такого как металл, который предусмотрен для соединения с зубчатой рейкой, и участок из материала с низкой температурой плавления, такого как пластмасса, который предусмотрен для соединения с рычагом переключения.
17. Автомобиль по любому из пп.1, 14 или 15, отличающийся тем, что элемент для передачи без заклинивания осевых движений на пути передачи движения переключения соединен с зубчатой рейкой неподвижно в осевом направлении, но с возможностью вращения вокруг по меньшей мере двух осей.
18. Автомобиль по п.16, отличающийся тем, что элемент для передачи без заклинивания осевых движений на пути передачи движения переключения и зубчатая рейка соединены друг с другом посредством шаровой головки.
19. Автомобиль по п.15, отличающийся тем, что соединение посредством шаровой головки выполняют с помощью заливки, соответственно заливки экструдированием шара, расположенного на элементе для передачи без заклинивания осевого движения на пути передачи движения переключения.
20. Автомобиль по любому из пп.14, 15 и 18, отличающийся тем, что заливку шара выполняют одновременно с заливкой несущей зубчатое зацепление частью зубчатой рейки и/или с предусмотренной для соединения с рычагом переключения частью элемента для передачи без заклинивания осевого движения на пути передачи движения переключения.
21. Автомобиль по п.1, отличающийся тем, что зубчатая рейка и/или элемент для передачи без заклинивания осевого движения на пути передачи движения переключения выполнен полностью из пластмассы.
22. Автомобиль по п.16, отличающийся тем, что приняты меры для обеспечения полной подвижности соединения между зубчатой рейкой и элементом для передачи без заклинивания осевых движений в предусмотренном для работы диапазоне температур.
23. Автомобиль по п.18 или 21, отличающийся тем, что перед процессом заливки шаровую головку покрывают разделительным средством, как например, воском.
24. Автомобиль по п.18 или 21, отличающийся тем, что подвижность между шаровой головкой и шаровым гнездом обеспечивают с помощью заданного процесса охлаждения.
25. Автомобиль по п.18, отличающийся тем, что материалом для шарового гнезда является пластмасса с низкой степенью усадки при охлаждении.
26. Автомобиль по п.14, отличающийся тем, что ось зубчатой рейки расположена в плоскости делительной окружности зубчатого зацепления или по меньшей мере вблизи нее.
27. Автомобиль по п.1, отличающийся тем, что передача без заклинивания движения переключения с установленного с возможностью поворота рычага переключения с элементом для передачи движения переключения на вал переключения выполняется с помощью соединения с кулисным камнем.
28. Автомобиль по п.1, отличающийся тем, что последний элемент на пути передачи движения выбора перед передачей на вал переключения одновременно является последним элементом на пути передачи движения переключения перед передачей на вал переключения.
29. Автомобиль по любому из п.п.1 или 26, отличающийся тем, что обусловленное механической связью в кинематической связи переключение и в кинематической связи выбора изменение положения привода выбора при движении переключения интерпретируется устройством управления не как отклонение положения.
30. Автомобиль по п.1 или 28, отличающийся тем, что кинематика выбора настроена так, что изменение положения привода выбора при движении переключения является по меньшей мере очень низким.
31. Автомобиль по п.1, отличающийся тем, что изменение положения привода выбора при движении переключения меньше суммы имеющихся в кинематике выбора зазоров.
32. Автомобиль с приводным двигателем, устройством для передачи крутящего момента, таким как сцепление, с исполнительным устройством, коробкой передач с исполнительным устройством и устройством управления, при этом воздействие на устройство для передачи крутящего момента и коробку передач осуществляется с помощью устройства управления или ввода данных в устройство управления автоматизированно с возможностью управления, воздействие на коробку передач складывается по существу из первой составляющей движения, такой как составляющая выбора, и второй составляющей движения, такой как составляющая переключения, исполнительное устройство коробки передач имеет относящийся к этому первому и второму движению первый и второй привод, в коробке передач как движение выбора, так и движение переключения является вращательным движением, отличающийся тем, что кинематический участок передачи для преобразования движения одного из обоих приводов в движение выбора содержит приводимую в движение приводом, предпочтительно интегрированную в привод первую передаточную ступень, такую как червяк с червячным колесом, следующую за ней, образованную, например, цилиндрическим зубчатым колесом и зубчатой рейкой, преобразующую вращательное движение в поступательное движение вторую передаточную ступень, элемент для передачи без заклинивания осевого движения, а также соединенный с валом выбора рычажный элемент.
33. Автомобиль с приводным двигателем, устройством для передачи крутящего момента, такого как сцепление, с исполнительным устройством, коробкой передач с исполнительным устройством и устройством управления, при этом воздействие на устройство для передачи крутящего момента и коробку передач осуществляется с помощью устройства управления или ввода данных в устройство управления автоматизированно с возможностью управления, воздействие на коробку передач складывается по существу из первой составляющей движения, такой как составляющая выбора, и второй составляющей движения, такой как составляющая переключения, исполнительное устройство коробки передач имеет относящийся к этому первому и второму движению первый и второй привод, в коробке передач как движение выбора, так и движение переключения является вращательным движением, отличающийся тем, что кинематический участок передачи для преобразования движения одного из обоих приводов в движение переключения содержит приводимую в движение приводом, предпочтительно интегрированную в привод первую передаточную ступень, такую как червяк с червячным колесом, предпочтительно интегрированный в привод упругий элемент переключения, расположенную за ним, образованную, например, цилиндрическим зубчатым колесом и зубчатой рейкой, преобразующую вращательное движение в осевое движение вторую передаточную ступень, элемент для передачи без заклинивания осевого движения, выполненный в виде коромысла передаточный элемент, другой элемент для передачи осевого движения, а также соединенный с валом переключения рычаг переключения.
РИСУНКИ
MM4A – Досрочное прекращение действия патента СССР или патента Российской Федерации на изобретение из-за неуплаты в установленный срок пошлины за поддержание патента в силе
Дата прекращения действия патента: 23.03.2009
Извещение опубликовано: 10.08.2010 БИ: 22/2010
|