|
|
(21), (22) Заявка: 2004118629/06, 22.06.2004
(24) Дата начала отсчета срока действия патента:
22.06.2004
(45) Опубликовано: 20.03.2006
(56) Список документов, цитированных в отчете о поиске:
SU 723223 A, 25.03.1980. RU 2187022 C1, 10.08.2002. RU 2002115 C1, 30.10.1993. DE 19906130 A1, 17.08.2000. US 5413457 A, 09.05.1995.
Адрес для переписки:
423368, Республика Татарстан, Сармановский р-н, п. Джалиль, ул. Ленина, 2, НГДУ “Джалильнефть”, начальнику технического отдела
|
(72) Автор(ы):
Каюмов Малик Шафикович (RU), Козлов Михаил Тимофеевич (RU), Ямалеев Фандас Габбасович (RU), Яковлев Сергей Львович (RU)
(73) Патентообладатель(и):
Открытое акционерное общество “Татнефть” им. В.Д. Шашина (RU)
|
(54) ВИХРЕВОЙ НАСОС
(57) Реферат:
Изобретение найдет применение при транспортировании различных жидкостей в жилищном хозяйстве, в химической и нефтедобывающей промышленности. Вихревой насос содержит корпус с выкидным каналом, колесо (К), расположенное между крышками, направляющий аппарат (НА) с каналами и основным и дополнительным разделителями потока. К выполнено типа шестерни с открытыми продольными выборками с вогнутым днищем, а НА охватывает К с зазором. Каналы НА выполнены в виде продольных выборок, обращенных открытой стороной к выборкам К. Насос снабжен дополнительными входным и выкидным каналами, расположенными диаметрально основным, а основной и дополнительный выкидные каналы соединены между собой секторным каналом. Каждая крышка в центральной зоне снабжена кольцевой расточкой, соединенной через радиальные каналы с полостями выборок К и НА. Изобретение направлено на достижение высокой эксплуатационной надежности и высокого КПД. 1 з. п. ф-лы, 3 ил. 
Изобретение относится к области насосостроения, более конкретно – к насосам динамического действия, в частности – к вихревым насосам с рабочими колесами открытого типа. Оно предназначено для транспортирования различных жидкостей в жилищном хозяйстве, а также в химической и нефтедобывающей промышленности.
Известен вихревой насос, состоящий из рабочего колеса с боковыми симметрично расположенными радиальными каналами, разделенными друг от друга лопатками, отвода с симметричными каналами, переходящими в один общий канал, разделителя потока, корпуса, крышек и приводного вала (В.М. Черкасский. Насосы, вентиляторы, компрессоры. М.: Энергия, 1977, с.321, рис.15-6, 15-7).
Недостатки устройства:
– неудовлетворительное значение КПД, которое обусловлено увеличением потерь давления на границе двух продольных вихрей, каждый из которых захватывает половину общего канала, в результате чего имеет место удар встречных потоков;
– возникновение значительных поперечных сил, обусловленное неравномерным распределением давления по периметру канала отвода, вызывающим прогиб вала и перекос торцовых поверхностей рабочего колеса;
– неудовлетворительное значение напора, развиваемое насосом, из-за того, что при выходе потока жидкости из радиальных каналов рабочего колеса в канал отвода его скорость резко падает, а при входе резко повышается.
Наиболее близким по технической сущности к предлагаемому является вихревой насос, включающий корпус с выкидным каналом, колесо, снабженное открытыми продольными выборками на периферийной поверхности, расположенное между крышками, направляющий аппарат с каналами и основным разделителем потока, приводной вал и уплотнительные элементы (А. с. №723223, МПК F 04 D 5/00, 1980).
Существенными недостатками насоса являются:
– неудовлетворительная эксплуатационная надежность, обусловленная тем, что давление в отводе распределяется пропорционально углу поворота. Это приводит к тому, что результирующая поперечная сила нагружает приводной вал напряжениями переменного знака, что вызывает его прогиб и перекос торцовых поверхностей колеса;
– значительные объемные потери перекачиваемой жидкости, происходящие из-за того, что интенсивный переток жидкости из зоны отводящего канала в зону подводящего канала осуществляется через участки зазоров, образованных между лопатками венца и крышками и лежащих ближе к центру, где статическое давление больше, чем скоростное. Это приводит к снижению КПД.
Задачей изобретения является создание вихревого насоса, обладающего высокой эксплуатационной надежностью и высоким КПД.
Указанная задача решается предлагаемым насосом, включающим корпус с выкидным каналом, колесо, снабженное открытыми продольными выборками на периферийной поверхности, расположенное между крышками, направляющий аппарат с каналами и основным разделителем потока, приводной вал и уплотнительные элементы.
Новым является то, что выборки колеса выполнены с вогнутым днищем и образуют как бы шестерню с прямыми зубьями, переходящими на набегающей на поток стороне в прямолинейные плоскости, образующие с вектором окружной скорости тупой угол; направляющий аппарат охватывает колесо с зазором, а его каналы выполнены в виде продольных выборок, обращенных открытой стороной к выборкам колеса и имеющих с приемной стороны прямолинейную плоскость, переходящую на отводной стороне в криволинейную, и содержит дополнительный разделитель потока, находящийся на диаметрально противоположной стороне относительно основного разделителя потока; снабжен дополнительными входным и выкидным каналами, расположенными диаметрально и соответственно симметрично основным, причем дополнительный выкидной канал соединен с отводным по секторному каналу, расположенному на наружной поверхности направляющего аппарата; каждая крышка в центральной зоне снабжена кольцевой расточкой, соединенной через радиальные каналы с полостями выборок колеса и направляющего аппарата; периферийная зона насоса разделена от центральной жесткими уплотнительными кольцами, расположенными в стенках крышек и колеса по обе его стороны.
Новым также является то, что зазор между выступами выборок колеса и направляющего аппарата определяют по формуле:

где Q – производительность насоса;
– поступательная скорость жидкости в зазоре ( =3…5 м/с);
L – ширина колеса.
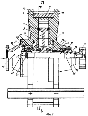
На фиг.1 изображен общий вид предлагаемого насоса в продольном разрезе.
На фиг.2 – разрез по А-А фиг.1.
На фиг.3 – вид на крышку по плоскости Б-Б фиг.1.
Насос состоит из корпуса 1 (фиг.1), представляющего собой полое цилиндрическое кольцо с выкидным патрубком 2 (фиг.2), колеса 3 с жесткими уплотнительными кольцами 4. Колесо 3 выполнено в виде шестерни с прямыми зубьями, образующими открытые продольные выборки 5 (фиг.2) с вогнутым днищем 6, переходящие на набегающей на поток стороне в прямолинейные плоскости В , образующие с вектором окружной скорости Г тупой угол   . Насос содержит также направляющий аппарат 7, который охватывает колесо 3 с зазором и выполнен с продольными выборками 8, обращенными открытой стороной к выборкам колеса и имеющими с приемной стороны прямолинейную плоскость З , переходящую на отводной стороне в криволинейную Л . Направляющий аппарат снабжен разделителями потока 9 и 10, между которыми на его наружной поверхности выполнен секторный канал 11, соединяющий основной выкидной канал 12 с дополнительным 13. Колесо 3 установлено между крышками 14 и 15, в которых в центральной зоне выполнены кольцевые расточки 16 и 77, соединенные через входные радиальные каналы 18 (фиг.3) (основной) и 19 (дополнительный) с полостями выборок колеса и направляющего аппарата.. Внутри насоса установлен приводной вал 20, разгрузочный узел 21, узел торцового уплотнения 22 и подшипники скольжения 23 и 24. В разгрузочный узел 21 входят пята 25 с упорными кольцами 26, охваченная кольцами 27 и 28. Узел торцового уплотнения 22 состоит из вращающейся втулки 29 и подвижного стакана 30 с уплотнительными кольцами 31. С одной стороны насоса установлен входной патрубок 32, а с другой – полумуфта 33. Насос крепится к лапкам 34 прижимными поясами 35.
Выборки колеса и направляющего аппарата образуют выступы соответственно 36 и 37, зазор между которыми определяют по формуле:

где Q – производительность насоса;
– поступательная скорость жидкости в зазоре ( =3…5 м/с),
L – ширина колеса.
Насос работает следующим образом.
Жидкость из приемной полости а направляется в полость б , где она разделяется на два потока. Один направляется в кольцевое пространство в , а другой через каналы г и окна ж – в такое же кольцевое пространство и . Из полостей в и и по радиальным каналам 18 и 19 жидкость направляется в выборки 5 и 8 колеса 3 и направляющего аппарата 7. Здесь на нее оказывает воздействие днище 6 выборки 5. В результате жидкость из выборок 5 выбрасывается в зазоры, образованные между колесом 3 и направляющим аппаратом 7, и в выборки 8 направляющего аппарата. Здесь скорость ее несколько падает, а статическое давление возрастает. В дальнейшем жидкость из выборок 8 направляющего аппарата с большим статическим давлением переходит в последующие выборки 5 колеса 3. При подходе выборок 5 к разделителям потока 9 и 10 жидкость выбрасывается в выкидные каналы 12 и 13, а оттуда – в выкидной патрубок 2.
Осевое усилие, приходящееся на торец вала 20, воспринимается пятой 25. Полость всасывания ( а , б , в , г , ж , и ) отделена от атмосферы торцовым уплотнением 22.
Предлагаемый насос позволяет повысить эксплуатационную надежность благодаря тому, что колесо в поперечной плоскости полностью разгружено, что обеспечивается дополнительными входным и выкидным каналами и расположению их диаметрально основным каналам. Достигнуто повышение КПД благодаря снижению объемных потерь за счет герметизации вихревой зоны колеса от центральной и выбору соответствующих профилей выборок колеса и направляющего аппарата.
Формула изобретения
1. Вихревой насос, включающий корпус с выкидным каналом, колесо, снабженное открытыми продольными выборками на периферийной поверхности, расположенное между крышками, направляющий аппарат с каналами и основным разделителем потока, приводной вал и уплотнительные элементы, отличающийся тем, что выборки колеса выполнены с вогнутым днищем и образуют как бы шестерню с прямыми зубьями, переходящими на набегающей на поток стороне в прямолинейные плоскости, образующие с вектором окружной скорости тупой угол; направляющий аппарат охватывает колесо с зазором, а его каналы выполнены в виде продольных выборок, обращенных открытой стороной к выборкам колеса и имеющих с приемной стороны прямолинейную плоскость, переходящую на отводной стороне в криволинейную, и содержит дополнительный разделитель потока, находящийся на диаметрально противоположной стороне относительно основного разделителя потока; снабжен дополнительными входным и выкидным каналами, расположенными диаметрально и соответственно симметрично основным, причем дополнительный выкидной канал соединен с основным по секторному каналу, расположенному на наружной поверхности направляющего аппарата; каждая крышка в центральной зоне снабжена кольцевой расточкой, соединенной через радиальные каналы с полостями выборок колеса и направляющего аппарата; периферийная зона насоса разделена от центральной жесткими уплотнительными кольцами, расположенными в стенках крышек и колеса по обе его стороны.
2. Вихревой насос по п.1, отличающийся тем, что зазор между выступами выборок колеса и направляющего аппарата определяется по формуле:

где Q – производительность насоса;
– поступательная скорость жидкости в зазоре ( =3÷5 м/с);
L – ширина колеса.
РИСУНКИ
MM4A – Досрочное прекращение действия патента СССР или патента Российской Федерации на изобретение из-за неуплаты в установленный срок пошлины за поддержание патента в силе
Дата прекращения действия патента: 23.06.2008
Извещение опубликовано: 10.07.2010 БИ: 19/2010
|
|