|
|
(21), (22) Заявка: 2003132058/06, 02.04.2002
(24) Дата начала отсчета срока действия патента:
02.04.2002
(30) Конвенционный приоритет:
03.04.2001 EP 01108369.8
(43) Дата публикации заявки: 10.05.2005
(45) Опубликовано: 20.03.2006
(56) Список документов, цитированных в отчете о поиске:
WO 98/35135 A1, 13.08.1998. RU 2095630 C1, 07.03.1995. RU 2014496 C1, 15.06.1994. SU 1786287 A1, 07.01.1993. US 4043002 А, 23.08.1977. US 2994562 А, 01.08.1961.
(85) Дата перевода заявки PCT на национальную фазу:
03.11.2003
(86) Заявка PCT:
DK 02/00220 (02.04.2002)
(87) Публикация PCT:
WO 02/081922 (17.10.2002)
Адрес для переписки:
103735, Москва, ул.Ильинка, 5/2, “СОЮЗПАТЕНТ”, пат.пов. О.Ф.Ивановой
|
(72) Автор(ы):
МАДСЕН Расмус Букх (DK), КОФОД Нильс Петер (DK)
(73) Патентообладатель(и):
КФС СЛАГЕЛСЕ А/С (DK)
|
(54) ШНЕКОВЫЙ МЕХАНИЗМ ДЛЯ ТРАНСПОРТИРОВКИ ТЕКУЧИХ ВЕЩЕСТВ И/ИЛИ КУСКОВ МАТЕРИАЛА
(57) Реферат:
Изобретение относится к шнековому механизму, предназначенному для транспортировки текучих веществ и/или кусков материала. Шнековый механизм содержит первый приводимый во вращение шнек (1), снабженный спиральными витками (2), установленный внутри корпуса (3), имеющего входное и выходное отверстия. Между входным и выходным отверстиями корпуса (3) расположены входная камера (4) и камера нагнетания (5), и, по меньшей мере, в камере нагнетания (5) установлен второй шнек (6) со спиральными витками (7), выполненный с возможностью вращения в направлении, противоположном направлению вращения первого шнека (1), при этом размещенные в камере нагнетания (5) шнеки (1, 6) обеспечивают перемещение материала путем его принудительного вытеснения за счет контактного взаимодействия между двумя указанными шнеками (1, 6). Участки двух шнеков (1, 6), находящихся во взаимном зацеплении, выходят из камеры нагнетания (5) и входят во входную камеру (4) на длину, соответствующую, по меньшей мере, полутора виткам, за счет чего предотвращается переполнение камеры (5) нагнетанием материала, и тем самым предотвращается увеличение трения в камере нагнетания. 10 з.п. ф-лы, 7 ил. 
Настоящее изобретение относится к шнековому механизму, предназначенному для транспортировки текучих веществ и/или кусков материала, который содержит первый приводимый во вращение шнек, выполненный со спиральными витками, установленный в корпусе, имеющем входное и выходное отверстия, при этом корпус содержит входную камеру и камеру нагнетания, расположенные между входным и выходным отверстиями, второй шнек, выполненный со спиральными витками и с возможностью вращения в направлении, противоположном направлению вращения первого шнека, причем установленные внутри нагнетательной камеры шнеки обеспечивают перемещение материала путем его принудительного вытеснения за счет плотного контакта между витками и впадинами взаимодействующих шнеков и между витками указанных шнеков и стенками камеры, и два подающих шнека во входной камере, смонтированные на общих валах с нагнетательными шнеками.
Наиболее близким техническим решением по совокупности существенных признаков и достигаемому результату является шнековый механизм, известный, например, из опубликованной международной заявки WO 98/35135.
Известный шнековый механизм содержит первый приводимый во вращение шнек, выполненный со спиральными витками, установленный в корпусе, имеющем входное и выходное отверстия. При этом корпус содержит входную камеру и камеру нагнетания, расположенные между входным и выходным отверстиями. Известный механизм содержит также второй шнек, выполненный со спиральными витками и с возможностью вращения в направлении, противоположном направлению вращения первого шнека. Установленные внутри нагнетательной камеры шнеки обеспечивают перемещение материала путем его принудительного вытеснения за счет плотного контакта между витками и впадинами взаимодействующих шнеков и между витками указанных шнеков и стенками камеры. Кроме того, механизм содержит два подающих шнека во входной камере, смонтированные на общих валах с нагнетательными шнеками.
В транспортирующих шнековых механизмах такого типа снижение трения между стенками корпуса, нагнетательным шнеком (винтом) и перемещаемым материалом достигается, как известно, за счет выполнения участков двух шнеков, соединенных в нагнетательной камере, с возрастающим шагом, т.е. увеличивающимся расстоянием между витками. В результате обеспечивается возможность транспортирования весьма крупных кусков материала и достаточно вязких веществ. Однако в известной конструкции шнекового механизма не обеспечивается надежное предотвращение переполнения камеры нагнетания и, соответственно, связанное с ним увеличение трения в нагнетательной камере.
Из уровня техники известен патент США №4043002, в котором описана конструкция шнекового механизма, в которой нагнетательный шнек может входить в камеру загрузки. Цель ввода нагнетательного шнека в камеру загрузки заключается в том, чтобы захватить материал и увлечь его в нагнетательную камеру. В случае необходимости транспортирования очень больших кусков и весьма вязкого материала это может привести к увеличению трения в камере нагнетания вследствие ее переполнения.
В соответствии с отмеченным недостатком указанного ближайшего аналога задача настоящего изобретения заключается в создании шнекового транспортирующего механизма, предотвращающего переполнение камеры нагнетания и, соответственно, связанное с ним увеличение трения в нагнетательной камере.
Поставленная задача решается тем, что в шнековом механизме для транспортировки текучих веществ и/или кусков материала, содержащем первый приводимый во вращение шнек, выполненный со спиральными витками, установленный в корпусе, имеющем входное и выходное отверстия, при этом корпус содержит входную камеру и камеру нагнетания, расположенные между входным и выходным отверстиями, второй шнек, выполненный со спиральными витками и с возможностью вращения в направлении, противоположном направлению вращения первого шнека, причем установленные внутри нагнетательной камеры шнеки обеспечивают перемещение материала путем его принудительного вытеснения за счет плотного контакта между витками и впадинами взаимодействующих шнеков и между витками указанных шнеков и стенками камеры, и два подающих шнека во входной камере, смонтированные на общих валах с нагнетательными шнеками, согласно изобретению место перехода подающих шнеков в нагнетательные шнеки выбрано так, что, по меньшей мере, полтора витка нагнетательных шнеков выступают из камеры нагнетания во входную камеру, а нагнетательные шнеки выполнены с постоянным шагом витков.
Рекомендуется в нагнетательной камере ниже по ходу перемещения материала установить режущее приспособление. При этом режущее приспособление содержит, по меньшей мере, один перфорированный диск в комбинации с, по меньшей мере, одним рядом вращающихся ножей. Ряды ножей установлены с возможностью вращения на валах, приводящих во вращение нагнетательные шнеки. В варианте выполнения ножи приводятся во вращение отдельным приводом. Тогда скорость вращения ножей и нагнетательных шнеков регулируют индивидуально. Индивидуальное регулирование осуществляют в зависимости от измеренного давления в материале напротив режущего приспособления.
Предпочтительно, когда концы, расположенные ниже по ходу движения материала, установлены в подшипниковых опорах и опоры зафиксированы относительно друг друга с помощью первого соединительного элемента в виде перемычки, проходящей между указанными опорами, т.е. с помощью плавающего соединения.
Кроме того, механизм, согласно изобретению, содержит вторую перемычку на соединительном элементе, обеспечивающую соединение первой перемычки соединительного элемента, проходящей между опорами, с нагнетательной камерой. Вторая перемычка соединительного элемента установлена по одной линии с участком контактного взаимодействия нагнетательных шнеков.
Целесообразно концы шнеков, расположенные ниже по ходу движения материала, установить в подшипниковых опорах, смонтированных в перфорированном диске, и/или в направляющей вспомогательной опоре.
За счет предложенного выполнения шнекового механизма взаимное зацепление между нагнетательными шнеками во входной камере приводит к вытеснению избытка вещества из шнеков перед входом в камеру нагнетания, и тем самым предотвращается переполнение нагнетательной камеры и связанное с ним увеличение трения в нагнетательной камере.
В нижеследующем описании настоящее изобретение будет раскрыто более подробно в примерах воплощения шнекового транспортирующего механизма, соответствующего данному изобретению, показанного на чертежах, на которых:
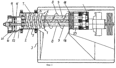
фиг.1 – поперечное сечение шнекового механизма, показанного без ряда деталей, вид сверху;
фиг.2 – поперечное сечение шнекового механизма, показанного на фиг.1, вид сбоку;
фиг.3 – часть шнекового механизма, изображенного на фиг.1, снабженного отдельным приводом для режущего приспособления;
фиг.4 – альтернативное конструктивное выполнение спиральных витков нагнетательных шнеков;
фиг.4а – режущее приспособление, установленное ниже по ходу движения материала относительно нагнетательной камеры, используемое в воплощениях шнекового механизма, соответствующих фиг.1-4;
фиг.5 показывает конструктивное выполнение режущего приспособления, включающего два ряда ножей и перфорированный диск, имеющий форму “восьмерки”;
фиг.5а – альтернативное выполнение режущего приспособления, включающего два ряда ножей и перфорированный диск, имеющий форму “восьмерки”;
фиг.6 – конструкция опорного узла нижерасположенных по ходу движения материала концов шнеков, включающая соединительный элемент с одной перемычкой;
фиг.7 – конструкция опорного узла, показанного на фиг.6, но снабженного дополнительной второй перемычкой на соединительном элементе, который обеспечивает соединение подшипников с камерой нагнетания.
Устройство, показанное на фиг.1 и фиг.2, по существу, представляет собой мясорубку, содержащую шнековый (винтовой) транспортирующий механизм, выполненный в соответствии с данным изобретением. Этот механизм содержит входную (загрузочную) камеру 4, в которую вводится предназначенный для обработки материал и в нижней части которой смонтированы два подающих шнека 8, предназначенные для перемещения материала в направлении ряда нагнетательных шнеков 1, 6, имеющих спиральные витки 2, 7, находящиеся во взаимном контактном взаимодействии. Нагнетательные шнеки 1, 6 смонтированы в нагнетательной камере 5 так, что они обеспечивают подачу материала путем его принудительного вытеснения за счет контактного взаимодействия между двумя шнеками 1, 6 внутри нагнетательной камеры 5. Первый шнек 1, второй шнек 6 и подающие шнеки 8 смонтированы на общих валах 9, приводимых во вращение с помощью зубчатой передачи, соединенной с электродвигателем 20. Валы 9 вращаются в противоположных направлениях, и поэтому таким же образом вращаются и смонтированные на валах 9 шнеки 1, 6, 8. Как видно на фиг.1 и фиг.2, нагнетательные шнеки 1, 6 примерно на полтора витка выступают во входную камеру 4 из нагнетательной камеры 5. За счет такого конструктивного решения исключается возможность переполнения нагнетательной камеры 5 материалом, поскольку контактное взаимодействие двух шнеков 1, 6 во входной камере 4 будет приводить к удалению из шнеков 1, 6 излишка материала. Предполагается, что приблизительно полутора витков шнеков 1, 6, находящихся в контактном взаимодействии внутри входной камеры 4, будет достаточно для исключения переполнения нагнетательной камеры 5.
У концевой части подающих шнеков 8, расположенной выше по ходу движения материала, смонтирован штуцер 17, подсоединенный к средствам вакуумирования, при этом в месте подсоединения средств вакуумирования установлен двухвинтовой нагнетатель 18, обеспечивающий возврат во входную камеру 4 материалов, увлекаемых (за счет разрежения) в направлении места установки штуцера 17 вакуумирования.
Использование средств вакуумирования будет препятствовать излишней подаче материала в шнек и заполнению нагнетательной камеры, и, кроме того, способствовать удалению воздуха из материала, находящегося в подающих шнеках 1, 6. Для поддержания всего объема входной камеры 4 под разрежением необходимо, конечно, чтобы сверху входная камера 4 была закрыта крышкой, что обеспечит вакуумирование материала, загруженного во входную камеру 4.
В показанном на фиг.1 и фиг.2 воплощении шнекового механизма режущее приспособление включает в себя перфорированный диск 10 и ряд вращающихся ножей 11, при этом ножи 11 вращаются с помощью вала 9, приводящего во вращение первый шнек 1 и соответствующий подающий шнек 8. Выход нагнетательной камеры 5 соединен с режущим приспособлением посредством проходного канала, объем которого выбран относительно малым с тем, чтобы уменьшить количество материала, оставшегося внутри этого объема в случае остановки обрабатывающей машины для ее очистки/замены обрабатываемого материала.
На фиг.3 показано альтернативное выполнение режущего приспособления, в котором ножи 11 приводятся во вращение при помощи отдельного привода 13. Это обеспечивает возможность приведения в действие нагнетательных шнеков 1, 6 независимо от приведения в действие вращающихся ножей 11, тем самым скорость вращения каждого из этих элементов механизма может регулироваться индивидуально в зависимости от давления материала у режущих ножей, а именно чем больше давление, тем выше скорость вращения вращающихся ножей. Кроме того, при низкой скорости вращения ножей будет получено нетянущееся, холодное, хорошо рубленое мясо, в то время как высокая скорость вращения ножей будет обеспечивать получение эмульсии. Таким образом, за счет изменения скорости вращения ножей может изменяться функция обрабатывающей машины с точки зрения состояния получаемого продукта.
На фиг.4 показано альтернативное выполнение нагнетательных шнеков 1, 6, при котором первый шнек 1 выполнен с относительно тонкими спиральными витками 2, а второй шнек 6 имеет относительно толстые (широкие) спиральные витки 7, в силу чего преобладающее транспортирующее воздействие на материал оказывает первый шнек 1. В конструкции, показанной на фиг.4, режущее приспособление, подобное показанному на фиг.1 и фиг.2, приводится во вращение валом 9, на котором смонтирован первый шнек 1, и поэтому основной поток материала отводится из нагнетательной камеры 5 в направлении, соответствующем местоположению режущего приспособления.
В качестве альтернативы, как показано на фиг.5, первый шнек 1 и второй шнек 2 имеют одинаковые спиральные витки 2, 7. Это обеспечивает подачу одинакового количества материала от каждого из двух шнеков 1, 6. В этом случае режущее приспособление содержит сдвоенный перфорированный диск 12, имеющий форму “восьмерки”, и соответствующие (каждой половине диска) ножи 11, приводимые во вращение с помощью валов 9, на которых смонтированы шнеки 1, 6, которые вращаются, следовательно, в противоположных направлениях, находясь в контактном взаимодействии.
Как можно видеть из чертежей, предлагаемое устройство представляет собой модульную конструкцию, содержащую отдельные взаимозаменяемые или сменные элементы, а именно элементы режущего приспособления, установленные в корпусе, присоединенном к нагнетательной камере 5 с помощью крепежных элементов, при этом нагнетательная камера 5, в которой расположены нагнетательные шнеки 1, 6, присоединена к корпусу 3 с помощью соответствующих крепежных элементов, а нагнетательные шнеки 1, 6, транспортирующие шнеки 8 и двухвинтовой нагнетатель 18, расположенный в месте подсоединения средства вакуумирования, смонтированы на валу 9 и вращаются вместе с ним.
На фиг.6 показана конструкция опорного узла концов нагнетательных шнеков 1, 6, расположенных ниже по ходу перемещения материала. Конструкция этого узла включает опорные подшипники шнеков 1, 6 или соответствующих валов 9 и первый соединительный элемент 15 в виде перемычки, проходящей между указанными подшипниковыми опорами 14, обеспечивающей фиксацию положения концов двух шнеков 1, 6 относительно друг друга. Наличие соединительной перемычки препятствует смещению двух шнеков в направлении друг от друга (т.е. их разобщению) в результате происходящего в нагнетательной камере 5 вытеснения материала из шнеков 1, 6 в процессе их взаимодействия. Такая конструкция опорного узла в значительной степени уменьшает износ окружающих шнеки поверхностей камеры нагнетания 5, поскольку при отсутствии соединительного элемента отжатию двух шнеков 1, 6 друг от друга должны противодействовать сами поверхности камеры.
На фиг.7 конструкция опорного узла по отношению к показанной на фиг.6 дополнена второй соединительной перемычкой 16, присоединяющей первую перемычку 15 к нагнетательной камере 5, за счет чего обеспечивается фиксация обоих шнеков 1, 6 относительно нагнетательной камеры 5. За счет фиксации, обеспечиваемой второй перемычкой 16, шнеки 1, 6 более эффективно отжимаются от стенок нагнетательной камеры 5, что необходимо для устранения контакта “металл по металлу”.
Как видно из фиг.6 и 7, перемычки 15, 16 соединительного элемента расположены в зоне взаимодействия двух нагнетающих шнеков 1, 6, через которую, по существу, не проходит поток материала, поступающий из камеры 5 нагнетания. В результате такая конструкция опорного узла не будет служить препятствием потоку материала, поступающего из нагнетательной камеры 5.
В иллюстрируемом примере механизма между приводным зубчатым колесом 19 и винтовым нагнетателем 18 и шнеками 8, 6, 1, расположенными в месте нахождения обрабатываемого материала, имеется промежуток 23, обеспечивающий надежное отделение материала от смазки зубчатой передачи, что предохраняет их взаимное перемешивание/загрязнение.
Выше настоящее изобретение было раскрыто в предпочтительных примерах воплощения, относящихся к мясорубке определенной конструкции, которая в особенности приемлема для измельчения замороженного или частично замороженного мяса в виде кусков, транспортируемых при помощи нагнетательных шнеков 1, 6. В этом случае выход нагнетательных шнеков 1, 6 в загрузочную камеру 4 обеспечивает вытеснение (и удаление излишка) транспортируемого материала из спиральных витков 2, 7 обоих шнеков 1, 6, что позволяет избежать переполнения камеры 5 нагнетанием материала. Однако использование настоящего изобретения не ограничено именно такими мясорубками, и оно может быть использовано и в других устройствах для подачи текучих веществ и/или кусков материала путем принудительного вытеснения, при эксплуатации которых возникают такие же проблемы.
Формула изобретения
1. Шнековый механизм для транспортировки текучих веществ и/или кусков материала, содержащий первый приводимый во вращение шнек (1), выполненный со спиральными витками (2), установленный в корпусе (3), имеющем входное и выходное отверстия, при этом корпус (3) содержит входную камеру (4) и камеру (5) нагнетания, расположенные между входным и выходным отверстиями, второй шнек (6), выполненный со спиральными витками (7) и с возможностью вращения в направлении, противоположном направлению вращения первого шнека (1), причем установленные внутри нагнетательной камеры (5) шнеки (1, 6) обеспечивают перемещение материала путем его принудительного вытеснения за счет плотного контакта между витками и впадинами взаимодействующих шнеков (1, 6) и между витками указанных шнеков и стенками камеры (5), и два подающих шнека (8) во входной камере (4), смонтированные на общих валах (9) с нагнетательными шнеками (1, 6), отличающийся тем, что место перехода подающих шнеков (8) в нагнетательные шнеки (1, 6) выбрано так, что, по меньшей мере, полтора витка нагнетательных шнеков (1, 6) выступают из камеры нагнетания (5) во входную камеру (4), а нагнетательные шнеки (1, 6) выполнены с постоянным шагом витков.
2. Шнековый механизм по п.1, отличающийся тем, что в нагнетательной камере (5) ниже по ходу перемещения материала установлено режущее приспособление.
3. Шнековый механизм по п.2, отличающийся тем, что режущее приспособление содержит, по меньшей мере, один перфорированный диск (10) в комбинации с, по меньшей мере, одним рядом вращающихся ножей (11).
4. Шнековый механизм по п.3, отличающийся тем, что ряды ножей (11) установлены с возможностью вращения на валах (9), приводящих во вращение нагнетательные шнеки (1, 6).
5. Шнековый механизм по п.3, отличающийся тем, что ножи (11) приводятся во вращение отдельным приводом (13).
6. Шнековый механизм по п.5, отличающийся тем, что наличие отдельного привода (13) обеспечивает возможность индивидуального регулирования скоростей вращения ножей и нагнетательных шнеков.
7. Шнековый механизм по п.6, отличающийся тем, что индивидуальное регулирование скоростей вращения ножей и нагнетательных шнеков зависит от давления материала у режущих ножей.
8. Шнековый механизм по любому из пп.1-7, отличающийся тем, что концы шнеков (1, 6), расположенные ниже по ходу движения материала, установлены в подшипниковых опорах (14) и опоры зафиксированы относительно друг друга с помощью первого соединительного элемента (15) в виде перемычки, проходящей между указанными опорами (14), т.е. с помощью плавающего соединения.
9. Шнековый механизм по п.8, отличающийся тем, что, кроме того, он содержит вторую перемычку (16) на соединительном элементе, обеспечивающую соединение первой перемычки (15) соединительного элемента, проходящей между опорами (14), с нагнетательной камерой (5).
10. Шнековый механизм по п.9, отличающийся тем, что вторая перемычка (16) соединительного элемента установлена по одной линии с участком контактного взаимодействия нагнетательных шнеков (1, 6).
11. Шнековый механизм по любому из пп.3-7, отличающийся тем, что концы шнеков (1, 6), расположенные ниже по ходу движения материала, установлены в подшипниковых опорах, смонтированных в перфорированном диске (10), и/или в направляющей вспомогательной опоре (21).
РИСУНКИ
MM4A – Досрочное прекращение действия патента СССР или патента Российской Федерации на изобретение из-за неуплаты в установленный срок пошлины за поддержание патента в силе
Дата прекращения действия патента: 03.04.2009
Извещение опубликовано: 10.08.2010 БИ: 22/2010
|
|