|
(21), (22) Заявка: 2004112812/06, 27.04.2004
(24) Дата начала отсчета срока действия патента:
27.04.2004
(43) Дата публикации заявки: 20.10.2005
(45) Опубликовано: 20.03.2006
(56) Список документов, цитированных в отчете о поиске:
SU 1211439 A1, 15.02.1986. RU 2191942 C2, 27.10.2002. RU 2150019 C1, 27.05.2000. US 5036821 A, 06.08.1991. US 6079636 A, 27.06.2000. WO 03/083278 A1, 09.10.2003. US 6367453 B1, 09.04.2002.
Адрес для переписки:
140402, Московская обл., г. Коломна, ул. Октябрьской революции, 408, Коломенский институт МГОУ, Э.В. Широких
|
(72) Автор(ы):
Башкин Анатолий Викторович (RU), Крупский Михаил Георгиевич (RU), Кузин Валерий Евгеньевич (RU), Широких Эдуард Валентинович (RU)
(73) Патентообладатель(и):
Московский государственный открытый университет (МГОУ) (RU)
|
(54) ФОРСУНКА С ЭЛЕКТРИЧЕСКИМ УПРАВЛЕНИЕМ ДЛЯ ПОДАЧИ ТОПЛИВА В ДВИГАТЕЛЬ ВНУТРЕННЕГО СГОРАНИЯ
(57) Реферат:
Изобретение относится к двигателестроению, в частности к топливной аппаратуре двигателей внутреннего сгорания. Изобретение позволяет упростить конструкцию форсунки, повысить надежность ее работы и повысить качество регулирования двигателя внутреннего сгорания. Форсунка с электрическим управлением для подачи топлива в двигатель внутреннего сгорания содержит корпус, к которому с помощью гайки пристыкован распылитель с посадочным коническим седлом и запирающим затвором цилиндрической формы с нижней головкой в виде уплотняющего по внешнему контуру усеченного конуса. Распыливающие отверстия распылителя расположены выше посадочного конического седла затвора, отделяющего распыливающие отверстия от подводящей топливо полости, которая гидравлически последовательно связана с расположенным в корпусе аккумулятором осевым и радиальными каналами в затворе и каналом высокого давления. В верхний торец затвора упирается подпружиненный, выполненный в виде цилиндрической прецизионной пары с корпусом компенсатор усилия. Верхний торец компенсатора усилия гидравлически связан с аккумулятором. Нижний торец компенсатора усилия и верхний торец затвора механически связаны цилиндрическим толкателем, образующим с корпусом прецизионную пару. Диаметр цилиндрического толкателя выполнен меньшим диаметра компенсатора усилия. Корпус в средней по высоте зоне компенсатора усилия имеет проточку, которая гидравлически одним каналом соединена со сливом, а другим – с полостью размещения верхнего торца затвора и нижнего торца цилиндрического толкателя. Полость размещения нижнего торца компенсатора усилия и состыкованного с ним верхнего торца цилиндрического толкателя каналом гидравлически связана с боковой расточкой в корпусе. К торцевой стенке боковой расточки в корпусе прикреплен стакан с расположенным в нем многослойным приводом из пьезоэлектрического материала. Боковая расточка в корпусе в верхней ее точке через нормально открытое устройство для стравливания воздуха гидравлически соединена со сливом. Клапан, подпружиненный со стороны управляющего конуса и выполненный в виде цилиндрической прецизионной пары с корпусом устройства, имеет внутренние каналы с встроенным дросселем малого диаметра, гидравлически соединяющие боковую расточку в корпусе с проточкой в корпусе устройства, расположенной ниже седла клапана. Боковая расточка в корпусе, в свою очередь, для предварительного ее заполнения топливом и компенсации неминуемых утечек через обратный клапан соединена с соответствующим источником расхода топлива. 8 з.п. ф-лы, 11 ил. 
Изобретение относится к двигателестроению, в частности к топливной аппаратуре двигателей внутреннего сгорания.
Известна нормально закрытая форсунка с электрическим управлением для подачи топлива в двигатель внутреннего сгорания (авторское свидетельство СССР №1211439, F 02 М 51/00, опубл. 15.02.86, бюл. №6), содержащая корпус, к которому с помощью гайки пристыкован распылитель с посадочным коническим седлом и запирающим затвором цилиндрической формы с нижней головкой в виде уплотняющего по внешнему контуру усеченного конуса. Распыливающие отверстия распылителя расположены выше посадочного конического седла затвора, отделяющего распыливающие отверстия от подводящей топливо полости, которая гидравлически последовательно связана с расположенным в корпусе аккумулятором осевым и радиальными каналами в затворе и каналом высокого давления. В верхний торец затвора упирается подпружиненный и выполненный в виде цилиндрической прецизионной пары с корпусом компенсатор усилия, которое действует за счет сил давления топлива на затвор снизу. Причем компенсатор усилия выполнен комбинированным и имеет совмещенный с ним якорь электромагнита, обеспечивающего работу устройства, а его верхний торец гидравлически связан с аккумулятором.
Однако это устройство обладает рядом недостатков. Во-первых, форсунка имеет достаточно сложную конструкцию электромагнитного привода и большую массу якоря при условии обеспечения значительных усилий. Во-вторых, большая суммарная масса якоря, затвора и пружины оказывает отрицательное воздействие на быстродействие форсунки и вызывает повышенные механические напряжения при посадке затвора на коническое седло. В-третьих, ограниченные возможности электромагнитного привода в плане быстродействия отрицательно сказываются на возможностях управления законом подачи топлива форсункой.
Задача изобретения – упрощение конструкции форсунки и повышение надежности ее работы, расширение возможностей по управлению законом подачи топлива и через последнее упрощение и повышение качества регулирования двигателя внутреннего сгорания.
Форсунка с электрическим управлением для подачи топлива в двигатель внутреннего сгорания, содержащая корпус, к которому с помощью гайки пристыкован распылитель с посадочным коническим седлом и запирающим затвором цилиндрической формы с нижней головкой в виде уплотняющего по внешнему контуру усеченного конуса, распыливающие отверстия распылителя расположены выше посадочного конического седла затвора, отделяющего распыливающие отверстия от подводящей топливо полости, которая гидравлически последовательно связана с расположенным в корпусе аккумулятором осевым и радиальными каналами в затворе и каналом высокого давления, в верхний торец затвора упирается подпружиненный и выполненный в виде цилиндрической прецизионной пары с корпусом компенсатор усилия, а верхний торец компенсатора усилия гидравлически связан с аккумулятором, отличающаяся тем, что нижний торец компенсатора усилия и верхний торец затвора механически связаны цилиндрическим толкателем, образующим с корпусом прецизионную пару, а диаметр цилиндрического толкателя выполнен меньшим диаметра компенсатора усилия, корпус в средней по высоте зоне компенсатора усилия имеет проточку, которая гидравлически одним каналом соединена со сливом, а другим – с полостью размещения верхнего торца затвора и нижнего торца цилиндрического толкателя, полость размещения нижнего торца компенсатора усилия и состыкованного с ним верхнего торца цилиндрического толкателя каналом гидравлически связана с боковой расточкой в корпусе, к торцевой стенке боковой расточки в корпусе прикреплен стакан с расположенным в нем многослойным приводом из пьезоэлектрического материала, боковая расточка в корпусе в верхней ее точке через нормально открытое устройство для стравливания воздуха гидравлически соединена со сливом, при этом его клапан, подпружиненный со стороны управляющего конуса и выполненный в виде цилиндрической прецизионной пары с корпусом устройства, имеет внутренние каналы с встроенным дросселем малого диаметра, гидравлически соединяющие боковую расточку в корпусе с проточкой в корпусе устройства, расположенной ниже седла клапана, боковая расточка в корпусе, в свою очередь, для предварительного ее заполнения топливом и компенсации неминуемых утечек через обратный клапан соединена с соответствующим источником расхода топлива.
Во втором варианте устройства многослойный привод из пьезоэлектрического материала может быть прикреплен к одной из внутренних торцевых стенок стакана и не касаться противоположной, а внутренняя полость стакана при этом должна быть заполнена диэлектрической жидкостью, при этом стакан выполнен герметичным и податливым.
В некоторых случаях целесообразен другой вариант второго устройства, при котором многослойный привод из пьезоэлектрического материала поджат упругим элементом.
Возможен третий вариант, при котором сам стакан имеет жесткую герметичную конструкцию, а правый торец многослойного привода из пьезоэлектрического материала упирается без зазора в податливую мембрану, образующую правый торец герметичного стакана, который выполнен герметичным и имеет жесткую конструкцию.
Возможен также вариант четвертого устройства, в котором многослойный привод из пьезоэлектрического материала не касается мембраны, образующей правый торец стакана, который выполнен герметичным и имеет жесткую конструкцию, а внутренняя полость герметичного стакана заполнена диэлектрической жидкостью.
Другой вариант четвертого устройства предполагает, что многослойный привод из пьезоэлектрического материала поджат упругим элементом.
Целесообразен также пятый вариант базового устройства, при котором многослойный привод из пьезоэлектрического материала прикреплен к одной из торцевых стенок стакана и не касается противоположной, при этом стакан имеет жесткую конструкцию и его внутренняя полость гидравлически связана с боковой расточкой в корпусе.
Иногда более выгодным может оказаться вариант пятого устройства, в котором многослойный привод из пьезоэлектрического материала поджат упругим элементом.
Во всех вариантах устройства в канале высокого давления на пути движения топлива от аккумулятора к распылителю может быть размещен дроссель.
Форсунка такой конструкции может найти применение прежде всего в системах топливоподачи дизелей аккумуляторного типа.
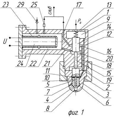
На фиг.1 изображена конструкция форсунки с электрическим управлением для подачи топлива в двигатель внутреннего сгорания.
Форсунка содержит корпус 1, к которому с помощью гайки 2 пристыкован распылитель 3 с посадочным коническим седлом 4 и прецизионно выполненным запирающим затвором 5 с нижней головкой в виде уплотняющего по внешнему контуру усеченного конуса 6. Распыливающие отверстия 7 распылителя 3 расположены выше посадочного конического седла 4 затвора 5, отделяющего распыливающие отверстия 7 от подводящей топливо полости 8. Подводящая топливо полость 8 гидравлически последовательно связана с расположенным в корпусе 1 аккумулятором 9 осевым 10 и радиальными 11 каналами в затворе 5 и каналом высокого давления 12 в корпусе 1.
Выше затвора 5 в корпусе 1 с выходом в аккумулятор 9 размещен поджатый пружиной 13 и выполненный в виде цилиндрической прецизионной пары с корпусом 1 компенсатор 14 усилия, действующего за счет давления топлива на затвор 5 снизу. Нижний торец компенсатора 14 усилия и верхний торец затвора 5 механически связаны цилиндрическим толкателем 15, образующим с корпусом 1 прецизионную пару. Причем (по условиям нормальной работы форсунки) диаметр цилиндрического толкателя 15 выполнен меньшим диаметра компенсатора 14 усилия. Корпус 1 в средней зоне по высоте компенсатора 14 усилия имеет проточку 16, которая гидравлически каналом 17 соединена со сливом, а каналом 18 – с полостью 19 размещения верхнего торца затвора 5 и нижнего торца цилиндрического толкателя 15. Полость 20 размещения нижнего торца компенсатора 14 усилия и состыкованного с ним верхнего торца цилиндрического толкателя 15 каналом 21 гидравлически связана с боковой расточкой 22 в корпусе 1. К торцевой стенке расточки 22 в корпусе 1 прикреплен податливый герметичный стакан 23 с расположенным в нем без торцевого зазора многослойным приводом 24 из пьезоэлектрического материала.
Боковая расточка 22 в корпусе 1 в верхней ее точке через нормально открытое устройство 25 для стравливания воздуха (фиг.2 и 3) гидравлически соединена со сливом. При этом его клапан 26, подпружиненный со стороны уплотняющего конуса и выполненный в виде цилиндрической прецизионной пары с корпусом устройства 25, имеет внутренние каналы с встроенным дросселем 27 малого диаметра, гидравлически соединяющие боковую расточку 22 в корпусе 1 с проточкой 28 в корпусе устройства 25. Боковая расточка 22 в корпусе 1, в свою очередь, для предварительного ее заполнения топливом и компенсации неминуемых утечек через обратный клапан 29 соединена с соответствующим источником расхода топлива. В качестве источника расхода топлива в этом случае может использоваться, например, штатный топливоподкачивающий насос системы топливоподачи.
На фиг.2 зафиксировано положение клапана 26 в момент отсутствия подачи топлива, а на фиг. 3. – во время впрыска.
Во втором варианте устройства (фиг.4) многослойный привод 24 из пьезоэлектрического материала прикреплен (например, приклеен) к одной из внутренних торцевых стенок податливого герметичного стакана 23 и не касается противоположной, а внутренняя полость податливого герметичного стакана 23 заполнена диэлектрической жидкостью.
В третьем варианте (фиг.5) устройства, в отличие от второго, многослойный привод 24 из пьезоэлектрического материала поджат упругим элементом 30.
В четвертом варианте (фиг.6) устройства, в отличие от первого, правый торец многослойного привода 24 из пьезоэлектрического материала упирается без зазора в податливую мембрану 31, образующую правый торец герметичного стакана 23, который выполнен герметичным и имеет жесткую конструкцию.
В пятом варианте устройства (фиг.7), в отличие от первого, многослойный привод 24 из пьезоэлектрического материала не касается мембраны 31, образующей правый торец стакана 23, который выполнен герметичным и имеет жесткую конструкцию, а внутренняя полость герметичного стакана 23 заполнена диэлектрической жидкостью.
В шестом варианте (фиг.8) устройства, в отличие от пятого, многослойный привод 24 из пьезоэлектрического материала поджат упругим элементом 30.
В седьмом варианте (фиг.9) устройства, в отличие от первого, многослойный привод 24 из пьезоэлектрического материала прикреплен к одной из торцевых стенок стакана 23 и не касается противоположной, при этом стакан 23 имеет жесткую конструкцию и его внутренняя полость гидравлически связана с боковой расточкой 22 в корпусе 1.
В восьмом варианте устройства (фиг.10), в отличие от седьмого, многослойный привод 24 из пьезоэлектрического материала поджат упругим элементом 30.
Во всех вариантах (фиг.11) в канале высокого давления 12 на пути движения топлива от аккумулятора 9 к распылителю 3 может быть размещен дроссель 33.
Работу форсунки с электрическим управлением для подачи топлива в двигатель внутреннего сгорания наиболее целесообразно пояснить на примере ее использования в качестве дозатора топлива в системе топливоподачи дизелей аккумуляторного типа.
Для обеспечения нормальной работы форсунки (фиг.1 и 2) необходимо источником расхода топлива предварительно заполнить полость боковой расточки 22 топливом.
При заполнении боковой расточки 22 топливом (фиг.2) воздух из нее (вместе с топливом) вытесняется через нормально открытое устройство 25. После заполнения боковой расточки 22 утечки топлива из нее сводятся к минимуму за счет малого диаметра дросселя 27.
В исходном положении затвор 5 за счет усилия пружины 13 и силы давления топлива в аккумуляторе 9, действующей на компенсатор 14 сверху, через цилиндрический толкатель 15 надежно прижат к посадочному коническому седлу 4 распылителя 3. В случае равенства диаметра компенсатора 14 усилия и внутреннего диаметра посадочного конуса 6 затвора 5 имеет место практически полная начальная разгрузка затвора 5 от сил давления топлива.
Для предотвращения отрицательного влияния на работу форсунки неминуемых утечек топлива в прецизионных парах, образованных затвором 5 и компенсатором 14 усилия, проточка 16 и полость 19 соединены со сливом.
При подаче командного электрического импульса на многослойный привод 24 из пьезоэлектрического материала происходит его удлинение. При этом деформируется податливый герметичный стакан 23 и увеличивается объем последнего. Увеличение объема стакана 23 вызывает вытеснение топлива из боковой расточки 22 в полость 20. При этом повышение давления в полости 20 изменяет баланс суммарных сил, действующих на замкнутую кинематическую систему (затвор 5, цилиндрический толкатель 15 и компенсатор 14 усилия), и вызывает подъем затвора 5.
При этом после подачи командного электрического импульса за счет роста давления топлива в боковой расточке 22, практически, почти мгновенно (фиг.3) закрывается клапан 26, обладающий малым ходом и массой. Последнее обстоятельство гарантирует минимальное количество утечек топлива из полости боковой расточки 22 во время впрыска и, как следствие, обеспечивает стабильность впрыска.
В процессе подачи за счет сопротивления падает давление топлива в подводящей топливо полости 8 и одновременно увеличивается площадь нижней торцевой поверхности затвора 5, на которую воздействует давление топлива, что необходимо учитывать при выборе усилия, развиваемого пружиной 13.
По окончании подачи командного электрического импульса герметичный стакан 23 возвращается в исходное положение. При этом затвор 5 под действием суммарных гидравлических сил и силы пружины 13 также возвращается в исходное положение и впрыск топлива прекращается.
Использование в устройстве пьезоэлектрогидравлического мультипликатора перемещения, основанного на положительной разности диаметров стакана 23 и компенсатора 14, способствует расширению возможностей по управлению законом подачи топлива форсункой. Величина перемещения h3 затвора 5 в этом случае зависит от наружного диаметра dcт податливого герметичного стакана 23, его удлинения hст и наружного диаметра d3 затвора 5 и ориентировочно определяется зависимостью:
.
При выбранной конструкции податливого герметичного стакана 23 его удлинение hст зависит от развиваемой силы и линейной деформации многослойного привода 24 из пьезоэлектрического материала, которые, в свою очередь, зависят от параметров командного электрического импульса, марки материала и конструкции многослойного привода 24.
Анализ работы пьезоэлектрогидравлических мультипликаторов перемещения показывает, что в реальных условиях эксплуатации форсунок различного назначения может быть достигнуто перемещение затвора, в десять и более раз превосходящее линейную деформацию многослойного привода.
Пьезоэлектрогидравлические мультипликаторы перемещения при значительных максимальных ходах затвора, как минимум, не уступают известным подобным форсункам с механическими рычажными мультипликаторами перемещения.
Может оказаться достаточно перспективным также направление, когда работа пьезоэлектрогидравлического мультипликатора перемещения базируется не на линейной деформации многослойного привода 24 из пьезоэлектрического материала, а на изменении его объема в соответствии с принципами упругой деформации.
В этом случае для разгрузки податливого герметичного стакана 23 от значительных сил давления топлива в боковой расточке 22 во время подачи топлива форсункой может оказаться целесообразным (фиг.4) крепление (например, приклейка) многослойного привода 24 из пьезоэлектрического материала к одной из внутренних торцевых стенок податливого герметичного стакана 23 с наличием гарантированного зазора с противоположной торцевой стенкой и при условии заполнения внутренней полости стакана 23 диэлектрической (желательно негорючей) жидкостью. При этом увеличение объема многослойного привода 24 повышает давление диэлектрической жидкости в полости герметичного податливого стакана 23 и, как следствие, увеличивает его объем. Увеличение же объема стакана, в свою очередь, вызывает вытеснение топлива из боковой расточки 22 в полость 20 и приводит к подъему затвора 5.
В случае возникновения конструктивных или технологических трудностей с практической реализацией предыдущей схемы возможно устройство (фиг.5), в котором незакрепленный жестко многослойный привод 24 будет поджат упругим элементом 30 (например, пружиной).
Более технологичной и конструктивно целесообразной может оказаться схема (фиг.6), при которой в целом податливый герметичный стакан 23 заменен на жесткую конструкцию с наличием правой стенки в виде податливой мембраны 31.
Предыдущее устройство, кроме того, позволяет также успешно реализовать (фиг.7 и 8) рассмотренные выше обе схемы, связанные с разгрузкой заполненного диэлектрической жидкостью стакана от сил давления топлива в боковой расточке 22 во время подачи топлива форсункой.
Практическая реализация рассмотренного принципа, базирующегося на изменении объема многослойного привода 24, возможна также в следующих двух вариантах, приведенных на фиг.9 и 10. При этом сам стакан 23 имеет жесткую конструкцию, многослойный привод 24 соответственно прикреплен к одной из внутренних торцевых стенок податливого герметичного стакана 23 (фиг.9, первый вариант) или поджат упругим элементом 30 (фиг.10, второй вариант), а внутренняя полость стакана 23 гидравлически связана с боковой расточкой 22 в корпусе 1.
Для предотвращения воспламенения топлива во время эксплуатации необходимо гарантировать полость боковой расточки 22 от попадания воздуха.
К существенным преимуществам рассмотренных выше двух схем (фиг.9, 10) следует отнести простоту конструкции и технологичность пьезоэлектрогидравлических мультипликаторов перемещения и форсунок в целом.
Во всех вариантах для уменьшения усилия пружины 13, необходимого для нормальной работы форсунки, может оказаться целесообразным в канале высокого давления 12 на пути движения топлива от аккумулятора к распылителю 3 размещение дросселя 33 (фиг.11).
Математическое моделирование работы форсунки показало ее хорошее быстродействие и возможность управления в широких пределах характеристиками впрыскивания, что позволяет обеспечивать высокое качество протекания рабочего процесса и регулирования режимных параметров двигателя внутреннего сгорания.
Формула изобретения
1. Форсунка с электрическим управлением для подачи топлива в двигатель внутреннего сгорания, содержащая корпус, к которому с помощью гайки пристыкован распылитель с посадочным коническим седлом и запирающим затвором цилиндрической формы с нижней головкой в виде уплотняющего по внешнему контуру усеченного конуса, распыливающие отверстия распылителя расположены выше посадочного конического седла затвора, отделяющего распыливающие отверстия от подводящей топливо полости, которая гидравлически последовательно связана с расположенным в корпусе аккумулятором осевым и радиальными каналами в затворе и каналом высокого давления, в верхний торец затвора упирается подпружиненный и выполненный в виде цилиндрической прецизионной пары с корпусом компенсатор усилия, а верхний торец компенсатора усилия гидравлически связан с аккумулятором, отличающаяся тем, что нижний торец компенсатора усилия и верхний торец затвора механически связаны цилиндрическим толкателем, образующим с корпусом прецизионную пару, а диаметр цилиндрического толкателя выполнен меньшим диаметра компенсатора усилия, корпус в средней по высоте зоне компенсатора усилия имеет проточку, которая гидравлически одним каналом соединена со сливом, а другим – с полостью размещения верхнего торца затвора и нижнего торца цилиндрического толкателя, полость размещения нижнего торца компенсатора усилия и состыкованного с ним верхнего торца цилиндрического толкателя каналом гидравлически связана с боковой расточкой в корпусе, к торцевой стенке боковой расточки в корпусе прикреплен стакан с расположенным в нем многослойным приводом из пьезоэлектрического материала, боковая расточка в корпусе в верхней ее точке через нормально открытое устройство для стравливания воздуха гидравлически соединена со сливом, при этом его клапан, подпружиненный со стороны управляющего конуса и выполненный в виде цилиндрической прецизионной пары с корпусом устройства, имеет внутренние каналы с встроенным дросселем малого диаметра, гидравлически соединяющие боковую расточку в корпусе с проточкой в корпусе устройства, расположенной ниже седла клапана, боковая расточка в корпусе, в свою очередь, для предварительного ее заполнения топливом и компенсации неминуемых утечек через обратный клапан соединена с соответствующим источником расхода топлива.
2. Форсунка с электрическим управлением для подачи топлива в двигатель внутреннего сгорания по п.1, отличающаяся тем, что многослойный привод из пьезоэлектрического материала прикреплен к одной из внутренних торцевых стенок стакана и не касается противоположной, внутренняя полость стакана заполнена диэлектрической жидкостью, при этом стакан выполнен герметичным и податливым.
3. Форсунка с электрическим управлением для подачи топлива в двигатель внутреннего сгорания по п.2, отличающаяся тем, что многослойный привод из пьезоэлектрического материала поджат упругим элементом.
4. Форсунка с электрическим управлением для подачи топлива в двигатель внутреннего сгорания по п.1, отличающаяся тем, что правый торец многослойного привода из пьезоэлектрического материала упирается без зазора в податливую мембрану, образующую правый торец стакана, который выполнен герметичным и имеет жесткую конструкцию.
5. Форсунка с электрическим управлением для подачи топлива в двигатель внутреннего сгорания по п.1, отличающаяся тем, что многослойный привод из пьезоэлектрического материала не касается мембраны, образующей правый торец стакана, который выполнен герметичным и имеет жесткую конструкцию, а внутренняя полость герметичного стакана заполнена диэлектрической жидкостью.
6. Форсунка с электрическим управлением для подачи топлива в двигатель внутреннего сгорания по п.5, отличающаяся тем, что многослойный привод из пьезоэлектрического материала поджат упругим элементом.
7. Форсунка с электрическим управлением для подачи топлива в двигатель внутреннего сгорания по п.1, отличающаяся тем, что многослойный привод из пьезоэлектрического материала прикреплен к одной из торцевых стенок стакана и не касается противоположной, при этом стакан имеет жесткую конструкцию и его внутренняя полость гидравлически связана с боковой расточкой в корпусе.
8. Форсунка с электрическим управлением для подачи топлива в двигатель внутреннего сгорания по п.7, отличающаяся тем, что многослойный привод из пьезоэлектрического материала поджат упругим элементом.
9. Форсунка с электрическим управлением для подачи топлива в двигатель внутреннего сгорания по п.1, отличающаяся тем, что в канале высокого давления на пути движения топлива от аккумулятора к распылителю размещен дроссель.
РИСУНКИ
MM4A – Досрочное прекращение действия патента СССР или патента Российской Федерации на изобретение из-за неуплаты в установленный срок пошлины за поддержание патента в силе
Дата прекращения действия патента: 28.04.2006
Извещение опубликовано: 27.04.2007 БИ: 12/2007
|