|
(21), (22) Заявка: 2004120817/06, 07.07.2004
(24) Дата начала отсчета срока действия патента:
07.07.2004
(45) Опубликовано: 20.03.2006
(56) Список документов, цитированных в отчете о поиске:
АСТАХОВ Н.В. и др. Топливные системы и экономичность дизелей. – М.: Машиностроение, 1990, с.20-21. SU 595533 А, 28.02.1978. SU 213460 A1, 01.01.1968. SU 1444556 A1, 15.12.1988. RU 2137099 C1, 10.09.1999. SU 297885 A1, 01.01.1971. SU 1610331 A1, 30.11.1990. SU 189184 A, 19.12.1966. SU 146558 A1, 01.01.1962. SU 280938 A1, 01.01.1970. SU 1137310 A1,
Адрес для переписки:
644080, г.Омск, пр-кт Мира, 5, СибАДИ, патентно-информационный отдел
|
(72) Автор(ы):
Макушев Юрий Петрович (RU)
(73) Патентообладатель(и):
Сибирская государственная автомобильно-дорожная академия (СибАДИ) (RU)
|
(54) ДАТЧИК КОМБИНИРОВАННЫЙ
(57) Реферат:
Изобретение относится к двигателестроению, в частности к испытаниям топливной аппаратуры двигателей внутреннего сгорания. Изобретение позволяет повысить точность измерения малых по величине остаточных давлений и остаточных свободных объемов, образующихся после окончания процесса впрыска топлива. Датчик комбинированный с корпусом в виде штуцера содержит мембранный датчик для измерения высоких давлений в штуцере насоса и индуктивный датчик для записи перемещения нагнетательного клапана. Датчик комбинированный дополнительно соединен с датчиком низкого давления с толщиной мембраны 0,1-0,2 от толщины мембраны датчика высокого давления и для защиты от разрушения имеет запорный клапан с уплотнением и ходом 0,2-0,3 от хода нагнетательного клапана. Давление закрытия запорного клапана в 1,5-2 раза больше остаточного давления в штуцере насоса. Корпус индуктивного датчика выполняет роль резьбовой части штуцера и для повышения точности записи хода нагнетательного клапана выполнен из немагнитной стали с шириной катушек больше хода нагнетательного клапана. 3 ил. 
(56) (продолжение):
CLASS=”b560m”30.01.1985. SU 502255 A1, 02.05.1976. RU 1758274 A1, 30.08.1992. US 5852245 A, 22.12.1998. JP 9072809 A1, 18.03.1997. US 5199303 A, 06.04.1993.
Изобретение относится к области двигателестроения, в частности к топливной аппаратуре дизелей.
При исследовании и доводке насосов высокого давления дизелей необходимо знать максимальную величину давления в штуцере насоса Рш, ход нагнетательного клапана hk, остаточное давление Ро и остаточные свободные объемы Vo. Для современных быстроходных дизелей давление Рш достигает 100 МПа и более, а давление Ро может соответствовать менее 0,1 МПа. Одним датчиком давления невозможно одновременно определять высокие давления и с достаточной точностью малые остаточные давления и объемы. Для получения полной информации о процессе топливоподачи в штуцере насоса высокого давления необходим датчик, способный одновременно фиксировать и определять параметры топливоподачи во время впрыска топлива (Рш и hk) и в промежутке между впрысками (Po, Vo).
Известен тензометрический датчик давления с плоским мембранным, упругим чувствительным элементом (Датчики теплофизических и механических параметров: Справочник в 3-х томах. Т.1 (кн.2). Под общей ред. Ю.Н.Коптева. – М.: ИПРЖР, 1998, 512 с.). Для измерений высоких давлений мембрана датчика выполняется толстостенной, обеспечивая необходимую прочность.
Недостатком толстостенного датчика является то, что с его помощью нельзя с достаточной точностью определять малые давления, особенно меньше атмосферного.
Известен индуктивный датчик для записи перемещения нагнетательного клапана (Файнлейб Б.Н. Топливная аппаратура автотракторных дизелей: Справочник. 2-е изд. перераб. и доп. – Л.: Машиностроение. 1990, 152 с.).
Недостатком индуктивного датчика является малая линейность и расположение катушки в топливе (в полости штуцера насоса), что затрудняет ее установку и вывод проводов наружу.
Наиболее близким по технической сущности к заявляемому объекту является комбинированный датчик для определения остаточных свободных объемов, состоящий из тензометрического датчика для измерения давления в штуцере насоса и индуктивного датчика для измерения хода нагнетательного клапана. Наличие остаточных свободных объемов определяется по регистрации подъема нагнетательного клапана до начала повышения избыточного давления (Астахов Н.В. и др. Топливные системы и экономичность дизелей. М.: Машиностроение. 1990 – С.20-21).
Недостатком комбинированного датчика является малая точность при определении остаточных свободных объемов и остаточных давлений.
Задачей изобретения является повышение точности измерения малых по величине остаточных давлений и остаточных свободных объемов, образующихся после окончания процесса впрыска топлива.
Решение поставленной задачи заключается в создании чувствительного комбинированного датчика, объединяющего в себе тензометрический датчик высокого и низкого давлений и индуктивный датчик для записи хода нагнетательного клапана. Причем датчик низкого давления имеет тонкостенную мембрану, для защиты которой от разрушения высоким давлением применяется запорный клапан.
Задача заявленного изобретения достигается за счет того, что датчик комбинированный с корпусом в виде штуцера, содержащий мембранный датчик для измерения высоких давлений в штуцере насоса и индуктивный датчик для записи перемещения нагнетательного клапана, дополнительно соединен с датчиком низкого давления с толщиной мембраны 0,1-0,2 от толщины мембраны датчика высокого давления и для защиты от разрушения имеет запорный клапан с уплотнением и ходом 0,2-0,3 от хода нагнетательного клапана, а давление закрытия запорного клапана в 1,5-2 раза больше остаточного давления в штуцере насоса, причем корпус индуктивного датчика выполняет роль резьбовой части штуцера и для повышения точности записи хода нагнетательного клапана выполнен из немагнитной стали с шириной катушек больше хода нагнетательного клапана.
Технический результат достигается тем, что комбинированный датчик, содержащий тензометрический, мембранный датчик высокого давления и индуктивный датчик для записи перемещения нагнетательного клапана, согласно изобретению для повышения точности определения остаточных давлений и остаточных свободных объемов он дополнительно оборудован тензометрическим датчиком низкого давления с чувствительной мембраной толщиной 0,1-0,2 от толщины мембраны датчика высокого давления и имеет запорный клапан с уплотнением и ходом 0,2-0,3 от хода нагнетательного клапана, причем давление закрытия запорного клапана в 1,5-2 раза больше остаточного давления в штуцере насоса.
Толщина мембраны датчика низкого давления выбрана 0,1-0,2 от толщины мембраны датчика высокого давления из тех соображений, что остаточные давления не превышают 10 от максимальной величины давления в штуцере насоса. Ход запорного клапана 0,2-0,3 от хода нагнетательного клапана выбран потому, что при большем ходе увеличится объем полости датчика, что приведет к искажению истинной величины давления. Давление закрытия запорного клапана в 1,5-2 раза больше остаточного давления выбрано по той причине, чтобы на осциллограмме была видна величина остаточного давления и начало повышения давления в момент подачи топлива.
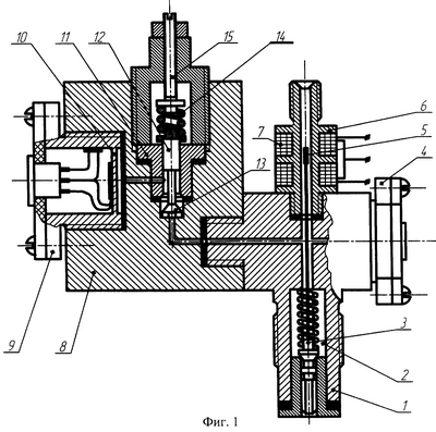
Изобретение поясняется прилагаемыми чертежами, где на фиг.1 приведена конструкция датчика комбинированного. На фиг.2 показаны осциллограммы изменения давления в штуцере насоса Рш, хода нагнетательного клапана hk и остаточного давления Ро топливной аппаратуры дизеля Д-440; На фиг.3 – диаграммы изменения остаточного давления Ро, остаточных свободных объемов Vo и нестабильности изменения давления Н в штуцере насоса в зависимости от разгрузочного объема нагнетательного клапана.
Датчик комбинированный имеет корпус 1, выполняющий роль штуцера насоса высокого давления, в котором имеется полость 2 для размещения нагнетательного клапана 3. Для записи высокого по величине давления (до 100 МПа) применяется датчик 4 с упругим элементом в виде толстостенной мембраны (2-3 мм). Для записи хода нагнетательного клапана используется шток 5, наконечник которого выполнен из углеродистой стали, а стержень из немагнитной стали Х18Н9Т.
Катушки 6 для повышения точности записи хода нагнетательного клапана имеют ширину больше хода нагнетательного клапана. Корпус 7 индуктивного датчика выполняет роль резьбовой части штуцера. Для снижения помех при записи хода нагнетательного клапана корпус 7 выполнен из немагнитной стали Х18Н9Т.
Для записи малых по величине давлений комбинированный датчик соединен с корпусом 8, в котором расположен датчик 9 с тонкостенным упругим элементом в виде мембраны 10. Для защиты мембраны 10 от высокого давления служит запорный клапан с корпусом 11, в котором расположен шток 12 с уплотнением 13. Датчик содержит пружину 14 и регулировочный винт 15.
Датчик комбинированный работает следующим образом. При повышении давления в надплунжерном пространстве насоса высокого давления нагнетательный клапан 3 со штоком 5 поднимаются. Индуктивный датчик 7 фиксирует подъем нагнетательного клапана 3, а датчик 4 – рост давления в полости 2. Конструкция датчика высокого давления 4 отличается от датчика 9 толщиной мембраны. Полость 2 соединяется при помощи каналов с датчиками 4, 9 и запорным клапаном 11.
В начальный момент топливоподачи, когда в полости 2 после предыдущего впрыска имеют место остаточные давления и остаточные свободные объемы, шток 12 под действием пружины 14 открыт. Давление из полости 2 по каналам передается на мембрану 10, которая при помощи наклееных тензоэлементов фиксирует малые по величине остаточные давления. Когда давление в системе превысит остаточное в 1,5-2 раза, шток 12 запорного клапана 11 под действием давления поднимается и при помощи уплотнения 13 закрывает доступ волны давления к мембране 10, защищая ее от разрушения высоким давлением.
Новым элементом комбинированного датчика является наличие датчика низкого давления, который обеспечивает более высокую точность записи малых по величине остаточных давлений и остаточных свободных объемов.
Результаты испытания комбинированного датчика приведены на фиг.2. При помощи датчика получены осциллограммы процесса впрыска топлива в штуцере насоса высокого давления дизеля Д-440 (Алтайдизель): частота вращения валика насоса 875 мин-1, цикловая подача 100 мм3, объем разгрузки нагнетательного клапана 80 мм3. Под номером I показано полное изменение давления топлива в штуцере насоса, под номером II показано перемещение нагнетательного клапана, под номером III и IV изменение давления в начальный момент топливоподачи и линия атмосферного давления.
По анализу полученных осциллограмм можно определить величину максимального давления в штуцере насоса, перемещение нагнетательного клапана, величину остаточного давления Ро и остаточных свободных объемов Vo. Величина Vo в штуцере насоса определяется из выражения:
Vo=fkhk*,
где fk – площадь поперечного сечения клапана;
hk* – ход клапана до начала повышения давления.
На фиг.3 показаны изменения остаточного давления Ро, остаточных свободных объемов Vo и нестабильности Н (колебания) давления на режиме холостого хода (частота вращения валика насоса 300 мин-1, цикловая подача 20 мм3) в зависимости от объема разгрузки нагнетательного клапана.
Из анализа фиг.3 видно, что величина Н достигает минимальных значений при Vp=75-85 мм3, при которых значения Ро и Vo минимальны. Малые значения Ро и Vo с достаточной точностью позволяют определить предлагаемый комбинированный датчик.
Отличительной особенностью предлагаемого изобретения является возможность определять малые по величине остаточные давления и остаточные свободные объемы в штуцере насоса высокого давления.
Одновременно комбинированный датчик позволяет определять максимальное давление в штуцере насоса и ход нагнетательного клапана.
Формула изобретения
Датчик комбинированный с корпусом в виде штуцера, содержащий мембранный датчик для измерения высоких давлений в штуцере насоса и индуктивный датчик для записи перемещения нагнетательного клапана, отличающийся тем, что он дополнительно соединен с датчиком низкого давления с толщиной мембраны 0,1-0,2 от толщины мембраны датчика высокого давления и для защиты от разрушения имеет запорный клапан с уплотнением и ходом 0,2-0,3 от хода нагнетательного клапана, а давление закрытия запорного клапана в 1,5-2 раза больше остаточного давления в штуцере насоса, причем корпус индуктивного датчика выполняет роль резьбовой части штуцера и для повышения точности записи хода нагнетательного клапана выполнен из немагнитной стали с шириной катушек больше хода нагнетательного клапана.
РИСУНКИ
MM4A – Досрочное прекращение действия патента СССР или патента Российской Федерации на изобретение из-за неуплаты в установленный срок пошлины за поддержание патента в силе
Дата прекращения действия патента: 08.07.2007
Извещение опубликовано: 20.02.2009 БИ: 05/2009
|