|
|
(21), (22) Заявка: 2004105512/06, 25.02.2004
(24) Дата начала отсчета срока действия патента:
25.02.2004
(43) Дата публикации заявки: 10.08.2005
(45) Опубликовано: 20.03.2006
(56) Список документов, цитированных в отчете о поиске:
FR 641415 А, 03.08.1928. DE 1476915 А, 05.02.1970. BE 466783 А, 31.08.1946. RU 2210678 С2, 20.08.2003. DE 2750930 A1, 11.10.1979. RU 2088775 C1, 27.08.1997.
Адрес для переписки:
346079, Ростовская обл., Каменский р-н, хутор Кочетковка, ул. Кольцевая, 2, В.М. Кутишенко
|
(72) Автор(ы):
Кутишенко Владимир Максимович (RU)
(73) Патентообладатель(и):
Кутишенко Владимир Максимович (RU)
|
(54) РОТОРНЫЙ ДВИГАТЕЛЬ ВНУТРЕННЕГО СГОРАНИЯ
(57) Реферат:
Изобретение относится к двигателестроению, в частности к роторным двигателям внутреннего сгорания. Техническим результатом является повышение эффективности двигателя. Сущность изобретения заключается в том, что двигатель содержит статор и насаженный на вал ротор. На статоре расположены клапаны подачи сжатого воздуха, клапаны подачи топлива, свечи зажигания и выхлопное устройство. Согласно изобретению на роторе имеются четыре фрезеровки, в которые вставлены камеры сгорания, и медно-графитовые кольца, которые при помощи пружин создают герметичность камерам сгорания. Выхлопное устройство может быть выполнено в виде полости с несколькими пластинами, расположенными по касательной к ротору для создания тягового усилия. 1 з.п. ф-лы, 3 ил. 
Изобретение относится к двигателестроению, а именно к роторным двигателям внутреннего сгорания.
Известен роторный двигатель внутреннего сгорания, статор, ротор, насаженный на вал, расположенные на статоре клапаны подачи сжатого воздуха, клапаны подачи топлива, свечи зажигания и выхлопное устройство (FR 641415 А, опубл. 03.08.1928).
Недостатком известного двигателя является малая эффективность его работы.
Техническим результатом является повышение эффективности работы.
Поставленная задача достигается тем, что в роторном двигателе, содержащем статор, ротор, насаженный на вал, расположенные на статоре клапаны подачи сжатого воздуха, клапаны подачи топлива, свечи зажигания и выхлопное устройство, согласно изобретению на роторе имеются четыре фрезеровки, в которые вставлены камеры сгорания и медно-графитовые кольца, которые при помощи пружин создают герметичность камерам сгорания.
Поставленная задача достигается также тем, что выхлопное устройство может быть выполнено в виде полости с несколькими пластинами, расположенными по касательной к ротору для создания тягового усилия.
Изобретение поясняется при помощи чертежей.
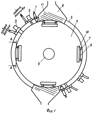
На: фиг.1 представлен описываемый двигатель;
на фиг.2 – вид А-А на фиг.1;
на фиг.3 – вид Б-Б на фиг.1.
Описываемый двигатель состоит из ротора 4 (см. фиг.1), насаженного на вал 9, и статора 5. На роторе через 90 градусов имеются четыре фрезеровки, в которые вставляются четыре плашки 10 (вид А-А). В плашках находятся камеры сгорания 6 и медно-графитовые кольца 7, которые при помощи пружин создают герметичность камер сгорания. На статоре через 180 градусов расположены два клапана подачи сжатого воздуха 3, два клапана подачи топлива 2 и две свечи зажигания 1, а также выхлопное устройство 8.
Выхлопное устройство представляет собой полость с пластинами 11. При вращении ротора камера сгорания подходит к клапану подачи жидкого воздуха, подаваемого из баллона сжатого воздуха или компрессора. Клапан открывается и сжатый воздух заполняет камеру сгорания, при дальнейшем движении в камеру при помощи клапана 2 подачи топлива впрыскивается топливо. Когда камера сгорания подойдет к свече зажигания, происходит возгорание смеси. При прохождении камеры сгорания над выхлопным устройством отработанные газы устремляются между пластинами 11, тем самым создавая тяговое усилие. Имея в наличии четыре камеры сгорания за один оборот двигатель может иметь один, два или четыре рабочих хода.
При применении электромагнитных клапанов подачи воздуха и топлива данная схема позволяет при помощи электроники выбирать оптимальные варианты подачи топливной смеси, а также режим работы одной, двух или четырех камер сгорания за один оборот ротора, что позволит экономично расходовать топливо.
В двигателе можно использовать при соответствующей подготовке любой вид топлива (газообразное, жидкое и порошкообразное).
Данная схема двигателя позволяет за счет диаметра ротора, высокой угловой скорости, большого тягового усилия, а также возможности на одном валу собирать несколько роторов и статоров, создавать двигатели (при малых габаритах) большой мощности.
Формула изобретения
1. Роторный двигатель, содержащий статор, ротор, насаженный на вал, расположенные на статоре клапаны подачи сжатого воздуха, клапаны подачи топлива, свечи зажигания, и выхлопное устройство, отличающийся тем, что на роторе имеются четыре фрезеровки, в которые вставлены камеры сгорания и медно-графитовые кольца, которые при помощи пружин создают герметичность камерам сгорания.
2. Двигатель по п.1, отличающийся тем, что выхлопное устройство выполнено в виде полости с несколькими пластинами, расположенными по касательной к ротору для создания тягового усилия.
РИСУНКИ
|
|