|
| На основании пункта 3 статьи 13 Патентного закона Российской Федерации от 23 сентября 1992 г. № 3517-I патентообладатель обязуется передать исключительное право на изобретение (уступить патент) на условиях, соответствующих установившейся практике, лицу, первому изъявившему такое желание и уведомившему об этом патентообладателя и федеральный орган исполнительной власти по интеллектуальной собственности, – гражданину РФ или российскому юридическому лицу. |
|
(21), (22) Заявка: 2004132381/06, 10.11.2004
(24) Дата начала отсчета срока действия патента:
10.11.2004
(45) Опубликовано: 20.03.2006
(56) Список документов, цитированных в отчете о поиске:
RU 2239705 C1, 10.11.2004. RU 2180051 C2, 27.02.2002. RU 2027877 C1, 27.01.1995. US 5799624 A, 01.09.1998. DE 10025873 A1, 29.11.2001. US 4185593 A, 29.01.1980. GB 1560812 A, 13.02.1980. GB 1573445 A, 20.08.1980.
Адрес для переписки:
129515, Москва, ул. Акад. Королева, 5, кв.234, М.И. Весенгириеву
|
(72) Автор(ы):
Весенгириев Михаил Иванович (RU)
(73) Патентообладатель(и):
Весенгириев Михаил Иванович (RU)
|
(54) ЧЕТЫРЕХТАКТНЫЙ ДВИГАТЕЛЬ ВНУТРЕННЕГО СГОРАНИЯ
(57) Реферат:
Изобретение относится к двигателестроению, в частности к четырехтактным двигателям внутреннего сгорания. Изобретение позволяет повысить эффективность работы четырехтактного двигателя внутреннего сгорания. Четырехтактный двигатель внутреннего сгорания содержит, по меньшей мере, один цилиндр, систему охлаждения, поршень, имеющий герметичную полость. В поршне установлены самодействующий впускной клапан, электролизер с подводкой постоянного тока к его электродам и форсунка с кавитатором и подводкой водного раствора электролита от насоса высокого давления. Двигатель также содержит выпускной клапан с принудительным управлением и устройство зажигания рабочей смеси. Устройство зажигания рабочей смеси выполнено в виде электродов с возможностью регулирования зазора между ними, подачи на них постоянного тока, зажигания и тушения вольтовой дуги (электрической дуги). Электроды установлены в камере сгорания, где под действием вольтовой дуги вода диссоциирует на водород и кислород. 5 з.п. ф-лы, 2 ил. 
Изобретение относится к области машиностроения, а именно к двигателям внутреннего сгорания, и может быть широко использовано в двигателестроении.
Известен двигатель внутреннего сгорания, содержащий цилиндр с поршнем, впускной, выпускной клапаны и головку цилиндра со свечей зажигания и форсункой, образующие камеру сгорания, систему подачи бензовоздушной смеси и источник водорода. Форсунка установлена рядом со свечей зажигания и в конце такта сжатия через боковой канал производит подачу порции водорода, чем и способствует зажиганию обедненной бензовоздушной смеси, повышая экономичность двигателя /Патент РФ, №2151892, F 02 B 43/10, 27.06.2000 г./ [1].
Недостатком известного двигателя является наличие двух систем питания, высокая токсичность выхлопных газов и низкая эффективность зажигания рабочей смеси из-за сложности обеспечения согласованной работы форсунки и свечи зажигания на всех нагрузочных режимах работы двигателя.
Наиболее близким к предлагаемому изобретению является четырехтактный двигатель внутреннего сгорания, содержащий, по меньшей мере, один цилиндр, систему охлаждения, поршень, имеющий герметичную полость, где установлены самодействующий впускной клапан, электролизер с подводкой постоянного тока к его электродам и форсунка с кавитатором и подводкой водного раствора электролита от насоса высокого давления и головку цилиндра, образующие камеру сгорания, выпускной клапан с принудительным управлением и устройство зажигания рабочей смеси /Патент РФ, №2239705, F 02 В 43/10, 10.11.2004 г./ [2].
Недостатком ближайшего аналога является низкая эффективность искрового зажигания для воспламенения насыщенной водяными парами рабочей смеси.
Техническая задача, решаемая предлагаемым изобретением, заключается в повышении эффективности работы четырехтактного двигателя внутреннего сгорания.
Поставленная задача решается тем, что в четырехтактном двигателе внутреннего сгорания, содержащем, по меньшей мере, один цилиндр, систему охлаждения, например, жидкостную, поршень, имеющий герметичную полость, где установлены самодействующий впускной клапан, электролизер с подводкой постоянного тока к его электродам и форсунка с кавитатором и подводкой водного раствора электролита от насоса высокого давления, например, плунжерного и головку цилиндра, образующие камеру сгорания, выпускной клапан с принудительным управлением и устройство зажигания рабочей смеси. Согласно изобретению устройство зажигания рабочей смеси выполнено в виде электродов с возможностью регулирования зазора между ними, подачи на них постоянного тока, зажигания и тушения вольтовой дуга /электрической дуги/, причем электроды установлены в камере сгорания, где под действием вольтовой дуги вода диссоциирует на водород и кислород. В качестве водного раствора электролита используется, например, водный раствор едкого кали.
При этом активная вставка электрода может быть выполнена из монолитного тугоплавкого материала, например из медно-вольфрамового сплава, а ее держатель может охлаждаться за счет передачи теплоты на корпус двигателя или активная вставка электрода может быть выполнена полой из тугоплавкого материала, например, из медно-вольфрамового сплава и изнутри охлаждаемой жадностью, например, подведенной по трубкам из системы охлаждения двигателя. Держатель активной вставки электрода, регулирующего зазор, может быть установлен в корпусе электрода на резьбе с возможностью регулирования зазора между электродами и фиксации держателя активной вставки контргайкой. Держатель активной вставки электрода, зажигающего вольтовую дугу, может быть установлен в корпусе электрода с возможностью возвратно-поступательного перемещения в момент зажигания вольтовой дуга за счет пружины и распределительно-кулачкового вала, получающего вращение от распределительного вала двигателя. Подача тока на электроды вольтовой дуги и кратковременное прерывание подачи тока при тушении вольтовой дуги может быть выполнено замыканием и размыканием контактов прерывателя-распределителя, кулачковый валик которого получает вращение, например, от коленчатого вала двигателя.
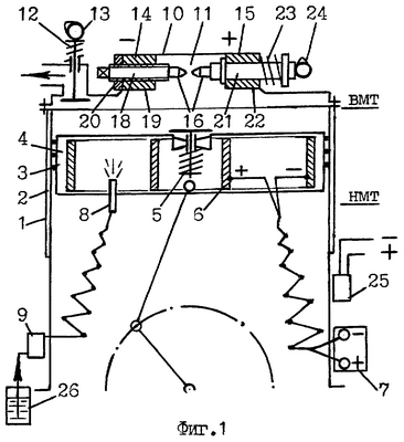
Сущность изобретения показана на чертеже, где:
фиг.1 – продольный разрез двигателя;
фиг.2 – разрез полой активной вставки электрода.
Пример выполнения предлагаемого решения.
Четырехтактный двигатель внутреннего сгорания содержит, по меньшей мере, один цилиндр 1 /фиг.1-2/, систему охлаждения 2, например жидкостную, поршень 3, имеющий герметичную полость 4, где установлены самодействующий впускной клапан 5, электролизер 6 с подводкой постоянного тока к его электродам, например, от аккумулятора 7 и форсунка 8 с кавитатором и подводкой водного раствора электролита, например, водного раствора едкого кали от насоса высокого давления 9, например плунжерного и головку цилиндра 10, образующие камеру сгорания 11, выпускной клапан 12 с принудительным управлением 13.
Устройство зажигания рабочей смеси, выполненное в виде электродов, например, катод 14 и анод 15, которые с возможностью регулирования зазора между ними, подачи на них постоянного тока, зажигания и тушения вольтовой дуги /электрической дуги/ установлены в камере сгорания, где под действием вольтовой дуги вода диссоциирует на водород и кислород.
При этом активная вставка 16 электрода может быть выполнена либо из монолитного тугоплавкого материала, например из медно-вольфрамового сплава, либо может быть выполнена полой из того же материала и изнутри охлаждаемой жидкостью, подведенной по трубке 17 из системы охлаждения двигателя. Держатель 18 активной вставки электрода, регулирующего зазор, может быть установлен в корпусе 19 электрода на резьбе с возможностью регулирования зазора между электродами и фиксации держателя активной вставки контргайкой 20. Держатель 21 активной вставки электрода, зажигающего вольтовую дугу, может быть установлен в корпусе 22 электрода с возможностью возвратно-поступательного перемещения в момент зажигания вольтовой дуги за счет пружины 23 и распределительно-кулачкового вала 24, получающего вращение от распределительного вала двигателя. Подача тока на электроды вольтовой дуги и кратковременное прерывание подачи тока при тушении вольтовой дуги может быть выполнено замыканием и размыканием контактов /не показано/ прерывателя-распределителя 25, кулачковый вал которого получает вращение от коленчатого вала двигателя. Электролитный бак 26 для хранения запаса водного раствора электролита.
Четырехтактный двигатель внутреннего сгорания работает следующим образом.
Перед пуском двигателя электролитный бак 26 /фиг.1-2/ заправляют водным раствором электролита, например водным раствором едкого кали. Вкручивая или выкручивая по резьбе корпуса 19 держатель 18, устанавливают зазор между активными вставками 16 электродов вольтовой дуги /катод 14, анод 15/ и держатель 18 фиксируют контргайкой 20. Затем через замкнутые контакты /не показано/ от прерывателя-распределителя 25 на электроды вольтовой дуги подают постоянный ток, например силой 3-4 А, и на электролизер 6 подают постоянный ток, например от аккумулятора 7. Первый такт – впуск. Поршень 3 от ВМТ перемещается к НМТ. Выпускной клапан 12 закрыт. В цилиндре 1 с жидкостной системой охлаждения 2 создается разрежение. Впускной самодействующий клапан 5 открывается и полученная в электролизере в водородно-кислородная смесь поступает в цилиндр 1, где за счет протекания постоянного тока /катод 14 – анод 15/ через электролит происходит электролиз воды – разложение воды на водород и кислород. Второй такт – сжатие. Поршень 3 от НМТ перемещается к ВИТ. Впускной, выпускной клапаны закрыты. Насос высокого давления 9 забирает из электролитного бака 26 цикловую дозу водного раствора электролита и через форсунку 8 с кавитатором впрыскивает ее в электролизер 6, где за счет протекания постоянного тока через электролит происходит разложение воды на водород и кислород. При этом кавитатор форсунки 8 тончайше распиливает электролит и диссоциирует воду. При подходе поршня 3 к ВМТ распределительно-кулачковый вал 24 и пружина 23 возвратно-поступательно перемещают держатель 21 зажигающего вольтовую дугу электрода в его корпусе 22 и соприкосновением активных вставок 16 зажигают вольтовую дугу /электрическую дугу/, под действием которой вода диссоциирует и рабочая смесь воспламеняется. Давление над поршнем 3 резко повышается и поршень 3 перемещается от ВМТ к НМТ – происходит третий такт – рабочий ход. Кулачковый вал прерывателя-распределителя 25 на короткое время размыкает контакты (не показано) электрической цепи вольтовой дуги и тушит ее, затем его контакты вновь замыкаются и постоянный ток опять поступает на электроды вольтовой дуги. Четвертый такт – выпуск. Поршень 3 от НМТ перемещается к ВМТ. Выпускной клапан 12 принудительным управлением 13 открывается и цилиндр 1 очищается от отработавших продуктов и циклы повторяются. При этом полые активные вставки 16 электродов вольтовой дуги охлаждаются жидкостью, подведенной по трубке 17 из системы охлаждения 2 двигателя.
Предлагаемое изобретение повышает эффективность работы четырехтактного двигателя внутреннего сгорания, найдет широкое применение в двигателестроении.
Формула изобретения
1. Четырехтактный двигатель внутреннего сгорания, содержащий, по меньшей мере, один цилиндр, систему охлаждения, поршень, имеющий герметичную полость, где установлены самодействующий впускной клапан, электролизер с подводкой постоянного тока к его электродам и форсунка с кавитатором и подводкой водного раствора электролита от насоса высокого давления, и головку цилиндра, образующие камеру сгорания, выпускной клапан с принудительным управлением и устройство зажигания рабочей смеси, отличающийся тем, что устройство зажигания рабочей смеси выполнено в виде электродов с возможностью регулирования зазора между ними, подачи на них постоянного тока, зажигания и тушения вольтовой дуги (электрической дуги), причем электроды установлены в камере сгорания, где под действием вольтовой дуги вода диссоциирует на водород и кислород.
2. Двигатель по п.1, отличающийся тем, что активная вставка электрода выполнена из тугоплавкого материала.
3. Двигатель по п.1 или 2, отличающийся тем, что активная вставка электрода выполнена полой из тугоплавкого материала и изнутри охлаждаемой жидкостью.
4. Двигатель по п.1, отличающийся тем, что держатель активной вставки электрода, регулирующего зазор, установлен в корпусе электрода на резьбе с возможностью регулирования зазора между электродами и фиксации держателя активной вставки контргайкой.
5. Двигатель по п.1, отличающийся тем, что держатель активной вставки электрода, зажигающего вольтовую дугу, установлен в корпусе электрода с возможностью возвратно-поступательного перемещения в момент зажигания вольтовой дуги за счет пружины и распределительно-кулачкового вала, получающего вращение от распределительного вала двигателя.
6. Двигатель по п.1, отличающийся тем, что подача тока на электроды вольтовой дуги и кратковременное прерывание подачи тока при тушении вольтовой дуги выполнены замыканием и размыканием контактов прерывателя-распределителя, кулачковый вал которого получает вращение от коленчатого вала двигателя.
РИСУНКИ
|
|