|
|
(21), (22) Заявка: 2004118128/06, 15.06.2004
(24) Дата начала отсчета срока действия патента:
15.06.2004
(45) Опубликовано: 20.03.2006
(56) Список документов, цитированных в отчете о поиске:
RU 2013580 C1, 30.05.1994. SU 236127 A, 16.06.1969. RU 2075607 C1, 20.03.1997. RU 2119065 C1, 20.09.1998. DE 3841182 A1, 13.06.1990. GB 1270782 A, 12.04.1972.
Адрес для переписки:
656038, г.Барнаул, пр. Ленина, 46, АлтГТУ, ОИПС
|
(72) Автор(ы):
Новоселов Александр Леонидович (RU), Стороженко Александр Владимирович (RU), Мельберт Алла Александровна (RU), Жуйкова Александра Анатольевна (RU)
(73) Патентообладатель(и):
Государственное образовательное учреждение высшего профессионального образования “Алтайский государственный технический университет им. И.И. Ползунова” (АлтГТУ) (RU)
|
(54) ЦИКЛОННЫЙ МНОГОСТУПЕНЧАТЫЙ НЕЙТРАЛИЗАТОР
(57) Реферат:
Изобретение относится к двигателестроению и может быть использовано для очистки отработавших газов (ОГ) ДВС с воспламенением от сжатия. Нейтрализатор содержит корпус с двойными стенками, теплоизоляцией между ними, торцевой крышкой, входным и выходным окнами, реактор, снабженный блоком каталитической очистки отработавших газов, а также поперечной перегородкой с отверстиями. В реактор введен фильтр твердых частиц. Блок каталитической очистки ОГ выполнен из соосно пористых проницаемых металлокерамических окислительного и восстановительного каталитических блоков, установленных на поперечной перегородке над фильтром твердых частиц. Корпус представляет собой циклон и имеет части: верхнюю цилиндрическую, среднюю коническую и нижнюю, состоящую из конусной оболочки. Входное окно, снабженное входным патрубком, имеет тангенциально расширяющуюся врезку в корпус до внутренних стенок корпуса. Изобретение позволяет повысить степень очистки ОГ и упростить конструкцию нейтрализатора. Предусмотрено устройство для удаления твердых частиц. 1 ил. 
Изобретение относится к машиностроению, а именно к двигателестроению, и может быть использовано для очистки отработавших газов двигателей внутреннего сгорания с воспламенением от сжатия.
Известен каталитический нейтрализатор отработавших газов двигателя внутреннего сгорания, содержащий корпус с двойными стенками, теплоизоляцией между ними, торцевыми крышками, входным и выходным окнами, теплообменником, реактором, ограниченным устройством первичной очистки отработавших газов от твердых частиц и снабженным блоком каталитической очистки отработавших газов, а также поперечными перегородками с отверстиями. Впускное окно теплообменника сообщено с подогревателем, выпускная труба которого размещена вдоль оси корпуса и соединена с выпускным окном теплообменника. Концевая часть выпускной трубы подогревателя выполнена перфорированной и расположена внутри блока каталитической очистки отработавших газов, являющегося катализатором с псевдоожиженным слоем. Устройство первичной очистки отработавших газов от твердых частиц ограничено внутренними стенками корпуса, наружной поверхностью реактора с теплообменником и выполняет функцию инерционной ступени очистки отработавших газов от твердых частиц вокруг встроенного в корпус реактора (см. авторское свидетельство СССР №1188344, МПК F 01 N 3/28, опубл. 1985).
Основным недостатком описанного нейтрализатора отработавших газов двигателя внутреннего сгорания является низкая степень очистки отработавших газов, во-первых, вследствие проскока твердых частиц через псевдоожиженный слой катализатора, во-вторых, вследствие отсутствия селективной очистки отработавших газов в отдельных ступенях нейтрализации.
Известен также циклонный нейтрализатор отработавших газов многоцилиндрового двигателя внутреннего сгорания, снабженного выпускными трубопроводами, содержащий корпус с двойными стенками, теплоизоляцией между ними, торцевой крышкой, входным и выходным окнами, реактором, ограниченным устройством первичной очистки отработавших газов от твердых частиц и снабженным блоком каталитической очистки отработавших газов, а также поперечными перегородками с отверстиями, одновременно являющимися входной и выходной решетками. Нейтрализатор дополнительно содержит преобразователь импульсов, выполненный в виде последовательно соединенных конфузора, смесительной камеры и диффузора, резонатор и присоединительный патрубок. Диффузор подключен к входному окну, а конфузор сообщен с выпускными трубопроводами через присоединительный патрубок. Внутренняя полость присоединительного патрубка разделена на каналы по числу выпускных трубопроводов. На боковой поверхности присоединительного патрубка выполнено отверстие. Резонатор выполнен в виде кожуха, охватывающего присоединительный патрубок с образованием камеры в зоне отверстия. В качестве блока каталитической очистки отработавших газов использован катализатор с псевдоожиженным слоем. Устройство первичной очистки отработавших газов от твердых частиц ограничено внутренними стенками корпуса, наружной поверхностью реактора и выполняет функцию инерционной ступени очистки отработавших газов от твердых частиц вокруг встроенного в корпус реактора (патент РФ №2013580, МПК F 01 N 3/28, опубл. 1994).
Основным недостатком каталитического нейтрализатора отработавших газов многоцилиндрового двигателя внутреннего сгорания является низкая степень очистки отработавших газов вследствие отсутствия многоступенчатой селективной очистки отработавших газов от продуктов неполного сгорания, твердых частиц и оксидов азота.
Задача изобретения – повышение степени очистки отработавших газов и упрощение конструкции нейтрализатора.
Поставленная задача решается тем, что в нейтрализаторе, содержащем корпус с двойными стенками, теплоизоляцией между ними, торцевой крышкой, входным и выходным окнами, реактор, снабженный блоком каталитической очистки отработавших газов, в реактор введен фильтр твердых частиц, выполненный в виде пористого проницаемого металлокерамического блока, а блок каталитической очистки выполнен из соосных пористых проницаемых металлокерамических окислительного и восстановительного каталитических блоков, установленных на поперечной перегородке над фильтром твердых частиц, при этом корпус имеет части: верхнюю – в виде цилиндра, среднюю – в виде конуса и нижнюю, состоящую из конусной оболочки.
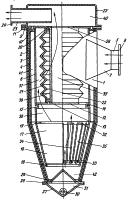
Изобретение поясняется чертежом, где изображен осевой продольный разрез циклонного многоступенчатого нейтрализатора. На чертеже дополнительно обозначено стрелками направление движения отработавших газов внутри циклона.
Нейтрализатор содержит корпус 1 с двойными стенками: внешними 2 и внутренними 3, теплоизоляцией 4 между ними. Верхняя часть корпуса 1 выполнена в виде цилиндра, средняя – в виде конуса, нижняя – также в виде конусной оболочки. Входное окно, снабженное входным парубком 5 с фланцем 6, имеет тангенциально расширяющуюся врезку 7 в корпус 1 до внутренних стенок 3. Корпус 1 является циклоном. В полости корпуса 1 размещен реактор 8. Реактор 8 удерживается на верхней торцовой крышке 9 со штампованной кольцевой бонкой 10 для центрации и крепления. Торцовая крышка 9 закреплена на фланце 11 корпуса 1. Стенки крышки 9, обращенные в реактор 8, и внутренние стенки последнего образуют полость реактора нейтрализатора. В полости реактора установлена поперечная перегородка 12 со штампованной кольцевой бонкой 13, сквозными окнами 14 и распорным буртом 15. В нижней конусной части 16 циклона встроен фильтр твердых частиц, выполненный в виде пористого проницаемого металлокерамического сотово-сегментного каталитического блока 17 с торцевыми стенками нижними 18 и верхними 19. Над фильтром твердых частиц на кольцевых бонках 13 перегородки 12 и кольцевых бонках 20 торцовой крышки 9 установлены соосные ребристый пористый проницаемый металлокерамический окислительный каталитический блок 21 и пористый проницаемый металлокерамический восстановительный каталитический блок 22, образующие блок каталитической очистки отработавших газов. Для выхода очищенных газов предусмотрено выходное окно, снабженное патрубком 23 с фланцем 24 на крышке 25, удерживаемым вместе с крышкой 9 на фланце 11 корпуса 1. В крышке 9 выполнено сквозное окно 26. Нижняя часть корпуса 1 состоит из конусной оболочки 27, образующей внутреннюю поверхность с решеткой 28 с конусными отверстиями 29 и устройством 30 удаления твердых частиц из полости 31 для сбора последних. Торцевые стенки 18 и 19 выполнены с чередующимися отверстиями 32 и 33 и разделены пористыми проницаемыми металлокерамическими стенками 34 с образованием пористого проницаемого металлокерамического сотово-сегментного каталитического блока 17.
Объем реактора с пористым проницаемым металлокерамическим сотово-сегментным каталитическим блоком 17 и блоком каталитической очистки отработавших газов разделен перегородками и стенками блоков на отдельные полости: полость 35 фильтра твердых частиц, полость 36 выхода из фильтра твердых частиц, полость 37 входа в пористый проницаемый металлокерамический окислительный каталитический блок 21, полость 38 выхода из блока 21 и входа в пористый проницаемый металлокерамический восстановительный каталитический блок 22, полость 39 выхода из блока 22, полость 40 расширения газов. Между внутренней поверхностью стенки 3 корпуса 1 и реактором 8 образована полость 41 циклонирования, а между решеткой 28 и нижней конусной частью 16 реактора образована полость 42 поворота отработавших газов.
Циклонный многоступенчатый нейтрализатор работает следующим образом. Отработавшие газы дизеля по входному патрубку 5 через врезку 7 поступают в полость 41, омывают реактор 8 по спирали. При этом твердые частицы относятся к внутренним поверхностям стенки 3. Газ проходит из полости 41 в полость 42 под углом более 90 градусов и направляется через полость 42, стенки 34 блока 17 в полость 36. Грубая очистка газов от твердых частиц осуществляется циклонированием потока, а тонкая – фильтрацией в блоке 17.
Далее газы через окно 14 направляются в полость 37, через пористый проницаемый металлокерамический окислительный каталитический блок 21 в полость 38. При этом в блоке 21 оксид углерода и углеводороды связывают свободный кислород из состава отработавших газов. Это позволяет на следующем этапе очистки – восстановлении оксидов азота при прохождении газов из полости 38 через стенки пористого проницаемого металлокерамического восстановительного каталитического блока 22 осуществлять более полное восстановление оксидов азота до азота и кислорода. Из полости 39 газы направляются в полость 40, а затем по патрубку 23 отводятся из нейтрализатора.
Такое выполнение циклонного многоступенчатого нейтрализатора обеспечивает снижение выбросов твердых частиц на 93…95%, оксида углерода и углеводородов – на 70…75%, оксидов азота – на 65%.
Формула изобретения
Нейтрализатор, содержащий корпус с двойными стенками, теплоизоляцией между ними, торцевой крышкой, входным и выходным окнами, реактор, снабженный блоком каталитической очистки отработавших газов, отличающийся тем, что в реактор введен фильтр твердых частиц, выполненный в виде пористого проницаемого металлокерамического блока, а блок каталитической очистки выполнен из соосных пористых проницаемых металлокерамических окислительного и восстановительного каталитических блоков, установленных на поперечной перегородке над фильтром твердых частиц, при этом корпус имеет части: верхнюю – в виде цилиндра, среднюю – в виде конуса и нижнюю, состоящую из конусной оболочки.
РИСУНКИ
MM4A – Досрочное прекращение действия патента СССР или патента Российской Федерации на изобретение из-за неуплаты в установленный срок пошлины за поддержание патента в силе
Дата прекращения действия патента: 16.06.2006
Извещение опубликовано: 20.08.2007 БИ: 23/2007
|
|