|
|
(21), (22) Заявка: 2004118126/06, 15.06.2004
(24) Дата начала отсчета срока действия патента:
15.06.2004
(45) Опубликовано: 20.03.2006
(56) Список документов, цитированных в отчете о поиске:
DE 3723153 A1, 26.01.1989. RU 2163300 C1, 20.02.2001. SU 236127 C1, 16.06.1969. RU 2119065 C1, 20.09.1998. DE 3903312 A1, 09.08.1990.
Адрес для переписки:
656038, г.Барнаул, пр. Ленина, 46, АлтГТУ, ОИПС
|
(72) Автор(ы):
Новоселов Александр Леонидович (RU), Стороженко Александр Владимирович (RU), Мельберт Алла Александровна (RU), Жуйкова Александра Анатольевна (RU)
(73) Патентообладатель(и):
Государственное образовательное учреждение высшего профессионального образования “Алтайский государственный технический университет им. И.И. Ползунова” (RU)
|
(54) МУЛЬТИЦИКЛОННЫЙ НЕЙТРАЛИЗАТОР ГАЗОВ
(57) Реферат:
Изобретение относится к машиностроению, а именно к двигателестроению, и может быть использовано для очистки отработавших газов ДВС с воспламенением от сжатия. Нейтрализатор газов содержит корпус с торцевой крышкой, входным и выходным патрубками, реактором, разделенным пористыми проницаемыми металлокерамическими окислительными и восстановительными каталитическими блоками и перегородками на отдельные полости, со ступенью очистки отработавших газов от твердых частиц. В качестве ступени очистки отработавших газов от твердых частиц использован мультициклон. Нижние части циклонов мультициклона выполнены в виде конусов с отверстиями, обращенными в полость для сбора твердых частиц. Циклоны оснащены впускными тангенциальными окнами и направляющими отвода очищенных от твердых частиц газов. Одна половина пористых проницаемых металлокерамических окислительных и восстановительных каталитических блоков соединена полостями с полостями отдельных циклонов мультициклона и закрыта глухими участками перегородки со стороны выходного патрубка. Другая половина пористых проницаемых металлокерамических окислительных и восстановительных каталитических блоков закрыта глухой перегородкой, установленной у входного патрубка, в которую встроены отдельные циклоны, и соединена полостями с отверстиями в перегородке со стороны выходного патрубка. Изобретение позволяет повысить эффективность очистки. 1 ил. 
Изобретение относится к машиностроению, а именно к двигателестроению, и может быть использовано для очистки отработавших газов двигателей внутреннего сгорания с воспламенением от сжатия.
Известен каталитический нейтрализатор отработавших газов дизеля, содержащий корпус с торцевой крышкой, входным и выходным патрубками с фланцами, реактором, разделенным пористыми проницаемыми металлокерамическими окислительными и восстановительными каталитическими блоками и перегородкой на отдельные полости, канал для подвода вспомогательного газа. Пористые проницаемые металлокерамические окислительные и восстановительные каталитические блоки установлены в корпусе коаксиально с образованием между ними кольцевых полостей. Канал для подвода вспомогательного газа соединен с сообщающимися полостями, образованными между внутренней поверхностью корпуса и наружными поверхностями пористых проницаемых металлокерамических окислительных каталитических блоков (см. патент РФ №2120554, МПК6 F 01 N 3/28).
Основным недостатком описанного каталитического катализатора является низкая степень очистки отработавших газов вследствие закоксовывания пористых проницаемых металлокерамических окислительных и восстановительных каталитических блоков, обусловленного отсутствием предварительной очистки отработавших газов от твердых частиц, включая частицы кокса.
Недостаток каталитического нейтрализатора отработавших газов дизеля частично устраняется многоступенчатым каталитическим нейтрализатором дизеля, содержащим корпус с торцевой крышкой, входным и выходным патрубками, реактором, разделенным пористыми проницаемыми металлокерамическими окислительными и восстановительными каталитическими блоками, а также ступенью очистки отработавших газов от твердых частиц и совмещенными перегородками с отверстиями на отдельные полости, канал для подвода вспомогательного газа. В качестве ступени очистки отработавших газов от твердых частиц использованы фильтры из многослойной перекрестной намотки на сетчатых каркасах нитей композитного углеродистого материала. Эти фильтры осесимметрично размещены внутри коаксиально установленных пористых проницаемых металлокерамических окислительных и восстановительных каталитических блоков. Канал для подвода вспомогательного газа соединен через коллектор с полостью, образованной внешней поверхностью фильтров из многослойной перекрестной намотки на сетчатых каркасах нитей композитного углеродистого материала и внутренней поверхностью пористого проницаемого металлокерамического окислительного каталитического блока (см. патент РФ №2163300, МПК7 F 01 N 3/28).
Основным недостатком многоступенчатого каталитического нейтрализатора дизеля является низкая степень очистки отработавших газов вследствие закоксовывания фильтров из многослойной перекрестной намотки на сетчатых каркасах нитей композитного углеродистого материала твердыми частицами при отсутствии разделения продуктов неполного сгорания твердых частиц и газообразных веществ.
Последняя конструкция многоступенчатого каталитического нейтрализатора дизеля является наиболее близкой по технической сущности и принята за прототип.
Предлагаемым изобретением решается задача повышения степени очистки отработавших газов.
Для достижения указанного технического результата в мультициклонном нейтрализаторе газов, содержащем корпус с торцевой крышкой, входным и выходным патрубками, реактором, разделенным пористыми проницаемыми металлокерамическими окислительными и восстановительными каталитическими блоками и перегородками на отдельные полости, ступенью очистки отработавших газов от твердых частиц, в качестве ступени очистки отработавших газов от твердых частиц использован мультициклон. Одна половина пористых проницаемых металлокерамических окислительных и восстановительных каталитических блоков соединена полостями с полостями отдельных циклонов и закрыта глухими участками перегородки со стороны выходного патрубка. Другая половина пористых проницаемых металлокерамических окислительных и восстановительных каталитических блоков закрыта глухой перегородкой, установленной у входного патрубка, в которую встроены отдельные циклоны, и соединена полостями с отверстиями в перегородке со стороны выходного патрубка.
Сопоставительный анализ с прототипом показывает, что заявляемое устройство отличается установкой перед реактором мультициклона, объединением внутренних полостей циклонов с полостями половины пористых проницаемых металлокерамических окислительных и восстановительных каталитических блоков, заглушенных по торцам со стороны, противоположной циклонам, в расположении другой половины этих блоков открытыми полостями в сторону, противоположную циклонам, и закрытыми со стороны циклонов. Таким образом, заявляемое устройство соответствует критерию “новизна”.
В известных технических решениях не обнаружено совокупности отличительных признаков, характеризующих изложенные технические решения и используемых для решения аналогичных задач. Поэтому техническое решение соответствует критерию “изобретательский уровень”.
Повышение степени очистки отработавших газов дизеля от продуктов неполного сгорания и газообразных веществ, в частности, оксидов азота, достигается за счет очистки газов от твердых частиц в мультициклоне и последующей очистки газов, свободных от твердых частиц, в пористых проницаемых металлокерамических окислительных и восстановительных каталитических блоках, полученных по технологиям самораспространяющегося высокотемпературного синтеза, одна половина которых соединена полостями с полостями отдельных циклонов и закрыта глухими участками перегородки со стороны выходного патрубка, а другая половина закрыта глухой перегородкой, установленной у входного патрубка, в которую встроены отдельные циклоны, и соединена полостями с отверстиями в перегородке со стороны выходного патрубка.
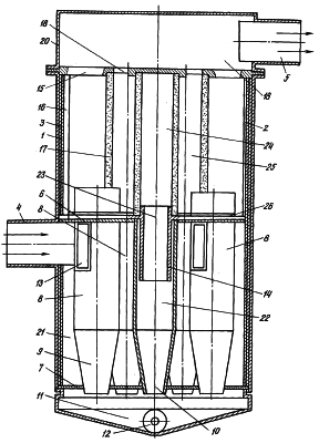
Предлагаемое изобретение поясняется чертежом, где изображен осевой продольный разрез предлагаемого мультициклонного нейтрализатора газов.
На чертеже дополнительно обозначены стрелками направления подачи в нейтрализатор отработавших газов и их отвода в окружающую среду.
Мультициклонный нейтрализатор газов содержит корпус с двойными стенками: внешними 1 и внутренними 2, теплоизоляцию 3 между ними, входным 4 и выходным 5 патрубками. В глухих поперечных перегородках 6 и 7 встроена ступень очистки отработавших газов от твердых частиц, в качестве которых использован мультициклон, образованный отдельными циклонами 8 с названными перегородками. Нижние части 9 циклонов 8 выполнены в виде конусов с полыми отверстиями 10, обращенными в полость 11 для сбора твердых частиц. В нижней части нейтрализатора установлено устройство 12 для отсоса твердых частиц за счет эжекции отработавшими газами на впуск дизеля. Циклоны 8 оснащены впускными окнами 13 и направляющими 14 отвода очищенных от твердых частиц газов.
Полость реактора образована внутренними стенками 2 корпуса, поперечной перегородкой 6, установленной у входного 4 патрубка, и поперечной перегородкой 15, расположенной со стороны выходного 5 патрубка. Реактор разделен пористыми проницаемыми металлокерамическими окислительными и восстановительными каталитическими блоками 17, перегородками 6 и 15 на отдельные полости. В полости 16 реактора одна половина блоков 17 установлена на направляющих 14 циклонов, соединена с полостями отдельных циклонов, то есть открыта для отработавших газов со стороны циклонов, и закрыта глухими участками перегородки 15, а другая половина блоков 17 установлена на перегородке 6, закрыта ею со стороны отдельных циклонов 8, открыта со стороны выходного патрубка 5 отверстиями 18 в перегородке 15 и соединена с полостью 19 в торцевой крышке 20. Мультициклон имеет внутреннюю полость 21, циклоны 8 – внутренние полости 22, соединенные через отверстия 23 в направляющих 14 с полостями 24 в блоках 17 на этих направляющих. Другая половина блоков имеет полости 25, соединенные с отверстиями 18.
Пористые проницаемые металлокерамические окислительные и восстановительные каталитические блоки 17 установлены на пружинные температурные компенсаторы 26.
Мультициклонный нейтрализатор газов работает следующим образом. Отработавшие газы дизеля поступают по входному патрубку 4 в полость 21 мультициклона, затем через впускные окна 13 направляются в полости 22 отдельных циклонов 8, очищаются от твердых частиц. Последние через отверстия 10 направляются в полость 11 для сбора и отсоса устройством 12. Очищенные от твердых частиц газы по отверстиям 23 в направляющих 14 переходят в полости 24 блоков 17 и подлежат каталитической очистке от газообразных продуктов неполного сгорания, проходя через стенки в полость 16. Из полости 16 газы проходят через стенки блоков 17, подлежат каталитической очистке от оксидов азота и оказываются в полостях 25 последних блоков. Далее через отверстия 18 газы переходят в полость 19 крышки 20 нейтрализатора и отводятся в окружающую среду по патрубку 5.
Такое выполнение мультициклонного нейтрализатора газов обеспечивает снижение выбросов твердых частиц на 90-95%, оксида углерода и углеводородов – на 75-80%, оксидов азота – на 70%. Каталитические блоки не коксуются, и промежуток между регенерациями увеличивается в 3-4 раза.
Сопоставительный анализ с прототипом показывает, что заявленный мультициклонный нейтрализатор газов будет иметь более высокую степень очистки отработавших газов, более высокую эксплуатационную надежность.
Формула изобретения
Мультициклонный нейтрализатор газов, содержащий корпус с торцевой крышкой, входным и выходным патрубками, реактором, разделенным пористыми проницаемыми металлокерамическими окислительными и восстановительными каталитическими блоками и перегородками на отдельные полости, со ступенью очистки отработавших газов от твердых частиц, отличающийся тем, что в качестве ступени очистки отработавших газов от твердых частиц использован мультициклон, одна половина пористых проницаемых металлокерамических окислительных и восстановительных каталитических блоков соединена полостями с полостями отдельных циклонов и закрыта глухими участками перегородки со стороны выходного патрубка, а другая половина пористых проницаемых металлокерамических окислительных и восстановительных каталитических блоков закрыта глухой перегородкой, установленной у входного патрубка, в которую встроены отдельные циклоны, и соединена полостями с отверстиями в перегородке со стороны выходного патрубка.
РИСУНКИ
MM4A – Досрочное прекращение действия патента СССР или патента Российской Федерации на изобретение из-за неуплаты в установленный срок пошлины за поддержание патента в силе
Дата прекращения действия патента: 16.06.2006
Извещение опубликовано: 20.08.2007 БИ: 23/2007
|
|