|
|
(21), (22) Заявка: 2004123086/03, 28.07.2004
(24) Дата начала отсчета срока действия патента:
28.07.2004
(45) Опубликовано: 20.03.2006
(56) Список документов, цитированных в отчете о поиске:
RU 2139392 C1, 10.10.1999. SU 190272 A, 30.01.1967. SU 1162910 A, 23.06.1985. RU 2013497 C1, 30.05.1994. RU 2055123 C1, 27.02.1996. RU 2107776 C1, 27.03.1998. GB 1159336 A, 23.07.1969. GB 1398606 A, 25.06.1975.
Адрес для переписки:
107076, Москва, Богородский вал, 6, корп.2, кв.432, Н.И. Бабичеву
|
(72) Автор(ы):
Бабичев Николай Игоревич (RU), Дворовенко Александр Евгеньевич (RU), Фильчуков Александр Юрьевич (RU)
(73) Патентообладатель(и):
Бабичев Николай Игоревич (RU), Дворовенко Александр Евгеньевич (RU), Фильчуков Александр Юрьевич (RU)
|
(54) УСТАНОВКА ДЛЯ ГИДРОДОБЫЧИ ПОЛЕЗНЫХ ИСКОПАЕМЫХ
(57) Реферат:
Область использования: добыча нерудных строительных материалов, в частности разработка месторождений гравийно-песчаных смесей. Установка включает корпус, выполненный в виде П-образного в плане понтона, снабженного механизмом, обеспечивающим возможность пристыковки дополнительных секций для сохранения плавучести при увеличении веса грунтозаборного устройства, грунтозаборное устройство, выполненное в виде скважинного гидродобычного снаряда, имеющее грунтоприемник, размещенный в носовой части понтона портальный кран для подъема и опускания грунтоприемника путем поворота грунтозаборного устройства относительно оси, размещенной в средней части понтона, и пульпопровод, соединенный с грунтозаборным устройством. Технический результат, который может быть получен при реализации данного изобретения, состоит в обеспечении возможности добычи полезных ископаемых при изменяющихся глубинах разработки. 4 ил. 
Изобретение относится к области добычи нерудных строительных материалов, обеспечивающей сырьевую базу промышленного и гражданского строительства, и может быть использовано, в частности, при разработке месторождений гравийно-песчаных смесей.
Известна установка для гидродобычи полезных ископаемых, включающая корпус, выполненный в виде понтона, скважинный гидродобычной снаряд, установленный на понтоне с возможностью его подъема и опускания (см. В.Ж.Аренс, Б.В.Исмагилов и Д.Н.Шпак. Скважинная гидродобыча твердых полезных ископаемых. – М.: Недра, 1980, стр.17-18, рис.1.5).
Недостатком данного устройства является фиксированная глубина разработки, определяемая водоизмещением понтона. При переходе на большие глубины, когда вес гидродобычного снаряда увеличивается, чтобы сохранить плавучесть устройства, требуется повышать водоизмещение понтона.
Наиболее близким по технической сущности и достигаемому результату к заявленному устройству является установка для гидродобычи полезных ископаемых, включающая корпус, выполненный в виде понтона, грунтозаборное устройство, имеющее грунтоприемник и размещенный в носовой части понтона кран для подъема и опускания грунтоприемника, путем поворота грунтозаборного устройства относительно оси, размещенной на понтоне, и пульпопровод, соединенный с грунтозаборным устройством (см. патент RU №2139392, МПК 7 кл. E 02 F 3/90. опубл. 10.10.1999).
Недостатком данного устройства также является фиксированная глубина разработки.
Задача, на решение которой направлено данное изобретение, состоит в повышении эффективности разработки нерудных месторождений, в частности гравийно-песчанных смесей (ПГС), залегающих на разных глубинах под водоемами или под слоем многолетнемерзлых пород.
Технический результат, который может быть получен при реализации данного изобретения, состоит в обеспечении возможности добычи полезных ископаемых при изменяющихся глубинах разработки.
Указанный технический результат достигается тем, что в известной установке для гидродобычи полезных ископаемых, включающей корпус, выполненный в виде понтона, грунтозаборное устройство, имеющее грунтоприемник, размещенный в носовой части понтона кран для подъема и опускания грунтоприемника, путем поворота грунтозаборного устройства относительно оси, размещенной на понтоне, и пульпопровод, соединенный с грунтозаборным устройством, согласно изобретению понтон выполнен П-образным в плане, и снабжен механизмом, обеспечивающим возможность пристыковки дополнительных секций для сохранения плавучести при увеличении веса грунтозаборного устройства, грунтозаборное устройство выполнено в виде скважинного гидродобычного снаряда, кран выполнен портальным, а ось поворота размещена в средней части понтона.
В указанную совокупность включены все признаки, каждый из которых необходим, а все вместе достаточны для достижения заявленного технического результата во всех случаях использования изобретения, на которые испрашивается объем правовой охраны.
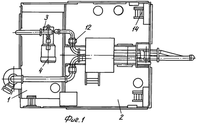
Установка для гидродобычи полезных ископаемых поясняется чертежом, на котором на фиг.1 показан вид установки сверху, на фиг.2 – вид установки сбоку, на фиг.3 – вид установки сверху с четырьмя пристыкованными дополнительными продольными секциями, на фиг.4 – установка с четырьмя пристыкованными дополнительными продольными секциями, вид сбоку.
Установка для гидродобычи полезных ископаемых состоит из корпуса, выполненного в виде П-образного в плане понтона. Понтон состоит, по меньшей мере, из одной поперечной секции 1, выполняющей роль кормовой секции, и жестко присоединенных к ней двух продольных секций 2. На поперечной секции размещается насос 3, подающий воду для размыва полезного ископаемого, с двигателем 4 (электродвигателем или дизелем). Двигатель имеет блок управления 5.
Две продольные секции 2 понтона установлены с зазором между ними, достаточным для подъема и опускания грунтозаборного устройства. В транспортном положении грунтозаборное устройство находится в горизонтальном положении над указанным зазором. Свободные части продольных секций выполняют роль носовой части понтона.
Понтон снабжен механизмом (на чертеже не показан), обеспечивающим возможность пристыковки дополнительных продольных и/или поперечных секций для повышения его водоизмещения и сохранения плавучести установки при использовании грунтозаборного устройства, предназначенного для разработки полезных ископаемых на больших глубинах и имеющего, соответственно, большую массу. Механизм, обеспечивающий пристыковку дополнительных секций, может быть выполнен аналогичным механизму, обеспечивающему стыковку понтонов понтонно-мостовой переправы. Может быть также использовано обычное болтовое соединение.
Грунтозаборное устройство выполнено в виде скважинного гидродобычного снаряда 6, имеющего гидромонитор 7 для размыва полезного ископаемого, и пульпоподъемное приспособление 8 с грунтоприемником 9. Пульпоподъемное приспособление 8 может быть выполнено, например, в виде гидроэлеватора или эрлифта. Пульповод гидроэлеватора или эрлифта посредством шарового шарнира соединен с плавучим пульповодом.
Для подъема и опускания скважинного гидродобычного снаряда 6 в носовой части понтона размещен портальный кран 10 с лебедкой 11. Подъем и опускание скважинного гидродобычного снаряда 8 производится путем его поворота относительно оси, размещенной в средней части понтона посредством горизонтальных шарниров 12, установленных на двух его продольных секциях 2.
В носовой и кормовой частях понтона установлены папильонажные лебедки 12 для обеспечения маневрирования установки в забое.
Установка для гидродобычи полезных ископаемых работает следующим образом.
Собранная в котловане, предварительно созданном на месте разработки, или доставленная по водным путям в собранном виде установка размещается над местом, предназначенным для разработки. Концы тросов папильонажных лебедок заякориваются на берегу. Скважинный гидродобычной снаряд 6 посредством портального крана 10 переводят в вертикальное положение и приступают к размыву полезного ископаемого.
Размытое полезное ископаемое поступает в грунтоприемник и посредством пульпоподъемного приспособления 8 поднимается на поверхность и по пульповоду подается на промплощадку.
При увеличении глубины разработки наращиваются ставы водовода и пульповода скважинного гидродобычного снаряда 6 и пристыковываются еще два продольных понтона. Наращивание ставов водовода и пульповода производится после перевода скважинного гидродобычного снаряда в горизонтальное положение. Для обеспечения центровки понтона одновременно с пристыковкой продольных секций 2 может производиться пристыковка дополнительных поперечных секций 1 понтона.
Формула изобретения
Установка для гидродобычи полезных ископаемых, включающая корпус, выполненный в виде понтона, грунтозаборное устройство, имеющее грунтоприемник, размещенный в носовой части понтона кран для подъема и опускания грунтоприемника путем поворота грунтозаборного устройства относительно оси, размещенной на понтоне, и пульпопровод, соединенный с грунтозаборным устройством, отличающаяся тем, что понтон выполнен П-образным в плане и снабжен механизмом, обеспечивающим возможность пристыковки дополнительных секций для сохранения плавучести при увеличении веса грунтозаборного устройства, грунтозаборное устройство выполнено в виде скважинного гидродобычного снаряда, кран выполнен портальным, а ось поворота размещена в средней части понтона.
РИСУНКИ
PC4A – Регистрация договора об уступке патента Российской Федерации на изобретение
(73) Патентообладатель(и):
Бабичев Николай Игоревич, Дворовенко Александр Евгеньевич, Фильчуков Александр Юрьевич
(73) Патентообладатель:
Общество с ограниченной ответственностью “Научно-производственный центр “Геотехнология”
Дата и номер государственной регистрации перехода исключительного права: 28.01.2008 № РД0031856
Извещение опубликовано: 10.03.2008 БИ: 07/2008
|
|