|
|
(21), (22) Заявка: 2004123085/03, 28.07.2004
(24) Дата начала отсчета срока действия патента:
28.07.2004
(45) Опубликовано: 20.03.2006
(56) Список документов, цитированных в отчете о поиске:
SU 1809066 A1, 15.04.1994. SU 68372 A, 30.04.1947. SU 607022 A, 22.04.1978. SU 648734 A, 28.02.1979. SU 1234634 A1, 30.05.1986. SU 1698441 A1, 15.12.1991. SU 1798504 A1, 28.02.1993.
Адрес для переписки:
107076, Москва, Богородский вал, 6, корп.2, кв.432, Н.И. Бабичеву
|
(72) Автор(ы):
Бабичев Николай Игоревич (RU), Дворовенко Александр Евгеньевич (RU), Фильчуков Александр Юрьевич (RU)
(73) Патентообладатель(и):
Бабичев Николай Игоревич (RU), Дворовенко Александр Евгеньевич (RU), Фильчуков Александр Юрьевич (RU)
|
(54) ГИДРОМОНИТОР
(57) Реферат:
Область применения – устройства, предназначенные для гидравлического разрушения материалов струей жидкости. Гидромонитор состоит из основания, шарнира и ствола с насадкой. В канале ствола на центраторах установлена сквозная трубка, проходящая по его оси. Один торец трубки сообщен с атмосферой, а другой расположен в насадке. Соотношение диаметра трубки и диаметра насадки составляет 0,50-0,57. Трубка выполняет функцию эжектирующего приспособления. При прохождении напорной воды через насадку за счет эжектирования воздуха на выходе из трубки образуется обтекатель в виде воздушного пузыря, давление в котором меньше атмосферного. За счет этого происходит уплотнение струи на выходе из насадки, что повышает ее дальнобойность. Возможна подача в полость трубки различных химических и абразивных материалов для увеличения производительности разрушения. 1 ил. 
Изобретение относится к техническим средствам разрушения материалов струей жидкости и может быть использовано, в частности, в горнодобывающей промышленности для гидравлического разрушения массивов горных пород при разработке месторождений полезных ископаемых, в том числе и методами скважинной гидродобычи.
Известны гидромониторы, включающие ствол с насадкой, в которых для повышения компактности струи и увеличения тем самым ее энергетических характеристик, в частности дальнобойности, по оси канала ствола на центраторах размещен обтекатель (вставка), один торец которого расположен в канале ствола, а другой расположен в насадке. Данные гидромониторы позволяют повысить эффективность разрушения массивов горных пород (авт.свид. СССР №1798504 А1, МПК Е 21 С 45/00, опубл. 28.02.93, бюл.№ 8 или авт.свид. СССР №1698441 А1, МПК Е 21 С 45/00, опубл.15.12.91, бюл. №46).
Недостатком гидромониторов данного типа является сравнительно невысокое качество гидромониторных струй.
Наиболее близким по технической сущности и достигаемому результату является гидромонитор, включающий основание с подводящей магистралью, на котором шарнирно закреплен ствол с насадкой, гидравлически связанный с подводящей магистралью, в канале которого на центраторах установлено эжектирующее приспособление, один торец которого сообщен с атмосферой, а другой расположен в насадке (авт.свид. СССР №68372, МПК Кл. Е 21 С 25/60, опубл.30.04.47).
Недостатком данного технического решения является недостаточная дальнобойность струи, ограниченная конусностью ствола монитора и эжектирующего приспособления.
Задача, на решение которой направлено данное изобретение, состоит в повышении эффективности разрушения твердых материалов струей жидкости.
Технический результат, достигаемый при использовании изобретения, состоит в повышении компактности гидромониторной струи и увеличении тем самым ее дальнобойности.
Указанный технический результат достигается тем, что в известном гидромониторе, включающем основание с подводящей магистралью, на котором шарнирно закреплен ствол с насадкой, гидравлически связанный с подводящей магистралью, в канале которого на центраторах установлено эжектирующее приспособление, один торец которого сообщен с атмосферой, а другой расположен в насадке согласно изобретению, эжектирующее приспособление выполнено в виде сквозной трубки, проходящей по оси канала ствола, с соотношением ее диаметра и диаметра насадки, составляющем 0,50-0,57.
В данную совокупность включены все существенные признаки, характеризующие изобретение и обеспечивающие получение технического результата во всех случаях, на которые распространяется испрашиваемый объем правовой охраны.
Известно, что при формировании гидромониторных струй, имеющих внутреннюю полость, полученную, например, за счет обтекания различного рода вставок, или эжектирования воздуха, статическое давление внутри полости меньше атмосферного, вследствие чего происходит уплотнение струи на выходе из насадки. При этом компактность струи зависит, в частности, от соотношения диаметров эжектирующей трубки и насадки. Визуальными наблюдениями и поэтапным фотохронометражом установлено, что оптимальным для современных промышленных гидромониторов, использующихся при разработке месторождений полезных ископаемых, является соотношение диаметров эжектирующей трубки и насадки, равное 0,50-0,57.
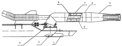
Гидромонитор поясняется чертежом, на котором представлен его продольный разрез.
Гидромонитор состоит из основания 1, в котором содержится подводящая напорную воду магистраль 2, шарнира 3 и ствола 4 с насадкой 5, гидравлически связанного с подводящей магистралью. В канале 6 ствола 4 на центраторах 7 установлено эжектирующее приспособление, выполненное в виде сквозной трубки 8, проходящей через весь ствол 4 по оси его канала 6. При этом входной торец сквозной трубки 8 расположен за пределами канала 6 ствола 4 и ее внутренняя полость с этого торца сообщена с атмосферой, а выходной – расположен в насадке 5. Соотношение диаметра сквозной трубки 8 и диаметра насадки 5 составляет 0,50-0,57.
Гидромонитор работает следующим образом. При подаче напорной воды по магистрали 2 она, проходя через шарнир 3, попадает в ствол 4, в канале 6 которого происходит начальное формирование струи. Окончательно струя формируется, проходя через насадку 5. За счет эжектирования воздуха на выходном конце сквозной трубки 8 образуется обтекатель в виде воздушного пузыря. Поскольку статическое давление в его полости меньше атмосферного, происходит уплотнение струи на выходе из насадки 5. При этом повышается ее компактность и, как следствие, дальнобойность. При соотношении диаметров сквозной трубки 8 и насадки 5, составляющем 0,50-0,57, дальнобойность будет наибольшей.
Дополнительный эффект, который может быть достигнут при использовании данного изобретения, состоит в возможности химического и механического абразивного разрушения твердых материалов за счет подачи в сквозную трубку 8 с торца, сообщенного с атмосферой, химических и, например, кварцевого песка или корунда. В этом случае производительность разрушения увеличивается в 1,4-2,0 раза.
При работе гидромонитора в затопленном забое свободный торец трубки 8 может быть гидравлически связан с камерой. В этом случае через трубку 8 в струю гидромонитора будет поступать пульпа, получаемая при размыве полезного ископаемого и содержащая твердые частицы. Эффективность воздействия такой струи на забой будет аналогична подаче в сквозную трубку 8 различных абразивных материалов.
Формула изобретения
Гидромонитор, включающий основание с подводящей магистралью, на котором шарнирно закреплен ствол с насадкой, гидравлически связанный с подводящей магистралью, в канале которого на центраторах установлено эжектирующее приспособление, один торец которого сообщен с атмосферой, а другой расположен в насадке, отличающийся тем, что эжектирующее приспособление выполнено в виде сквозной трубки, проходящей по оси канала ствола, с соотношением ее диаметра и диаметра насадки, составляющим 0,50-0,57.
РИСУНКИ
PC4A – Регистрация договора об уступке патента Российской Федерации на изобретение
(73) Патентообладатель(и):
Бабичев Николай Игоревич, Дворовенко Александр Евгеньевич, Фильчуков Александр Юрьевич
(73) Патентообладатель:
Общество с ограниченной ответственностью “Научно-производственный центр “Геотехнология”
Дата и номер государственной регистрации перехода исключительного права: 28.01.2008 № РД0031856
Извещение опубликовано: 10.03.2008 БИ: 07/2008
|
|