|
|
(21), (22) Заявка: 2004123084/03, 28.07.2004
(24) Дата начала отсчета срока действия патента:
28.07.2004
(45) Опубликовано: 20.03.2006
(56) Список документов, цитированных в отчете о поиске:
RU 2060393 C1, 20.05.1996. SU 626210 A, 28.08.1978. SU 819345 A, 17.04.1981. SU 1094964 A, 30.05.1984. SU 1314068 A1, 30.05.1987. SU 1613615 A1, 15.12.1990. RU 2101504 C1, 10.01.1998. RU 2169839 C1, 27.06.2001. GB 1217851 A, 31.12.1970. US 4322897 A, 06.04.1982.
Адрес для переписки:
107076, Москва, Богородский вал, 6, корп.2, кв.432, Н.И. Бабичеву
|
(72) Автор(ы):
Бабичев Николай Игоревич (RU), Дворовенко Александр Евгеньевич (RU), Фильчуков Александр Юрьевич (RU)
(73) Патентообладатель(и):
Бабичев Николай Игоревич (RU), Дворовенко Александр Евгеньевич (RU), Фильчуков Александр Юрьевич (RU)
|
(54) НИЖНИЙ ОГОЛОВОК СКВАЖИННОГО ГИДРОДОБЫЧНОГО СНАРЯДА
(57) Реферат:
Область применения – разработка месторождений полезных ископаемых методами скважинной гидротехнологии, а также бурение скважин и создание подземных полостей различного назначения. Устройство включает патрубок для подачи напорной воды. Размещенный в нем патрубок пульповода имеет коническое сужение, износостойкую вставку, выполненную в виде колец из износостойкого материала, установленных с зазорами между собой после конического сужения по ходу потока пульпы, и коническое расширение, размещенное после колец. В месте размещения колец в патрубке пульповода выполнены отверстия для подачи напорной воды в патрубок пульповода через зазоры между кольцами. В торцевой части патрубка для подачи напорной воды размещен гидроэлеватор. Патрубок для подачи напорной воды и гидроэлеватор могут иметь гидромониторные насадки. Зазоры между кольцами износостойкой вставки образованы за счет шероховатости их торцевых поверхностей. При подаче напорной воды часть потока, проходя по кольцевому зазору, проходит через кольцевой гидроэлеватор и попадает в патрубок пульповода, образуя восходящий поток. Вследствие создаваемого разрежения размытое полезное ископаемое в виде пульпы засасывается в патрубок пульповода и транспортируется на поверхность. Технический результат состоит в снижении износа входной части патрубка пульповода скважинных добычных снарядов. 2 з.п. ф-лы, 1 ил. 
Изобретение относится к горнодобывающей промышленности и может быть использовано при разработке месторождений полезных ископаемых методами скважинной гидротехнологии, а также при бурении скважин и создании подземных полостей различного назначения. Наиболее предпочтительная область применения – гидромониторные агрегаты, в которых часть потока напорной воды направляется для питания гидроэлеватора, и предназначенные для разработки месторождений, в которые полезные ископаемые характеризуются высокой абразивностью, например месторождений кварцевого песка.
Известен нижний оголовок скважинного гидродобычного снаряда, содержащий патрубок для подачи потока напорной воды с гидромониторной головкой, размещенный в нем патрубок пульповода со всасывающим отверстием и насадку гидроэлеватора (Авторское свидетельство СССР №1320419, кл. Е 21 С 45/00, опубл. 1987).
Недостатком данного устройства является быстрый износ входной части патрубка пульповода при его использовании для размыва и транспортировки полезных ископаемых, характеризующихся высокой абразивностью.
Наиболее близким по технической сущности и достигаемому результату является нижний оголовок скважинного гидродобычного снаряда, включающий патрубок для подачи напорной воды с размещенным в нем патрубком пульповода и кольцевой гидроэлеватор с конфузором, диффузором и камерой смешения, выполненными во входной части патрубка пульповода (Патент RU №2060393, Кл. Е 21 С 45/00, опубл. 1996).
Недостатком данного устройства также является быстрый износ входной части патрубка пульповода при его использовании для размыва и транспортировки полезных ископаемых, характеризующихся высокой абразивностью.
Задача, на решение которой направлено данное изобретение, состоит в повышении производительности скважинных гидрообычных агрегатов за счет увеличения межремонтных периодов.
Технический результат, который может быть получен при осуществлении изобретения, состоит в снижении износа входной части патрубка пульповода скважинных добычных снарядов, оборудованных пульпоподъемными приспособлениями, выполненными в виде кольцевого гидроэлеватора.
Указанный технический результат достигается тем, что в известном нижнем оголовке скважинного гидродобычного снаряда, включающем патрубок для подачи напорной воды с размещенным в нем патрубком пульповода и кольцевой гидроэлеватор с конфузором, диффузором и камерой смешения, выполненными во входной части патрубка пульповода, согласно изобретению камера смешения кольцевого гидроэлеватора снабжена износостойкой вставкой, выполненной в виде колец, содержащих износостойкий материал, установленных с зазорами между собой между конфузором и диффузором, при этом в месте размещения колец в патрубке пульповода выполнены отверстия для подачи напорной воды в патрубок пульповода через зазоры между кольцами.
В заявленную совокупность включены все существенные признаки, характеризующие изобретение и обеспечивающие получение технического результата во всех случаях, на которые распространяется испрашиваемый объем правовой охраны.
В частном случае изобретение характеризуется тем, что зазоры между кольцами износостойкой вставки образованы за счет шероховатости их торцевых поверхностей.
А также тем, что патрубок для подачи напорной воды имеет боковые и/или торцевые гидромониторные насадки.
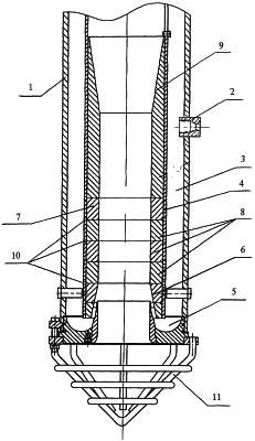
Нижний оголовок скважинного гидродобычного снаряда поясняется чертежом, на котором представлен его продольный разрез.
Нижний оголовок скважинного добычного снаряда состоит из патрубка 1 для подачи напорной воды, в который могут быть вмонтированы боковые 2 и/или торцевые (на чертеже не показаны) гидромониторные насадки для размыва породы и образования пульпы. Внутри патрубка 1 коаксиально с зазором 3 размещен патрубок пульповода 4. В торцевой части патрубка 1 для подачи напорной воды размещен кольцевой гидроэлеватор 5. Торцевые гидромониторые насадки для бурения скважин могут быть вмонтированы в торце кольцевого гидроэлеватора 5.
Конфузор 6 кольцевого гидроэлеватора 5 расположен на входе патрубка пульповода 4 и выполнен, например, в виде втулки с наружной цилиндрической и внутренней конической поверхностями. При этом наружный диаметр втулки равен внутреннему диаметру патрубка пульповода 4. Больший (входной) диаметр конфузора 6 равен внутреннему диаметру патрубка пульповода 4. Меньший (выходной) диаметр конфузора 6 равен внутреннему диаметру износостойкой вставки.
За конфузором 6 в камере смешения кольцевого гидроэлеватора 5 установлена износостойкая вставка. Износостойкая вставка 7 выполнена в виде колец 8 (шайб), содержащих износостойкий материал. В зависимости от крупности и прочности транспортируемых минеральных частиц в качестве износостойкого материала могут быть использованы: износостойкая резина, микропористый электрокорунд, износостойкая (аустенитная) сталь, износостойкий чугун. При этом кольца могут быть изготовлены из указанных материалов как целиком, так и содержать износостойкий материал в импрегнированном виде. Возможно также использование износостойких покрытий, наносимых на внутреннюю поверхность колец 8, выполненных из не износостойких материалов.
Длина износостойкой вставки 7 должна обеспечивать защиту участка патрубка пульповода 4, подверженного наиболее сильному износу вследствие высоких скоростей движения материала на этом участке. Наружный диаметр колец 8 равен внутреннему диаметру патрубка пульповода 4, а их внутренний диаметр должен обеспечивать оптимальное проходное сечение и устанавливается в результате экспериментальных исследований. Торцевые поверхности колец 8 выполняются с неровностями (шероховатыми), таким образом, чтобы при их стыковке между ними образовывался зазор для подачи напорной воды.
За износостойкой вставкой 7 размещено коническое расширение 9 (диффузор), выполненное также в виде втулки с наружной цилиндрической и внутренней конической поверхностями. При этом наружный диаметр втулки равен внутреннему диаметру патрубка пульповода 4. Больший (выходной) диаметр конического расширения равен внутреннему диаметру патрубка пульповода 4. Меньший (входной) диаметр конического расширения равен внутреннему диаметру колец 8 износостойкой вставки 7.
Участок патрубка пульповода 4, защищенный износостойкой вставкой 7, имеет отверстия 10, выполненные в его стенках для подачи напорной воды в патрубок пульповода 4 через зазоры между кольцами 8 износостойкой вставки 7. Диаметр, количество и взаимное расположение отверстий 10 может быть установлено расчетным или экспериментальным путем и должно обеспечивать создание водяной рубашки между внутренней поверхностью износостойкой вставки 7 и потоком пульпы.
Для использования нижнего оголовка в гидромониторных агрегатах, осуществляющих бурение скважин, в торце гидроэлеватора могут быть установлены гидромониторные насадки. В случае выполнения устройства без торцевых гидромониторных насадок, т.е. устройство не используется для бурения скважин, для защиты входного отверстия от валунов оно может быть снабжено ограждением 11.
Устройство работает следующим образом.
При подаче напорной воды в патрубок 1 она проходит по кольцевому зазору 3, затем проходит через кольцевой гидроэлеватор и попадает в патрубок пульповода 4, образуя восходящий поток. Вследствие эжекционного эффекта размытое полезное ископаемое в виде пульпы засасывается в патрубок пульповода 4 и восходящим потоком транспортируется на поверхность.
В случае если нижний оголовок имеет гидромониторные насадки, часть потока напорной воды поступает на гидромониторные насадки 2 и производит размыв породы с образованием пульпы. Другая часть проходит через кольцевой гидроэлеватор и попадает в патрубок пульповода 4, образуя восходящий поток. Вследствие эжекционного эффекта размытое полезное ископаемое в виде пульпы засасывается в патрубок пульповода 4 и транспортируется на поверхность.
Размытое полезное ископаемое характеризующееся высокой абразивностью, проходя по патрубку пульповода 4, защищенному износостойкой вставкой, не подвергает износу его стенки, способствуя тем самым повышению производительности скважинных гидромониторных агрегатов за счет увеличения межремонтных периодов. Кроме того, напорная вода, попадая через зазоры между кольцами 8 износостойкой вставки 7, образует дополнительный защитный слой на этом участке пульповода в виде водяной рубашки.
Дополнительный технический результат, который может быть получен при осуществлении изобретения, состоит в оттирке зерен полезного ископаемого от посторонних примесей, например удалении пленок окислов железа с зерен кварцевого песка. Дополнительный технический результат обусловлен абразивными свойствами некоторых материалов, используемых в качестве износостойкого материала, например электрокорунда.
Формула изобретения
1. Нижний оголовок скважинного гидродобычного снаряда, включающий патрубок для подачи напорной воды с размещенным в нем патрубком пульповода и кольцевой гидроэлеватор с конфузором, диффузором и камерой смешения, выполненных во входной части патрубка пульповода, отличающийся тем, что камера смешения кольцевого гидроэлеватора снабжена износостойкой вставкой, выполненной в виде колец, содержащих износостойкий материал, установленных с зазорами между собой между конфузором и диффузором, при этом в месте размещения колец в патрубке пульповода выполнены отверстия для подачи напорной воды в патрубок пульповода через зазоры между кольцами.
2. Нижний оголовок по п.1, отличающийся тем, что зазоры между кольцами износостойкой вставки образованы за счет шероховатости их торцевых поверхностей.
3. Нижний оголовок по п.1, отличающийся тем, что патрубок для подачи напорной воды имеет боковые и/или торцевые гидромониторные насадки.
РИСУНКИ
PC4A – Регистрация договора об уступке патента Российской Федерации на изобретение
(73) Патентообладатель(и):
Бабичев Николай Игоревич, Дворовенко Александр Евгеньевич, Фильчуков Александр Юрьевич
(73) Патентообладатель:
Общество с ограниченной ответственностью “Научно-производственный центр “Геотехнология”
Дата и номер государственной регистрации перехода исключительного права: 28.01.2008 № РД0031856
Извещение опубликовано: 10.03.2008 БИ: 07/2008
|
|