|
(21), (22) Заявка: 2003136685/03, 19.12.2003
(24) Дата начала отсчета срока действия патента:
19.12.2003
(43) Дата публикации заявки: 27.05.2005
(45) Опубликовано: 20.03.2006
(56) Список документов, цитированных в отчете о поиске:
US Re35454 A, 18.02.1997. RU 2149991 C1, 27.05.2000. RU 2000118566 A, 20.06.2002. RU 2191261 C1, 20.10.2002. RU 2183256 C2, 10.06.2002. US 6382317 A, 07.05.2002.
Адрес для переписки:
127018, Москва, ул. Складочная, 6, Филиал компании “ЦРНО”, начальнику патентно-лицензионного отдела пат.пов. В.Д.Саковичу
|
(72) Автор(ы):
Ямлиханов Рамиль Гайнутдинович (RU)
(73) Патентообладатель(и):
ЦЕНТР РАЗРАБОТКИ НЕФТЕДОБЫВАЮЩЕГО ОБОРУДОВАНИЯ” (“ЦРНО”) (SC)
|
(54) СПОСОБ ОЧИСТКИ СКВАЖИННОЙ ЖИДКОСТИ ОТ КРУПНОДИСПЕРСНЫХ ЧАСТИЦ И УСТРОЙСТВО ДЛЯ ЕГО ОСУЩЕСТВЛЕНИЯ
(57) Реферат:
Изобретение относится к области нефтедобывающей техники, в частности к способам и устройствам для очистки скважинной жидкости от механических примесей, в том числе разной дисперсности, и может применяться в скважинах с повышенным содержанием механических примесей. Обеспечивает повышение надежности и увеличение срока службы погружного насоса в скважинах с повышенным содержанием механических примесей за счет уменьшения износа его деталей, работающих в режиме трения, и исключения засорения зумпфа скважины механическими примесями. Сущность изобретения: способ заключается в том, что от входящего потока перекачиваемой скважинной жидкости отделяют крупнодисперсные частицы, после чего отделенные крупнодисперсные частицы измельчают и после измельчения выводят в затрубное пространство. Для этого применяют устройство, которое содержит вал, корпус с входными и выходными отверстиями, средство для отделения частиц и измельчающее устройство, имеющее возможность вывода измельчаемых частиц в затрубное пространство. При этом измельчающее устройство выполнено в виде установленного на валу подвижного измельчающего элемента и установленного в корпусе неподвижного измельчающего элемента, имеющих возможность взаимодействия при вращении вала. 2 н. и 8 з.п. ф-лы, 2 ил. 
Область техники
Изобретение относится к области нефтедобывающей промышленности, в частности к способам и устройствам для очистки скважинной газожидкостной смеси от механических примесей на входе в погружной центробежный насос, и может применяться в скважинах с повышенным содержанием механических примесей.
Уровень техники
Известно “Устройство для очистки скважинной газожидкостной смеси”, в котором осуществляют отделение твердых частиц от потока жидкости, после чего отделяемые частицы улавливаются и осаждаются в “карманах-мешках” направляющих аппаратов (см. патент RU 2149991, опубл.27.05.2000, кл. Е 21 В 43/38).
Недостатком осуществляемого устройством способа является отсутствие возможности вывода отделенных частиц в затрубное пространство. Осаждение отделяемых частиц в специальных емкостях – “карманах-мешках” требует осуществления дополнительных мероприятий по удалению накопившихся шламов по мере заполнения этих емкостей, например промывку.
Также из уровня техники известны “Устройство и способ отделения твердых частиц от жидкостей”, которые по совокупности существенных признаков и достигаемому техническому результату могут быть приняты в качестве ближайших аналогов заявляемых способа и устройства.
Известный способ заключается в том, что отделение частиц осуществляют путем поворота потока перекачиваемой скважинной жидкости, а реализующее этот способ устройство состоит из корпуса с входными отверстиями и средства для отделения частиц, выполненного в виде неподвижной гильзы (см. патент US Re35454, опубл.18.02.1997, кл. Е 01 В 43/38).
Недостатком данного способа и реализующего его устройства является то, что отделенные твердые частицы накапливаются в нижней части устройства, что требует проведение дополнительных технологических работ по их удалению из накопительной емкости по мере ее заполнения. Несвоевременное проведение таких работ может привести к тому, что накопившиеся в нижней части устройства механические примеси могут попадать обратно в зону отделения и вместе с потоком перекачиваемой жидкости попадать в полость насоса.
Присутствие механических примесей, в частности крупнодисперсных частиц, в потоке перекачиваемой жидкости резко повышает износ деталей, работающих в режиме трения, приводит к резкому снижению надежности работы насоса и, в конечном счете, к аварии, усложняет обслуживание и эксплуатацию скважин.
В погружном центробежном насосе для добычи нефти в первую очередь изнашиваются поверхности трения осевых и радиальных опор, в том числе осевых опор рабочих колес и радиальных межступенных уплотнений, а также поверхности каналов, контактирующих с потоком перекачиваемой жидкости. Причем износ, например, поверхностей трения осевых опор рабочих колес происходит неравномерно по всем ступеням. Наибольшему износу подвергаются поверхности трения осевых опор рабочих колес первых ступеней по ходу перекачиваемой жидкости. Далее поверхности трения подвергаются меньшему износу, поскольку механические примеси, содержащиеся в перекачиваемой жидкости, уже измельчились на предыдущих ступенях, а именно содержание крупнодисперсных частиц в потоке перекачиваемой жидкости в наибольшей степени влияет на износ деталей погружного насоса
Раскрытие изобретения
Задача, на решение которой направлено изобретение, состоит в исключении попадания крупнодисперсных частиц механических примесей в полость погружного центробежного насоса при перекачивании скважинной жидкости и исключении повторной сепарации выведенных во внешний поток частиц.
Технический результат, достигаемый при осуществлении заявленного изобретения, заключается в повышении надежности работы погружного центробежного насоса, уменьшении износа его деталей, работающих в режиме трения, повышении срока службы насоса в скважинах с повышенным содержанием механических примесей, повышении технологичности процесса выведения отделяемых частиц, позволяющего проводить удаление механических примесей без проведения дополнительных технологических работ, исключении засорения зумпфа скважины.
Указанный технический результат заявленным способом достигается за счет того, что после поворота потока перекачиваемой скважинной жидкости и отделения крупнодисперсных частиц под действием гравитационных сил их измельчают и после измельчения выводят в затрубное пространство.
Для повышения эффективности отделения крупнодисперсных частиц за счет использования центробежных сил, в частном случае реализации способа, поток перекачиваемой скважинной жидкости перед ее поворотом предварительно раскручивают. Таким образом, используются два способа отделения частиц – гравитационный и центробежный.
Отличительные особенности заявленного изобретения заключаются в выведении в затрубное пространство измельченных после отделения частиц.
Постоянное выведение отделенных частиц в затрубное пространство не требует создания в устройстве для отделения частиц дополнительных накопителей (шламосборников), в которых обычно происходит накопление отделенных частиц, и, следовательно отсутствует необходимость проведения технологических работ по удалению из них накопившихся частиц.
Измельчение отделенных частиц позволяет исключить их повторную сепарацию, т.к. измельченные до определенных размеров частицы, выведенные в затрубное пространство, повторно поступая с перекачиваемой жидкостью в устройство для очистки, уже не отделяются, поскольку их размеры малы, а поступают непосредственно в полость насоса. Кроме того, измельчение отделенных частиц исключает возможность их осаждения в зумпфе скважины и, следовательно, его засорение, которое может привести к перекрытию зоны перфорации скважины и прекращению подачи нефти. Таким образом исключается необходимость в периодической очистке зумпфа скважины, которая требует проведение дополнительных технологических мероприятий, включая подъем насосной установки, что снижает производительность скважины.
Указанный технический результат заявленным устройством достигается за счет того, что устройство для очистки скважинной жидкости от крупнодисперсных частиц, содержащее вал, корпус с входными отверстиями и средство для отделения частиц, снабжено измельчающим устройством, выполненным в виде установленного на валу подвижного измельчающего элемента и установленного в корпусе неподвижного измельчающего элемента, имеющих возможность взаимодействия при вращении вала и вывода измельченных частиц в затрубное пространство через выходные отверстия, выполненные в корпусе.
Отличительной особенностью заявляемого устройства является то, что устройство снабжено измельчающим устройством с возможностью вывода измельченных частиц во внешний поток через выходные отверстия, выполненные в корпусе.
Непрерывное измельчение и вывод частиц исключает возможность их накопления в устройстве и не требует проведение технологических работ по их удалению.
В первом варианте реализации изобретения средство для отделения частиц выполнено в виде неподвижной гильзы.
Во втором варианте реализации изобретения, для повышения эффективности отделения частиц, средство для отделения частиц выполнено в виде гильзы с профилированными лопатками, размещенными на ее наружной поверхности, которая установлена на валу с возможностью вращения относительно корпуса.
Кроме того, в частном случае реализации изобретения целесообразно дополнительное снабжение устройства шнеком, установленным на валу и расположенным внутри гильзы.
В частном случае реализации изобретения корпус может быть снабжен защитной сеткой, установленной в зоне входных отверстий для исключения попадания наиболее крупных механических примесей.
Также целесообразно выполнение внутренней стенки корпуса с износостойким покрытием.
В частном случае реализации изобретения целесообразно расположение вала в радиальных подшипниках, а для снижения влияния вибрации измельчающего устройства на работу насоса целесообразно выполнение радиальных подшипников демпфированными.
При проведении поиска по патентным и научно-техническим источникам информации не обнаружено решений, содержащих всей совокупности признаков независимых пунктов формулы изобретения, что позволяет сделать вывод о соответствии заявляемого решения критерию “новизна”, также не обнаружено решений, содержащих всю совокупность признаков отличительной части независимых пунктов формулы изобретения, что позволяет сделать вывод о соответствии заявленного решения критерию “изобретательский уровень”.
Осуществление изобретения
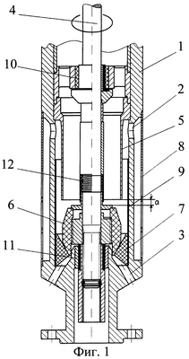
Фиг.1 – устройство для очистки скважинной жидкости от крупнодисперсных частиц.
Фиг.2 – устройство для очистки скважинной жидкости от крупнодисперсных частиц (вариант).
Устройство для очистки скважинной жидкости (фиг.1) содержит корпус (1) с входными отверстиями (2) для прохода скважинной жидкости и выходными отверстиями (3) для вывода измельченных частиц в затрубное пространство. В корпусе (1) установлены вал (4), средство для отделения частиц, представляющее собой гильзу (5), и измельчающее устройство, состоящее из подвижного измельчающего элемента (6), расположенного на валу, и неподвижного измельчающего элемента (7), установленного в корпусе. Измельчающее устройство расположено в корпусе с возможностью вывода измельчаемых частиц через выходные отверстия (3). Корпус (1) снабжен защитной сеткой (8), установленной в зоне входных отверстий и предназначенной для предотвращения попадания в полость устройства наиболее крупных механических примесей. Внутренняя стенка корпуса выполнена с износостойким покрытием (9). Вал (4) вращается в нижнем радиальном подшипнике (11) и верхнем радиальном подшипнике (10). Для снижения вибрации, которая может возникать при работе измельчителя, подшипники могут быть выполнены демпфированными. Для компенсации зазора в измельчающем устройстве на валу установлена пружина (12), воздействующая на подвижный измельчающий элемент (6).
По одному из вариантов выполнения устройства (фиг.2) оно может быть снабжено установленным на валу шнеком (14), а средство для отделения частиц может быть выполнено в виде гильзы (5) с профилированными лопатками (13), установленной на валу с возможностью вращения относительно корпуса (1).
Работа устройства для очистки скважинной жидкости, изображенного на фиг.1, осуществляется следующим образом.
Поток перекачиваемой скважинной жидкости, содержащий механические примеси разной дисперсности, непрерывно поступает в устройство для очистки через входные отверстия (2) в корпусе (1), при этом наиболее крупные частицы задерживаются защитной сеткой (8). Затем поток проходит вдоль неподвижной гильзы (5) и поворачивается на 180°. При повороте происходит отделение крупнодисперсных частиц за счет гравитационных сил, и эти частицы осаждаются в измельчающем устройстве.
Размер отделяемых частиц определяется скоростью потока и величиной проходного сечения (а). Величину проходного сечения можно регулировать путем выбора гильзы (5) определенной длины. Таким образом, устройство можно применять для скважин с различным содержанием механических примесей.
Попав в измельчающее устройство, крупнодисперсные частицы проходят между подвижным измельчающим элементом (6), вращающимся вместе с валом (4), и неподвижным элементом (7), установленным в корпусе (1). При этом они измельчаются и после измельчения выводятся в затрубное пространство через выходные отверстия (3). Поток скважинной жидкости, очищенной от крупнодисперсных частиц, поступает дальше по рабочим органам устройства для очистки скважинной жидкости в полость насоса.
Измельчение отделенных частиц осуществляется до такой степени дисперсности, которая необходима для того, чтобы, во-первых, при выходе в затрубное пространство они не осаждались в зумпфе скважины, а уносились вешним потоком обратно на вход, а во-вторых, не подвергались повторному отделению и не влияли на работу насоса.
Работа устройства для очистки скважинной жидкости, изображенного на фиг.2, осуществляется аналогичным образом, но для повышения эффективности отделения крупнодисперсных частиц перед поворотом поток перекачиваемой скважинной жидкости предварительно раскручивают для создания центробежных сил.
Это происходит за счет того, что, поступая через входные отверстия (2), поток входящей жидкости подается на профилированные лопатки (13) гильзы (5), которая вращается вместе с валом (4). При этом часть крупнодисперсных частиц под действием центробежных сил отбрасывается к стенкам корпуса (1) и осаждается в измельчающем устройстве. Пройдя вдоль гильзы (5), поток поворачивается на 180°. При этом происходит отделение оставшейся части крупнодисперсных частиц за счет гравитационных сил, и эти частицы также осаждаются в измельчающем устройстве.
После поворота поток скважинной жидкости, очищенной от крупнодисперсных частиц, проходит через шнек (14) и поступает дальше по устройству для очистки скважинной жидкости в полость насоса. Наличие шнека (14) создает дополнительный напор, который компенсирует гидравлические потери, связанные с прохождением потока через устройство для очистки скважинной жидкости, тем самым улучшая условия входа потока в насос.
Таким образом, при реализации заявляемого изобретения исключается возможность попадания крупнодисперсных частиц в погружной насос. Измельченные до определенных размеров и выведенные в затрубное пространство частицы затем свободно поступают в полость насоса с потоком скважинной жидкости и не влияют на работоспособность насоса. За счет исключения попадания крупнодисперсных частиц в полость насоса повышается надежность его работы в скважинах с повышенным содержанием механических примесей, уменьшается износ деталей, работающих в режиме трения, повышается срок службы насоса.
Наличие операций измельчения и вывода отделяемых частиц в затрубное пространство исключает необходимость накопления отделенных частиц в дополнительной емкости (шламосборнике), а также отсутствует необходимость проведения технологических работ по очистке шламосборника.
В основном в приемное устройство насоса будут попадать частицы, увлекаемые потоком жидкости, поднимающейся по затрубному пространству снизу вверх. Увлекаться потоком вверх могут только частицы, для которых гидравлическое сопротивление (сила Стокса Fc) превышает вес частицы в жидкости G. Поскольку сила Стокса пропорциональна среднему диаметру частицы, а вес – диаметру в кубе, то после уменьшения размера частицы, например, в 2 раза Fc уменьшится также в 2 раза, а вес в 8 раз, таким образом гарантируется унос измельчаемых частиц, выведенных в затрубное пространство потоком жидкости, тем самым исключается их осаждение в зумпфе скважины и накопление.
Предложение соответствует критерию “промышленная применимость”, поскольку реализацию заявленного способа и устройства возможно осуществить с использованием известных средств и методов.
Формула изобретения
1. Способ очистки скважинной жидкости от крупнодисперсных частиц на входе в погружной центробежный насос, заключающийся в том, что отделение частиц осуществляют путем поворота потока перекачиваемой скважинной жидкости, отличающийся тем, что после отделения крупнодисперсные частицы измельчают и после измельчения выводят в затрубное пространство.
2. Способ по п.1, отличающийся тем, что поток перекачиваемой скважинной жидкости перед ее поворотом предварительно раскручивают.
3. Устройство для очистки скважинной жидкости от крупнодисперсных частиц на входе в погружной центробежный насос, содержащее вал, корпус с входными отверстиями и средство для отделения частиц, отличающееся тем, что оно снабжено измельчающим устройством, выполненным в виде установленного на валу подвижного измельчающего элемента и установленного в корпусе неподвижного измельчающего элемента, имеющих возможность взаимодействия при вращении вала и вывода измельченных частиц в затрубное пространство через выходные отверстия, выполненные в корпусе.
4. Устройство по п.3, отличающееся тем, что средство для отделения частиц выполнено в виде неподвижной гильзы.
5. Устройство по п.3, отличающееся тем, что средство для отделения частиц выполнено в виде поворотной гильзы с лопатками.
6. Устройство по п.5, отличающееся тем, что оно дополнительно снабжено шнеком, установленным на валу и расположенным внутри гильзы.
7. Устройство по п.3, отличающееся тем, что корпус дополнительно снабжен защитной сеткой, установленной в зоне входных отверстий.
8. Устройство по п.3, отличающееся тем, что внутренняя стенка корпуса выполнена с износостойким покрытием.
9. Устройство по п.3, отличающееся тем, что вал установлен в радиальных подшипниках.
10. Устройство по п.9, отличающееся тем, что радиальные подшипники выполнены демпфированными.
РИСУНКИ
|