|
|
(21), (22) Заявка: 2004123234/15, 29.07.2004
(24) Дата начала отсчета срока действия патента:
29.07.2004
(45) Опубликовано: 20.03.2006
(56) Список документов, цитированных в отчете о поиске:
RU 2124551 C1, 10.01.1999. RU 2037457 C1, 19.06.1995. RU 2090512 C1, 20.09.1997.
Адрес для переписки:
105318, Москва, ул. Вельяминовская, 6, корп.1, кв.273, А.В. Коссу
|
(72) Автор(ы):
Косс Александр Владимирович (RU), Пензин Роман Андреевич (RU), Наумова Марина Вячеславовна (RU)
(73) Патентообладатель(и):
Пензин Роман Андреевич (RU)
|
(54) УСТАНОВКА И СПОСОБ ДЛЯ ОБРАБОТКИ УГЛЕВОДОРОДНОЙ ЖИДКОСТИ
(57) Реферат:
Изобретение относится к области обработки углеводородных жидкостей (масла, нефти, битумы и т.д.) и предназначено для очистки, осушки и дегазации упомянутых жидкостей путем разделения фаз. Установка содержит два контура, соединенных парогазовым трубопроводом с запорно-регулирующими устройствами. Каждый контур содержит сверхзвуковой жидкостно-газовый эжектор, установленный приемной камерой вверх. Приемная камера эжектора первого контура оборудована трубкой подачи обрабатываемой среды, установленной по оси камеры. Приемная камера эжектора второго контура, предназначенного для вакуумирования первого, оборудована по оси камеры трубкой подачи рабочей жидкости. Парогазовый трубопровод непосредственно связывает приемные камеры первого и второго контуров. Один из контуров содержит циркуляционную магистраль и бак для циркулирующей жидкости, снабженный в нижней части теплообменником. Подогретая углеводородная жидкость под давлением подается к сопловому блоку эжектора первого контура с образованием в камере смешения эжектора сверхзвуковой двухфазной смеси жидкости и выделившихся из нее газов и паров. Изобретение позволяет повысить эффективность работы установки с обеспечением высокой степени дегазации и/или осушки углеводородных жидкостей. 2 н. 6 з.п. ф-лы, 2 ил. 
Изобретение относится к области обработки углеводородных жидкостей, таких как масла (моторные, трансформаторные и турбинные), топлива (керосин, солярка и мазут), нефти, битума и т.д., и предназначено для очистки, осушки и дегазации упомянутых жидкостей путем разделения фаз.
Известен способ и устройство для вакуумной очистки масел и гидрожидкостей (RU 2124551, 10.01.1999, см. колонку 5 описания). Однако известные вакуумные устройства малоэффективны.
Наиболее близким по технической сущности и достигаемому результату являются способ и установка для обработки углеводородной жидкости, в частности трансформаторных масел и гидрожидкостей, описанные в патенте RU 2124551, 1999.
Известная установка содержит два контура, соединенные последовательно парогазовым трубопроводом с запорно-регулирующими устройствами, каждый из которых содержит сверхзвуковой жидкостно-газовый эжектор, установленный приемной камерой вверх, при этом приемная камера эжектора первого контура оборудована трубкой подачи обрабатываемой среды, установленной по оси камеры, а приемная камера эжектора второго контура, предназначенного для вакуумирования первого, оборудована трубкой подачи рабочей жидкости. Установка содержит циркуляционную магистраль с баком циркулирующей жидкости, магистраль обрабатываемой жидкости с соответствующим баком и насосы, при этом соединительный парогазовый трубопровод связывает бак обрабатываемой жидкости и приемную камеру эжектора второго контура.
Известный способ предусматривает способ очистки углеводородной жидкости в два этапа: сначала удаление воды, а затем удаление растворенных газов и воздуха в установке с последовательно соединенными сверхзвуковыми эжекторами.
На первом этапе эжектируют исходной жидкостью атмосферный воздух и смешивают их при обеспечении соотношения суммарного массового расхода подсосанного воздуха, выделившихся из исходной жидкости газа и водяного пара к массовому расходу этой жидкости от 0.00001 до 0.005. При этом обеспечивают скорость исходной жидкости не менее 30 м/с и ее температуру больше температуры, при которой давление насыщения удаляемой воды оказывается равным минимальному абсолютному давлению, создаваемому этой жидкостью без натекания атмосферного воздуха.
На втором этапе прекращают подачу атмосферного воздуха к исходной жидкости при сохранении скорости исходной жидкости при сохранении значений скорости исходной жидкости и температуры, указанных в первом этапе.
Недостатками изобретения по RU 2124551 являются отсутствие режима непрерывной обработки жидкости, недостаточная эффективность дегазации и необходимость в подсосе окружающего воздуха для уноса паров, что снижает КПД установки.
Задачей настоящего изобретения является повышение эффективности работы установки с обеспечением высокой степени дегазации и/или осушки углеводородных жидкостей.
Поставленная задача решается описываемой установкой для обработки углеводородной жидкости, содержащей два контура, соединенных парогазовым трубопроводом с запорно-регулирующими устройствами, который непосредственно связывает приемные камеры эжекторов первого и второго контуров, каждый из контуров содержит сверхзвуковой жидкостно-газовый эжектор, установленный вертикально приемной камерой вверх, при этом приемная камера эжектора первого контура оборудована трубкой подачи обрабатываемой среды, установленной по оси камеры, а приемная камера эжектора второго контура, предназначенного для вакуумирования первого, оборудована по оси камеры трубкой подачи рабочей жидкости, циркуляционную магистраль, бак для циркулирующей жидкости, снабженный в нижней части теплообменником.
Предпочтительно длина приемной камеры эжектора, предназначенного для обрабатываемой среды, не менее чем в три раза превышает ее внутренний диаметр, а внутренний диаметр упомянутой приемной камеры не менее чем в три раза превышает наружный диаметр трубки подачи обрабатываемой среды.
Предпочтительно длина конфузора эжектора, предназначенного для обрабатываемой среды, равна 0,5-5 диаметрам камеры смешения эжектора, при этом конфузор, предпочтительно выполнен из двух конусообразных частей, первая часть с углом раскрытия 90-120°, а вторая с углом раскрытия 90-30°.
Преимущественно диаметр соединительного парогазового трубопровода в местах соединения с приемными камерами эжекторов равен не менее 0,5 диаметра приемной камеры эжектора, предназначенного для вакуумирования, а площадь проходного сечения парогазового трубопровода не менее чем в 10 раз превышает площадь кольцевого зазора между трубкой подачи рабочей среды и стенкой приемной камеры эжектора, предназначенного для вакуумирования, при этом расстояние от соплового блока упомянутого эжектора до его камеры смешения не превышает 5 диаметров камеры смешения.
В предпочтительном варианте теплообменник бака для циркулирующей жидкости выполнен в виде холодильной машины, охлаждающий радиатор которой предназначен для охлаждения циркулирующей жидкости, а радиатор сброса тепла связан с трубопроводом подачи обрабатываемой среды.
Поставленная задача решается также описываемым способом обработки углеводородной жидкости, предусматривающим ее осушку и/или дегазацию, который включает подачу жидкости под давлением к сопловому блоку эжектора первого контура с образованием в камере смешения эжектора сверхзвуковой двухфазной смеси жидкости и выделившихся из нее газов и паров и с вакуумированием первого контура за счет использования сверхзвукового эжектора второго контура, проведенные в установке, описанной выше.
Предпочтительно обрабатываемую жидкость подают под давлением, обеспечивающим безотрывное течение сверхзвуковой двухфазной смеси в камере смешения эжектора первого контура при вакуумировании приемной камеры упомянутого эжектора.
Предпочтительно также обрабатываемую жидкость подают при температуре обрабатываемой жидкости, превышающей температуру рабочей жидкости второго контура на величину, обеспечивающую не менее чем двукратное превышение давления кипения обрабатываемой жидкости над давлением кипения рабочей жидкости.
Как видно из вышеприведенной совокупности признаков, два эжектора в заявленной установке соединены не последовательно, как в прототипе, а параллельно, что и позволяет обеспечить решение поставленной задачи. Что же касается оптимальной конструкции используемых эжекторов, их размеров и параметров работы, то они найдены расчетно-экспериментальным путем и обеспечивают максимально высокую эффективность во всем заявленном интервале конкретных величин.
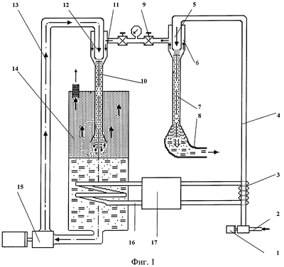
На фигуре 1 представлена схема заявленной установки, где 1 – насос для подачи обрабатываемой жидкости в первый контур; 2 – магистраль подвода обрабатываемой жидкости; 3 – радиатор сброса тепла теплообменного устройства; 4 – трубопровод подачи обрабатываемой жидкости к эжектору первого контура; 5 – трубка подачи жидкости в приемную камеру эжектора первого контура; 6 – приемная камера эжектора первого контура; 7 – камера смешения эжектора первого контура; 8 – магистраль отвода обработанной жидкости; 9 – парогазовый трубопровод с запорно-регулирующими устройствами; 10 – камера смешения эжектора второго контура; 11 – приемная камера эжектора второго контура; 12 – трубка подачи рабочей жидкости; 13 – циркуляционная магистрали; 14 – бак циркулирующей жидкости; 15 – насос для циркулирующей жидкости; 16 – теплообменник (охлаждающий радиатор); 17 – холодильная машина.
На фигуре 2 представлена схема эжектора первого контура, где длина приемной камеры эжектора 6 не менее чем в три раза превышает ее внутренний диаметр; внутренний диаметр приемной камеры эжектора не менее чем в три раза превышает наружный диаметр трубки подачи обрабатываемой среды 5; длина конфузора эжектора, состоящего из двух конусообразных частей, первая часть 18, а вторая 19 составляет 0,5÷5 диаметра камеры смешения эжектора 7; конфузор предпочтительно выполнен из двух конусообразных частей, первая часть 18 с углом раскрытия 1=90-120°, а вторая 19 с углом раскрытия 2=90-30°; диаметр парогазового трубопровода 9 в месте соединения с приемной камерой эжектора равен не менее 0,5 диаметра приемной камеры эжектора; расстояние от трубки подачи обрабатываемой среды 5 до камеры смешения 7 не превышает 5 диаметров камеры смешения.
Работа устройства при осушке и дегазации углеводородных жидкостей с производительностью до 1 г/с по удаляемой из этой жидкости воды и растворенных газов может быть продемонстрирована на примере осушки и дегазации трансформаторного масла (см. фиг.1). В установке, работа которой описана ниже, для первого контура использован эжектор, имеющий следующие размеры: внутренний диаметр приемной камеры эжектора D=40 мм; длина приемной камеры эжектора L=120 мм; длина конфузора, состоящего из двух частей, равна l=20 мм, причем первая образующая конфузора наклонена под углом 45° к его оси, а вторая образующая под углом 15°; диаметр (d) парогазового трубопровода в месте соединения с приемной камерой эжектора равен 20 мм; расстояние от трубки подачи обрабатываемой среды до камеры смешения эжектора равно 10 мм.
В первом контуре подогретое масло с температурой не менее 48°С (Ps=82 мм рт.ст) и давлением не ниже атмосферного поступает в электронасос 1 из магистрали подвода обрабатываемой жидкости 2. Насос повышает давление масла до 8 ата, после чего оно подогревается теплообменным устройством 3 и поступает к трубке подачи жидкости в приемную камеру эжектора первого контура, 5 из которого впрыскивается в камеру смешения эжектора 7. При этом в приемной камере 6 эжектора первого контура поддерживается низкое давление за счет работы второго контура, связанного с первым парогазовым трубопроводом 9. Таким образом, масло на выходе из трубки подачи обрабатываемой жидкости в приемную камеру эжектора первого контура попадает в зону низкого давления и мгновенно вскипает, что приводит к образованию двухфазной паро-газожидкостной смеси. Эта смесь является сверхзвуковой и после ее торможения (восстановления давления) в расширяющемся диффузоре эжектора первого контура отводится в магистраль отвода обработанной жидкости 8 под давлением выше атмосферного (Ро.вых 0,15 МПа).
Во второй контур предварительно заливается масло с температурой не более 35°С (Ps=41 мм рт.ст.). Это масло циркулирует по замкнутому контуру от насоса циркулирующей жидкости 15 по циркуляционной магистрали 13 к трубке подачи рабочей жидкости 12, затем в приемную камеру эжектора второго контура 11 и через камеру смешения эжектора второго контура 10 в бак циркулирующей жидкости 14, после которого опять к электронасосу 15. При этом в приемной камере второго эжектора 11 создается вакуум, соответствующий давлению, при котором закипает вода, попавшая в масло второго контура из первого. В данном случае это давление Ps=41 мм рт.ст., соответствующее температуре масла 35°С.
Парогазовый трубопровод обеспечивает перетекание парогазовой смеси из первого контура во второй, т.к. в приемной камере 6 эжектора первого контура минимальное абсолютное давление, которое может быть достигнуто, соответствует Ps=82 мм рт.ст. (tж=48°С), а в приемной камере эжектора второго контура 11 это давление соответствует Ps=41 мм рт.ст. (tж=35°С). При этом возникает критический перепад давлений, который способен обеспечить течение парогазовой смеси от первого контура ко второму со скоростью звука (ап=410 м/с). Организация сверхзвукового течения в трубопроводе недопустима из-за возникновения неоправданных потерь полного давления и снижения расхода парогазовой смеси. Поэтому необходимо обеспечить течение по парогазовому трубопроводу смеси с максимально возможной плотностью и минимальной скоростью, а критический перепад реализовать в самом узком сечении, образованном внутренней поверхностью конфузора эжектора второго контура и наружной поверхностью трубки подачи рабочей жидкости. В рассматриваемом случае диаметр приемной камеры эжектора второго контура составляет 40 мм, диаметр парогазового трубопровода составляет 20 мм и площадь кольцевого зазора составляет fmin=0,54 см2. При этом от приемной камеры смешения 6 первого эжектора до этого минимального сечения, где течет парогазовая смесь с давлением Ps=82 мм рт. ст.
В результате обработки трансформаторного масла получено:
влагосодержание по РД 34.43.107-97, не более 10 г/т; общее газосодержание по РД34.45-107-95 не более 2%.
Аналогично был проведен процесс осушки – дегазации керосина, имеющего более низкую температуру кипения по сравнению с водой.
Изобретение было опробовано и на других исходных жидкостей и обеспечило высокую степень дегазации и/или осушку различных углеводородных жидкостей.
Формула изобретения
1. Установка для обработки углеводородной жидкости, содержащая два контура, соединенные парогазовым трубопроводом с запорно-регулирующими устройствами, каждый из которых содержит сверхзвуковой жидкостно-газовый эжектор, установленный вертикально приемной камерой вверх, при этом приемная камера эжектора первого контура оборудована трубкой подачи обрабатываемой среды, установленной по оси камеры, а приемная камера эжектора второго контура, предназначенного для вакуумирования первого, оборудована по оси камеры трубкой подачи рабочей жидкости, один из контуров содержит циркуляционную магистраль и бак для циркулирующей жидкости, отличающаяся тем, что парогазовый трубопровод непосредственно связывает приемные камеры эжекторов первого и второго контуров, а бак для циркулирующей жидкости снабжен в нижней части теплообменником.
2. Установка по п.1, отличающаяся тем, что длина приемной камеры эжектора, предназначенного для обрабатываемой среды, не менее чем в три раза превышает ее внутренний диаметр, а внутренний диаметр упомянутой приемной камеры не менее чем в три раза превышает наружный диаметр трубки подачи обрабатываемой среды.
3. Установка по п.1, отличающаяся тем, что длина конфузора эжектора, предназначенного для обрабатываемой среды, равна 0,5-5 диаметрам камеры смешения эжектора, при этом конфузор предпочтительно выполнен из двух конусообразных частей, первая часть с углом раскрытия 90-120°, а вторая с углом раскрытия 90-30°.
4. Установка по п.1, отличающаяся тем, что диаметр соединительного парогазового трубопровода в местах соединения с приемными камерами эжекторов равен не менее 0,5 диаметра приемной камеры эжектора, предназначенного для вакуумирования, а площадь проходного сечения парогазового трубопровода не менее чем в 10 раз превышает площадь кольцевого зазора между трубкой подачи рабочей среды и стенкой приемной камеры эжектора, предназначенного для вакуумирования, при этом расстояние от соплового блока упомянутого эжектора до его камеры смешения не превышает 5 диаметров камеры смешения.
5. Установка по п.1, отличающаяся тем, что теплообменник бака для циркулирующей жидкости выполнен в виде холодильной машины, охлаждающий радиатор которой предназначен для охлаждения циркулирующей жидкости, а радиатор сброса тепла связан с трубопроводом подачи обрабатываемой среды.
6. Способ обработки углеводородной жидкости, предусматривающий ее осушку и/или дегазацию, включающий подачу жидкости под давлением к сопловому блоку эжектора первого контура с образованием в камере смешения эжектора сверхзвуковой двухфазной смеси жидкости и выделившихся из нее газов и паров и вакуумирование первого контура за счет использования сверхзвукового эжектора второго контура, отличающийся тем, что способ осуществляют в установке, охарактеризованной в пп.1-5.
7. Способ по п.6, отличающийся тем, что обрабатываемую жидкость подают под давлением, обеспечивающим безотрывное течение сверхзвуковой двухфазной смеси в камере смешения эжектора первого контура при вакуумировании приемной камеры упомянутого эжектора.
8. Способ по п.6, отличающийся тем, что обрабатываемую жидкость подают при температуре обрабатываемой жидкости, превышающей температуру рабочей жидкости второго контура на величину, обеспечивающую не менее чем двукратное превышение давления кипения обрабатываемой жидкости над давлением кипения рабочей жидкости.
РИСУНКИ
|
|