|
|
(21), (22) Заявка: 2004113914/04, 05.05.2004
(24) Дата начала отсчета срока действия патента:
05.05.2004
(43) Дата публикации заявки: 20.10.2005
(45) Опубликовано: 20.03.2006
(56) Список документов, цитированных в отчете о поиске:
Лобков А.М. Сбор и обработка нефти и газа на промысле. – М.: Недра, 1968, с.90-91. Лобков А.М. Сбор и обработка нефти и газа на промысле. – М.: Недра, 1968, с.103-120. RU 2043781 C1, 20.09.1995. RU 2152241 C1, 10.07.2000. RU 2118649 С1, 10.09.1998. GB 855839 A, 07.12.1960.
Адрес для переписки:
450105, г.Уфа, а/я 85, ул. Гагарина, 40, кв.336, Р.Р. Ахсанову
|
(72) Автор(ы):
Ахсанов Ренат Рахимович (RU), Андрианов Вячеслав Михайлович (RU), Рамазанов Наиль Рашитович (RU), Мурзагильдин Зиннат Гарифович (RU), Дальнова Ольга Александровна (RU)
(73) Патентообладатель(и):
Андрианов Вячеслав Михайлович (RU)
|
(54) СПОСОБ УДАЛЕНИЯ И НЕЙТРАЛИЗАЦИИ СЕРОВОДОРОДА И МЕРКАПТАНОВ И УСТАНОВКА ДЛЯ ЕГО ОСУЩЕСТВЛЕНИЯ
(57) Реферат:
Изобретение относится к нефтяной и газовой промышленности и может быть использовано в нефтедобыче и нефтепереработке для удаления сероводорода и меркаптанов, содержащихся в нефти, газовом конденсате и нефтепродуктах с их последующей нейтрализацией. Способ выделения сероводорода и меркаптанов осуществляют путем непосредственного нагрева продукции нефтяных скважин в гидроциклоне, а выделенные газы вместе с парогазовой смесью обрабатывают избирательным по отношению к сероводороду и меркаптанам реагентом – водным раствором 1-гидрокси-2-[1,3-оксазетидин]-3-ил-этана общей формулы С4Н9O2N, охлаждают при температуре не выше 15°С и сепарируют при давлении не менее 1,3 ати. Описана также установка для реализации этого способа, включающая успокоительный коллектор, депульсатор, сепараторы, гидроциклон, конденсатор-холодильник, бензосепаратор, насосы откачки, буферную емкость и резервуары, причем емкость-накопитель очищенного продукта снабжена обогреваемым гидроциклоном с уменьшающимся углом конусности, а выход парогазовой линии из нее соединяется с бензосепаратором, снабженным массообменной объемной насадкой. Использование изобретения позволяет значительно улучшить качество продукции скважин и сократить потери исходного сырья. 2 н.п. ф-лы, 3 ил. 
Предлагаемое изобретение относится к подготовке продукции нефтяных и газоконденсатных месторождений и может быть использовано преимущественно для удаления сероводорода и меркаптанов, содержащихся в нефти, газовом конденсате и нефтепродуктах с их последующей нейтрализацией.
Известны технологические процессы для удаления сероводорода и меркаптанов из нефти и газа методами адсорбции твердым веществом и абсорбции жидкостью (см. А.М.Лобков. Сбор и обработка нефти и газа на промысле. Недра. М., 1968, С.90-91 [1]).
Для нейтрализации сероводорода используют различного рода установки (см., например, А.М.Лобков. Сбор и обработка нефти и газа на промысле. Недра. М., 1968, с.103-120 [1]), содержащие абсорбер, емкость – каплеуловитель, конденсатор – холодильник, сепаратор, резервуар и насос. В качестве нейтрализатора сероводорода и меркаптанов применяют щелочи (как правило, NaOH), подаваемые в щелочные емкости при температуре подготовки нефти.
Недостаток – недостаточно качественная очистка нефти от сероводорода и меркаптанов и их нейтрализация.
Цель изобретения – повышение эффективности очистки нефти от сероводорода и меркаптанов путем интенсификации процесса, а также их нейтрализация и комплексная утилизация углеводородных газов.
4H9O2N (пат. Р.Ф. №2173735, Б.И. №26, 2001, заявка №99118348/13) [5].
Гидроциклонирование нагретой нефти ниже 60°С не дает желаемых результатов, особенно при удалении меркаптанов. В то же время нагрев нефти свыше 60°С экономически не оправдан для данного процесса. Применение температуры охлаждения ниже 15°С экономически не оправдано. С технологической точки зрения выделенная парогазовая смесь хорошо конденсируется и накапливается в безосепараторе в виде легких углеводородов при указанной температуре, т.к. давление в этом бензосепараторе по технологическому режиму поддерживается в пределах 1,3 ати. При более низких давлениях наблюдается повышенный унос легких углеводородов, а увеличение давления в данном процессе приводит к экономически неоправданным затратам. Кроме того, следует указать, что при этой температуре охлаждения конденсация меркаптанов, как показали многочисленные исследования, не происходит. Отличительным признаком данного способа удаления и нейтрализации сероводорода и меркаптанов является применение процесса гидроциклонирования газожидкостной смеси путем ввода в гидроциклон специальной конструкции, обеспечивающей предварительный нагрев сырья и пленочный режим истечения жидкости, удаление из пленки жидкости газов и прежде всего сероводорода и меркаптанов ввиду изменения значений их коэффициентов фазового равновесия системы “газ (пар) – жидкость”. Кроме того, интенсивное воздействие центробежных сил на нагретую, сероводород и меркаптаны содержащую продукцию скважин приводит к разрыву неустойчивых связей сероводорода и меркаптанов с углеводородами (см., например, Краткий справочник по химии. И.Г.Гороновский, Ю.П.Назаренко, Е.Ф.Накряч. “Наукова думка”, Киев, 1974 – С.403-405 [6]). Приблизительно то же самое можно сказать и о меркаптанах. Воздействие температуры (нагрев продукции скважин) и глубокого вакуума (остаточное давление в центре вращения потока не более 250 мм рт. столба в гидроциклоне специальной конструкции ) вполне достаточно для выделения молекул сероводорода и меркаптанов из слоя нефти, конденсата и накопления их в центре вращения потока с последующей обработкой в бензосепараторе с массообменной объемной насадкой, постоянно смачиваемой избирательно действующим по отношению к сероводороду и меркаптанам реагентом, представляющим собой водный раствор 1-гидрокси-2-[1,3 оксазетидин]-3-ил-этана общей формулы C4H9O2N.
Осуществление способа удаления и нейтрализации сероводорода и меркаптанов производилось на установке нефтесборного пункта “Алаторка” OOO “Башминерал”. В отличие от традиционных установок удаления сероводорода и меркаптанов эта установка была снабжена газосепаратором с установленным на нем обогреваемым гидроциклоном специальной конструкции, обеспечивающим предварительный нагрев продукции скважин и пленочный режим истечения жидкости, а также создание вакуума в центре вращения потока.
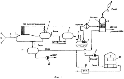
На фиг.1 приведена принципиальная схема предлагаемой установки для реализации способа, на фиг.2 – обогреваемый гидроциклон специальной конструкции, на фиг.3 – график результатов промышленной эксплуатации способа.
Установка включает успокоительный коллектор 1, депульсатор 2, сепаратор 3 и 4, обогреваемый гидроциклон 5, накопительную емкость (она же каплеуловитель) 6, конденсатор-холодильник 7, бензосепаратор 8, насосы откачки 9 и 12, резервуар 10, узел учета 11 и буферную емкость 13.
Способ реализуют следующим образом.
Сероводород и меркаптаны содержащую продукцию нефтяных скважин направляют в успокоительный коллектор 1, в котором происходит снижение скорости движения этой продукции и далее в депульсатор 2, где осуществляют предварительный отбор газа. Кроме того, в этом же депульсаторе осуществляют сброс воды. Нефть с остаточным газом, находящимся в свободном состоянии и распределенном в объеме жидкости, вводят в сепаратор первой ступени 3. Газ из сепаратора 3 объединяют с газовым потоком из депульсатора 2 и направляют на установку подготовки газа. В сепараторе 3 также осуществляют сброс остаточной воды в буферную емкость 13, из которой насосом 12 откачивают на кустовую насосную станцию (КНС) для закачки в пласты. Перед вводом продукции скважин в сепаратор 4, как правило, добавляют деэмульгатор и пресную воду. Промытую и подготовленную продукцию скважин направляют в процессор-гидроциклон специальной конструкции, обеспечивающий процесс гидроциклонирования продукции. Процессор может быть снабжен одним или несколькими гидроциклонными элементами. Отличительной особенностью гидроциклона специальной конструкции является то, что в нем обеспечивается предварительный нагрев продукции скважин за счет снабжения гидроциклонного элемента нагревательным устройством, например НГЛ-160, осуществляющим нагрев с помощью электрического тока. Кроме того, гидроциклонный элемент выполнен так, что на расстоянии 1/3 от основания конической части угол конусности уменьшается на 30%. По сравнению с традиционными гидроциклонными элементами это изменение конструкции позволило интенсифицировать процесс гидроциклонирования. В гидроциклоне, как уже отмечалось, за счет интенсивной крутки потока в центре вращения образуется разрежение, куда устремляются парогазовая смесь. Параметром определения интенсификации осуществления процесса гидроциклонирования является величина этого разрежения (см.[3]). Применение усовершенствованной конструкции гидроцикла увеличивает величину разрежения приблизительно на 15-20% и обеспечивает создание устойчивого парогазового шнура в центре вращения потока.
Непосредственный нагрев продукции в гидроциклонном элементе до 60°С дает возможность более полного удаления сероводорода и меркаптанов с одновременным уменьшением потерь углеводородов. Для улавливания капельной жидкости парогазовую смесь направляют в емкость-накопитель 6 и далее в конденсатор-холодильник 7. Стабильную продукцию скважин после удаления из нее значительной части сероводорода и меркаптанов в результате гидроциклонирования откачивают насосом 9, на приемный патрубок которого подают избирательно действующий по отношению к сероводороду и меркаптанам реагент = водный раствор 1-гидрокси-2-[1,3оксазетидин]-3-ил-этана общей формулы C4H9O2N, и далее в резервуар 10 и на узел учета 11. В конденсаторе-холодильнике 7 тяжелые фракции легких углеводородов выделяются в виде конденсата и поступают вместе с другими газами в бензосепаратор 8, в котором происходит за счет гравитационных сил процесс отделения сероводорода и меркаптанов с сухими газами от жидкости и накопление сконденсировавшихся легких углеводородов в нижней части бензосепаратора 8. Выделившийся в бензосенараторе сероводород и меркаптаны вместе с “сухим” газом подают в низ массообменной объемной насадки, выполненной из регулярной проволочной насадки и постоянно смачиваемой реагентом, избирательно действующим по отношению к сероводороду и меркаптанам. Продукты нейтрализации сероводорода и меркаптанов вместе со сточными водами собирают в буферную емкость 13 и подают в кустовые насосные станции (КНС) не только с целью поддержания пластового давления, но и для подавления роста сульфатвосстанавливающих бактерий (СВБ).
Результаты промышленной эксплуатации предлагаемого изобретения “Способ удаления и нетрализации сероводорода и меркаптанов и установка для его осуществления” представлены в виде графиков на фиг.3.
Как видно из графиков применение обогреваемого гидроциклона новой конструкции в установке позволило достичь доли извлечения сероводорода при гидроциклонировании нагретой даже до 30°С нефти 97%, метилмеркаптана – 71%, а этилмеркаптана – 54%. При гидроциклонировании нагретой до 60°С нефти содержание сероводорода снизилось до следов, метилмеркаптана – до 2%, а этилмеркаптана – до 8%, а дополнительная обработка выделенной парогазовой смеси с помощью массообменной объемной насадки, смачиваемой действующим по отношению к сероводороду и меркаптанам реагентом, представляющим собой водный раствор 1-гидрокси-2-[1,3оксазетидин]-3-ил-этана общей формулы С4Н9O2N, позволила снизить это содержание до следов.
Использование предлагаемого изобретения позволило значительно улучшить качество продукции скважин, сократить потери углеводородного сырья путем конденсации парогазовой смеси и комплесного использования конденсата.
Формула изобретения
1. Способ удаления и нейтрализации сероводорода и меркаптанов, заключающийся в выделении этих газов из продукции нефтяных скважин и последующим контактированием их с реагентом, отличающийся тем, что выделение сероводорода и меркаптанов осуществляют путем непосредственного нагрева продукции нефтяных скважин в гидроциклоне до температуры 60°С, а выделенные газы вместе с парогазовой смесью обрабатывают избирательным по отношению к сероводороду и меркаптанам реагентом – водным раствором 1-гидрокси-2-[1,3-оксазетидин]-3-ил-этана общей формулы C4H9O2N, охлаждают при температуре не выше 15°С и сепарируют при давлении не менее 1,3 ати.
2. Установка для реализации способа по п.1, включающая успокоительный коллектор, депульсатор, сепараторы, гидроциклон, конденсатор-холодильник, бензосепаратор, насосы откачки, буферную емкость и резервуары, отличающаяся тем, что емкость-накопитель очищенного продукта снабжена обогреваемым гидроциклоном с уменьшающимся углом конусности, а выход парогазовой линии из нее соединяется с бензосепаратором, снабженным массообменной объемной насадкой.
РИСУНКИ
MM4A – Досрочное прекращение действия патента СССР или патента Российской Федерации на изобретение из-за неуплаты в установленный срок пошлины за поддержание патента в силе
Дата прекращения действия патента: 06.05.2006
Извещение опубликовано: 27.04.2007 БИ: 12/2007
|
|