|
(21), (22) Заявка: 2004129378/11, 05.10.2004
(24) Дата начала отсчета срока действия патента:
05.10.2004
(45) Опубликовано: 20.03.2006
(56) Список документов, цитированных в отчете о поиске:
RU 2233361 С1, 27.07.2004. SU 678545 A, 05.08.1979. WO 97/38932 A1, 23.10.1997. US 4516739 A, 14.05.1985.
Адрес для переписки:
346500, Ростовская обл., г. Шахты, пл. Ленина, ШИ ЮРГТУ, гос. эксперту И.И. Кузнецовой
|
(72) Автор(ы):
Рыжиков Владимир Александрович (RU), Туркеничева Лариса Александровна (RU)
(73) Патентообладатель(и):
Государственное образовательное учреждение высшего профессионального образования Южно-Российский государственный технический университет (Новочеркасский политехнический институт) (RU)
|
(54) НАТЯЖНОЕ УСТРОЙСТВО
(57) Реферат:
Изобретение относится к подъемно-транспортному машиностроению и может быть использовано в канатном производстве. Натяжное устройство канатовьющей машины содержит катушку и тормоз. Тормоз выполнен в виде диска с постоянными кольцевыми магнитами и железным порошком, жестко связанного с внутренней поверхностью катушки и прижимного диска, жестко связанного с неподвижной осью, на которой установлена гайка с резьбой. Сердечники магнитов кинематически связаны с рычагами центробежного регулятора, шарнирно закрепленного на валу зубчатого колеса планетарного механизма. Вал солнечного колеса жестко связан с диском и кольцевыми магнитами, а водило жестко связано с неподвижной осью. Технический результат – обеспечение постоянного натяжения проволоки в натяжном устройстве канатовьющей машины. 1 ил. 
Изобретение относится к подъемно-транспортному машиностроению и может быть использовано в канатном производстве.
Разработанные до настоящего времени конструкции натяжных устройств канатовьющих машин в одних случаях не обеспечивают заданное натяжение его элементов, а в других обладают большой сложностью и низкой надежностью при эксплуатации. Поэтому они не нашли широкого применения в канатном производстве [1, 2, 3, 4].
Наиболее близким к заявленному по техническому решению является колодочный тормоз зарядных катушек [5]. Он содержит тормозную шайбу, расположенную на зарядной катушке. Тормозная колодка прижимается к тормозной шайбе за счет усилия зажатия пружины, действующего через рычаг.
В качестве материала тормозной колодки обычно используют резину или кожу.
Это натяжное устройство не обеспечивает равномерное технологическое натяжение элементов каната, так как изменяется коэффициент трения скольжения в процессе работы при износе пар трения, увеличения температуры или попадания загрязняющих веществ.
Цель изобретения – обеспечение постоянного натяжения проволоки в натяжном устройстве канатовьющей машины.
Указанная цель достигается тем, что натяжное устройство, содержащее катушку и тормоз, выполненный в виде диска с постоянными кольцевыми магнитами и железным порошком, жестко связано с внутренней поверхностью катушки и прижимного диска, связанного с неподвижной осью через резьбовое соединение гайки, которая содержит стопор, предотвращающий самопроизвольное откручивание, а сердечники магнитов кинематически связаны с рычагами центробежного регулятора, шарнирно закрепленного на валу зубчатого колеса планетарного механизма. Вал солнечного колеса жестко связан с диском и кольцевыми магнитами, а водило жестко связано с неподвижной осью. Сателлиты создают кинематическую цепь между солнечным колесом и зубчатым колесом планетарного механизма.
Существенными отличиями предполагаемого изобретения является:
– использование центробежного регулятора кинематически связанного с сердечниками кольцевых магнитов;
– использование лиска с постоянными кольцевыми магнитами, жестко связанного с внутренней поверхностью катушки;
– прижимной диск позволяет регулировать зазоры в порошковой муфте.
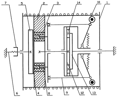
Устройство содержит катушку 1 и тормоз. Тормоз выполнен в виде диска 2 с постоянными кольцевыми магнитами 3, железным порошком 4 и прижимного диска 5. Диск 2 с постоянными кольцевыми магнитами 3 жестко связан с внутренней поверхностью катушки 1, а прижимной диск 5 связан с неподвижной осью 6 через резьбовое соединение гайки 7, которая содержит стопор против самопроизвольного откручивания. Сердечники магнитов 8 кинематически связаны с рычагами 9 центробежного регулятора 10, шарнирно закрепленного на валу зубчатого колеса 11 планетарного механизма. Вал солнечного колеса 12 жестко связан с диском 2, а водило 13 жестко связано с неподвижной осью 6. Сателлиты 14 создают кинематическую цепь между солнечным колесом 12 и зубчатым колесом 11 планетарного механизма.
При уменьшении радиуса намотки катушки увеличивается частота ее вращения. При этом увеличивается частота вращения центробежного регулятора 10, который посредством рычагов 9 перемещает сердечник магнитов 8 в направлении прижимного диска 5. При этом усиливается магнитное поле в зоне контакта, а следовательно, увеличивается и взаимодействие между частицами металлического порошка. Это приводит к увеличению тормозного момента, а натяжение проволок при этом не изменится и будет равно заданной величине катушки 1.
Использование железного порошка, находящегося в магнитном поле постоянных магнитов, позволяет получить стабильные значения сил трения и исключить износ трущихся поверхностей.
Литература
1. Букштейн М.А. Производство и использование стальных канатов. – М.: Металлургия, 1973. – 359 с.
2. Сергеев С.Т. Стальные канаты. К., Техника, 1974, с.279
3. Когановский И.К. К вопросу о способе уравнения натяжения в прядях (проволоках) при свивке проволочных канатов (прядей). В кн.: Метизное производство, Металлургиздат, 1956.
4. Нестеров П.П., Абакумов В.И. Влияние частоты вращения свивальной части машины на точность авторегулирования натяжения пряди при изготовлении каната. В сб.: Подъемно-транспортное оборудование, вып. №7, 1976, с.65.
5. Козюберда Н.И. О натяжении проволок и прядей при свивке стальных канатов. В сб.: Труды института горного дела. Вып. №9, 1960.
Формула изобретения
Натяжное устройство канатовьющей машины, содержащее катушку и тормоз, отличающееся тем, что, с целью обеспечения постоянного натяжения проволоки, тормоз выполнен в виде диска с постоянными кольцевыми магнитами и железным порошком, жестко связанного с внутренней поверхностью катушки и прижимного диска, жестко связанного с неподвижной осью, на которой установлена гайка с резьбой, а сердечники магнитов кинематически связаны с рычагами центробежного регулятора, шарнирно закрепленного на валу зубчатого колеса планетарного механизма, причем вал солнечного колеса жестко связан с диском и кольцевыми магнитами, а водило жестко связано с неподвижной осью.
РИСУНКИ
MM4A – Досрочное прекращение действия патента СССР или патента Российской Федерации на изобретение из-за неуплаты в установленный срок пошлины за поддержание патента в силе
Дата прекращения действия патента: 06.10.2006
Извещение опубликовано: 20.05.2008 БИ: 14/2008
|