|
|
(21), (22) Заявка: 2004108671/11, 23.03.2004
(24) Дата начала отсчета срока действия патента:
23.03.2004
(43) Дата публикации заявки: 20.10.2005
(45) Опубликовано: 20.03.2006
(56) Список документов, цитированных в отчете о поиске:
КОТЛЯРЕНКО Н.Ф. Путевая блокировка и авторегулировка. М.: Транспорт, 1983, с.37-38. RU 2025358 С1, 30.12.1994. RU 2051055 C1, 27.12.1995. SU 1222591 A, 07.04.1986. SU 1491761 A1, 07.07.1989.
Адрес для переписки:
443066, г.Самара, 1-й Безымянный пер., 18, СамГАПС, патентный отдел
|
(72) Автор(ы):
Полевой Юрий Иосифович (RU), Полевая Людмила Владимировна (RU), Смышляев Валерий Анатольевич (RU), Гуменников Валерий Борисович (RU), Трошина Марина Васильевна (RU), Гоголь Ольга Геннадьевна (RU), Ахмадуллин Фаниль Ринатович (RU), Ахмадуллин Фанис Ринатович (RU)
(73) Патентообладатель(и):
Самарская государственная академия путей сообщения (СамГАПС) (RU)
|
(54) СПОСОБ КОНТРОЛЯ СВОБОДНОСТИ ПУТЕВЫХ УЧАСТКОВ
(57) Реферат:
Изобретение относится к железнодорожной автоматике и телемеханике и предназначено для использования при осуществлении интервального регулирования движения поездов. В рельсовую линию на одном конце путевым генератором подают сигнал переменного тока, а на другом конце путевым приемником его принимают и регистрируют напряжение на входе приемника. Задают пороговые значения занятия и освобождения. Сравнивают текущее значение напряжения на входе приемника с пороговым значением освобождения. Путевой генератор и приемник поочередно подключают к каждой рельсовой линии перегона и дополнительно регистрируют ток питающего конца каждой рельсовой линии. При этом занятие путевого участка фиксируют при превышении тока питающего конца над пороговым значением занятия, которое принимают равным току питающего конца при наложении шунта на место подключения приборов питающего конца к рельсовой линии при сухом балласте. За пороговое значение освобождения принимают напряжение, соответствующее минимальному напряжению на входе приемника при наложении шунта, умноженному на коэффициент повышения напряжения при освобождении путевого участка, который принимают равным 15. Изобретение позволяет повысить надежность контроля состояния путевых участков. 2 ил. 
Изобретение относится к железнодорожной технике, а именно к железнодорожной автоматике и телемеханике, и может быть использовано для регулирования движения поездов.
Известен способ контроля свободности путевых участков, заключающийся в том, что определяют количество свободных путевых участков на перегоне и сумму значений напряжений на этих же участках, а затем находят среднее арифметическое значение напряжений. Текущее значение каждого из участков сравнивают со средним арифметическим значением. При существенном отличии текущего значения от среднего арифметического фиксируют занятость путевого участка, в противном случае – свободность [Патент РФ №2025358, МПК B 61 L 23/16. Способ контроля свободности путевых участков и устройство для его осуществления. Авторы: Полевой Ю.И., Стрельцов С.К., Мазалова И.В., Кравцова Н.А. БИ №24, 1994 г.].
Недостатком этого способа является то, что при наличии значительной продольной асимметрии возможен ложный контроль состояния путевых участков.
Известен способ контроля свободности путевых участков, заключающийся в том, что значение текущего напряжения на приемнике сравнивают с пороговыми значениями напряжений. Превышение текущего напряжения над пороговым значением фиксируют как свободность путевого участка, в противном случае – занятость [Котляренко Н.Ф. Путевая блокировка и авторегулировка. – М.: Транспорт, 1983 г.].
Данное техническое решение выбрано в качестве прототипа.
Недостатком этого способа является то, что при пониженном сопротивлении изоляции возможен ложный контроль состояния путевых участков.
Техническим результатом, на достижение которого направлено данное изобретение, является повышение надежности контроля состояния путевых участков.
Контроль свободного состояния путевых участков, заключающийся в том, что в рельсовую линию на одном конце подают сигнал переменного тока, а на другом конце текущее значение сигнала сравнивают с пороговыми значениями занятия и освобождения, причем занятие путевого участка фиксируют при превышении тока питающего конца над пороговым значением, которое равно току питающего конца при наложении шунта на место подключения приборов питающего конца к рельсовой линии при сухом балласте, а пороговое напряжение освобождения является функцией минимального напряжения на входе приемника при наложении шунта, с небольшой погрешностью его можно принять равным 15-20 минимальных напряжений.
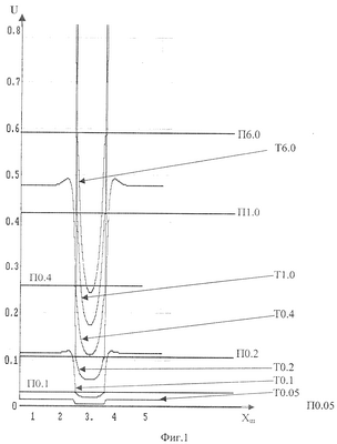
На фиг.1 приведены графики зависимостей напряжений приемного конца от координаты шунта при разных значениях сопротивления изоляции.
На фиг.2 представлена зависимость порогового напряжения освобождения от минимального значения напряжения при занятой рельсовой линии Uoc= (Umin).
На фиг.1 изображены зависимости напряжений от координаты шунта при сопротивлении изоляции 6 Ом·км (текущее напряжение на приемном конце Т6.0), 1 Ом·км (Т1.0), 0,4 Ом·км (Т0.4), 0,2 Ом·км (Т0.2), 0,1 Ом·км (Т0.1), 0,05 Ом·км (Т0.05), а также значения пороговых напряжений П6.0, П1.0, П0.4, П0.2, П0.1, П0.05 соответственно при тех сопротивлениях изоляции.
Сущность способа заключается в следующем. Путевой генератор и приемник поочередно подключают к каждой рельсовой линии перегона и регистрируют напряжение приемника и ток питающего конца каждой рельсовой линии. Задают пороговое значение тока питающего конца, при котором фиксируют занятие путевого участка. Это значение равно току питающего конца при сухом балласте и наложенном шунте на место подключения приборов питающего конца. При достижении этого значения фиксируют занятие участка. Затем (с контролем занятия) фиксируют минимальное значение напряжения приемного конца, которое умноженное на коэффициент повышения напряжения при освобождении участка является пороговым напряжением освобождения. Аналитическая зависимость порогового напряжения освобождения может быть определена по кривой на фиг.2, или (с небольшой погрешностью) этот коэффициент может быть принят равным 15.
Существенным достоинством способа является то, что он учитывает как состояние балласта, так и фактическое значение поездного шунта.
Формула изобретения
Способ контроля состояния путевых участков, заключающийся в том, что в рельсовую линию на одном конце путевым генератором подают сигнал переменного тока, а на другом конце путевым приемником его принимают и регистрируют напряжение на входе приемника, задают пороговые значения занятия и освобождения, сравнивают текущее значение напряжения на входе приемника с пороговым значением освобождения, отличающийся тем, что путевой генератор и приемник поочередно подключают к каждой рельсовой линии перегона и дополнительно регистрируют ток питающего конца каждой рельсовой линии, при этом занятие путевого участка фиксируют при превышении тока питающего конца над пороговым значением занятия, которое принимают равным току питающего конца при наложении шунта на место подключения приборов питающего конца к рельсовой линии при сухом балласте, а за пороговое значение освобождения принимают напряжение, соответствующее минимальному напряжению на входе приемника при наложении шунта, умноженному на коэффициент повышения напряжения при освобождении путевого участка, который принимают равным 15.
РИСУНКИ
MM4A – Досрочное прекращение действия патента СССР или патента Российской Федерации на изобретение из-за неуплаты в установленный срок пошлины за поддержание патента в силе
Дата прекращения действия патента: 24.03.2007
Извещение опубликовано: 10.07.2008 БИ: 19/2008
|
|