|
|
(21), (22) Заявка: 2004124328/11, 09.08.2004
(24) Дата начала отсчета срока действия патента:
09.08.2004
(45) Опубликовано: 20.03.2006
(56) Список документов, цитированных в отчете о поиске:
RU 1722915 А2, 30.03.1992. RU 2149119 C1, 20.05.2000. SU 1527044 A1, 07.12.1989. US 5484032 A, 16.01.1996.
Адрес для переписки:
630092, г.Новосибирск, пр. К. Маркса, 20, НГТУ
|
(72) Автор(ы):
Теребенин Сергей Николаевич (RU)
(73) Патентообладатель(и):
Новосибирский государственный технический университет (RU)
|
(54) ТОРМОЗНОЕ УСТРОЙСТВО ДЛЯ ДВУХ КОЛЕС ТРАНСПОРТА
(57) Реферат:
Изобретение относится к области наземного транспорта и может быть использовано в конструкциях автомобилей, мотоциклов и велосипедов. Тормозное устройство содержит два тормозных барабана, внутри каждого из которых размещены две тормозные колодки, две пары разжимных рычагов, тросы с наружными пружинными оболочками, уравнительное устройство, рычаг управления. В тормозное устройство введены передача винт – гайки, сборный корпус и дополнительная передача между винтом и рычагом управления. Передача винт – гайки выполнена в виде валика, имеющего на концах правую и левую резьбы, и гаек с правой и левой резьбами, установленных на валике. Уравнительное устройство выполнено в виде поступательной пары между валиком и сборным корпусом, неподвижным относительно рамы транспорта, концы каждой пары разжимных рычагов соединены наконечником троса и наконечником его наружной пружинной оболочкой. Второй наконечник каждого из двух тросов закреплен на одной из двух гаек передачи винт – гайки, а второй наконечник наружной пружинной оболочки указанного троса установлен неподвижно относительно рамы транспорта. Техническим результатом является возможность сохранения тормозного момента на колесах во время стоянки транспорта без дополнительной фиксации тормозного устройства. 2 ил. 
Предлагаемое изобретение относится к области наземного транспорта и может быть использовано в конструкциях автомобилей, мотоциклов, велосипедов.
Известно тормозное устройство для двух колес транспорта (патент RU №2149119 С1, М.Кл. 7 В 62 L 3/02, опубл. 20.05.2000, бюл. №14). В нем применен клещевой привод для двух подпруженных колес, включающий рычаги, тяги, клиновые передачи. Тормозное устройство предназначено для независимой подвески колес, каждое из которых может перемещаться только в одной плоскости относительно рамы транспорта. Устройство не предназначено для удержания тормозного момента на колесах транспорта во время стоянки.
Известно тормозное устройство (прототип) для двух колес транспорта (А.С. RU №1722915 А2, М.Кл. В 62 Т 7/08), выполненное в виде двух тормозных барабанов, внутри каждого из которых размещены две тормозные колодки, разжимных рычагов, имеющих возможность поворачивать тормозные колодки, двух тросов, уравнительного устройства в виде барабана, на который намотаны тросы рычага управления, предназначенного для поворота барабана с тросами через храповую передачу.
Тормозное устройство предназначено для торможения колес, которые могут перемещаться в разных положениях по отношению к раме транспорта.
Тормозное устройство для удержания тормозного момента снабжено дополнительным фиксатором, управление которым требует дополнительных манипуляций. Кроме того, тормозное устройство недостаточно универсально и не может быть применено в качестве основного для других видов транспорта, например двухколесных.
Задачей предлагаемого изобретения является создание тормозного устройства для двух колес транспорта, имеющего более широкие функциональные возможности.
Это достигается тем, что в известное тормозное устройство двух колес транспорта, содержащее два тормозных барабана, внутри каждого из которых размещены две тормозные колодки, две пары разжимных рычагов, тросы с наружными пружинными оболочками, уравнительное устройство, рычаг управления, введены передача винт – гайки, сборный корпус и дополнительная передача между винтом и рычагом управления, причем передача винт – гайка выполнена в виде валика, имеющего на концах правую и левую резьбы, и гаек с правой и левой резьбой, установленных на валике, уравнительное устройство выполнено в виде поступательной пары между валиком и сборным корпусом, неподвижным относительно рамы транспорта, концы каждой пары разжимных рычагов соединены наконечником троса и наконечником наружной пружинной оболочки, причем второй наконечник каждого из двух тросов закреплен на одной из двух гаек передачи винт – гайки, а второй наконечник наружной пружинной оболочки указанного троса установлен неподвижно относительно рамы транспорта.
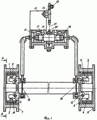
Предлагаемое изобретение поясняется чертежами, где на фиг.1 приведена схема предлагаемого тормозного устройства, на фиг.2. – разрез А-А (повернуто) на фиг.1.
Тормозное устройство для двух колес транспорта включает в себя тормозные колодки 1, 2, 3, 4 (фиг.1), установленные с возможностью поворота на дисках 5, 6, тормозные барабаны 7, 8 колес транспорта. На дисках 5, 6 установлены разжимные поворотные рычаги 9, 10, 11, 12.
На раме 13 транспортного средства установлен сборный корпус 14, в котором размещены с возможностью осевого перемещения гайки 15 и 16, одна с правой, другая с левой резьбами, валик 17, на концах которого выполнены резьбы и размещены гайки 15 и 16. В гайке 15 закреплен наконечник троса 18, а соответствующий наконечник наружной пружинной оболочки (не обозначена) закреплен в сборном корпусе 14.
В гайке 16 закреплен наконечник троса 19, а соответствующий указанному тросу наконечник наружной пружинной оболочки (не обозначена) закреплен в сборном корпусе 14.
На валике 17 установлена с возможностью осевого перемещения звездочка 20 цепной передачи. Осевое перемещение звездочки 20 предотвращается сборным корпусом 14. Звездочка 20 с помощью цепи 21 соединена со звездочкой 22, на которой закреплен рычаг управления 23.
Разжимные рычаги 9, 10 соединены тросом 18 таким образом, что второй наконечник троса 18 закреплен на разжимном рычаге 10, а соответствующий тросу 18 наконечник наружной пружинной оболочки (не обозначена) закреплен на разжимном рычаге 9. Разжимные рычаги 11, 12 соединены тросом 19 и его наружной пружинной оболочкой (не обозначена).
Если предлагаемое тормозное устройство используется в качестве дополнительного (стояночного) тормоза, то на дисках 5, 6 устанавливаются колесные гидроцилиндры 24 (фиг. 2) основной тормозной системы. Резьбы в передаче винт – гайки при этом должны быть самотормозящиеся.
Если тормозное устройство используется в качестве основного (для двухколесного транспорта), то резьбы передачи винт – гайки могут быть несамотормозящимися. В данном случае ось сборного корпуса 14 (фиг.1) удобно разместить в плоскости колес, которая для двухколесного транспорта является общей для переднего и заднего колеса (при движении транспорта по прямой траектории).
На фиг.1 дополнительная передача изображена с гибкой связью (цепная), но дополнительная передача может быть и с жесткой кинематической связью (например, зубчатые зацепления).
Передаточное отношение дополнительной передачи выбирается таким, чтобы угол поворота рычага управления 23 не превышал 70°.
Функционирует тормозное устройство для двух колес транспорта следующим образом.
После приложения усилия к рычагу управления 23 через дополнительную передачу (цепную на фиг. 1) осуществляется поворот валика 17, вызывающий встречное движение гаек 15, 16, поскольку гайки 15 и 16 имеют правую и левую резьбы. Движение гаек 15, 16 вызывает перемещение тросов 18, 19, и поскольку два наконечника наружных пружинных оболочек указанных двух тросов остаются неподвижными относительно сборного корпуса 14, происходит уменьшение расстояния между концами разжимных рычагов 9, 10, а также концами разжимных рычагов 11, 12. Противоположные концы указанных разжимных рычагов при этом раздвигают тормозные колодки 1, 2, 3, 4. Создается тормозной момент на тормозных барабанах 7, 8 колес.
Если тормозное устройство используется в качестве стояночного тормоза, то тормозной момент на тормозных барабанах 7, 8 колес остается, даже если усилия на рычаге управлении 23 уже не будет, так как резьбы в передаче винт – гайки самотормозящиеся. Вывести из состояния торможения тормозное устройство можно только после приложения усилия водителя к рычагу управления 23 в направлении, противоположном первоначально приложенному.
Если тормозное устройство используется в качестве основного (для двухколесного транспорта), то тормозной момент на тормозных барабанах 7, 8 колес сохраняется лишь в том случае, если на рычаг управления 23 действует усилие водителя.
Таким образом включение передачи винт – гайки позволяет сохранять тормозной момент на колесах во время стоянки транспорта без дополнительной фиксации тормозного устройства, что упрощает операцию торможения и облегчает работу водителя.
Выполнение уравнительного устройства в виде поступательной пары между валиком передачи винт – гайки, подсоединение тросов и их оболочек непосредственно к разжимным рычагам позволяет получить равные тормозные усилия на всех тормозных колодках, сделать конструкцию тормозного устройства простой и уменьшить число входящих в нее элементов по сравнению с известными конструкциями.
Применение дополнительной передачи от рычага управления к передаче винт-гайки позволяет уменьшить длину тросов и их наружных пружинных оболочек.
Таким образом, описанное тормозное устройство позволяет расширить функциональные возможности, так как позволяет применять тормозное устройство в качестве стояночного тормоза для автомобилей и в качестве основного тормозного устройства для двухколесных транспортных средств (мотоциклов, велосипедов), причем операция торможения упрощается.
Формула изобретения
Тормозное устройство для двух колес транспорта, содержащее два тормозных барабана, внутри каждого из которых размещены две тормозные колодки, две пары разжимных рычагов, тросы с наружными пружинными оболочками, уравнительное устройство, рычаг управления, отличающееся тем, что в него введены передача винт – гайки, сборный корпус и дополнительная передача между винтом и рычагом управления, причем передача винт – гайки выполнена в виде валика, имеющего на концах правую и левую резьбы, и гаек с правой и левой резьбами, установленных на валике, уравнительное устройство выполнено в виде поступательной пары между валиком и сборным корпусом, неподвижном относительно рамы транспорта, концы каждой пары разжимных рычагов соединены наконечником троса и наконечником его наружной пружинной оболочки, причем второй наконечник каждого из двух тросов закреплен на одной из двух гаек передачи винт – гайки, а второй наконечник наружной пружинной оболочки указанного троса установлен неподвижно относительно рамы транспорта.
РИСУНКИ
|
|