|
|
(21), (22) Заявка: 2004123764/11, 04.08.2004
(24) Дата начала отсчета срока действия патента:
04.08.2004
(45) Опубликовано: 20.03.2006
(56) Список документов, цитированных в отчете о поиске:
SU 1227522 A1, 30.04.1986. JP 2004138113 A, 13.05.2004. US 6367572 B1, 09.04.2002. EP 0337111 A1, 18.10.1989.
Адрес для переписки:
125438, Москва, ул. Автомоторная, 4А, стр.21, ОАО “НАМИ-Сервис”, а/я 31
|
(72) Автор(ы):
Шухман Сергей Борисович (RU), Прочко Евгений Игнатьевич (RU), Маляревич Владимир Эдуардович (RU)
(73) Патентообладатель(и):
Открытое акционерное общество “Инновационная фирма “НАМИ-Сервис” (RU)
|
(54) ТРАНСМИССИЯ ГИДРОХОДА
(57) Реферат:
Изобретение относится к области транспортного машиностроения. Трансмиссия гидрохода содержит насосную станцию, имеющую привод от теплового двигателя через фрикционную муфту и состоящую из основного и подпиточного насосов, гидромоторы, соединенные с насосной станцией магистральными гидролиниями, образующими гидравлический контур, автономный насос с приводом от электродвигателя. Механизм управления муфтой содержит подпружиненный рычаг для отвода подпружиненного нажимного диска муфты от фрикционного диска, гидроцилиндр для подвода рычага для смыкания дисков муфты пружинами, взаимодействующими с нажимным диском, сосуд с жидкостью, сообщенный с гидроцилиндром, клапан для сообщения сосуда с источником сжатого воздуха. В электрической цепи управления клапаном расположены выключатели, управляемые датчиком давления источника сжатого воздуха, датчиком частоты вращения вала двигателя, датчиком давления, создаваемого подпиточным насосом и датчиками максимальной предельной температуры и минимального предельного уровня рабочей жидкости в гидробаке. В электрической цепи управления электродвигателем привода автономного насоса расположены выключатель, управляемый вручную, и выключатели, управляемые датчиком частоты вращения вала насосной станции, датчиком максимального предельного уровня рабочей жидкости в гидробаке, запорным элементом двухпозиционного клапана, сообщающего полость всасывания автономного насоса поочередно с гидробаком и с устройством заправки гидробака рабочей жидкостью. Технический результат – повышение надежности трансмиссии гидрохода путем отслеживания ее технического состояния для предотвращения в ней аварийной ситуации. 1 з.п. ф-лы, 1 ил. 
Техническое решение относится к транспортному машиностроению. Оно касается трансмиссии гидрохода, представляющего собой колесную транспортную машину с гидрообъемной трансмиссией привода колес.
Известны гидрообъемные трансмиссии колесных машин, содержащие насосную станцию для подачи рабочей жидкости под давлением к гидромоторам, состоящую из основного и подпиточного насосов, имеющих непосредственный совместный привод от вала двигателя машины (авторское свидетельство №1702031, выданное в СССР, патент №2422482, выданный в ФРГ). Но в такой гидрообъемной трансмиссии в начальный период ее работы возможен повышенный износ основного насоса вследствие отсутствия или недостатка в нем рабочей жидкости в начале вращения его вала.
В качестве прототипа принята трансмиссия транспортной машины, содержащая насосную станцию, состоящую из основного и подпиточного насосов, имеющих непосредственный привод от двигателя внутреннего сгорания, гидромотор, связанный с насосной станцией посредством магистральных гидролиний, образующих гидравлический контур, и автономный насос с собственным приводом, в частности электрическим, полость нагнетания которого соединена с упомянутым гидравлическим контуром (выданное в СССР авторское свидетельство №1227522, МПК В 60 К 17/10, 1984 г.). В такой трансмиссии обеспечена подача рабочей жидкости под нужным давлением в гидравлический контур перед началом работы насосной станции. Но для пуска двигателя машины с такой трансмиссией необходимо применять стартер повышенной мощности, потребляющего больше энергии из-за ее затрат на вращение не только вала двигателя, но и валов основного и подпиточного насосов. При этом в случае возникновения неисправности в такой трансмиссии возможно ее разрушение из-за продолжения ее привода двигателем.
Решаемая задача – повышение надежности трансмиссии гидрохода.
Решение этой задачи обеспечено тем, что трансмиссия гидрохода, содержащая насосную станцию, имеющую привод от теплового двигателя, гидромоторы для привода колес, соединенные с насосной станцией магистральными гидролиниями, образующими гидравлический контур, автономный насос, имеющий привод от электродвигателя, дополнительно содержит фрикционную муфту для связи насосной станции с двигателем, состоящую из фрикционного и нажимного дисков и расположенных в корпусе муфты пружин для прижатия нажимного диска к фрикционному диску, рычаг для перемещения нажимного диска, пружину, соединенную с рычагом, для отвода нажимного диска от фрикционного диска, гидроцилиндр для поворота рычага для прижатия нажимного диска к фрикционному диску пружинами, расположенными в корпусе муфты, сосуд, сообщенный с гидроцилиндром, клапан для сообщения сосуда с источником сжатого воздуха, электрическую цепь управления упомянутым клапаном, в которой расположены выключатели, управляемые датчиком давления источника сжатого воздуха, датчиком частоты вращения вала двигателя, датчиком давления подпитки рабочей жидкостью гидравлического контура, датчиком максимальной предельной температуры рабочей жидкости в гидробаке трансмиссии, датчиком минимального предельного уровня рабочей жидкости в гидробаке, электрическую цепь управления электродвигателем привода автономного насоса, в которой расположены выключатель, управляемый вручную, и выключатели, управляемые датчиком частоты вращения вала насосной станции, датчиком максимального предельного уровня рабочей жидкости в гидробаке, датчиком положения запорного элемента двухпозиционного клапана, сообщающего полость всасывания автономного насоса поочередно с гидробаком и с устройством заправки гидробака рабочей жидкостью.
Так как трансмиссия гидрохода, содержащая насосную станцию с приводом от теплового двигателя, гидромоторы для привода колес, автономный насос с приводом от электродвигателя, снабжена фрикционной муфтой для связи насосной станции с двигателем, размыкаемой пружиной и замыкаемой посредством пневмогидравлического привода ее нажимного диска, включаемого клапаном, управляемым датчиками давления источника сжатого воздуха, частоты вращения вала двигателя, давления подпитки рабочей жидкостью гидравлического контура, максимальной предельной температуры и минимального предельного уровня рабочей жидкости в гидробаке, а автономный насос имеет электрический привод, управляемый вручную и датчиками частоты вращения вала насосной станции, максимального предельного уровня рабочей жидкости в гидробаке, положения запорного элемента двухпозиционного клапана, сообщающего полость всасывания автономного насоса поочередно с гидробаком и с устройством заправки гидробака рабочей жидкостью, то путем размыкания фрикционной муфты по сигналу от указанных датчиков обеспечено автоматическое выключение привода насосной станции при неполадках в гидрообъемной трансмиссии гидрохода и надежное удерживание фрикционной муфты в разомкнутом состоянии при пуске двигателя для уменьшения затрат энергии на вращение его вала. При этом после пуска двигателя по сигналу датчика частоты вращения вала насосной станции обеспечено автоматическое выключение привода автономного насоса, поддерживающего необходимое давление подпитки рабочей жидкостью гидравлического контура вплоть до вступления в работу подпиточного насоса насосной станции.
Подпружиненный рычаг, имеющий пневмогидравлический привод, выполнен двуплечим, а пружина, взаимодействующая с рычагом, растянута под фрикционной муфтой между двигателем и насосной станцией.
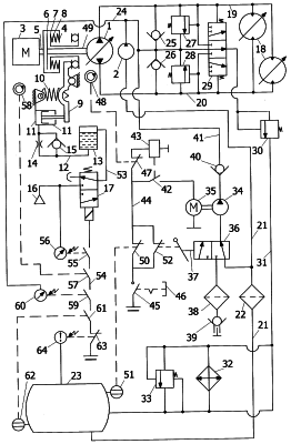
Трансмиссия гидрохода (см. чертеж) содержит насосную станцию, состоящую из регулируемого реверсивного обратимого аксиально-плунжерного насоса 1, который является основным, и подпиточного насоса 2. Насосы 1 и 2 имеют привод от теплового двигателя 3, в частности от двигателя внутреннего сгорания, через фрикционную муфту 4. Фрикционная муфта 4, служащая для связи насосной станции с двигателем 3 с его валом 5, состоит из корпуса, фрикционного диска 6 и нажимного диска 7, подпружиненного расположенными в корпусе муфты пружинами 8 сжатия. Пружины 8 предназначены для прижатия нажимного диска 7 к фрикционному диску 6, то есть для смыкания дисков фрикционной муфты при ее замыкании для передачи ею поворотного момента. Механизм управления фрикционной муфтой содержит двуплечий рычаг 9, имеющий опору на корпусе трансмиссии. Рычаг 9 подпружинен связанной с ним пружиной 10 растяжения, предназначенной для отвода нажимного диска 7 от фрикционного диска 6 при размыкании фрикционной муфты. Пружина 10 размещена под фрикционной муфтой 4, где она растянута между двигателем и насосной станцией. Механизм управления фрикционной муфтой 4 снабжен гидроцилиндром 11, содержащим поршень со штоком, взаимодействующим с рычагом 9. Гидроцилиндр 11 предназначен для поворота рычага 9 для прижатия нажимного диска 7 при замыкании фрикционной муфты к фрикционному диску 6 пружинами 8, расположенными в корпусе муфты. Гидроцилиндр 11 гидролинией 12 сообщен с жидкостной полостью сосуда 13, образующего с гидроцилиндром 11 пневмогидравлический привод рычага 9. В гидролинии 12 расположен дроссель 14, предназначенный для обеспечения постепенного наполнения гидроцилиндра 11 при перетекании жидкости в него из сосуда 13 во время смыкания дисков фрикционной муфты 4. Параллельно дросселю 14 расположен обратный клапан 15, предназначенный для быстрого выпуска жидкости из гидроцилиндра 11 в сосуд 13 при размыкании муфты 4. Для сообщения воздушной полости сосуда 13 с источником 16 сжатого воздуха имеется двухпозиционный электромагнитный клапан 17.
Трансмиссия гидрохода снабжена регулируемыми обратимыми аксиально-поршневыми гидромоторами 18, предназначенными для раздельного привода колес этой машины. Гидромоторы 18 имеют гидравлическую связь с насосом 1 магистральными гидролиниями 19, 20, образующими гидравлический контур. Эта трансмиссия для привода шести колес гидрохода имеет три одинаковых гидравлических контура, в каждом из которых имеется подпиточный насос. Привод всех насосов гидравлических контуров производится двигателем 3 через фрикционную муфту 4 и зубчатый раздаточный редуктор (не показан).
Всасывающая полость подпиточного насоса 2 гидролинией 21 через фильтр 22 сообщена с наполненным рабочей жидкостью герметичным гидробаком 23, снабженным устройством наддува в него сжатого воздуха из пневматической системы машины. Полость нагнетания насоса 2 сообщена с магистральными гидролиниями через питающую (нагнетательную) гидролинию 24 и обратные клапаны 25, 26. Для ограничения величины максимального давления в магистральных гидролиниях 19, 20 в гидрообъемной трансмиссии имеются предохранительные клапаны 27, 28. На выходе питающей гидролинии 24 расположен трехпозиционный золотниковый перекидной клапан 29, управляемый давлением в магистральных гидролиниях 19, 20. Для слива избытка рабочей жидкости, подаваемой подпиточным насосом 2, и поддержания при этом постоянного давления подпитки рабочей жидкостью полости всасывания насоса 1, в гидравлической системе трансмиссии имеется подпорный клапан 30, расположенный последовательно с перекидным клапаном 29. Последовательно с подпорным клапаном 30 в гидролинии 31 расположены полости охлаждения, имеющиеся в корпусах насоса и гидромоторов, и теплообменник 32 для охлаждения рабочей жидкости во время работы трансмиссии. Для перепуска рабочей жидкости при низкой ее температуре мимо теплообменника 32 имеется перепускной клапан 33.
Трансмиссия гидрохода содержит автономный насос 34, имеющий электрический привод от электродвигателя 35. Полость всасывания автономного насоса 34 посредством двухпозиционного клапана 36, имеющего ручное управление, попеременно в разных позициях запорного элемента 37 клапана 36 может быть соединена либо с всасывающей гидролинией 21 с ее участком, расположенным после фильтра 22, либо через фильтр 38 с устройством 39 заправки гидробака 23 рабочей жидкостью, содержащим открываемый принудительно обратный клапан. Полость нагнетания насоса 34 через обратный клапан 40 и гидролинию 41 соединена с питающей гидролинией 24 и далее через обратные клапаны 25, 26 – с магистральными гидролиниями 19, 20, образующими гидравлический контур трансмиссии.
Электродвигатель 35 привода автономного насоса 34 соединен с источником электрического тока через контакт 42 реле 43. В электрической цепи 44 управления электродвигателем 35 последовательно с обмоткой реле 43 расположен управляемый вручную кнопочный выключатель 45 без самовозврата с замыканием и размыканием контактов посредством вторичного нажатия кнопки 46. Последовательно с выключателем 45 расположены выключатель 47, управляемый посредством реле датчиком 48 частоты вращения вала 49 насосной станции, выключатель 50, управляемый посредством реле датчиком 51 максимального предельного допустимого уровня рабочей жидкости в гидробаке. Параллельно выключателю 50 в электрической цепи 44 расположен выключатель 52, управляемый запорным элементом 37 двухпозиционного клапана 36, сообщающего полость всасывания автономного насоса 34 поочередно с гидробаком и с устройством заправки гидробака рабочей жидкостью.
Двухпозиционный клапан 17, служащий для поочередного сообщения сосуда 13 через пневмопровод 53 с источником 16 сжатого воздуха и с атмосферой, имеет электрические средства управления. В электрической цепи 54 управления клапаном 17 расположены выключатель 55, управляемый датчиком 56 давления источника сжатого воздуха, выключатель 57, управляемый датчиком 58 частоты вращения вала 5 двигателя, выключатель 59, управляемый датчиком 60 давления подпитки рабочей жидкостью гидравлического контура, образованного магистральными гидролиниями 19, 20, выключатель 61, управляемый датчиком 62 максимальной предельной допустимой температуры рабочей жидкости в гидробаке 23, выключатель 63, управляемый датчиком 64 минимального предельного допустимого уровня рабочей жидкости в гидробаке. Указанные выключатели имеют управление посредством электромагнитных реле.
На машиностроительном предприятии после установки гидрообъемной трансмиссии на машину производят заправку гидробака 23 и всей гидравлической системы рабочей жидкостью. Для этого устанавливают запорный элемент 37 двухпозиционного клапана 36 в такое положение, при котором полость всасывания автономного насоса 34, имеющего электрический привод, соединяется через фильтр 38 с устройством 39 заправки гидрообъемной трансмиссии рабочей жидкостью из посторонней емкости. Нажатием на кнопку 46 выключателем 45 замыкают электрическую цепь 44 электродвигателя 35, который приводит во вращение вал автономного насоса 34. Насос 34 через фильтр 38 и заправочное устройство 39 забирает рабочую жидкость из посторонней емкости и подает ее через обратный клапан 40, питающую гидролинию 24, обратные клапаны 25, 26 и далее через магистральные гидролинии 19, 20 в рабочие камеры основного насоса 1 и гидромоторов 18. После полного заполнения упомянутых гидролиний давление рабочей жидкости, нагнетаемой автономным насосом 34, повышается до величины, при которой открывается подпорный клапан 30, и тогда рабочая жидкость из питающей гидролинии 24 через перекидной клапан 29, находящийся в это время в среднем положении, и через подпорный клапан 30 поступает в полости охлаждения гидромоторов 18 и основного насоса 1, откуда она через теплообменник 33 по сливной гидролинии 31 направляется в гидробак 23. По мере наполнения гидробака рабочей жидкостью ее уровень повышается и после того, как он станет выше минимально допустимого, по сигналу датчика 62 посредством электромагнитного реле происходит замыкание контактов выключателя 61. И так как гидробак 23 герметичный, то при повышении в нем уровня рабочей жидкости происходит сжатие находящегося в гидробаке воздуха. Сжимаемый воздух, действуя на рабочую жидкость в гидробаке как источник давления на нее, заставляет рабочую жидкость поступать по всасывающей гидролинии 21 через фильтр 22 в полость всасывания подпиточного насоса 2. При этом величина давления воздуха, сжимаемого в гидробаке при поступлении в него рабочей жидкости, ограничивается встроенным в него предохранительным клапаном. После того, как уровень рабочей жидкости в гидробаке 23 при его наполнении достигнет максимальной величины, от датчика 51 поступает электрический сигнал к реле управления выключателем 50, и контакты выключателя 50 размыкаются. Происходит размыкание электрической цепи 44 и электродвигатель 35 автоматически прекращает приводить во вращение вал автономного насоса 34 для предотвращения переполнения гидробака 23. После этого запорный элемент 37 клапана 36 устанавливают в положении, при котором полость всасывания насоса 34 через всасывающую гидролинию 21 и фильтр 22 соединяется с гидробаком 23. Происходит замыкание контактов выключателя 52 и электродвигатель 35 опять вращает вал насоса 34 для обеспечения циркуляции рабочей жидкости через гидрообъемную трансмиссию. При этом при наличии необходимого давления в питающей гидролинии 24 по сигналу датчика 60 с помощью электромагнитного реле происходит замыкание контактов 59 в электрической цепи 54. Теперь можно включить стартер для пуска двигателя 3. При пуске двигателя 3 фрикционная муфта 4 находится в разомкнутом состоянии. Поэтому для пуска двигателя стартером требуется сравнительно немного электрической энергии, которая необходима для вращения только вала двигателя. При вращении вала двигателя после его пуска датчик 58 посылает электрический сигнал к электромагнитному реле управления выключателем 57, и контакты этого выключателя замыкаются. Двигатель 3 после его пуска приводит во вращение вал компрессора пневматической системы машины. Компрессор наполняет сжатым воздухом ресиверы, которые являются источником 16 сжатого воздуха. После того, как давление сжатого воздуха достигает нужной величины, по сигналу датчика 56 посредством электромагнитного реле происходит замыкание контактов выключателя 55. После замыкания электрической цепи 54 происходит подача электрического тока к двухпозиционному электромагнитному клапану 17 и его запорный элемент устанавливается в положение, при котором сжатый воздух от его источника 16 поступает в воздушную полость сосуда 13. Под давлением сжатого воздуха жидкость из сосуда 13 через дроссель 14 проходит постепенно в гидроцилиндр 11. Поршень гидроцилиндра 11 своим штоком, преодолевая сопротивление пружины 10 поворачивает рычаг 9. При повороте рычага 9 происходит отпускание подпружиненного нажимного диска 7 муфты 4 и тогда нажимной диск 7 под действием сжатых пружин 8 приближается к фрикционному диску 6 и прижимает его к корпусу муфты. После смыкания дисков фрикционной муфты 4 происходит передача муфтой поворотного момента от двигателя 3 к насосам 1, 2. Насос 1 при вращении его вала 49 подает жидкость под высоким давлением по магистральной гидролинии к гидромоторам 18, которые приводят во вращение колеса машины. При вращении вала 49 датчик 48 посылает сигнал к реле управления выключателем 47 и контакты выключателя 47 размыкаются. Происходит выключение привода автономного насоса 34. При этом подпитка рабочей жидкостью полости всасывания насоса 1 в каждом из трех гидравлических контуров производится индивидуальным подпиточным насосом.
При случайном прекращении работы двигателя при кратковременной остановке машины, когда прекращается подача сигнала датчиком 48, контакты выключателя 47 замыкаются и происходит автоматическое подключение электродвигателя 35 к источнику электрического тока. Электродвигатель 35 вращает вал автономного насоса 34, который подает рабочую жидкость под нужным давлением в гидравлический контур, поддерживая насосную станцию в рабочем состоянии.
В случае сильного нагрева рабочей жидкости во время работы гидрообъемной трансмиссии, когда ее температура поднимается до недопустимой большой величины, по сигналу расположенного на гидробаке 23 датчика 64 температуры жидкости посредством реле происходит размыкание контактов выключателя 63 в электрической цепи 54. При размыкании электрической цепи 54 клапан 17 разобщает сосуд 13 с источником сжатого воздуха. Давление в сосуде 13 и, следовательно, в гидроцилиндре 11 понижается до атмосферной величины, и тогда пружина 10 поворачивает рычаг 9 в обратную сторону, отводя нажимной диск 7 муфты 4 от фрикционного диска 6. Происходит размыкание дисков фрикционной муфты 4 и, значит, прекращение привода насосной станции во избежание выхода гидрообъемной трансмиссии из строя из-за чрезмерно высокой температуры рабочей жидкости. Размыкание дисков фрикционной муфты 4 и, следовательно, отключение привода насосной станции происходит быстро вследствие быстрого вытеснения в сосуд 13 через обратный клапан 15 жидкости из гидропилиндра 11 его поршнем под действием пружины 10. То же самое происходит и в других аварийных случаях. Так, при чрезмерных утечках рабочей жидкости из гидрообъемной трансмиссии, когда ее уровень в гидробаке становится очень низким, датчик 62 перестает посылать нужный электрический сигнал к реле управления выключателем 61 и контакты этого выключателя размыкаются. При значительном падении давления сжатого воздуха, например, при повреждении шлангов пневмопроводов датчик 56 прекращает подавать сигнал к реле управления выключателем 55 и контакты выключателя 55 размыкаются. При значительном снижении давления подпитки гидроконтура гидрообъемной трансмиссии размыкаются контакты выключателя 59, управляемого посредством реле датчиком 60 давления, создаваемого подпиточным насосом 2. При каждом из этих случаев происходит размыкание электрической цепи 54 и тогда клапан 17 разобщает сосуд 13 с источником сжатого воздуха и сообщает его с атмосферой. После этого посредством пружины 10 происходит размыкание дисков фрикционной муфты 4 и, следовательно, отключение привода насосной станции. При прекращении привода насосной станции машина останавливается. При этом повторным нажатием кнопки 46 выключают привод автономного насоса 34. После приведения гидрообъемной трансмиссии машины в исправное состояние кнопкой 46 замыкают контакты выключателя 45, подавая электрический ток к электродвигателю 35 привода автономного насоса 34. Затем запускают в работу двигатель 3. По сигналу датчика 58 происходит замыкание контактов выключателя 57, расположенного в электрической цепи 54 управления клапаном 17. Клапан 17 производит подачу сжатого воздуха в сосуд 13 пневмогидравлического привода фрикционной муфты 4. Происходит замыкание дисков муфты 4 и передача через нее поворотного момента валу насосной станции, которая опять вступает в работу.
Таким образом, наличие в трансмиссии гидрохода для привода насосной станции фрикционной муфты, размыкаемой расположенной вне ее пружиной растяжения и замыкаемой пружинами сжатия, расположенными в корпусе муфты, с помощью рычага, имеющего пневмогидравлический привод с управлением датчиками, отслеживающими техническое состояние трансмиссии, давление сжатого воздуха в пневматической системе машины, давление рабочей жидкости, создаваемое подлеточным насосом и автономным насосом, имеющим привод от электродвигателя, дает возможность удобно запускать двигатель с наименьшими затратами энергии на вращение его вала и обеспечивает своевременное выключение привода насосной станции при возникновении аварийной ситуации, что повышает надежность трансмиссии.
Формула изобретения
1. Трансмиссия гидрохода, содержащая насосную станцию, имеющую привод от теплового двигателя, гидромоторы, соединенные с насосной станцией магистральными гидролиниями, образующими гидравлический контур, автономный насос, имеющий привод от электродвигателя, отличающаяся тем, что она содержит фрикционную муфту для связи насосной станции с двигателем, состоящую из фрикционного и нажимного дисков и расположенных в корпусе муфты пружин для прижатия нажимного диска к фрикционному диску, рычаг для перемещения нажимного диска, пружину, соединенную с рычагом для отвода нажимного диска от фрикционного диска, гидроцилиндр для поворота рычага для прижатия нажимного диска к фрикционному диску пружинами, расположенными в корпусе муфты, сосуд, сообщенный с гидроцилиндром, клапан для сообщения сосуда с источником сжатого воздуха, электрическую цепь управления упомянутым клапаном, в которой расположены выключатели, управляемые датчиком давления сжатого воздуха, датчиком частоты вращения вала двигателя, датчиком давления подпитки рабочей жидкостью гидравлического контура, датчиком максимальной предельной температуры и датчиком минимального предельного уровня рабочей жидкости в гидробаке, электрическую цепь управления электродвигателем привода автономного насоса, в которой расположены выключатель, управляемый вручную, и выключатели, управляемые датчиком частоты вращения вала насосной станции, датчиком максимального предельного уровня рабочей жидкости в гидробаке, запорным элементом двухпозиционного клапана, сообщающего полость всасывания автономного насоса поочередно с гидробаком и с устройством заправки гидробака рабочей жидкостью.
2. Трансмиссия гидрохода по п.1, отличающаяся тем, что подпружиненный рычаг, имеющий пневмогидравлический привод, выполнен двуплечим, а пружина, взаимодействующая с рычагом, растянута под фрикционной муфтой между двигателем и насосной станцией.
РИСУНКИ
|
|