|
|
(21), (22) Заявка: 2003108746/11, 30.08.2001
(24) Дата начала отсчета срока действия патента:
30.08.2001
(30) Конвенционный приоритет:
30.08.2000 (пп.1-10) GB 0021168.0
(43) Дата публикации заявки: 10.07.2004
(45) Опубликовано: 20.03.2006
(56) Список документов, цитированных в отчете о поиске:
FR 2309364 A, 26.11.1976. FR 2411095 A, 06.07.1979. SU 1189696 А, 07.11.1985.
(85) Дата перевода заявки PCT на национальную фазу:
31.03.2003
(86) Заявка PCT:
GB 01/03867 (30.08.2001)
(87) Публикация PCT:
WO 02/18166 (07.03.2002)
Адрес для переписки:
103735, Москва, ул. Ильинка, 5/2, ООО “Союзпатент”, пат.пов. Л.С.Кишкиной
|
(72) Автор(ы):
РОЙКРОФТ Теренс Джеймс (NZ)
(73) Патентообладатель(и):
ГИБС ТЕКНОЛОДЖИЗ ЛИМИТЕД (GB)
|
(54) ТРАНСМИССИЯ И ТРАНСПОРТНОЕ СРЕДСТВО-АМФИБИЯ
(57) Реферат:
Изобретение относится к транспортному машиностроению. Трансмиссия 3 для транспортного средства-амфибии содержит двигатель 12, коробку передач 14 и дифференциал 16. Ось коленчатого вала двигателя 12 может совпадать с продольной осью 32 транспортного средства или быть ей параллельной. Коробка, передач 14 установлена поперечно двигателю и перпендикулярна ему. Коробка передач 14 может быть ручной, ручной с последовательным изменением передаточного отношения, автоматизированной ручной, автоматической или бесступенчатой. Приводной вал (42) трансмиссии, приводимый в движение коленчатым валом двигателя, приводит в действие судовой движительный агрегат 48 транспортного средства, а также коробку передач 14. Двигатель может быть смещен к центральной линии транспортного средства. Технический результат – разработана трансмиссия для транспортного средства-амфибии, в которой адаптирована и используется обычная поперечная автомобильная трансмиссия. 2 н. и 8 з.п. ф-лы, 3 ил. 
Это изобретение относится к трансмиссии, которая пригодна, в частности, для использования в транспортном средстве-амфибии, выполненном с возможностью движения по суше и воде, а более конкретно к средству адаптации обычной поперечной автомобильной трансмиссии, имеющей двигатель, коробку передач и дифференциал, для привода колес и судового движительного агрегата транспортного средства-амфибии.
В обычной переднеприводной автомобильной конструкции двигатель и коробка передач расположены поперечно оси транспортного средства в передней части этого транспортного средства. Коробка передач включает в себя встроенный дифференциал, расположенный в задней части коробки передач, который приводит в движение передние колеса транспортного средства с помощью пары полуосей.
Эта поперечная конструкция двигателя и коробки передач привода передних колес является почти универсальной в малых пассажирских транспортных средствах и поэтому объемы ее производства велики, что делает такую конструкцию наиболее доступной для использования в транспортных средствах-амфибиях. При выборе трансмиссии для специализированного транспортного средства, изготавливаемого мелкими партиями, такого как транспортное средство-амфибия, доступность является важным фактором. Дополнительными преимуществами поперечной конструкции по сравнению с обычной конструкцией продольной трансмиссии, используемой в настоящее время в больших транспортных средствах, выпускаемых промышленностью, являются высокая удельная мощность и компактность.
Ранее адаптация поперечной трансмиссии, используемой в переднеприводном транспортном средстве, к использованию в транспортном средстве-амфибии считалась невозможной ввиду трудности компоновки привода со средствами отбора мощности, необходимого для приведения в действие судового движительного агрегата. Поперечные ориентации ограничивают пространство на любом конце узла двигателя и коробки передач, делая расположение конструкций средств отбора мощности на распределительном конце коленчатого вала или между двигателем и коробкой передач весьма затруднительным. Кроме того, установлено, что отбор мощности с выхода коробки передач объединенного узла коробки передач и дифференциала невозможен.
Задача настоящего изобретения состоит в том, чтобы разработать трансмиссию для транспортного средства-амфибии, в которой адаптирована и используется обычная поперечная автомобильная трансмиссия и в которой вышеупомянутые недостатки уменьшены или, по существу, преодолены.
В соответствии с первым аспектом настоящего изобретения, предложена трансмиссия для транспортного средства-амфибии, содержащая двигатель, коробку передач и дифференциал, отличающаяся тем, что она адаптирована с обеспечением установки двигателя, по существу, таким образом, что коленчатый вал двигателя оказывается ориентированным с обеспечением совпадения его оси с продольной осью транспортного средства или параллельности ей, а коробка передач располагается таким образом, что входной вал коробки передач, по существу, перпендикулярен оси коленчатого вала, при этом трансмиссия дополнительно содержит приводной вал, ось которого ориентирована с обеспечением совпадения с осью коленчатого вала, приводимого им в движение, причем этот приводной вал адаптирован для приведения в действие судового движительного агрегата транспортного средства, а также коробки передач.
Приводной вал предпочтительно обеспечивает приведение в действие коробки передач посредством пары введенных в зацепление конических зубчатых колес. В этой конструкции одно из конических зубчатых колес может быть установлено на приводном валу, а другое коническое зубчатое колесо может быть установлено на входном приводном валу коробки передач.
Приводной вал предпочтительно соединен с коленчатым валом посредством упругой муфты.
Приводной вал предпочтительно соединен с входным приводным валом коробки передач посредством разъединительного устройства.
В предпочтительном конкретном варианте осуществления приводной вал и конические зубчатые колеса заключены в картере.
Коробка передач может содержать ручной, ручной с последовательным изменением передаточного отношения или автоматизированный ручной редуктор, и в этом случае можно предусмотреть фрикционную муфту для соединения входного вала коробки передач и входного вала редуктора.
В соответствии с вторым аспектом изобретения предложено транспортное средство-амфибия, содержащее трансмиссию в соответствии с первым аспектом изобретения.
Теперь лишь в качестве примера будет приведено описание изобретения со ссылками на прилагаемые чертежи, на которых
фиг.1 – вид в плане обычной конструкции поперечной переднеприводной трансмиссии,
фиг.2 – вид в плане трансмиссии в соответствии с изобретением,
фиг.3 – транспортное средство-амфибия.
Обращаясь сначала к фиг.1, отмечаем, что обычная поперечная переднеприводная трансмиссия обозначена как единое целое позицией 10. В передней части транспортного средства (не показано) расположены двигатель 12 и коробка 14 передач, причем ось 13 коленчатого вала двигателя и коробки передач поперечны продольной оси 32 транспортного средства. Коробка 14 передач имеет встроенный дифференциал 16, который расположен в задней части коробки 14 передач. Этот дифференциал приводит в движение передние колеса 26, 28 транспортного средства с помощью полуосей 22, 24. Полуось 22, которая приводит в движение левое (в соответствии с чертежом) переднее колесо 26, соединена с дифференциалом посредством карданного шарнира 18 постоянных угловых скоростей. Полуось 24, которая приводит в движение правое (в соответствии с чертежом) переднее колесо 28, соединена с дифференциалом посредством дополнительного карданного шарнира 20 постоянных угловых скоростей и передаточного вала 21.
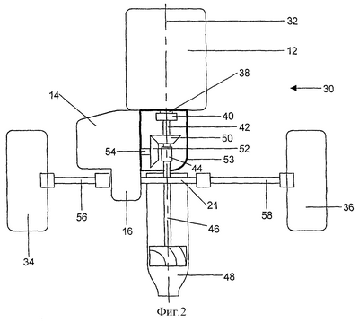
На фиг.2 схема трансмиссии для транспортного средства-амфибии в соответствии с изобретением обозначена как единое целое позицией 30.
Двигатель 12 расположен так, что коленчатый вал (не показан) двигателя 12 расположен в продольном направлении соосно с осью 32 транспортного средства. Двигатель 12 установлен в транспортном средстве перед центральной линией задних колес 34, 36, а обычный выходной ведущий конец 38 коленчатого вала соединен с гибкой муфтой 40. В одинаковой с коленчатым валом двигателя ориентации в осевом направлении расположен приводной вал 42, который приводится в движение коленчатым валом посредством гибкой муфты 40. На приводной вал 42 на его конце, отдаленном от гибкой муфты 40, установлено разъединительное устройство 44, которое расположено с обеспечением возможности включения и отключения передачи движения к приводному валу 46 судового движительного агрегата в виде водомета 48.
Хотя использование разъединительного устройства для отключения привода судового движительного агрегата 48 является предпочтительным, когда транспортное средство используется на суше, это несущественно, и разъединительное устройство 44 можно исключить, если это желательно. В случае, если разъединительное устройство 44 отсутствует, приводной вал 46 будет соединен непосредственно с приводным валом 42, или вал 42 может быть продолжением вала 46.
Коробка 14 передач установлена позади двигателя 12, а входной приводной вал 54 коробки передач проходит перпендикулярно оси коленчатого вала двигателя. На приводном валу 42 установлено первое коническое зубчатое колесо 50 между гибкой муфтой 40 и разъединительным устройством 44, а на входном приводном валу 54 установлено второе коническое зубчатое колесо 52, вводимое в зацепление с первым коническим зубчатым колесом 50. Поэтому движение от двигателя 12 передается под углом 90° посредством конических зубчатых колес 50, 52 в коробку 14 передач. Приводной вал 42, конические зубчатые колеса 50, 52, разъединительное устройство 44 и гибкая муфта 50 все вместе заключены в картере 53.
Коробка 14 передач может содержать ручной, ручной с последовательным изменением передаточного отношения или автоматизированный ручной редуктор, и в этом случае можно предусмотреть фрикционную муфту (не показана) для обеспечения избирательной передачи движения между входным валом 54 коробки передач и входным валом (не показан) самого редуктора. В альтернативном варианте коробка передач может быть автоматическим или полуавтоматическим редуктором, и в этом случае фрикционную муфту можно заменить гидравлической муфтой, выполненной, например, в виде подходящего гидравлического преобразователя крутящего момента. В дополнительном альтернативном варианте коробка передач может быть бесступенчатой коробкой передач.
Дифференциал 16, выполненный как единое целое с коробкой 14 передач, обеспечивает приведение в движение задних колес 34, 36 транспортного средства с помощью полуосей 56, 58. Полуось 56 приводится в движение непосредственно от левой (в соответствии с чертежом) стороны дифференциала 16. Полуось 58 приводится в движение непосредственно от правой (в соответствии с чертежом) стороны дифференциала 16 через передаточный вал 21. Способом, известным в данной области техники, в полуоси можно встроить карданные шарниры постоянных угловых скоростей или другие универсальные шарниры.
Такое положение двигателя 12 и коробки 14 передач идеально подходит для транспортного средства-амфибии, так как масса этих элементов конструкции смещена к задней части транспортного средства, что является обязательным для оптимальной работы в режиме движения по воде. Кроме того, поскольку привод водомета 48 осуществляется непосредственно от коленчатого вала двигателя, а не от средства отбора мощности на выходе коробки передач, то можно, например, передавать максимальную мощность двигателя 12 к водомету 48 с минимальными потерями на трение. В этой связи нужно заметить, что в транспортном средстве-амфибии возможность подвода полной мощности двигателя к судовому движительному агрегату важнее возможности подвода полной мощности двигателя к колесам.
На фиг.3 показано транспортное средство-амфибия 60, имеющее отсек 62 двигателя, в котором расположена трансмиссия в соответствии с фиг.2.
Хотя изобретение описано в связи с конкретными вариантами осуществления, которые в настоящее время считаются наиболее практичными и предпочтительными, понятно, что изобретение не сводится к описанным конструкциям, а должно рассматриваться как охватывающее различные модификации и эквивалентные конструкции, находящиеся в рамках объема притязаний изобретения. Например, хотя предпочтительно, чтобы ось коленчатого вала совпадала с продольной осью транспортного средства, все же при необходимости можно устанавливать трансмиссию таким образом, что ось коленчатого вала будет параллельна продольной оси транспортного средства, но окажется смещенной на одну сторону от нее. Кроме того, водомет 48 может быть заменен подходящим судовым движительным агрегатом, например судовым гребным винтом.
Формула изобретения
1. Трансмиссия (3) для транспортного средства-амфибии, содержащая двигатель (12), коробку (14) передач и дифференциал (16), отличающаяся тем, что двигатель установлен таким образом, что коленчатый вал двигателя оказывается ориентированным с обеспечением совпадения его оси с продольной осью (32) транспортного средства или параллельности ей, а коробка передач располагается таким образом, что входной вал (54) коробки передач, по существу, перпендикулярен оси коленчатого вала, при этом трансмиссия дополнительно содержит приводной вал (42), по существу, соосный с коленчатым валом и приводимый им в движение, причем этот приводной вал приводит в действие судовой движительный агрегат (48) транспортного средства, а также коробку передач.
2. Трансмиссия по п.1, отличающаяся тем, что приводной вал (42) приводит в действие коробку передач посредством пары введенных в зацепление конических зубчатых колес (50, 52).
3. Трансмиссия по п.2, отличающаяся тем, что одно из конических зубчатых колес (50) установлено на приводном валу (42), а другое коническое зубчатое колесо (52) установлено на входном приводном валу (54) коробки передач.
4. Трансмиссия по любому из пп.1-3, отличающаяся тем, что приводной вал соединен с коленчатым валом посредством упругой муфты (40).
5. Трансмиссия по любому предыдущему пункту, отличающаяся тем, что приводной вал (42) соединен с приводным валом (46) судового движительного агрегата посредством разъединительного устройства (44).
6. Трансмиссия по любому из пп.2-4, отличающаяся тем, что приводной вал и конические зубчатые колеса заключены в картере (53).
7. Трансмиссия по любому предыдущему пункту, отличающаяся тем, что коробка передач содержит ручной, ручной с последовательным изменением передаточного отношения или автоматизированный ручной редуктор и предусмотрена фрикционная муфта для обеспечения избирательной передачи движения между входным валом коробки передач и входным валом редуктора.
8. Трансмиссия по любому из пп.1-6, отличающаяся тем, что коробка передач содержит автоматический редуктор и предусмотрена гидравлическая муфта для соединения входного вала коробки передач и входного вала редуктора.
9. Трансмиссия по любому из пп.1-6, отличающаяся тем, что коробка передач является бесступенчатой коробкой передач.
10. Транспортное средство-амфибия (60), отличающееся тем, что оно содержит трансмиссию, выполненную по любому предыдущему пункту.
РИСУНКИ
|
|