|
(21), (22) Заявка: 2004100791/02, 08.01.2004
(24) Дата начала отсчета срока действия патента:
08.01.2004
(43) Дата публикации заявки: 27.06.2005
(45) Опубликовано: 20.03.2006
(56) Список документов, цитированных в отчете о поиске:
SU 719830 A 10.03.1980. SU 1692789 A1, 23.11.1991. SU 190763 A, 15.11.1967. SU 856716 A1, 23.08.1981. КРАСУЛИН Ю.Л. и др. Микросварка давлением. М.: Металлургия, 1976, с.114-116.
Адрес для переписки:
394026, г.Воронеж, Московский пр-т, 14, ВГТУ, патентный отдел
|
(72) Автор(ы):
Зенин Виктор Васильевич (RU), Сегал Юрий Ефимович (RU), Фоменко Юрий Леонидович (RU), Пьяных Виктор Яковлевич (RU), Рягузов Александр Владимирович (RU), Шарапов Виктор Анатольевич (RU)
(73) Патентообладатель(и):
Воронежский государственный технический университет (RU), ООО Консультационно-технический центр “Электроника” (RU)
|
(54) СПОСОБ СВАРКИ ДАВЛЕНИЕМ
(57) Реферат:
Изобретение относится к способам сварки давлением металлических выводов и может найти применение в производстве силовых полупроводниковых приборов. Сварку давлением осуществляют следующим образом. К деталям прикладывают начальное давление и в процессе начального давления на V-образный электрод дополнительно подают ультразвуковые колебания. Нагревают их V-образным электродом. Затем прикладывают добавочное давление и при этом амплитуду колебаний уменьшают до нуля. За счет снижения давления при сварке выводов на кристалле и увеличения площади физического контакта соединяемых поверхностей повышается надежность силовых полупроводниковых приборов, а за счет уменьшения времени формирования сварных соединений повышается производительность сборочных операций. 2 ил. 
Изобретение относится к области сварки давлением металлических выводов в технологии производства силовых полупроводниковых приборов.
Известен способ ультразвуковой сварки /1/, при котором в конце озвучивания прикладывают импульсное давление, превышающее предел текучести свариваемого материала.
К недостаткам данного способа сварки следует отнести следующее: текучесть свариваемых материалов обеспечивается повышенной температурой в зоне соединяемых поверхностей деталей, что возможно только при “жестких” режимах сварки (повышенной амплитуде и давлении сварочного инструмента). Данные режимы могут привести к появлению трещин в пленке SiO2 под металлизацией контактной площадки кристалла, что снижает надежность силовых полупроводниковых приборов.
Известен способ /2/ сварки микродеталей давлением с косвенным нагревом за счет теплопередачи от инструмента, по которому пропускают электрический ток, а с целью сохранения исходных свойств одного из свариваемых материалов, обеспечения возможности сварки малопластичных материалов и повышения производительности процесса нагрев инструмента осуществляют импульсом тока.
Основным недостатком данного способа является низкое качество сварных соединений из-за невозможности полного удаления оксидных пленок из зоны сварки, что уменьшает площадь физического контакта соединяемых поверхностей.
Наиболее близким по технической сущности заявляемому изобретению является способ термокомпрессионной сварки /3/, при котором к деталям прикладывают начальное давление, нагревают их V-образным электродом, а добавочное давление прикладывают в период максимальной скорости пластического течения металлического проводника.
Основной недостаток: способ термокомпрессионной сварки характеризуется длительностью процесса, что снижает производительность сборочных операций.
Задача, на решение которой направлено заявляемое решение, – это повышение надежности силовых полупроводниковых приборов; улучшение качества сварных соединений; повышение производительности сборочных операций.
Эта задача достигается тем, что в способе сварки давлением, при котором к деталям прикладывают начальное давление, нагревают их V-образным электродом, а затем прикладывают добавочное давление с целью повышения надежности силовых полупроводниковых приборов за счет снижения давления при сварке выводов на кристалле, улучшения качества сварных соединений в результате увеличения площади физического контакта соединяемых поверхностей и повышения производительности сборочных операций за счет уменьшения времени формирования сварных соединений, в процессе начального давления на V-образный электрод дополнительно подают ультразвуковые колебания с амплитудой, а при добавочном давлении амплитуду колебаний уменьшают до нуля.
Сопоставимый анализ с прототипом показывает, что заявляемый способ отличается от известного тем, что с целью повышения надежности силовых полупроводниковых приборов за счет снижения давления при сварке выводов на кристалле, улучшения качества сварных соединений в результате увеличения площади физического контакта соединяемых поверхностей и повышения производительности сборочных операций за счет уменьшения времени формирования сварных соединений, в процессе начального давления на V-образный электрод дополнительно подают ультразвуковые колебания с амплитудой, а при добавочном давлении амплитуду колебаний уменьшают до нуля.
Таким образом, заявленный способ сварки давлением соответствует критерию “новизна”.
Сравнение заявленного способа с другими известными способами /1, 2/ из известного уровня техники также не позволило выявить в них признаки, заявляемые в отличительной части формулы.
Сущность изобретения поясняется чертежами, на которых схематично изображены:
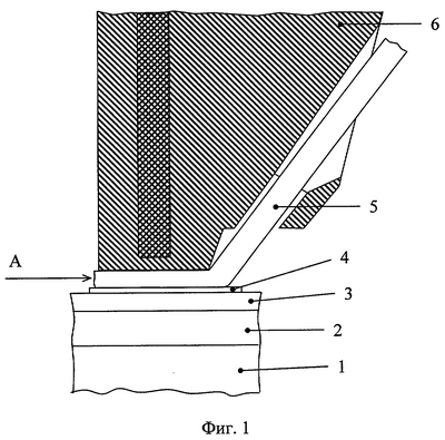
на фиг.1 – фрагмент сборки и сварки ленточного вывода к кристаллу, вид сбоку;
на фиг.2 – вид А на фиг.1.
Способ сварки давлением реализуется следующим образом.
На столике 1 размещают корпус силового полупроводникового прибора 2 с полупроводниковым кристаллом 3, имеющим контактные площадки 4. Привариваемый ленточный вывод 5 проходит через боковое отверстие V-образного электрода 6 и совмещается с контактной площадкой 4 кристалла 3.
Способ сварки давлением ленточных выводов к контактным площадкам кристалла и траверсам корпусов силовых полупроводниковых приборов заключается в следующем: корпус 2 с напаянным кристаллом 3 размещают на столике 1 сварочной установки; с помощью V-образного электрода 6 конец ленточного вывода 5 совмещают с контактной площадкой 4 кристалла 3; на V-образный электрод подают импульс тока, разогревая соединяемые детали до заданной температуры, одновременно с начальным давлением на V-образный электрод подают ультразвуковые колебания с амплитудой. При этом оксидные пленки на соединяемых поверхностях разрушаются при сдавливании, обеспечивающим пластическое течение металлов в зоне сварки. Приложенное к свариваемым деталям начальное давление с амплитудой ультразвуковых колебаний V-образного электрода кроме разрушения оксидных пленок и удаления их из зоны сварки обеспечивает физический контакт соединяемых поверхностей по всей площади.
Затем к V-образному электроду прикладывают добавочное давление с одновременным снижением амплитуды колебаний до нуля, что способствует развитию взаимодействия соединяемых металлов как в плоскости, так и в объеме зоны контакта. Данный фактор обеспечивает формирование качественного соединения ленточного вывода с контактной площадкой и предохраняет пленку SiO2 от растрескивания, что, в конечном счете, повышает надежность силовых полупроводниковых приборов.
Использование импульсного нагрева и ультразвуковых колебаний сокращает время формирования сварных соединений.
После сварки на кристалле V-образный электрод перемещается на позицию сварки на траверсе корпуса.
Таким образом, использование предлагаемого способа сварки давлением обеспечивает по сравнению с существующими способами следующие преимущества:
1. Повышается надежность силовых полупроводниковых приборов за счет снижения давления при сварке выводов на кристалле.
2. Улучшается качество сварных соединений в результате увеличения площади физического контакта соединяемых поверхностей.
3. Повышается производительность сборочных операций за счет уменьшения времени формирования сварных соединений.
Источники информации
1. А.с. СССР 498129 В 23 К 19/00. Способ ультразвуковой сварки / В.М.Петров, В.В.Турбин (СССР). – Опубл. в Б.И., 1976, №1.
2. А.с. СССР 182490 49 h 32/02. Способ сварки микродеталей давлением с косвенным нагревом / Ю.Л.Красулин, В.И.Кузьмин, В.Г.Никитин (СССР). – Опубл. в Б.И., 1966, №11.
3. А.с. СССР 719830 В 23 К 19/00. Способ термокомпрессионной сварки / В.Е.Атауш, Р.Б.Рудзит, С.В.Карпенко, В.П.Леонов, Э.Г.Москвин (СССР). – Опубл. в Б.И., 1980, №9 (аналог).
Формула изобретения
Способ сварки давлением, при котором к деталям прикладывают начальное давление, нагревают их V-образным электродом, а затем прикладывают добавочное давление, отличающийся тем, что в процессе начального давления на V-образный электрод дополнительно подают ультразвуковые колебания, а при добавочном давлении амплитуду колебаний уменьшают до нуля.
РИСУНКИ
MM4A – Досрочное прекращение действия патента СССР или патента Российской Федерации на изобретение из-за неуплаты в установленный срок пошлины за поддержание патента в силе
Дата прекращения действия патента: 09.01.2007
Извещение опубликовано: 20.06.2008 БИ: 17/2008
|