|
|
(21), (22) Заявка: 2003134695/02, 01.12.2003
(24) Дата начала отсчета срока действия патента:
01.12.2003
(43) Дата публикации заявки: 10.05.2005
(45) Опубликовано: 20.03.2006
(56) Список документов, цитированных в отчете о поиске:
RU 2173615 C1, 20.09.2001. SU 114596 A, 29.08.1958. SU 164771 A, 14.11.1964. SU 1266669 A1, 30.10.1986. FR 2308453 A, 19.11.1976.
Адрес для переписки:
144005, Московская обл., г. Электросталь, ОАО “ЭЗТМ”, начальнику патентно-лицензионного отдела З.С. Вольшонку
|
(72) Автор(ы):
Сорокин Александр Кузьмич (RU)
(73) Патентообладатель(и):
Открытое акционерное общество “Электростальский завод тяжелого машиностроения” (RU)
|
(54) УСТРОЙСТВО ДЛЯ НАРЕЗАНИЯ РЕЗЬБ МЕТЧИКАМИ И ПЛАШКАМИ НА ТОКАРНОМ СТАНКЕ
(57) Реферат:
Изобретение относится к области механической обработки, нарезанию и калибровке предварительно нарезанных крупногабаритных резьб. Устройство содержит оправку с конусным хвостовиком, установленный на оправке с возможностью осевого перемещения корпус с фланцем, к которому присоединен инструментодержатель, хомут и взаимодействующую с хомутом державку. Для повышения качества резьбы и производительности процесса нарезания хомут снабжен пазом с выпуклыми поверхностями, взаимодействующими с державкой, выполненной в виде направляющей, закрепленной на торце поперечных салазок суппорта станка на стороне, противоположной резцедержателю. На фланце корпуса жестко закреплено кольцо с торцовыми секторными впадинами с односторонним поднутрением, имеющим наклонную поверхность. При этом торец инструментодержателя снабжен взаимодействующими с секторными впадинами секторными выступами с боковым выступом с наклонной поверхностью, взаимодействующим с поднутрением, и скосом, противоположным боковому выступу, для взаимодействия с фиксатором в виде винта с фаской 45° на торце, причем угловой размер секторного выступа на инструментодержателе меньше размера секторной впадины на кольце. 6 ил. 
Изобретение относится к области механической обработки, а точнее к устройствам для нарезания резьбы метчиками и плашками на токарных станках, и наиболее эффективно может быть использовано непосредственно при нарезании резьб до М27х2 и калибровке предварительно нарезанных резьб до М36х4.
Известно устройство для нарезания резьб метчиками и плашками на токарном станке, содержащее оправку с конусным хвостовиком, закрепляемым в пиноли задней бабки токарного станка, установленный на оправке с возможностью осевого перемещения корпуса с фланцем, к которому подсоединен инструментодержатель, хомут, смонтированный на корпусе с возможностью осевого перемещения и фиксации в заданном положении (пат. Франции №2308453, кл. B 23 G 1/46, заявл. 23.04.75 г., опубл. 10.11.76 г.).
Фланец корпуса имеет гнездо для крепления переходных втулок, с которыми соединяется инструментодержатель. Хомут имеет два радиальных резьбовых отверстия, в одно из которых входит болт средства фиксации, а в другое ввернута рукоятка, которая в процессе нарезания резьбы опирается на резцедержатель. Болт и рукоятка своими торцами входят в кольцевой паз, выполненный в корпусе.
Недостатком этого устройства является то, что оно может быть использовано только при нарезании мелких резьб (до М10), так как:
а) для удержания устройства в процессе свинчивания инструментодержателя используется ручная рукоятка, и при значительном весе устройства, используемого при нарезании крупногабаритной резьбы, требуются значительные усилия для удержания рукоятки на всем протяжении обратного хода;
б) используемое средство фиксации хомута не исключает поворот хомута при больших усилиях резания, когда силы резания превышают силы трения между торцом болта и кольцевым пазом корпуса;
в) крепление инструментодержателя посредством переходных втулок не обеспечивает надежной фиксации его в процессе нарезания крупногабаритной резьбы.
Из известных устройств для нарезания резьб плашками и метчиками на токарном станке наиболее близким по технической сущности является устройство, содержащее оправку с конусным хвостовиком, установленный на оправке с возможностью осевого перемещения корпус с фланцем, к которому подсоединен инструментодержатель, хомут, смонтированный на корпусе с возможностью осевого перемещения и фиксации в заданном положении, и взаимодействующую с хомутом державку (пат. РФ №2173615, B 23 G 1/44, заявл. 26.12.1997 г., опубл. 20.09.2001 г.).
Хомут снабжен цилиндрическим выступом. Державка выполнена в виде двух взаимно перпендикулярных вилок, одна из которых предназначена для жесткого закрепления в пазах резцедержателя станка, а другая содержит две цилиндрические направляющие, установленные параллельно оси оправки.
Цилиндрический выступ хомута размещен между цилиндрическими направляющими державки с возможностью перемещения по нижней направляющей при нарезании резьбы и по верхней направляющей при вывинчивании инструмента.
Инструментодержатель подсоединен к фланцу корпуса посредством байонетного соединения с базированием на посадочный выступ.
Байонетное соединение выполнено в виде имеющихся на фланце сквозных радиусных пазов, оканчивающихся с одного конца сквозными отверстиями, а с другого конца – цилиндрическими углублениями, взаимодействующими с буртиками болтов, ввинченных в резьбовые отверстия инструментодержателей.
Недостаток известной конструкции устройства для нарезания резьб метчиками и плашками на токарном станке заключается в том, что оно закреплено на резцедержателе, поэтому при нарезании крупногабаритных резьб, когда, как правило, резьбу предварительно нарезают резцом, а затем калибруют метчиком или плашкой, будет снижена производительность процесса нарезания, так как оперировать резцом токарю мешает установленная в резцедержателе державка, выполненная в виде двух взаимноперпендикулярных вилок, которыми она входит в резцедержатель, заняв в нем место для установки резцов.
Другим недостатком этого устройства является то, что байонетное соединение инструментодержателя с корпусом недостаточно надежно в работе при нарезании крупногабаритной резьбы, когда имеет место значительный крутящий момент и возможно срезание болтов, ввинченных в резьбовые отверстия инструментодержателя.
Задача настоящего изобретения состоит в создании устройства, позволяющего повысить качество нарезаемой крупногабаритной резьбы, производительность процесса нарезания резьбы и надежность крепления инструмента.
Поставленная задача достигается тем, что в устройстве для нарезания резьб метчиками и плашками на токарном станке, содержащем оправку с конусным хвостовиком, установленный на оправке с возможностью осевого перемещения корпус с фланцем, к которому подсоединен инструментодержатель, хомут, смонтированный на корпусе с возможностью осевого перемещения и фиксации, и взаимодействующую с хомутом державку, согласно изобретению хомут снабжен пазом с выпуклыми поверхностями, взаимодействующими с державкой в виде направляющей с выпуклыми поверхностями, закрепленной на торце поперечных салазок суппорта станка, противоположном резцедержателю, а на фланце корпуса жестко закреплено кольцо с торцевыми секторными впадинами с односторонним поднутрением, имеющим наклонную поверхность, при этом торец инструментодержателя снабжен взаимодействующими с секторными впадинами секторными выступами с боковым выступом с наклонной поверхностью, взаимодействующим с поднутрением, и скосом, противоположным боковому выступу, для взаимодействия с фиксатором в виде винта с фаской 45° на торце, причем угловой размер секторного выступа на инструментодержателе меньше размера секторной впадины на кольце.
Такое конструктивное выполнение устройства позволяет:
1) ориентировать резьбонарезающий инструмент (метчик, плашку) строго по оси станка, способствуя тем самым безупречному качеству нарезаемой резьбы, так как державка в виде направляющей, жестко закрепленная на суппорте станка, обеспечивает прямолинейное и строго осевое движение устройства как в прямом, так и в обратном направлении. При этом при взаимодействии выпуклой поверхности на державке с выпуклой поверхностью паза хомута обеспечивается скольжение с минимальным трением относительно друг друга;
2) освободить резцедержатель от державки, предоставив его в полное распоряжение токаря для проведения подготовки заготовки под нарезание или калибровку;
3) повысить производительность процесса за счет рационального размещения элементов устройства, участвующих в процессе нарезания резьбы;
4) сократить до минимума время смены инструмента при многократном увеличении надежности крепления.
Для пояснения изобретения ниже приводится конкретный пример выполнения изобретения со ссылкой на прилагаемые чертежи, на которых:
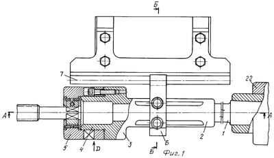
на фиг.1 изображено устройство для нарезания резьб метчиками или плашками на токарном станке, вид в плане;
на фиг.2 – разрез А-А на фиг.1, продольный разрез;
на фиг.3 – разрез Б-Б на фиг.1;
на фиг.4 – разрез В-В на фиг.2;
на фиг.5 – разрез Г-Г на фиг.2;
на фиг.6 – вид Д (развернуто) в увеличенном масштабе.
Устройство для нарезания резьб метчиками или плашками на токарном станке состоит из цилиндрической оправки 1 с конусным хвостовиком; установленного на цилиндрической части оправки с возможностью осевого перемещения (по посадке движения) корпуса 2 с фланцем 3, имеющим посадочный выступ 4 для крепления на нем инструментодержателя 5; хомута 6, смонтированного на корпусе 2 с возможностью осевого перемещения и фиксации в заданном положении; державки 7, взаимодействующей с хомутом 6.
Хомут 6 снабжен пазом 8 с выпуклыми поверхностями, взаимодействующими с державкой 7, выполненной в виде направляющей с выпуклыми поверхностями, закрепленной на торце поперечных салазок 9 суппорта токарного станка на стороне, противоположной резцедержателю. Фиксация хомута 6 на корпусе 2 осуществляется с помощью двух болтов 10 с цилиндрическими концами, имеющими плоские торцы, упирающиеся в дно плоских продольных уступов 11, выполненных на наружной поверхности корпуса 2.
На фланце 3 корпуса 2 жестко посредством винтов 12 и штифтов 13 закреплено кольцо 14 с торцевыми секторными впадинами 15 с односторонним поднутрением 16, имеющим наклонную поверхность 17.
Инструментодержатель 5 снабжен взаимодействующими с секторными впадинами 15 секторными выступами 18 с боковым выступом 19 с наклонной поверхностью, взаимодействующим с поднутрением 16. На секторных выступах 18 выполнен по углом 45° скос 20, противоположный боковому выступу 19, для взаимодействия с фиксатором в виде винта 21 с фаской на торце под углом 45°. Угловой размер секторного выступа 18 на инструментодержателе 5 меньше размера секторной впадины 15 на кольце 14 на величину, обеспечивающую свободное размещение выступа 18 во впадине 15.
Устройство работает следующим образом.
На фланце 3 корпуса 2 жестко закрепляют кольцо 14 посредством винтов 12 и штифтов 13 и предварительно вворачивают три фиксатора 21. Конусным хвостовиком в пиноль 22 задней бабки токарного станка вставляют оправку 1. Подбирают соответствующий рабочему заданию режущий инструмент и надежно закрепляют его в соответствующем инструментодержателе 5. Корпус 2, заранее скрепленный с кольцом 14 и с предварительно ввернутыми фиксаторами 21, надевают отверстием на цилиндрическую поверхность оправки 1, а затем на наружную поверхность корпуса 2 надевают и посредством двух болтов 10 предварительно закрепляют хомут 6.
Далее, базируясь на посадочный выступ 4, к передней части корпуса 2 присоединяем заранее подготовленный инструментодержатель 5 с соответствующим режущим инструментом, доводим его до упора в дно секторных впадин 15 на кольце 14 и поворотом вправо вводим боковые выступы 19 секторных выступов 18 инструментодержателя 5 в поднутрения 16 секторных впадин 15 на кольце 14. Полученное надежное и прочное замковое соединение фиксируется винтами-фиксаторами 21 путем доведения до упора поверхности фаски 45° на торце винта 21 до поверхности также выполненного под углом 45° скоса 20 инструментодержателя.
Положение и окончательное закрепление хомута 6 зависит от длины нарезаемой резьбы и устанавливается и закрепляется в процессе работы. Заготовку детали подготавливают под нарезание резьбы. Державка 7 закреплена на противоположном резцедержателю торце поперечных салазок 9 суппорта токарного станка. Вращая рукоятку поперечных салазок 9 суппорта, вводят радиусную часть державки 7 в паз 8 хомута 6 на 3/4 глубины паза. Станку при этом придаются небольшие обороты, задняя бабка закрепляется в положении, обеспечивающем утопание в ней пиноли на расстояние, исключающее возможность упора корпуса 2 в торец конусного хвостовика оправки 1 при завершении процесса нарезки резьбы и окончательного свинчивания инструмента с нарезаемой детали.
При врезании инструмент перемещается самозатягиванием (поступательное движение). При этом перемещается по оправке 1 корпус 2 с хомутом 6, который, в свою очередь, скользит вдоль державки 7. По окончании процесса нарезки вращение шпинделя станка переключают на обратное, и инструмент самовывинчивается, передавая обратное осевое движение корпусу 2 с хомутом 6.
Предложенное устройство для нарезания резьб метчиками и плашками на токарном станке по сравнению с известными позволяет повысить производительность процесса нарезания крупногабаритных резьб и повысить их качество.
Формула изобретения
Устройство для нарезания резьб метчиками и плашками на токарном станке, содержащее оправку с конусным хвостовиком, установленный на оправке с возможностью осевого перемещения корпус с фланцем, к которому присоединен инструментодержатель, хомут, смонтированный на корпусе с возможностью осевого перемещения и фиксации в заданном положении, и взаимодействующую с хомутом державку, отличающееся тем, что хомут снабжен пазом с выпуклыми поверхностями, взаимодействующими с державкой, выполненной в виде направляющей с выпуклыми поверхностями и закрепленной на торце поперечных салазок суппорта станка на стороне, противоположной резцедержателю, а на фланце корпуса жестко закреплено кольцо с торцевыми секторными впадинами с односторонним поднутрением, имеющим наклонную поверхность, при этом торец инструментодержателя снабжен взаимодействующими с секторными впадинами секторными выступами с боковым выступом с наклонной поверхностью, взаимодействующим с поднутрением, и скосом, противоположным боковому выступу, для взаимодействия с фиксатором в виде винта с фаской 45° на торце, причем угловой размер секторного выступа на инструментодержателе меньше размера секторной впадины на кольце.
РИСУНКИ
|
|