|
|
(21), (22) Заявка: 2004122156/02, 19.07.2004
(24) Дата начала отсчета срока действия патента:
19.07.2004
(45) Опубликовано: 20.03.2006
(56) Список документов, цитированных в отчете о поиске:
SU 1355379 А2, 30.11.1987. SU 515598 A1, 30.05.1976. RU 2063847 C1, 20.07.1996. JP 8085014 A1, 20.04.1996. EP 0450363 A1, 09.10.1991.
Адрес для переписки:
454080, г.Челябинск, пр. им. В.И. Ленина, 76, ЮУрГУ, технический отдел
|
(72) Автор(ы):
Трусковский Виктор Иванович (RU)
(73) Патентообладатель(и):
Государственное образовательное учреждение высшего профессионального образования “Южно-Уральский государственный университет” (RU)
|
(54) УСТРОЙСТВО ДЛЯ РЕЗКИ ЗАГОТОВОК КРУГЛОГО СЕЧЕНИЯ
(57) Реферат:
Изобретение относится к заготовительному производству машиностроительных и металлургических предприятий, в частности к режущим устройствам. Устройство содержит два ножа, установленные в направляющих с возможностью одновременного встречного плоскопараллельного перемещения. Каждый из ножей выполнен с выступом, расположенным по его длине со стороны ответного ножа. Плоскость каждого выступа расположена наклонно под углом, равным и противоположно направленным углу наклона режущей кромки соответствующего ножа относительно его опорной кромки. Один из ножей выполнен в виде двух частей режущей и прижимной. Обе части ножа состыкованы между собой посредством направляющих пальцев и регулировочного винта. Режущая часть ножа установлена с возможностью перемещения в горизонтальном направлении за счет регулировочного винта и упругих элементов. Упругие элементы смонтированы на упомянутых пальцах и винте в полости, образованной выступом и противоположным ему пазом, выполненными на прилегающих плоскостях. В результате обеспечивается расширение технологических возможностей устройства и повышение качества поверхности среза. 4 ил. 
Изобретение относится к заготовительному производству машиностроительных и металлургических предприятий, в частности к режущим устройствам.
Известно устройство для резки заготовок круглого сечения, содержащее два плоских ножа, установленных в направляющих с возможностью одновременного встречного плоскопараллельного перемещения, режущая кромка каждого ножа наклонена к его противоположной опорной кромке под острым углом, при этом режущие кромки обоих ножей наклонены в одну сторону [1].
Используемая в указанном устройстве открытая схема резки, которая при отсутствии прижимов прутка и отрезаемой от него части не позволяет получать качественные заготовки. Отсутствие возможности регулировки и настройки осевого зазора между ножами также отрицательно влияет на качество и технологические возможности устройства.
Наиболее близким по технической сущности и достигаемому эффекту к предлагаемому изобретению является устройство для резки заготовок круглого сечения, содержащее два ножа, установленных в направляющих с возможностью одновременного встречного плоскопараллельного перемещения, каждый из ножей выполнен с выступом, расположенным по его длине со стороны ответного ножа, при этом плоскость каждого выступа расположена наклонно под углом, равным и противоположно направленным углу наклона режущей кромки соответствующего ножа относительно его опорной кромки [2].
В данном устройстве реализована не полностью закрытая схема резки с активным поперечным зажимом, что позволяет получать отрезанные заготовки с качественной поверхностью среза, но отсутствие регулировки осевого зазора между ножами ограничивает диапазон разрезаемых прутков по диаметру и марке материала. Для получения хорошего качества торцов при различных диаметрах и марках разрезаемого пруткового материала важно обеспечить постоянство относительного осевого зазора zo=zoc/d (где zoc – осевой зазор между ножами, d – диаметр отрезаемой заготовки) по всему сечению разрезаемого прутка [3].
Задачей предлагаемого изобретения является устранение указанных недостатков, а именно расширение технологических возможностей устройства резки заготовок и повышение качества поверхности среза.
Поставленная задача достигается тем, что в известном устройстве для резки заготовок круглого сечения, содержащем два ножа, установленные в направляющих с возможностью одновременного встречного плоскопараллельного перемещения, где каждый из ножей выполнен с выступом, расположенным по его длине со стороны ответного ножа, при этом плоскость каждого выступа расположена наклонно под углом, равным и противоположно направленным углу наклона режущей кромки соответствующего ножа относительно его опорной кромки, согласно изобретению один из ножей выполнен в виде двух частей, режущей и прижимной, которые состыкованы между собой посредством направляющих пальцев и регулировочного винта, при этом режущая часть ножа установлена с возможностью перемещения в горизонтальном направлении за счет регулировочного винта и упругих элементов, смонтированных на упомянутых пальцах и винте в полости, образованной выступом и противолежащим ему пазом, выполненными на прилегающих плоскостях.
То, что один из ножей выполнен в виде двух частей, режущей и прижимной, которые состыкованы между собой посредством направляющих пальцев и регулировочного винта, при этом режущая часть ножа установлена с возможностью перемещения в горизонтальном направлении за счет регулировочного винта и упругих элементов, смонтированных на упомянутых пальцах и винте в полости, образованной выступом и противолежащим ему пазом, выполненными на прилегающих плоскостях, позволяет настраивать необходимый осевой зазор между режущими кромками верхнего и нижнего ножей в зависимости от марки и диаметра исходного прутка и поддерживать постоянство относительного осевого зазора Zo по всему сечению разрезаемого прутка, чем достигается расширение технологических возможностей устройства за счет возможности разрезать на одном устройстве прутки различного диаметра и марки материала, получать мерные заготовки с высокой геометрической точностью торцевых поверхностей.
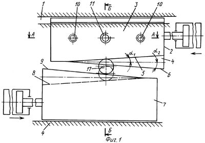
На фиг.1 показана схема устройства в целом; на фиг.2 – сечение А-А; на фиг.3 – сечение Б-Б при нулевом зазоре между режущими кромками ножей; на фиг.4 – сечение Б-Б при зазоре z между режущими кромками ножей.
Устройство для резки заготовок круглого сечения содержит привод (не показан), соединенный с ножами, установленными в направляющих 1. Один из ножей 2, например верхний, состоит из прижимной 3 и режущей частей 4, которые имеют соответственно прижимную плоскость 5 и режущую кромку 6, нижний нож 7 с прижимной плоскостью 8 и режущей кромкой 9. Угол наклона прижимных плоскостей 1 равен углу наклона режущих кромок ножей 2 и направлен в противоположную им сторону. Части 3 и 4 верхнего ножа состыкованы между собой посредством пальцев 10 и регулировочного винта 11 с возможностью перемещения режущей части 4 в горизонтальном направлении. На упомянутых пальцах 10 и регулировочном винте 11 смонтированы упругие элементы 12 в полости В, образованной выступом 13 и противолежащим ему пазом 14, выполненными на прилегающих плоскостях 15 и 16 соответственно. 17 – разрезаемый пруток.
Устройство работает следующим образом.
Перед началом отрезки прутка 17, в зависимости от его диаметра и марки материала настраивается необходимая величина осевого зазора z между режущими кромками 6 и 9 верхнего 2 и нижнего 7 ножей. Для увеличения зазора z регулировочный винт 11 откручивают, при этом упругие элементы 12, смонтированные на направляющих пальцах 10 и регулировочном винте 11 в полости В, образованной выступом 13 и противолежащим ему пазом 14, выполненных на прилегающих плоскостях соответственно 15 и 16, разжимаются и перемещают подвижную режущую часть 4 верхнего ножа 2 вправо. Для уменьшения зазора z проделывается обратная операция – регулировочный винт 11 закручивают, перемещая при этом подвижную режущую часть 4 верхнего ножа влево, вплоть до нулевого значения зазора z (фиг.3). Упругие элементы 12 при этом упруго деформируются. После настройки устройства пруток 17 подают на требуемую величину в створ между разведенными ножами. Перед началом резки верхний нож, состоящий из двух состыкованных частей, режущей 4 и прижимной 3, находится в крайнем правом положении, нижний нож 7 – в крайнем левом. После подачи прутка включается привод, сообщающий встречное движение ножам в горизонтальном направлении по направляющим 1. Ножи, вращая пруток 17, постепенно внедряются в него, вплоть до момента отделения отрезаемой части, прижимные плоскости 5, 8 на протяжении всего процесса резки осуществляют жесткий прижим прутка и отрезаемой от него части. После окончания резки ножи возвращаются в исходное положение.
Разработанное устройство было опробовано на одной из опытно-промышленных конструкций ножниц, предназначенных для резки прутков из сталей и сплавов диаметром до 40…50 мм с в до 1100 МПа, а также цветных металлов. Устройство содержит гидропривод с рабочим давлением жидкости 32 МПа и имеет следующие габаритные размеры: в плане – 425×340 мм, высота – 1070 мм. Скорость резки до 0,02…0,025 м/с, угол наклона режущих и прижимных плоскостей пять градусов. Верхний нож был выполнен в виде двух состыкованных между собой частей посредством двух направляющих пальцев диаметром 6 мм и регулировочного винта с резьбовой частью на М6. Габариты верхнего ножа в состыкованном виде 150×60 мм. Ширина паза и соответствующего ему выступа 30 мм. Глубина образуемой выступом и пазом замкнутой полости составляла 10 мм. В качестве упругих элементов были использованы кольцевые втулки из полиуретана марки СКУ-7Л высотой 15 мм, наружным диаметром 25 мм. Устройство обеспечило регулировку осевого зазора между ножами и поддержание постоянства его величины относительно разрезаемого диаметра прутка, что позволило получать мерные заготовки с высокой геометрической точностью торцевых частей.
Предложенное устройство целесообразно применять при резке прутков круглого сечения на мерные заготовки в заготовительных производствах металлургических и машиностроительных предприятий, а также в ремонтно-механических цехах.
Источники информации
1. А.С. СССР №515598. Устройство для резки заготовок круглого сечения. B 23 D 15/02. Опубл. БИ №20, 30.05.76.
2. А.С. СССР №1355379. Устройство для резки заготовок круглого сечения. B 23 D 15/02. Опубл. БИ №44, 30.11.87.
3. Соловцов С.С. Совершенствование резки прутков на заготовки. – Кузнечно-штамповочное производство, 1980, №3, с.3-7.
Формула изобретения
Устройство для резки заготовок круглого сечения, содержащее два ножа, установленные в направляющих с возможностью одновременного встречного плоскопараллельного перемещения, каждый из ножей выполнен с выступом, расположенным по его длине со стороны ответного ножа, при этом плоскость каждого выступа расположена наклонно под углом, равным и противоположно направленным углу наклона режущей кромки соответствующего ножа относительно его опорной кромки, отличающееся тем, что один из ножей выполнен в виде двух частей, режущей и прижимной, которые состыкованы между собой посредством направляющих пальцев и регулировочного винта, при этом режущая часть ножа установлена с возможностью перемещения в горизонтальном направлении за счет регулировочного винта и упругих элементов, смонтированных на упомянутых пальцах и винте в полости, образованной выступом и противоположным ему пазом, выполненными на прилегающих плоскостях.
РИСУНКИ
MM4A – Досрочное прекращение действия патента СССР или патента Российской Федерации на изобретение из-за неуплаты в установленный срок пошлины за поддержание патента в силе
Дата прекращения действия патента: 20.07.2006
Извещение опубликовано: 27.02.2008 БИ: 06/2008
|
|