|
(21), (22) Заявка: 2004128860/12, 29.09.2004
(24) Дата начала отсчета срока действия патента:
29.09.2004
(45) Опубликовано: 20.03.2006
(56) Список документов, цитированных в отчете о поиске:
SU 1808428 A1, 15.04.1993. SU 1470631 A1, 07.04.1989. US 3538531, 10.11.1970.
Адрес для переписки:
620086, г.Екатеринбург, ул. Посадская, 52, кв.23, М.С. Гофману
|
(72) Автор(ы):
Дейнеженко Владимир Иванович (RU), Наумейко Анатолий Васильевич (RU), Гайдт Давид Давидович (RU), Гофман Михаил Самуилович (RU)
(73) Патентообладатель(и):
ЗАО “УРОМГАЗ” (RU)
|
(54) ПОРШЕНЬ-РАЗДЕЛИТЕЛЬ
(57) Реферат:
Изобретение относится к технологии испытаний и ремонта газопровода и может быть использовано в нефтяной и газовой промышленности. Поршень-разделитель, включает кольцеобразный корпус с передней и задней крышками и герметизирующие элементы из эластичного материала, при этом корпус снабжен цилиндрической уплотнительной опорой с имеющими форму незамкнутой окружности поперечными каналами, а герметизирующие элементы выполнены в виде полых торов, установленных в каналах и заполненных сплошными или полыми шарами. Изобретение обеспечивает значительное снижение износа герметизирующих элементов, увеличение скорости пропускания поршня по трубопроводу и снижение энергетических затрат. 7 з.п. ф-лы, 5 ил. 
Настоящее изобретение относится к технологии испытаний и ремонта газопровода и может быть использовано в нефтяной и газовой промышленности.
Магистральные газопроводы испытывают в настоящее время в основном гидравлическим методом (см., например, Е.М.Климовский, Ю.В. Колотилов «Очистка и испытания магистральных трубопроводов». М.: Недра, 1987, стр.32-34). После гидравлических испытаний трубопроводов из них должна быть удалена вода. Воду удаляют различными способами, например самотеком или с помощью разделительных устройств (поршни-разделители), перемещаемых по трубопроводу под давлением газа. Поршни-разделители используют также для продувок трубопроводов, разделения разносортных жидких продуктов в одном трубопроводе при их последовательной перекачке, удаления из газопроводов газоконденсатных смесей, нанесения на внутреннюю поверхность трубопроводов ингибиторов или других жидких защитных покрытий и т.п.(см. указанный выше источник, стр.74-85, 107-108).
Известны многочисленные конструкции поршней-разделителей (см. указанный выше источник, стр.104-117, где приведена наиболее полная классификация поршней-разделителей).
Известен поршень-разделитель, содержащий рабочий орган в виде упругой оболочки с наполнителем из гранулированного материала, в том числе из пенопластовых шариков (патент РФ №2008992; дата публикации – 15.03.1994). Недостатком данного устройства является ненадежность упругой оболочки, выражающаяся в том, что велика вероятность потери ею герметичности в результате прокола или разрыва.
Известен поршень-разделитель, содержащий герметичный гибкий кожух, заполненный эластичным пористым материалом (см. патент РФ №2186639, дата публикации – 10.08.2002). Поршень-разделитель образован намоткой с некоторым усилием в рулон гибкой полосы из непроницаемого для рабочей среды материала с подложкой эластичного пористого материала определенной толщины, той же длины и ширины, что и полоса. Слой эластичного пористого материала через равные промежутки по длине полосками на всю ширину и толщину слоя пропитан клеем, а на торцы рулона наклеены накладки из материала полосы, диаметр которых равен диаметру рулона. Недостаток поршня-разделителя данной конструкции состоит в малой скорости пропускания по очищаемой трубе из-за большой поверхности соприкосновения трубы и поршня, а следовательно, из-за значительной силы трения.
Известен поршень-разделитель, используемый при промывке газопроводов и удаления из них воды, основными элементами которого являются корпус и манжеты (см., например, Е.М.Климовский, Ю.В.Колотилов «Очистка и испытания магистральных трубопроводов». М.: Недра, 1987, стр.112-113, рис.42; аналогичное решение – см. патент РФ №2167009, дата публикации – 20.08.2001). Недостатками данного технического решения являются также повышенная величина силы трения пары «труба – поршень» и изнашиваемость манжет.
Наиболее близким к настоящему изобретению является поршень-разделитель, включающий корпус с крышками, эластичные разделительные и герметизирующие элементы тороидального типа (см. Е.М.Климовский, Ю.В.Колотилов. «Очистка и испытания магистральных трубопроводов». М.: Недра, 1987, стр.111-112, рис.41).
Основные недостатки данного решения заключаются также в низкой скорости пропускания поршня из-за повышенной величины силы трения пары «труба-поршень» и в изнашиваемости герметизирующих элементов.
Задача, решаемая предлагаемым изобретением, состоит в создании более совершенной конструкции поршня-разделителя.
Достигаемый технический результат состоит в значительном снижении износа герметизирующих элементов поршня, в увеличении скорости его пропускания по трубопроводу и снижении энергетических затрат.
Для достижения технического результата в поршне-разделителе, включающем кольцеобразный корпус с передней и задней крышками и герметизирующие элементы из эластичного материала, корпус снабжен цилиндрической уплотнительной опорой с имеющими форму незамкнутой окружности поперечными каналами, а герметизирующие элементы выполнены в виде полых торов, установленных в каналах и заполненных сплошными или полыми шарами. Шары выполнены из эластичного материала. Задняя крышка снабжена отверстием, а корпус и уплотнительная опора в зоне каждого канала – соосными радиальными сверлениями, Сплошные шары снабжены диаметральными сверлениями, полые – диаметральными втулками, причем шары нанизаны на ось, выполненную в виде сплошного или пружинного кольца. Поверхность поперечных каналов снабжена рифлением с гладким профилем. Уплотнительная опора в зоне поперечных каналов снабжена сферическими углублениями с размещенными в них шаровыми телами. Герметизирующий элемент снабжен клапаном для подачи сжатого воздуха. Соприкасающаяся с герметизирующими элементами поверхность уплотнительной опоры покрыта или собственно уплотнительная опора выполнена из антифрикционного материала.
Сущность предлагаемого технического решения состоит в следующем.
При работе известных на сегодня поршней-разделителей герметизирующие элементы скользят по внутренней поверхности трубы. Поверхность скольжения может быть большей или меньшей, но принцип работы, где единственным взаимодействием пары «поршень-труба» является скольжение, сохраняется. Скольжение сопровождается быстрым и неизбежным износом герметизирующих элементов и повышенным усилием для проталкивания поршня внутри трубы.
В настоящем изобретении скольжение заменено качением герметизирующих элементов. Именно в этом основная суть и преимущество поршня-разделителя нового типа.
Конструкция поршня-разделителя по настоящему изобретению приведена на фиг.1-5.
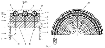
Поршень-разделитель в соответствие с фиг.1 содержит кольцеобразный корпус 1 с передней 2 и задней 3 крышками. Между крышками 2 и 3 и корпусом 1 установлены прокладки 4, а собственно крепление крышек 2 и 3 может быть осуществлено с помощью болтов 5. Корпус 1 снабжен уплотнительной опорой 6. В данной конструкции (один из многих вариантов) уплотнительная опора 6 скреплена с корпусом 1 посредством крышек 2 и 3. Опора 6 имеет поперечные каналы 7, имеющие форму незамкнутой окружности (в данном случае – полукруг). В каналах 7 размещены герметизирующие элементы 8, выполненные в виде полых торов из эластичного материала (следует особо подчеркнуть, что герметизирующие элементы 8 имеют именно вид торов, а не представляют собой некий тороидальный элемент). Герметизирующие элементы 8 заполнены сплошными или полыми шарами 9. Диаметр шаров 9 практически равен диаметру полости тора.
Для улучшения герметизации с учетом неизбежной овальности трубы шары выполнены из эластичного материала.
Изменения данной основной конструкции могут быть предприняты с целью облегчения качения герметизирующего элемента 8 (следует отметить, что качение герметизирующего элемента 8 обязательно сопровождается его продольным перегибом).
Для этого заднюю крышку 3 снабжают отверстием 10, а корпус 1 и уплотнительную опору 6 в зоне каждого канала – соосными радиальными сверлениями 11, размещенными в плоскостях поперечных сечений.
С этой же целью сплошные шары 9 оснащают диаметральными сверлениями 12 (фиг.2), а полые – диаметральными втулками 13 (фиг.3). При этом шары 9 нанизывают на ось 14, выполненную в виде сплошного или пружинного кольца.
С этой же целью поверхность поперечных каналов 7 снабжают рифлением 15 (фиг.4) с гладким профилем.
В другом варианте уплотнительную опору 6 в зоне поперечных каналов 7 снабжают сферическими углублениями 16 с размещенными в них шаровыми телами 17.
С указанной выше целью облегчения качения герметизирующего элемента 8 соприкасающуюся с герметизирующими элементами 8 поверхность уплотнительной опоры 6 покрывают или собственно уплотнительную опору выполняют из антифрикционного материала.
Для возможного поддува герметизирующего элемента 8 в последний вставлен клапан 18 для подачи сжатого воздуха (фиг.5).
Поршень-разделитель по настоящему изобретению работает следующим образом.
Наиболее приемлемый вариант использования поршня разделителя по настоящему изобретению – удаление оставшейся воды из газопровода после гидравлических испытаний и предварительной очистки (см., например, заявку №2004101201/06 (001010) – «Способ осушки газопровода»). Следует отметить, что поршень-разделитель по настоящему изобретению может быть достаточно просто трансформирован в очищающий поршень при введении в его конструкцию очищающих элементов, например металлических щеток.
Поршень-разделитель вводят в трубопровод (см., например, Е.М.Климовский, Ю.В.Колотилов. «Очистка и испытания магистральных трубопроводов». М.: Недра, 1987, стр.74-85) и далее подают сжатый газ со стороны задней крышки 3. Герметизацию обеспечивают герметизирующие элементы 8. Собственно тело поршня разделителя составляют корпус 1, передняя 2 и задняя крышка 3, соединенные с корпусом 1 с помощью болтов 5 через прокладки 4, и уплотнительная опора 6. При движении поршня-разделителя трение пары «герметизирующий элемент – труба» приводит к вращательному движению собственно герметизирующих элементов 8. Последние выполнены из эластичного материала, имеют форму тора и расположены в поперечных каналах 7 уплотнительной опоры 6. Поперечные каналы 7 имеют форму незамкнутой окружности (в данном случае полукруг; очевидно, что возможен и больший, и меньший угол охвата, но в любом случае уменьшается объем полости между герметизирующими элементами) с диаметром, равным или несколько большим, нежели диаметр окружности в сечении тора. Поперечные каналы 7 представляют собой естественное ложе, в котором и происходит вращение герметизирующих элементов 8. Равномерное проворачивание герметизирующих элементов 8 происходит благодаря тому, что полость тора, имеющая круглое сечение, заполнена шарами 9. Равномерность проворачивания герметизирующего элемента 8 еще в большей степени обеспечивается нанизыванием шаров 9 на ось 14, выполненную в виде сплошного или пружинного кольца. При этом сплошные шары 9 снабжают диаметральными сверлениями 12, а полые шары 9 – диаметральными втулками 13. Вращение герметизирующего элемента 8 в значительной мере облегчает покрытие поверхности уплотнительной опоры 6 в зоне каналов 7 или выполнение собственно уплотнительной опоры 6 из антифрикционного материала. Для облегчения проворачивания герметизирующего элемента 8 в ложе поперечного канала 7 служит рифление 15 с гладким профилем. При этом снижается величина поверхности трения. Для этой же цели уплотнительную опору 8 в зоне поперечных каналов 7 снабжают сферическими углублениями 16, в которых размещают шаровые тела 17 малого размера. При этом формируется аналог подшипника качения. В случае, когда допустимо попадание газа за переднюю крышку 2, или в случае, когда пропускание поршня проводят сжатым воздухом, можно обеспечить при работе конструкции эффект «воздушной подушки». Для этого заднюю крышку 3 снабжают отверстием 10. Газ в зону поперечного канала 7 под герметизирующий элемент 8 попадает из корпуса 1 через соосные радиальные сверления 11 в корпусе 1 и уплотнительной опоре 6. Для улучшения работы устройства целесообразен поддув герметизирующего элемента 8, для чего предусмотрен клапан 18 для подачи сжатого воздуха.
При вращении герметизирующего элемента снижается сопротивление движению поршня-разделителя, а следовательно, может быть увеличена скорость и снижено время работы поршня. При качении герметизирующего элемента в значительной мере сокращается его износ. Снижаются и энергетические затраты для проталкивания поршня разделителя.
Формула изобретения
1. Поршень-разделитель, включающий кольцеобразный корпус с передней и задней крышками и герметизирующие элементы из эластичного материала, отличающийся тем, что корпус снабжен цилиндрической уплотнительной опорой с имеющими форму незамкнутой окружности поперечными каналами, а герметизирующие элементы выполнены в виде полых торов, установленных в каналах и заполненных сплошными или полыми шарами.
2. Поршень-разделитель по п.1, отличающийся тем, что шары выполнены из эластичного материала.
3. Поршень-разделитель по п.1, отличающийся тем, что задняя крышка снабжена отверстием, а корпус и уплотнительная опора в зоне каждого канала – соосными радиальными сверлениями.
4. Поршень-разделитель по п.1, отличающийся тем, что сплошные шары снабжены диаметральными сверлениями, полые – диаметральными втулками, причем шары нанизаны на ось, выполненную в виде сплошного или пружинного кольца.
5. Поршень-разделитель по п.1, отличающийся тем, что поверхность поперечных каналов снабжена рифлением с гладким профилем.
6. Поршень-разделитель по п.1, отличающийся тем, что уплотнительная опора в зоне поперечных каналов снабжена сферическими углублениями с размещенными в них шаровыми телами.
7. Поршень-разделитель по п.1, отличающийся тем, что соприкасающаяся с герметизирующими элементами поверхность уплотнительной опоры покрыта или собственно уплотнительная опора выполнена из антифрикционного материала.
8. Поршень-разделитель по п.1, отличающийся тем, что герметизирующий элемент снабжен клапаном для подачи сжатого воздуха.
РИСУНКИ
MM4A – Досрочное прекращение действия патента СССР или патента Российской Федерации на изобретение из-за неуплаты в установленный срок пошлины за поддержание патента в силе
Дата прекращения действия патента: 30.09.2008
Извещение опубликовано: 27.07.2010 БИ: 21/2010
NF4A Восстановление действия патента СССР или патента Российской Федерации на изобретение
Дата, с которой действие патента восстановлено: 27.10.2010
Извещение опубликовано: 27.10.2010 БИ: 30/2010
|